|
|
(21), (22) Заявка: 2006127452/09, 30.12.2003
(24) Дата начала отсчета срока действия патента:
30.12.2003
(46) Опубликовано: 27.01.2008
(56) Список документов, цитированных в отчете о поиске:
RU 2001115127 A1, 27.05.2003. RU 2168806 C2, 21.03.1995. RU 2084053 C1, 10.07.1992. RU 2180977 С2, 27.03.2002. GB 2148045 А, 22.05.1986. GB 2373093 А, 04.10.2001. US 2002/0098397 A1, 04.01.2001. DE 19611591 A, 25.09.1997. FR 2553582 A1, 19.04.1985. EP 0246649 A1, 05.02.1986. WO 2001/073877 A2, 04.10.2001.
(85) Дата перевода заявки PCT на национальную фазу:
31.07.2006
(86) Заявка PCT:
KR 03/02903 (30.12.2003)
(87) Публикация PCT:
WO 2005/064728 (14.07.2005)
Адрес для переписки:
129010, Москва, ул. Б.Спасская, 25, стр.3, ООО “Юридическая фирма Городисский и Партнеры”, пат.пов. А.В.Мицу
|
(72) Автор(ы):
ЧО Тае-Хее (KR), ПАРК Миунг-Сеок (KR), ЧОЙ Хонг (KR), КИМ Киу-Дзунг (KR), ЛИ Миеонг-Хо (KR), КИМ Чеол-Хван (KR), ХВАНГ Йонг-Дзун (KR), КО Сеунг-Тае (KR), ХЕО Сеонг-Геун (KR)
(73) Патентообладатель(и):
ЭлДжи ЭЛЕКТРОНИКС ИНК. (KR)
|
(54) СИСТЕМА ТОПЛИВНОГО ЭЛЕМЕНТА
(57) Реферат:
Изобретение относится к электротехнике, в частности к системе топливного элемента. Система топливного элемента содержит стопку топливного элемента, включающую анод, катод и размещенную между ними электролитную мембрану. Блок подачи топлива системы соединен с анодом стопки топливного элемента посредством линии подачи топлива для подачи водородсодержащего топлива на анод. Блок подачи воздуха системы соединен с катодом стопки топливного элемента посредством линии подачи воздуха для подачи кислородсодержащего воздуха на катод стопки топливного элемента. Система топливного элемента содержит нагревательный блок для нагрева топлива, подаваемого в стопку топливного элемента, до надлежащей температуры. В соответствии с этим, не требуется источник питания для приведения в действие нагревательного блока, что повышает производительность топливного элемента. 30 з.п. ф-лы, 11 ил.
Настоящее изобретение относится к системе топливного элемента, а более конкретно к системе топливного элемента, способной повысить производительность топливного элемента посредством увеличения скорости реакции топливного элемента.
Уровень техники
В общем, система топливного элемента была предложена в качестве замены ископаемого топлива, и, в отличие от обычного элемента (вторичного элемента), в ней на анод подается топливо (водород или углеводород), а на катод подается кислород. Таким образом, в системе топливного элемента протекает электрохимическая реакция между водородом и кислородом без реакции сгорания (реакции окисления) топлива и, тем самым, разность энергии между состояниями до и после реакции непосредственно преобразуется в электроэнергию.
Как показано на Фиг.1, система топливного элемента в соответствии с традиционным уровнем техники содержит: стопку 106 топливного элемента, в которой анод 102 и катод 104 расположены в виде стопки (пакета) во множественном числе в состоянии, при котором между ними размещена электролитная мембрана (не показана), чтобы генерировать электроэнергию посредством электрохимической реакции между водородом и кислородом; топливный бак 108 для подачи топлива на анод 102; блок 110 подачи окислителя для подачи окислителя на катод 104; и т.д.
Между топливным баком 108 и анодом 102 стопки 106 топливного элемента установлен топливный насос 112 для нагнетания (принудительной подачи) топлива, хранящегося в топливном баке 108.
В качестве подаваемого на катод 104 окислителя используют кислородсодержащий воздух. Блок 110 подачи окислителя содержит: воздушный компрессор 114 для подачи воздуха на катод 104 стопки 106 топливного элемента; воздушный фильтр 116 для фильтрации воздуха, подаваемого в стопку 106 топливного элемента; увлажнитель 118 для увлажнения воздуха, подаваемого в стопку 106 топливного элемента.
Процессы генерирования электроэнергии посредством подачи топлива в такой традиционный топливный элемент описываются ниже следующим образом.
Когда топливный насос 112 приводят в действие посредством управляющего сигнала контроллера (не показан), топливо, содержащееся в топливном баке 108, закачивается насосом для подачи таким образом на анод 102 стопки 106 топливного элемента. Кроме того, когда приводят в действие воздушный компрессор 114, воздух, отфильтрованный воздушным фильтром 116, проходит через увлажнитель 118 с тем, чтобы быть увлажненным, и подается на катод 104 стопки 106 топливного элемента.
После того, как топливо и воздух поданы в стопку 106 топливного элемента, на аноде 102 осуществляется электрохимическое окисление водорода, а на катоде 104 осуществляется электрохимическое восстановление кислорода в состоянии, когда между анодом 102 и катодом 104 размещена электролитная мембрана (не показана). При этом генерируется электричество вследствие перемещения сгенерированных электронов, и оно подается на нагрузку 120.
То есть, на аноде 102 вызывается реакция электрохимического окисления водорода, например, BH4 –+8OH– BO2 –+6H2O+8e–, и ионы, образовавшиеся в результате реакции окисления/восстановления, переносятся к катоду 104 через электролитную мембрану. Кроме того, на катоде 104 вызывается реакция электрохимического восстановления кислорода, например, 2O2+4H2O+8e– 8OH–. Следовательно, совокупная реакция имеет вид: BH4 –+2O2 2H2O+BO2 –.
В системе топливного элемента температура топлива и воздуха, подаваемых в стопку 106 топливного элемента, сильно влияет на производительность топливного элемента. Следовательно, предусмотрен дополнительный нагревательный блок для повышения температуры топлива, подаваемого на анод 102 из топливного бака 108, и воздуха, подаваемого на катод 104 из блока 110 подачи воздуха, до определенной температуры.
Тем не менее, в такой традиционной системе топливного элемента должен быть предусмотрен дополнительный нагревательный блок для нагревания топлива и воздуха, подаваемых в стопку топливного элемента, а для приведения в действие этого нагревательного блока необходимо использовать ток, генерируемый в результате работы топливного элемента, что повышает энергопотребление.
Раскрытие изобретения
Поэтому цель настоящего изобретения заключается в том, чтобы предоставить систему топливного элемента, не требующую источника питания для приведения в действие нагревательного блока за счет нагрева топлива и воздуха с использованием водорода, образующегося в результате работы стопки топливного элемента, и, тем самым, способную повышать производительность топливного элемента.
Другая цель настоящего изобретения заключается в том, чтобы предоставить систему топливного элемента, способную повышать производительность топливного элемента посредством увеличения температуры топлива с использованием тепла реакции, выделяющегося во времени смешения топлива, и, тем самым, не требующую нагревательного блока для увеличения температуры топлива и источника питания – для приведения этого нагревательного блока в действие.
Чтобы достичь этих целей, предложена система топливного элемента, содержащая: стопку топливного элемента, включающую в себя анод, катод и размещенную между ними электролитную мембрану; блок подачи топлива, соединенный с анодом стопки топливного элемента посредством линии подачи топлива, для подачи водородсодержащего топлива на анод; блок подачи воздуха, соединенный с катодом стопки топливного элемента посредством линии подачи воздуха, для подачи кислородсодержащего воздуха на катод стопки топливного элемента; и нагревательный блок для нагрева топлива, подаваемого в стопку топливного элемента, до надлежащей температуры.
Нагревательный блок подсоединен к аноду стопки топливного элемента посредством линии подачи водорода и состоит из камеры сгорания водорода для нагрева топлива и воздуха, подаваемых в стопку топливного элемента, до надлежащего уровня за счет использования водорода, образовавшегося на катоде в результате реакции.
Камера сгорания водорода выполнена с корпусом для протекания соответственно топлива, подаваемого на анод стопки топливного элемента, и воздуха, подаваемого на катод; воздуходувным вентилятором, установленным в этом корпусе, для вдувания внешнего воздуха в корпус; и теплогенерирующим блоком, установленным в корпусе, для нагрева топлива и воздуха, которые проходят внутри корпуса, посредством генерирования тепла в результате реакции с водородом, образовавшимся на аноде стопки топливного элемента.
Нагревательный блок состоит из топливного комплекта для подачи порошка топлива в топливный бак перед приведением в действие топливного элемента с тем, чтобы увеличить температуру топлива за счет использования тепла, выделяющегося при смешивании порошка топлива с водой, хранящейся в топливном баке блока подачи топлива.
Топливный комплект состоит из контейнера для хранения порошка топлива; и узла открывания/закрывания, установленного на выходе из этого контейнера, для открывания выхода из контейнера во время подачи порошка топлива в топливный бак.
Нагревательный блок состоит из термоэлектрического модуля для нагрева топлива, подаваемого на анод стопки топливного элемента из топливного бака блока подачи топлива.
Краткое описание чертежей
Фиг.1 представляет собой конструктивный вид системы топливного элемента в соответствии с традиционным уровнем техники.
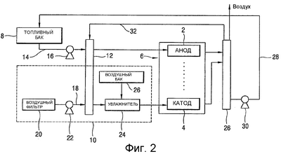
Фиг.2 представляет собой конструктивный вид системы топливного элемента согласно одному варианту осуществления настоящего изобретения.
Фиг.3 представляет собой вид в перспективе с частичным разрезом нагревательного блока системы топливного элемента согласно одному варианту осуществления настоящего изобретения.
Фиг.4 представляет собой вид в разрезе нагревательного блока системы топливного элемента согласно одному варианту осуществления настоящего изобретения.
Фиг.5 представляет собой блок-схему, показывающую контроллер нагревательного блока системы топливного элемента согласно одному варианту осуществления настоящего изобретения.
Фиг.6 представляет собой вид в разрезе нагревательного блока согласно второму варианту осуществления настоящего изобретения.
Фиг.7 и 8 представляют собой виды в разрезе, показывающие рабочее состояние нагревательного блока согласно второму варианту осуществления настоящего изобретения.
Фиг.9 представляет собой вид в разрезе, приведенном вдоль линии IX-IX на Фиг.8.
Фиг.10 представляет собой график, показывающий процесс увеличения температуры топлива в системе топливного элемента согласно второму варианту осуществления настоящего изобретения. и
Фиг.11 представляет собой вид в разрезе, показывающий работу нагревательного блока согласно третьему варианту осуществления настоящего изобретения.
Режимы осуществления предпочтительных вариантов осуществления
Далее будет более подробно пояснена система топливного элемента согласно настоящему изобретению.
Хотя система топливного элемента согласно настоящему изобретению может иметь множество вариантов осуществления, ниже будет пояснен наиболее предпочтительный вариант осуществления.
Фиг.2 представляет собой конструктивный вид системы топливного элемента согласно одному варианту осуществления настоящего изобретения.
Система топливного элемента согласно настоящему изобретению содержит: стопку 6 топливного элемента, в которой анод 2 и катод 4 расположены в виде стопки (пакета) во множественном числе для того, чтобы генерировать электроэнергию посредством электромеханической реакции между водородом и кислородом в состоянии, когда между ними размещена электролитная мембрана; топливный бак 8 для хранения топлива, подаваемого на анод 2; блок 10 подачи воздуха для подачи кислородсодержащего воздуха на катод 4; устройство рециркуляции топлива для рециркуляции топлива, выходящего из стопки 6 топливного элемента, в топливный бак 8; и нагревательный блок 12, камеру сгорания водорода для нагревания топлива и воздуха, подаваемых в стопку 6 топливного элемента.
В топливном баке 8 хранится водный раствор NaBH4, и при этом он соединен с анодом 2 стопки 6 топливного элемента посредством линии 14 подачи топлива. На одной стороне линии 14 подачи топлива установлен топливный насос 16 для принудительной подачи топлива, хранящегося в топливном баке 8.
Блок 10 подачи воздуха содержит: линию 18 подачи воздуха для подачи атмосферного воздуха на катод 4 стопки 8 топливного элемента; воздушный фильтр 20, установленный на впуске линии 18 подачи воздуха, для фильтрации воздуха, всасываемого в эту линию 18 подачи воздуха; воздушный насос 22, установленный на одной стороне линии 18 подачи воздуха, для создания всасывающей силы с целью всасывания внешнего воздуха; и увлажнитель 24 для увлажнения воздуха, всасываемого воздушным насосом 22. Для подачи воды в увлажнитель 24, на этом увлажнителе 24 установлен водяной бак 26.
Когда водородсодержащее топливо и кислородсодержащий воздух, соответственно, подаются на анод 2 и катод 4 стопки 6 топливного элемента из топливного бака 8 и блока 10 подачи воздуха, в стопке 6 топливного элемента осуществляется следующая реакция с генерированием тем самым тока.
То есть, на аноде 2 осуществляется реакция электрохимического окисления BH4 –+8OH– BO2 –+6H2O+8e–, в результате чего ионы, образовавшиеся в результате реакции окисления и восстановления, переносятся к катоду 4 через электролитную мембрану, и на катоде 4 осуществляется реакция электрохимического восстановления подаваемого воздуха 2O2+4H2O+8e– 8OH–.
Следовательно, общая реакция выражается в следующем виде: BH4 –+2O2 2H2O+BO2 –.
При осуществлении этих реакций, на аноде 2 одновременно осуществляется побочная реакция, такая как 2H2O+NaBH4 NaBO2+4H2.
Устройство рециркуляции топлива включает в себя сепаратор 26 газа/жидкости для отделения топлива, выходящего после реакции на аноде 2, и воздуха на катоде 4 на газ и жидкость; линию 28 рециркуляции топлива для рециркуляции находящегося в жидком состоянии топлива, выходящего из сепаратора 26 газа/жидкости, в топливный бак 8; и рециркуляционный насос 30, установленный на линии 28 рециркуляции топлива, для принудительной подачи рециркулируемого жидкого топлива в топливный бак 8.
NaBO2+4H2, образовавшиеся в результате реакции на аноде 2 стопки 6 топливного элемента, разделяются на газ и жидкость посредством сепаратора 26 газа/жидкости. Как результат, вода и NaBO2 рециркулируются (т.е. возвращаются для повторного использования) в топливный бак 8 по линии 28 рециркуляции топлива, тогда как водород выпускается наружу. Водород, выходящий из сепаратора 26 газа/жидкости, подается в нагревательный блок 12 по линии 32 подачи водорода с тем, чтобы быть использованным в качестве источника тепла в нагревательном блоке 12.
Фиг.3 представляет собой вид в перспективе с частичным разрезом нагревательного блока системы топливного элемента согласно одному варианту осуществления настоящего изобретения.
Как показано на Фиг.3, нагревательный блок 12 содержит корпус 50, к которому подсоединены линия 14 подачи топлива, линия 18 подачи воздуха и линия 32 подачи водорода; воздуходувный вентилятор 52, установленный в нижней части корпуса 50, для вдувания внешнего воздуха в корпус 50; и теплогенерирующий блок 54, установленный в корпусе 50, для нагревания топлива и воздуха, которые проходят внутри корпуса 50, посредством генерирования тепла в результате реакции с водородом, подаваемым из сепаратора 26 газа/жидкости.
Корпус 50 выполнен имеющим цилиндрическую форму, с определенными диаметром и высотой, и в этом корпусе 50 с постоянным промежутком от внутренней круговой поверхности корпуса 50 установлено разделительное тело 56 цилиндрической формы, имеющее меньший диаметр, чем диаметр корпуса 50. В верхней части корпуса 50 сформировано множество выпускных отверстий 58 для выпуска наружу газа, который прошел операцию нагрева, а в нижней части корпуса 50 установлены теплогенерирующий блок 54 и воздуходувный вентилятор 52.
Внутри разделительного тела 56 расположен топливопровод 60 в форме катушки, а снаружи разделительного тела 56 расположен воздухопровод 62 в форме катушки.
Поскольку газ, нагреваемый при прохождении через теплогенерирующий блок 54, проходит внутрь разделительного тела 56, топливопровод 60 находится в непосредственном контакте с этим газом, тем самым нагреваясь от него, а воздухопровод 62 находится в опосредованном контакте с этим газом посредством разделительного тела 56, тем самым нагреваясь от него. Следовательно, топливо в жидком состоянии и воздух в газообразном состоянии нагреваются до одинаковой температуры.
Одна концевая часть топливопровода 60 подсоединена к впуску 64 топлива, а другая его концевая часть подсоединена к выпуску 66 топлива. Одна концевая часть воздухопровода 62 подсоединена к впуску 68 воздуха, а другая его концевая часть подсоединена к выпуску 70 воздуха.
Кроме того, впуск 64 топлива и выпуск 66 топлива соответственно соединены с линией 14 подачи топлива, а впуск 68 воздуха и выпуск 70 воздуха соответственно соединены с линией 18 подачи воздуха, которая соединяет воздушный фильтр 20 и увлажнитель 24.
Воздуходувный вентилятор 52, установленный в нижней части корпуса 50, использует ток, генерируемый в результате работы стопки 6 топливного элемента, в качестве источника питания, вдувает внешний воздух в корпус 50 и теплогенерирующий блок 54.
При этом источник питания, используемый в воздуходувном вентиляторе 52, слишком мал, тем самым едва сказываясь на производительности системы 6 топливного элемента.
Теплогенерирующий блок 54 установлен в нижней части корпуса 50 и сформирован в виде сотовой структуры, и при этом внутри него закреплен катализатор 80. С одной стороны теплогенерирующего блока 54 установлен воспламенитель для воспламенения (не показан), и теплогенерирующий блок 54 соединен с линией 32 подачи водорода, чтобы тем самым снабжаться водородом из сепаратора 26 газа/жидкости. Теплогенерирующий блок 54 генерирует тепло посредством следующей операции. Сначала кислородсодержащий воздух, вдуваемый воздуходувным вентилятором 52, вводится в нижнюю часть теплогенерирующего блока 54, а водород подается из сепаратора 26 газа/жидкости посредством линии 32 подачи водорода. В этом состоянии в воспламенителе осуществляют воспламенение, и тем самым в теплогенерирующем блоке 54 осуществляется реакция между кислородом, водородом и катализатором. В соответствии с этим, теплогенерирующий блок генерирует тепло. При этом используемым катализатором предпочтительно является платиновый катализатор.
Фиг.5 представляет собой блок-схему, показывающую контроллер нагревательного блока системы топливного элемента согласно одному варианту осуществления настоящего изобретения.
Нагревательный блок 12 оснащен контроллером для поддержания температуры нагретого воздуха и топлива на надлежащем уровне и тем самым подачи в стопку 6 топливного элемента.
Контроллер состоит из датчика 72 температуры, установленного на одной стороне камеры сгорания водорода нагревательного блока для определения температуры камеры сгорания водорода; контроллера 76 подаваемого количества водорода, установленного на линии 32 подачи водорода, для управления количеством водорода, подаваемым в камеру сгорания водорода; и контроллера 74 для управления контроллером 76 подаваемого количества водорода согласно сигналу, поступающему из датчика 72 температуры.
Далее будет пояснена работа топливного элемента, оснащенного нагревательным блоком согласно одному варианту осуществления настоящего изобретения.
Водородсодержащий NaBH4 подают на анод 2, и в то же самое время кислородсодержащий воздух подают на катод 4 с тем, чтобы они вступили в реакцию с помощью электролитной мембраны, тем самым образуя ионы. В то время как ионы претерпевают электрохимическую реакцию, тем самым образуя воду, на аноде 2 генерируются электроны и перемещаются к катоду 4, тем самым генерируя электричество.
Это описывается подробнее далее. На аноде 2 осуществляется реакция электрохимического окисления BH4 –+8OH– BO2 –+6H2O+8e–, а на катоде 4 осуществляется реакция электрохимического восстановления подаваемого воздуха 2O2+4H2O+8e– 8OH–.
При осуществлении этих реакций на аноде 2 осуществляется побочная реакция, такая как 2H2O+NaBH4 NaBO2+4H2, в результате чего в топливе (водном растворе NaBH4) образуется водород (4H2). В соответствии с этим, образовавшийся водород выпускается с анода 2 вместе с NaBO2. При этом NaBO2 и водород, выпущенные из выпуска анода 2, проходят через сепаратор 26 газа/жидкости, тем самым разделяясь на газ и жидкость. В ходе этого процесса находящиеся в жидком состоянии вода и NaBO2 рециркулируются в топливный бак 8 посредством линии 28 рециркуляции топлива, тогда как находящийся в газообразном состоянии водород подается в нагревательный блок 12 посредством линии 42 подачи водорода. Нагревательный блок 12 использует поданный водород для того, чтобы нагреть топливо и воздух до надлежащего уровня.
То есть, когда кислородсодержащий воздух вдувается внутрь корпуса 50 посредством воздуходувного вентилятора 52, а водород, выпускаемый из сепаратора 26 газа/жидкости, подается в теплогенерирующий блок 54, водород, кислород и катализатор, установленный в теплогенерирующем блоке 54, взаимно реагируют, тем самым генерируя тепло в нагревательном блоке 12.
За счет генерирования тепла в теплогенерирующем блоке 54 воздух, вдуваемый внутрь корпуса 50 посредством воздуходувного вентилятора 52, нагревается, и нагретый воздух проходит внутри корпуса 50, тем самым нагревая топливопровод 60 и воздухопровод 62. После этого воздух, который завершил операцию нагрева, выпускается наружу через выпускные отверстия 58.
При этом воздух, нагретый при прохождении через теплогенерирующий блок 54, непосредственно нагревает топливопровод 60 и опосредованно нагревает воздухопровод 62 посредством разделительного тела 56, так что топливо в жидком состоянии, проходящее по топливопроводу 60, и воздух в газообразном состоянии, проходящий по воздухопроводу 62, имеют практически одинаковую температуру относительно друг друга и, соответственно, подаются на анод 2 и катод 4.
Фиг.6 представляет собой вид в разрезе нагревательного блока системы топливного элемента согласно второму варианту осуществления настоящего изобретения.
Нагревательный блок согласно второму варианту осуществления служит для того, чтобы увеличивать температуру топлива до надлежащего уровня за счет использования тепла реакции, выделяющегося при смешивании порошка топлива с водой, хранящейся в топливном баке 8, перед приведением в действие топливного элемента. Нагревательный блок состоит из топливного комплекта 200 для хранения порошка топлива; и лопастной мешалки 202, установленной на одной стороне топливного бака 8, для тщательного смешивания порошка топлива с водой, когда порошок топлива подается в топливный бак 8 из топливного комплекта 200.
Как показано на Фиг.7 и 8, топливный комплект 200 состоит из контейнера 204 для хранения порошка топлива; и узла 208 открывания/закрывания, установленного на выходе 206 из этого контейнера, для поддержания закрытого состояния в обычном режиме и открывания выхода 206 из контейнера, когда топливный комплект 200 установлен на топливном баке 8, тем самым подавая порошок топлива, содержащийся в контейнере 204, в топливный бак 8.
Узел 208 открывания/закрывания состоит из корпуса-крышки 212, герметично установленного на выходе 206 из контейнера и оснащенного внутри седлом 210 клапана; клапанной пластины 216, соприкасающейся с седлом 210 клапана или отделенной от седла 210 клапана, для выполнения операции открывания/закрывания; упорной пластины 224, соединенной с клапанной пластиной 216 посредством соединительной тяги 218 и упирающейся в узел 220 подачи топлива, сформированный на верхней поверхности топливного бака 8, для отделения клапанной пластины 216 от седла 210 клапана; и пружины 226, установленной на упорной пластине 224 и седле 210 клапана, для обеспечения упругого усилия, с помощью которого клапанная пластина 216 прижимается к седлу 210 клапана.
Клапанная пластина 216 предпочтительно выполнена имеющей V-образную форму для того, чтобы легко прижиматься к седлу клапана 210.
Кроме того, как показано на Фиг.9, упорная пластина 224 выполнена заодно с соединительной тягой 218 и по своей окружности снабжена множеством проникающих отверстий 228 для прохождения порошка топлива. Кроме того, пружина 226 предпочтительно выполнена в виде витой (цилиндрической) пружины, так что одна сторона пружины 226 опирается на нижнюю поверхность седла 210 клапана, а другая ее сторона опирается на верхнюю поверхность упорной пластины 224.
Узел 220 подачи топлива выступает из верхней части топливного бака 8 как цилиндрическая форма. Когда упорная пластина 224 упирается в верхнюю поверхность узла 220 подачи топлива, топливный комплект 200 открывается, подавая порошок топлива в топливный бак 8.
Далее будет пояснена работа узла 208 открывания/закрывания. Сначала, когда корпус-крышка 212 вставляют в узел 220 подачи топлива топливного бака 8, упорная пластина 224 упирается в верхнюю поверхность узла 220 подачи топлива, тем самым перемещая соединительную тягу 218 вверх и отделяя клапанную пластину 216 от седла 210 клапана. Затем порошок топлива, содержащийся в контейнере 204, подается в топливный бак 8 через узел 220 подачи топлива, тем самым смешиваясь с водой.
Порошок топлива в топливном комплекте 200 представляет собой порошок, в котором NaOH и BH4 надлежащим образом смешаны друг с другом. Когда NaOH смешивается с водой, осуществляется реакция в соответствии со следующим уравнением реакции, и при этом генерируется тепло.
Уравнение реакции: NaOH+H2O NaOH(H2O)+913 ккал/мол
Лопастная мешалка 202 установлена с возможностью вращения на нижней стороне топливного бака 8 и соединена с приводным электродвигателем 230 для создания движущей силы на валу 232 вращения, тем самым вращаясь за счет вращения приводного электродвигателя 230 и смешивая воду, хранящуюся в топливном баке 8, с порошком NaOH и BH4, подаваемым в топливный бак 8.
Далее будет пояснена работа системы топливного элемента согласно настоящему изобретению.
Сначала, перед приведением в действие топливного элемента, порошок NaOH и BH4 подают в топливный бак 8 с тем, чтобы приготовить водный топливный раствор. При этом вода, содержащаяся в топливном баке 8, смешивается с порошком топлива, тем самым генерируя тепло.
То есть, когда топливный комплект 200, где хранится порошок NaOH и BH4, устанавливают на узел 220 подачи топлива топливного бака 8, узел 208 открывания/закрывания, установленный на выходе 206 из контейнера, приводится в действие таким же самым образом, как и вышеописанный. В соответствии с этим, выход 206 из контейнера открывается с тем, чтобы подать порошок NaOH и BH4, содержащийся в контейнере 204, в топливный бак.
Затем, как показано в уравнении реакции: NaOH+H2O NaOH(H2O)+913 ккал/мол, вода вступает в реакцию с NaOH, тем самым увеличивая температуру топлива до постоянной температуры. В это время лопастная мешалка 202 вращается для того, чтобы тщательно перемешать воду с порошком NaOH и BH4.
Операция по увеличению температуры топлива будет пояснена с помощью экспериментальных данных. Как показано на Фиг.10, в состоянии, когда вода, содержащаяся в топливном баке 8, поддерживается при температуре приблизительно 22°C, в топливный бак 8 подают порошок NaOH и BH4. В соответствии с этим, температура топлива увеличивается до приблизительно 90°C и постепенно понижается с течением времени. При этом оптимальная температура топлива составляет 60°C80°C, так что систему топливного элемента приводят в действие при температуре приблизительно 70°C, подавая таким образом топливо в стопку 6 топливного элемента. Как показано на Фиг.10, по истечении приблизительно 15 минут после того, как порошок NaOH и BH4 был подан в топливный бак 8, температура топлива достигает 70°C. Поэтому предпочтительно приводить в действие топливный элемент через приблизительно 15 минут после того, как порошок NaOH и BH4 подан в топливный бак 8.
Когда вышеозначенный процесс увеличения температуры топлива завершен, приводят в действие топливный насос 16 с тем, чтобы подать топливо из топливного бака 8 на анод 2, и в то же время приводят в действие воздушный насос 22 с тем, чтобы подать воздух из блока подачи воздуха на катод 4. После этого топливо и воздух вступают в реакцию с помощью электролитной мембраны с образованием тем самым ионов. В то время как ионы претерпевают электрохимическую реакцию с образованием тем самым воды, на аноде 2 генерируются электроны и перемещаются к катоду 4, тем самым генерируя электричество.
Это будет пояснено подробнее далее. На аноде 2 осуществляется реакция электрохимического окисления BH4 –+8OH– BO2 –+6H2O+8e–, а на катоде 4 осуществляется реакция электрохимического восстановления подаваемого воздуха 2O2+4H2O+8e– 8OH–.
Топливо, которое завершило упомянутый процесс, выпускается в сепаратор 26 газа/жидкости, и сепаратор 26 газа/жидкости отделяет газ от жидкости с тем, чтобы выпустить газ наружу и рециркулировать жидкое топливо в топливный бак 8 через линию 28 рециркуляции топлива.
При этом, поскольку температура топлива, выпускаемого после реакции в стопке 6 топливного элемента, была увеличена, температура топлива, рециркулируемого в топливный бак 8, сохраняет надлежащий уровень. Следовательно, когда топливный элемент работает, температура топлива поддерживается на надлежащем уровне.
Фиг.11 представляет собой вид в разрезе, показывающий нагревательный блок системы топливного элемента согласно третьему варианту осуществления настоящего изобретения.
Нагревательный элемент согласно третьему варианту осуществления состоит из термоэлектрического модуля 250, установленного на линии 14 подачи топлива и линии 28 рециркуляции топлива, для нагрева топлива, подаваемого в стопку 6 топливного элемента из топливного бака 8, и охлаждения топлива, рециркулируемого в топливный бак 8 из стопки 6 топливного элемента.
На линии 14 подачи топлива установлен нагревательный контейнер 252 для нагрева проходящего топлива, подаваемого в стопку 6 топливного элемента, посредством операции испускания тепла термоэлектрическим модулем 250, а на линии 28 рециркуляции топлива установлен охлаждающий контейнер 254 для охлаждения проходящего топлива, рециркулируемого в топливный бак 8, посредством операции поглощения тепла термоэлектрическим модулем 250.
Кроме того, на линии 28 рециркуляции топлива между охлаждающим контейнером 254 и топливным баком 8 установлен топливный фильтр 256 для удаления NaBO2, кристаллизовавшегося при прохождении через охлаждающий контейнер 254.
В стопке 6 топливного элемента постоянно осуществляется реакция, упомянутая в первом варианте осуществления, и одновременно на аноде 2 осуществляется такая реакция, как 2H2O+NaBH4 NaBO2+4H2.
NaBO2, выпускаемый из стопки 6 топливного элемента, растворяется при постоянной высокой температуре и кристаллизуется при постоянной низкой температуре, таким образом блокируя линию 28 рециркуляции топлива или линию 14 подачи топлива. Чтобы не допустить этого, используют операцию поглощения тепла термоэлектрическим модулем с тем, чтобы удалить NaBO2 до того, как он возвращается в топливный бак 8.
То есть, когда топливо, выпускаемое из стопки 6 топливного элемента, охлаждается с использованием операции поглощения тепла термоэлектрическим модулем 250, NaBO2 кристаллизуется, и кристаллизованный BO2 – отфильтровывают с помощью топливного фильтра 256.
Термоэлектрический модуль 250 использует электротермический эффект Пельтье и содержит: высокотемпературную керамическую плату 258, прикрепленную к нагревательному контейнеру 252; низкотемпературную керамическую плату 260, прикрепленную к охлаждающему контейнеру 254; первый электрод 262, который установлен на высокотемпературной керамической плате 258 и к которому подводят ток; второй электрод 264, установленный на низкотемпературной керамической плате 260; и термоэлектрический полупроводник 266 n/p-типа, вставленный с совмещением между первым электродом 262 и вторым электродом 264. Когда к термоэлектрическому полупроводнику 266 n/p-типа подводят ток, на обеих поверхностях модуля генерируется разность температур посредством термоэлектрического эффекта, чтобы таким образом вызвать операцию испускания тепла через высокотемпературную керамическую плату 258 и вызвать операцию поглощения тепла через низкотемпературную керамическую плату 260.
Далее будет пояснена работа системы топливного элемента согласно третьему варианту осуществления.
Если к термоэлектрическому модулю 250 подводят ток, когда топливо подается на анод 2 стопки топливного элемента посредством линии 14 подачи топлива из топливного бака 8, вызывается операция испускания тепла через высокотемпературную керамическую плату 258 термоэлектрического модуля 250 с тем, чтобы нагревать нагревательный контейнер 252. В соответствии с этим топливо, которое проходит через нагревательный контейнер 252, нагревается до надлежащего уровня с тем, чтобы быть поданным в стопку 6 топливного элемента.
Кроме того, когда топливо, выпускаемое из стопки 6 топливного элемента после реакции, вводится в охлаждающий контейнер 254 посредством линии 28 рециркуляции топлива, охлаждающий контейнер 254 охлаждается через низкотемпературную керамическую плату 260 посредством операции поглощения тепла термоэлектрическим модулем 250. Затем топливо, которое проходит через охлаждающий контейнер 254, охлаждается, так что содержащийся в топливе NaBO2 кристаллизуется, и кристаллы BO2 – отфильтровываются посредством топливного фильтра 256.
В системе топливного элемента согласно настоящему изобретению топливо и воздух, подаваемые в стопку топливного элемента, нагреваются за счет использования водорода, образовавшегося на аноде. В соответствии с этим, не требуется дополнительный источник питания для нагревания топлива и воздуха, что повышает производительность системы топливного элемента.
Кроме того, в системе топливного элемента согласно настоящему изобретению топливо подается в стопку топливного элемента в состоянии, когда температура топлива увеличена до надлежащего уровня, что повышает производительность топливного элемента.
Помимо этого, согласно настоящему изобретению NaBO2, содержащийся в топливе, возвращаемом для повторного использования в топливный бак из стопки топливного элемента, удаляется, чтобы тем самым не допустить такого явления, когда линия подачи топлива или линия рециркуляции топлива блокируются, и чтобы обеспечить бесперебойную работу по подаче топлива и рециркуляции топлива, тем самым повышая надежность топливного элемента.
Специалистам в данной области техники будет очевидно, что в настоящем изобретении могут быть выполнены различные модификации и вариации без отступления от сущности и объема изобретения. Таким образом, предполагается, что настоящее изобретение охватывает все модификации и вариации этого изобретения, при условии, что они находятся в пределах объема прилагаемой формулы изобретения и ее эквивалентов.
Формула изобретения
1. Система топливного элемента, содержащая стопку топливного элемента, включающую в себя анод, катод и размещенную между ними электролитную мембрану; блок подачи топлива, соединенный с анодом стопки топливного элемента посредством линии подачи топлива, для подачи водородсодержащего топлива на анод; блок подачи воздуха, соединенный с катодом стопки топливного элемента посредством линии подачи воздуха, для подачи кислородсодержащего воздуха на катод стопки топливного элемента; и нагревательный блок для нагрева топлива, подаваемого в стопку топливного элемента, до надлежащей температуры.
2. Система по п.1, дополнительно содержащая сепаратор газа/жидкости для получения водорода, образовавшегося в стопке топливного элемента в результате реакции.
3. Система по п.1, в которой нагревательный блок подсоединен к аноду стопки топливного элемента посредством линии подачи водорода и состоит из камеры сгорания водорода для нагрева топлива и воздуха, подаваемых в стопку топливного элемента, до надлежащего уровня с использованием водорода, образовавшегося на аноде в результате реакции.
4. Система по п.3, в которой камера сгорания водорода содержит корпус для протекания соответственно топлива, подаваемого на анод стопки топливного элемента, и воздуха, подаваемого на катод; воздуходувный вентилятор, установленный на этом корпусе, для вдувания внешнего воздуха в корпус; и теплогенерирующий блок, установленный в корпусе и предназначенный для нагрева топлива и воздуха, которые проходят внутри корпуса, посредством генерирования тепла в результате реакции с водородом, образовавшимся на аноде стопки топливного элемента.
5. Система по п.4, в которой топливопровод, по которому проходит топливо, выполнен в форме катушки, и воздухопровод, по которому проходит воздух, выполнен в форме катушки в корпусе.
6. Система по п.5, в которой топливопровод и воздухопровод отделены друг от друга разделительным телом.
7. Система по п.6, в которой топливопровод размещен внутри разделительного тела с тем, чтобы непосредственно принимать тепло, выделяющееся из теплогенерирующего блока, а воздухопровод размещен снаружи разделительного тела с тем, чтобы опосредованно принимать тепло, выделяющееся из теплогенерирующего блока.
8. Система по п.7, в которой одна концевая часть топливопровода подсоединена к впуску топлива, а другая его концевая часть подсоединена к выпуску топлива, и при этом впуск топлива размещен на верхней стороне корпуса, а выпуск топлива размещен на нижней стороне корпуса.
9. Система по п.7, в которой одна концевая часть топливопровода подсоединена к впуску топлива, а другая его концевая часть подсоединена к выпуску топлива, и при этом впуск топлива и выпуск топлива соответственно размещены на верхней стороне корпуса.
10. Система по п.4, в которой воздуходувный вентилятор установлен с возможностью вращения в нижней части корпуса, а в верхней части корпуса сформированы выпускные отверстия для выпуска воздуха, который завершил операцию нагрева при прохождении через корпус наружу.
11. Система по п.4, в которой воздуходувный вентилятор использует электроэнергию, генерируемую в стопке топливного элемента, в качестве источника питания.
12. Система по п.4, в которой теплогенерирующий блок снабжен катализатором, прикрепленным внутри его, и сформирован так, чтобы вводить кислородсодержащий воздух, вдуваемый воздуходувным вентилятором, чтобы тем самым генерировать тепло в соответствии с тем, что водород, кислород и катализатор взаимно реагируют.
13. Система по п.12, в которой катализатор сформирован в виде сотовой структуры, с одной стороны этого катализатора установлен воспламенитель для воспламенения, и теплогенерирующий блок подсоединен к линии подачи водорода с тем, чтобы снабжаться водородом из сепаратора жидкости/газа.
14. Система по п.4, в которой камера сгорания водорода оснащена контроллером для поддержания температуры нагретого воздуха и топлива на надлежащем уровне и после этого подачи в стопку топливного элемента.
15. Система по п.14, в которой контроллер содержит датчик температуры, установленный на одной стороне камеры сгорания водорода, для определения температуры камеры сгорания водорода; контроллер подаваемого количества водорода, установленный на линии подачи водорода, для управления количеством водорода, подаваемым в камеру сгорания водорода; и контроллер для управления контроллером подаваемого количества водорода согласно сигналу, поступающему из датчика температуры.
16. Система по п.1, в которой нагревательный блок состоит из топливного комплекта для подачи порошка топлива в топливный бак перед приведением в действие топливного элемента для того, чтобы увеличить температуру топлива за счет использования тепла, выделяющегося при смешивании порошка топлива с водой, хранящейся в топливном баке блока подачи топлива.
17. Система по п.16, в которой топливный комплект содержит контейнер для хранения порошка топлива; и узел открывания/закрывания, установленный на выходе из контейнера, для открывания выхода из контейнера во время подачи порошка топлива в топливный бак.
18. Система по п.17, в которой узел открывания/закрывания содержит корпус-крышку, установленный на выходе из контейнера и оснащенный седлом клапана; клапанную пластину, соприкасающуюся с седлом клапана или отделенную от седла клапана, для выполнения операции открывания/закрывания; упорную пластину, соединенную с клапанной пластиной, для отделения клапанной пластины от седла, когда топливный комплект установлен на топливном баке; и пружину, установленную между упорной пластиной и нижней поверхностью седла клапана, для обеспечения упругого усилия, посредством которой клапанная пластина прижимается к седлу клапана.
19. Система по п.18, в которой верхняя поверхность топливного бака оснащена узлом подачи топлива, в который вставлен корпус-крышка и в который упирается упорная пластина, для подачи топлива, хранящегося в топливном комплекте, в топливный бак.
20. Система по п.19, в которой узел подачи топлива выступает из верхней поверхности топливного бака как цилиндрическая форма, в верхней поверхности узла подачи топлива сформирована упорная поверхность для упора упорной пластины, и на этой упорной поверхности сформировано подающее отверстие, в которое подается порошок топлива.
21. Система по п.18, в которой клапанная пластина предпочтительно выполнена имеющей V-образную форму для того, чтобы легко прижиматься к седлу клапана.
22. Система по п.18, в которой упорная пластина по своей окружности оснащена множеством проникающих отверстий для прохождения порошка топлива.
23. Система по п.18, в которой пружина предпочтительно представляет собой винтовую пружину, установленную между верхней поверхностью упорной пластины и нижней поверхностью седла клапана.
24. Система по п.17, в которой на одной стороне топливного бака установлена лопастная мешалка для тщательного смешивания порошка топлива с водой, когда порошок топлива подается в топливный бак из топливного комплекта.
25. Система по п.24, в которой лопастная мешалка установлена с возможностью вращения в нижней части топливного бака и соединена с приводным электродвигателем для создания движущей силы на валу вращения.
26. Система по п.17, в которой порошок топлива представляет собой смешанный порошок NaOH и ВН4.
27. Система по п.1, в которой нагревательный блок состоит из термоэлектрического модуля для нагрева топлива, подаваемого из топливного бака блока подачи топлива на анод стопки топливного элемента.
28. Система по п.27, в которой на линии подачи топлива установлен нагревательный контейнер, соприкасающийся с термоэлектрическим модулем и предназначенный для нагрева топлива посредством операции испускания тепла термоэлектрическим модулем.
29. Система по п.27, в которой, для рециркуляции топлива в топливный бак из стопки топливного элемента, на линии рециркуляции топлива установлены охлаждающий контейнер для охлаждения топлива и топливный фильтр для отфильтровывания NaBO2, кристаллизующегося в этом охлаждающем контейнере.
30. Система по п.29, в которой охлаждающий контейнер оснащен низкотемпературной керамической платой термоэлектрического модуля с тем, чтобы охлаждаться посредством операции поглощения тепла термоэлектрическим модулем.
31. Система по п.29, в которой топливный фильтр содержит корпус, установленный на линии рециркуляции топлива, который соединяет охлаждающий контейнер и топливный бак; и фильтрующую сетку, установленную в корпусе и предназначенную для отфильтровывания кристаллизованного NaBO2.
РИСУНКИ
MM4A – Досрочное прекращение действия патента СССР или патента Российской Федерации на изобретение из-за неуплаты в установленный срок пошлины за поддержание патента в силе
Дата прекращения действия патента: 31.12.2009
Извещение опубликовано: 10.11.2010 БИ: 31/2010
|
|