|
|
(21), (22) Заявка: 2005109393/09, 24.09.2003
(24) Дата начала отсчета срока действия патента:
24.09.2003
(30) Конвенционный приоритет:
01.10.2002 US 10/260,271
(43) Дата публикации заявки: 20.01.2006
(46) Опубликовано: 27.01.2008
(56) Список документов, цитированных в отчете о поиске:
ЕР 0668622 А, 23.08.1995. RU 2168806 C2, 10.06.2001. ЕР 1030395 А, 23.08.2000. US 5968680 А, 19.10.1999.
(85) Дата перевода заявки PCT на национальную фазу:
03.05.2005
(86) Заявка PCT:
GB 03/04089 (24.09.2003)
(87) Публикация PCT:
WO 2004/032273 (15.04.2004)
Адрес для переписки:
107023, Москва, ул. Б.Семеновская, 49, оф.404, фирма патентных поверенных ООО “ИННОТЭК”, пат.пов. О.В.Аргасову
|
(72) Автор(ы):
АГНЬЮ Джералд Дэниэл (GB), МОРИЦ Роберт Рудольф (US), ТАРНОВСКИ Оливиер Кристиан (GB), БОЦЦОЛО Микеле (GB)
(73) Патентообладатель(и):
РОЛЛС-РОЙС Пи-Эл-Си, БРИТИШ КОМПАНИ (GB)
|
(54) СИСТЕМА ТВЕРДОТЕЛЬНЫХ ОКИСНЫХ ТОПЛИВНЫХ ЭЛЕМЕНТОВ
(57) Реферат:
Изобретение относится к высокотемпературным топливным элементам. Техническим результатом изобретения является повышение эффективности системы топливных элементов. Согласно изобретению система твердотельных окисных топливных элементов содержит набор твердотельных окисных топливных элементов и газотурбинный двигатель. Набор твердотельных окисных топливных элементов содержит множество твердотельных окисных топливных элементов, каждый из которых содержит электролит, анод и катод. Газотурбинный двигатель содержит компрессор и турбину. Компрессор предназначен для подачи окислителя к катоду. Имеются средства для подачи топлива к аноду. Имеются средства для подачи части неиспользованного окислителя от твердотельных окисных топливных элементов к катодам. Средство для подачи, по меньшей мере, окислителя содержит камеру сгорания и эжектор. Камера сгорания предназначена для сжигания, по меньшей мере, части неиспользованного топлива из твердотельных окисных топливных элементов и предназначена для подачи продуктов камеры сгорания к окислителю, подаваемому компрессором к катодам, для подогрева окислителя, подаваемого компрессором. 2 н. и 20 з.п. ф-лы, 4 ил.
Настоящее изобретение относится к системе высокотемпературных топливных элементов, в частности к системе твердотельных окисных топливных элементов.
Одна известная система твердотельных окисных топливных элементов, как описано в нашей опубликованной европейской заявке ЕР 0668622 А1, содержит набор твердотельных окисных топливных элементов и газотурбинный двигатель. Набор твердотельных окисных топливных элементов содержит множество твердотельных окисных топливных элементов, а каждый твердотельный окисный топливный элемент содержит электролит, анод и катод. Газотурбинный двигатель содержит компрессор и турбину, предназначенную для приведения в действие компрессора. Компрессор предназначен для подачи окислителя к катодам твердотельных окисных топливных элементов, и имеются средства для подачи топлива к анодам твердотельных окисных топливных элементов. Часть неиспользованного окислителя подается из твердотельных окисных топливных элементов к катодам. Часть неиспользованного топлива сгорает в оставшемся неиспользованном окислителе в камере сгорания, а продукты камеры сгорания приводят в действие турбину. Для передачи тепла от продуктов камеры сгорания к окислителю, подаваемому из компрессора, по меньшей мере, к одному катоду, может быть предусмотрен теплообменник для подогрева окислителя, подаваемого компрессором.
В этой конструкции камера сгорания расположена выше по технологической цепочке от высокотемпературного теплообменника.
Проблема такой конструкции заключается в том, что для передачи тепла от продуктов камеры сгорания к окислителю, подаваемому из компрессора к твердотельным окисным топливным элементам, необходимо использовать высокотемпературный теплообменник, для того чтобы окислитель достигал требуемой температуры перед вхождением в набор твердотельных окисных топливных элементов.
В соответствии с этим настоящее изобретение обеспечивает получение новой системы твердотельных окисных топливных элементов, которая уменьшает, а предпочтительно устраняет вышеуказанные проблемы.
В соответствии с настоящим изобретением обеспечивается получение системы твердотельных окисных топливных элементов, содержащей набор твердотельных окисных топливных элементов и газотурбинный двигатель, причем набор твердотельных окисных топливных элементов содержит, по меньшей мере, один твердотельный окисный топливный элемент, каждый твердотельный окисный топливный элемент содержит электролит, анод и катод, газотурбинный двигатель содержит компрессор и турбину, предназначенную для приведения в действие компрессора, при этом компрессор предназначен для подачи окислителя к катоду, по меньшей мере, одного твердотельного окисного топливного элемента, средство для подачи топлива к аноду, по меньшей мере, одного твердотельного окисного топливного элемента, а также средство для подачи, по меньшей мере, части неиспользованного окислителя, по меньшей мере, от одного твердотельного окисного топливного элемента к катоду, по меньшей мере, одного твердотельного окисного топливного элемента, средство для подачи, по меньшей мере, части неиспользованного окислителя, содержащее камеру сгорания, при этом камера сгорания предназначена для сжигания, по меньшей мере, части неиспользованного топлива, по меньшей мере, из одного твердотельного окисного топливного элемента, по меньшей мере, в части неиспользованного окислителя, по меньшей мере, из одного твердотельного окисного топливного элемента и предназначена для подачи продуктов камеры сгорания к окислителю, подаваемому компрессором к катоду, по меньшей мере, одного твердотельного окисного топливного элемента для подогрева окислителя, подаваемого компрессором.
Набор твердотельных окисных топливных элементов предпочтительно содержит множество твердотельных окисных топливных элементов.
Вторая часть неиспользованного окислителя предпочтительно подается к турбине для приведения в действие турбины.
Для передачи тепла от выпускных газов турбины к окислителю, подаваемому от компрессора к катоду, по меньшей мере, одного твердотельного окисного топливного элемента, может быть предусмотрен теплообменник для подогрева окислителя, подаваемого компрессором.
В альтернативном варианте камера сгорания предназначена для сжигания, по меньшей мере, части неиспользованного топлива, по меньшей мере, из одного твердотельного окисного топливного элемента во всем неиспользованном окислителе, по меньшей мере, одного твердотельного окисного топливного элемента.
Камера сгорания может быть предназначена для подачи части продуктов камеры сгорания к окислителю, подаваемому компрессором к катоду, по меньшей мере, одного твердотельного окисного топливного элемента, для подогрева окислителя, подаваемого компрессором.
Вторая часть продуктов камеры сгорания может быть подана к турбине для приведения в действие турбины.
Для передачи тепла от продуктов камеры сгорания к окислителю, подаваемому от компрессора к катоду, по меньшей мере, одного твердотельного окисного топливного элемента, может быть предусмотрен теплообменник для подогрева окислителя, подаваемого компрессором.
Помимо всего прочего, может быть предусмотрено средство для подачи, по меньшей мере, второй части неиспользованного топлива, по меньшей мере, от одного твердотельного окисного топливного элемента к аноду, причем средство для подачи второй части неиспользованного топлива предназначено для подачи второй части неиспользованного топлива к топливу, подаваемому средством для подачи топлива для подогрева топлива, подаваемого средством для подачи топлива.
Средство для подачи, по меньшей мере, второй части неиспользованного топлива предпочтительно содержит средство для создания повышенного давления неиспользованного топлива и средство для смешивания неиспользованного топлива с топливом.
Средство для создания повышенного давления неиспользованного топлива и средство для смешивания неиспользованного топлива с топливом предпочтительно содержит эжектор.
В альтернативном варианте средство для создания повышенного давления неиспользованного топлива и средство для смешивания неиспользованного топлива с топливом содержит насос, вентилятор, нагнетатель или турбомашину и смеситель.
Средство для подачи, по меньшей мере, части неиспользованного окислителя предпочтительно содержит средство для создания повышенного давления неиспользованного окислителя и средство для смешивания неиспользованного окислителя с окислителем.
Средство для создания повышенного давления неиспользованного окислителя и средство для смешивания неиспользованного окислителя с окислителем предпочтительно содержит эжектор.
В альтернативном варианте средство для создания повышенного давления неиспользованного окислителя содержит насос, вентилятор, нагнетатель или турбомашину, а средство для смешивания неиспользованного окислителя с окислителем содержит смеситель.
Камера сгорания предпочтительно предназначена для подачи продуктов камеры сгорания к окислителю, подаваемому компрессором к катоду, по меньшей мере, одного твердотельного окисного топливного элемента для подогрева окислителя, подаваемого компрессором с помощью средства для создания повышенного давления неиспользованного окислителя и средства для смешивания неиспользованного окислителя с окислителем.
Эжектор предпочтительно является струйным насосом.
Средство для подачи топлива к аноду, по меньшей мере, одного твердотельного окисного топливного элемента предпочтительно содержит преобразователь, предназначенный для преобразования топлива, причем подача топлива предназначена для подачи топлива к преобразователю, а преобразователь предназначен для подачи преобразованного топлива к аноду, по меньшей мере, одного твердотельного окисного топливного элемента.
Средство для подачи, по меньшей мере, части неиспользованного окислителя предпочтительно предназначено для нагрева преобразователя.
Настоящее изобретение будет более подробно описано на примере со ссылкой на сопроводительные чертежи, где
фиг.1 – иллюстрация системы твердотельных окисных топливных элементов, соответствующей настоящему изобретению.
Фиг.2 – иллюстрация альтернативной системы твердотельных окисных топливных элементов, соответствующей настоящему изобретению.
Фиг.3 – иллюстрация дополнительной системы твердотельных окисных топливных элементов, соответствующей настоящему изобретению.
Фиг.4 – иллюстрация другой системы твердотельных окисных топливных элементов, соответствующей настоящему изобретению.
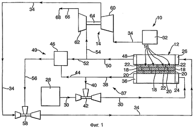
На фиг.1 иллюстрируется система 10 твердотельных окисных топливных элементов, которая содержит набор 12 твердотельных окисных топливных элементов и газотурбинный двигатель 14. Набор 12 твердотельных окисных топливных элементов содержит множество твердотельных окисных топливных элементов 16, а каждый твердотельный окисный топливный элемент 16 содержит электролит 18, анод 20 и катод 22. Анод 20 и катод 22 расположены на противоположно направленных поверхностях электролита 18.
Газотурбинный двигатель 14 содержит компрессор 60 и турбину 62, причем турбина 62 предназначена для приведения в действие компрессора 60 посредством вала 64.
К анодам 20 подают топливо, например водород, посредством топливного коллектора 24, а источник 28 подачи топлива, например водорода, предназначен для подачи топлива к топливному коллектору 24 по каналу 30. К катодам 22 подают окислитель, например кислород, воздух и так далее, посредством коллектора 26 окислителя, а источник 32 подачи окислителя предназначен для подачи окислителя к коллектору 26 окислителя по каналу 34.
Аноды 20 предусмотрены с коллектором 36 для улавливания неиспользованного топлива, в который выгружают неиспользованное топливо. Коллектор 36 для улавливания неиспользованного топлива соединен с каналом 30 посредством каналов 38 и 40 так, чтобы часть неиспользованного топлива подавалась, рециркулировалась, к топливному коллектору 24. Для побуждения подачи, рециркуляции, неиспользованного топлива из коллектора 36 для улавливания неиспользованного топлива к топливному коллектору 24 предусмотрен топливный эжектор 42. Каналы 38, 40 и топливный эжектор 42 образуют средство 37 для подачи, рециркуляции, неиспользованного топлива из анодов 20 твердотельных окисных топливных элементов 16 назад к анодам 20 твердотельных окисных топливных элементов 16. Топливный эжектор 42 обеспечивает сжатие неиспользованного топлива и смешивания неиспользованного топлива с топливом, подаваемым из источника 28 подачи топлива, через канал 30 к топливному коллектору 24.
Коллектор 36 улавливания неиспользованного топлива также соединен с камерой 46 сгорания посредством канала 38 и дополнительного канала 44 так, чтобы вторая часть неиспользованного топлива подавалась к камере сгорания 46.
Катоды 22 предусмотрены с коллектором 48 улавливания неиспользованного окислителя, в который выгружается неиспользованный окислитель. Коллектор 48 улавливания неиспользованного окислителя соединен с каналом 34 посредством каналов 50 и 52, камеры 46 сгорания и канала 56 так, чтобы часть неиспользованного окислителя подавалась, рециркулировалась, к коллектору 26 окислителя. Для побуждения подачи, рециркуляции, неиспользованного окислителя из коллектора 48 улавливания неиспользованного окислителя к коллектору 26 окислителя предусмотрен эжектор 58 окислителя. Каналы 50, 52 и 56 и эжектор 58 образуют средство 49 для подачи, рециркуляции, неиспользованного окислителя из катодов 22 твердотельных окисных топливных элементов 16 назад к катодам 22 твердотельных окисных топливных элементов 16.
Вторую часть неиспользованного топлива, подаваемую к камере 46 сгорания, сжигают в части неиспользуемого окислителя, подаваемой к камере 46 сгорания для получения горячих газов. Горячие газы, получаемые в камере 46 сгорания, предназначены для прохождения с неиспользуемым окислителем через канал 56 и эжектор 58 окислителя к каналу 34 и оттуда к коллектору 26 окислителя. Продукты (сгорания), горячие газы и неиспользованный окислитель камеры 46 сгорания, подают посредством камеры 46 сгорания и канала 56 к эжектору 58 окислителя. Эжектор 58 окислителя обеспечивает сжатие продуктов камеры 46 сгорания и смешивание продуктов камеры 46 сгорания с окислителем, подаваемым посредством компрессора 60 через канал 34 к коллектору 26 окислителя для подогрева окислителя, подаваемого посредством компрессора 60. Коллектор 48 улавливания неиспользованного окислителя также соединен с турбиной 62 посредством канала 50 и дополнительного канала 54 так, чтобы вторая часть неиспользованного окислителя подавалась к турбине 62. Вторая часть неиспользованного окислителя приводит в действие турбину 62. После этого вторая часть неиспользованного окислителя проходит через канал 66 и выгружается через выпускную трубу 68.
Каналы могут быть простыми трубами или другими конструкциями для переноса топлива, окислителя и так далее от одного элемента к другому элементу системы твердотельных окисных топливных элементов.
На известном уровне техники камера сгорания опосредованно подогревает неиспользованный окислитель, подаваемый из коллектора улавливания неиспользованного окислителя к коллектору окислителя, посредством высокотемпературного теплообменника.
Преимуществом такой конструкции является то, что камера сгорания непосредственно подогревает неиспользованный окислитель, подаваемый из коллектора улавливания неиспользованного окислителя к коллектору окислителя, и в соответствии с этим нет необходимости в высокотемпературном теплообменнике. Это обеспечивает возможность упрощения системы твердотельных окисных топливных элементов, минимизирует число элементов, уменьшает себестоимость и увеличивает эксплуатационную надежность. Представляется, что система твердотельных окисных топливных элементов имеет более хорошую маневренность, поскольку нет теплообменника и эжектор окислителя способен лучше справляться с переменными параметрами. Кроме того, эта конструкция позволяет использовать простую низкотехнологичную газовую турбину. Помимо всего прочего, сгорание неиспользованного топлива в камере сгорания дает горячие газы, например, угарный газ и воду, водяной пар, которые подают к катодам. В случае утечки из набора твердотельных окисных топливных элементов имеет место уменьшение температуры пламени, которое уменьшает повреждение набора твердотельных окисных топливных элементов.
На фиг.2 иллюстрируется альтернативная система 110 твердотельных окисных топливных элементов, соответствующая настоящему изобретению, которая содержит набор 12 твердотельных окисных топливных элементов и газотурбинный двигатель 14. Система 110 твердотельных окисных топливных элементов по существу аналогична системе 10 твердотельных окисных топливных элементов, иллюстрируемой на фиг.1, и аналогичные детали указаны аналогичными ссылочными номерами.
Система 110 твердотельных окисных топливных элементов отличается от системы 10 твердотельных окисных топливных элементов тем, что система 110 твердотельных окисных топливных элементов содержит теплообменник 70. Теплообменник 70 является малопроизводительным теплообменником 70 и может быть образован из металла или керамики. Теплообменник 70 предусмотрен для передачи тепла от неиспользованного окислителя к окислителю, подаваемому из компрессора 60 к катодам 22 твердотельных окисных топливных элементов 16, для подогрева окислителя, подаваемого посредством компрессора 60. Теплообменник 70 предназначен для подогрева потока окислителя от компрессора 60, подаваемого к коллектору 26 окислителя в канале 34 между компрессором 60 и эжектором 58 окислителя. Теплообменник 70 предназначен для извлечения тепла из потока неиспользованного окислителя в канале 66 между турбиной 62 и выпускной трубой 68.
Преимущество этой конструкции заключается в том, что камера сгорания непосредственно подогревает неиспользованный окислитель, подаваемый из коллектора улавливания неиспользованного окислителя к коллектору окислителя, и, следовательно, не нуждается в высокотемпературном теплообменнике. Это дает возможность упрощения системы твердотельных окисных топливных элементов, минимизирует число элементов, уменьшает себестоимость и увеличивает эксплуатационную надежность.
Дополнительным преимуществом этой конструкции является то, что может быть использована более производительная, более крупная турбина и компрессор, так как теплообменник имеет низкую эффективность и имеет низкую температуру на входе, поскольку теплообменник расположен ниже по технологической цепочке от турбины.
На фиг.3 иллюстрируется дополнительная система 210 твердотельных окисных топливных элементов, соответствующая настоящему изобретению, которая содержит набор 12 твердотельных окисных топливных элементов и газотурбинный двигатель 14. Система 210 твердотельных окисных топливных элементов по существу аналогична системе 10 твердотельных окисных топливных элементов, иллюстрируемой на фиг.1, и аналогичные детали указаны аналогичными ссылочными номерами.
Система 210 твердотельных окисных топливных элементов отличается от системы 10 твердотельных окисных топливных элементов тем, что система 210 твердотельных окисных топливных элементов подает весь неиспользованный окислитель из коллектора 48 улавливания неиспользованного окислителя по каналу 50 к камере 46 сгорания. Вторая часть неиспользованного топлива сгорает во всем неиспользованном окислителе в камере 46 сгорания для получения горячих газов. Первую часть продуктов, горячие газы и неиспользованный окислитель камеры 46 сгорания подают по каналам 56 и 56В к эжектору 58 окислителя. Вторую часть продуктов, горячие газы и неиспользованный окислитель камеры 46 сгорания подают по каналам 56 и 72 к турбине 62 для приведения в действие турбины 62.
Для передачи тепла от продуктов, горячих газов и неиспользованного окислителя камеры 46 сгорания к окислителю, подаваемому из компрессора 60 к катодам 22 твердотельных окисных топливных элементов 16, предусмотрен теплообменник 74 для подогрева окислителя, подаваемого посредством компрессора. Теплообменник 74 является малопроизводительным теплообменником 74 и может быть образован из металла и керамики. Теплообменник 74 предназначен для подогрева потока окислителя из компрессора 60 к коллектору 26 окислителя в канале 34 между эжектором 58 окислителя и коллектором 26 окислителя. Теплообменник 74 предназначен для извлечения тепла из потока продуктов, горячих газов и неиспользованного окислителя камеры 46 сгорания в канале 56 между камерой 46 сгорания и турбиной 62 или эжектором 58 окислителя.
Преимуществом этой конструкции является то, что камера сгорания непосредственно подогревает неиспользованный окислитель, подаваемый из коллектора улавливания неиспользованного окислителя к коллектору окислителя, и, следовательно, уменьшается необходимость в теплообменнике. Это дает возможность упрощения системы твердотельных окисных топливных элементов, уменьшает себестоимость и увеличивает эксплуатационную надежность.
Газотурбинный двигатель может иметь регулируемый направляющий аппарат в компрессоре и/или турбине, например, регулируемый входной направляющий аппарат.
Эжектор окислителя может быть струйным насосом. В альтернативном варианте для создания повышенного давления и перемешивания продуктов камеры сгорания с окислителем, подаваемым посредством компрессора, могут быть предусмотрены другие средства. Например, турбомашина, вентилятор, насос или нагнетатель могут быть предусмотрены для создания повышенного давления продуктов камеры сгорания, а отдельный смеситель может быть предусмотрен для перемешивания продуктов камеры сгорания и окислителя. Турбомашина может приводиться в действие свободной турбиной. Вентилятор, насос или нагнетатель могут приводиться в действие свободной турбиной, электрически или другими пригодными средствами.
Топливный эжектор может быть струйным насосом. В альтернативном варианте для создания повышенного давления и перемешивания неиспользованного топлива с топливом, подаваемым источником топлива, могут быть предусмотрены другие средства. Например, турбомашина, вентилятор, насос или нагнетатель могут быть предусмотрены для создания повышенного давления неиспользованного топлива, а отдельный смеситель может быть предусмотрен для перемешивания неиспользованного топлива с топливом, подаваемым источником топлива. Турбомашина может приводиться в действие свободной турбиной. Вентилятор, насос или нагнетатель могут приводиться в действие свободной турбиной, электрически или другими пригодными средствами.
На фиг.4 иллюстрируется дополнительная система 310 твердотельных окисных топливных элементов, соответствующая настоящему изобретению, которая содержит набор 12 твердотельных окисных топливных элементов и газотурбинный двигатель 14. Система 310 твердотельных окисных топливных элементов по существу аналогична системе 10 твердотельных окисных топливных элементов, иллюстрируемой на фиг.1, и аналогичные детали указаны аналогичными ссылочными номерами.
Система 310 твердотельных окисных топливных элементов отличается от системы 10 твердотельных окисных топливных элементов тем, что в системе 310 твердотельных окисных топливных элементов продукты, горячие газы и неиспользованный окислитель камеры 46 сгорания подаются посредством камеры 46 сгорания и канала 56, во-первых, к насосу 58А для нагнетания окислителя, который создает повышенное давление продуктов камеры 46 сгорания, и затем, во-вторых, к смесителю 58В, который смешивает продукты камеры 46 сгорания с окислителем, подаваемым компрессором 60 по каналу 34 к коллектору 26 окислителя, для подогрева окислителя, подаваемого компрессором 60.
Система 310 твердотельных окисных топливных элементов отличается также от системы 10 твердотельных окисных топливных элементов тем, что в системе 310 твердотельных окисных топливных элементов источник 28 подачи топлива является источником подачи углеводородного топлива, например метана. Набор 12 твердотельных окисных топливных элементов также имеет преобразователь 76, который предназначен для преобразования углеводородного топлива в водород и угарный газ. Преобразователь 76 расположен выше по технологической цепочке от топливного коллектора 24 так, чтобы непреобразованное углеводородное топливо подавалось по каналу 30 к преобразователю 76, а преобразованное топливо, водород и угарный газ, подавалось к топливному коллектору 24. Реакция преобразования, имеющая место в преобразователе 76, является эндотермической реакцией. Тепло, требуемое для эндотермической реакции в преобразователе 76, обеспечивается теплообменником 78, который передает тепло от неиспользованного окислителя непосредственно ниже по технологической цепочке от коллектора 48 улавливания неиспользованного окислителя к преобразователю 76.
Насос 58А может быть заменен вентилятором, нагнетателем или турбомашиной. Турбомашина может приводиться в действие мощной турбиной, предназначенной для приведения в движение выхлопных газов, поток которых проходит по каналу 66 из турбины 62 к выпускной трубе 68.
Например, в соответствии с фиг.4, для системы 310 твердотельных окисных топливных элементов 50 kWe давление окислителя на выходе компрессора 60 составляет 9,5 бар, 950 кПа, а температура составляет 390°С. Давление окислителя в коллекторе 26 окислителя составляет 7 бар, 700 кПа, а температура составляет 850°С. Температура неиспользованного окислителя в коллекторе 48 улавливания неиспользованного окислителя составляет 950°С. Давление неиспользованного окислителя в каналах 50, 52 и 54 составляет 7 бар, 700 кПа, а температура составляет 860°С. Давление продуктов камеры 46 сгорания в канале 56 составляет 7 бар, 700 кПа, а температура составляет 1050°С. Давление выхлопных газов в выпускной трубе 68 составляет 1,013 бар, 101,3 кПа, а температура составляет 530°C.
Может оказаться возможным использование преобразователя системы, иллюстрируемой на фиг.4, в вариантах осуществления, иллюстрируемых на фиг.1-3, и/или насоса и смесителя, иллюстрируемых на фиг.4, в системах, иллюстрируемых на фиг.1-3.
В качестве дополнительной альтернативы системы, иллюстрируемой на фиг.4, может оказаться возможным иметь канал 56, обеспечивающий прямую подачу к смесителю 58В в канале 34 между смесителем 58В и коллектором 26 окислителя. Это обеспечивает возможность использования насоса с более низкими температурными характеристиками.
Хотя настоящее изобретение было описано со ссылкой на газотурбинный двигатель, содержащий один компрессор и одну турбину, газотурбинный двигатель может содержать компрессор низкого давления, компрессор высокого давления, турбину высокого давления и турбину низкого давления. В альтернативном варианте газотурбинный двигатель может содержать компрессор низкого давления, компрессор промежуточного давления, компрессор высокого давления, турбину высокого давления, турбину промежуточного давления и турбину низкого давления. Компрессоры могут быть компрессорами осевого потока или компрессорами радиального потока и аналогичным образом турбины могут быть турбинами осевого потока или турбинами радиального потока.
Газовые турбины может приводить в действие электрический генератор, например генератор переменного тока, для обеспечения дополнительного электричества. Электрический генератор может приводиться в действие посредством компрессора низкого давления.
В случае газотурбинных двигателей с компрессором высокого давления может быть предусмотрена отводная конструкция для отведения текучей среды от конца, расположенного ниже по технологической цепочке, компрессора высокого давления и для подачи отведенной текучей среды к турбине высокого давления. В альтернативном варианте может быть предусмотрена отводная конструкция для отведения текучей среды от конца, расположенного ниже по технологической цепочке, компрессора высокого давления и для выпуска отведенной текучей среды из газотурбинного двигателя.
Формула изобретения
1. Система (10) твердотельных окисных топливных элементов, содержащая набор (12) твердотельных окисных топливных элементов и газотурбинный двигатель (14), причем набор (12) твердотельных окисных топливных элементов содержит, по меньшей мере, один твердотельный окисный топливный элемент (16) и каждый твердотельный окисный топливный элемент (16) содержит электролит (18), анод (20) и катод (22), а газотурбинный двигатель (14) содержит компрессор (60) и турбину (62), предназначенную для приведения в действие компрессора (60), при этом компрессор (60) предназначен для подачи окислителя к катоду (22), по меньшей мере, одного твердотельного окисного топливного элемента (16), а также средство для подачи топлива (28, 30, 24) к аноду (20), по меньшей мере, одного твердотельного окисного топливного элемента (16), средство для подачи, по меньшей мере, части (52) неиспользованного окислителя (49), по меньшей мере, от одного твердотельного окисного топливного элемента (16) к катоду (22), по меньшей мере, одного твердотельного окисного топливного элемента (16), отличающаяся тем, что средство для подачи, по меньшей мере, части (52) неиспользованного окислителя (49) содержит камеру (46) сгорания, при этом камера (46) сгорания предназначена для сжигания, по меньшей мере, части (44) неиспользованного топлива, по меньшей мере, из одного твердотельного окисного топливного элемента (16), по меньшей мере, в части (52) неиспользованного окислителя, по меньшей мере, из одного твердотельного окисного топливного элемента (16) и предназначена для подачи продуктов камеры (46) сгорания к окислителю, подаваемому компрессором (60) к катоду (22), по меньшей мере, одного твердотельного окисного топливного элемента (16) для подогрева окислителя, подаваемого компрессором (60).
2. Система по п.1, отличающаяся тем, что набор (12) твердотельных окисных топливных элементов содержит множество твердотельных окисных топливных элементов.
3. Система по п.1 или 2, отличающаяся тем, что вторая часть (54) неиспользованного окислителя подается к турбине (62) для приведения в действие турбины (62).
4. Система по п.1, отличающаяся тем, что для передачи тепла от выпускных газов турбины (62) к окислителю, подаваемому от компрессора (60) к катоду (22), по меньшей мере, одного твердотельного окисного топливного элемента (16), в ней предусмотрен теплообменник (70) для подогрева окислителя, подаваемого компрессором (60).
5. Система по п.1 или 2, отличающаяся тем, что камера (46) сгорания предназначена для сжигания, по меньшей мере, части (44) неиспользованного топлива, по меньшей мере, из одного твердотельного окисного топливного элемента (16) во всем неиспользованном окислителе, по меньшей мере, из одного твердотельного окисного топливного элемента (16).
6. Система по п.5, отличающаяся тем, что камера (46) сгорания предназначена для подачи части (56В) продуктов камеры (46) сгорания к окислителю, подаваемому компрессором (60) к катоду (22), по меньшей мере, одного твердотельного окисного топливного элемента (16), для подогрева окислителя, подаваемого компрессором (60).
7. Система по п.6, отличающаяся тем, что вторая часть (72) продуктов камеры (46) сгорания подается к турбине (62) для приведения в действие турбины (62).
8. Система по п.7, отличающаяся тем, что для передачи тепла от продуктов камеры (46) сгорания к окислителю, подаваемому от компрессора (60) к катоду (22), по меньшей мере, одного твердотельного окисного топливного элемента (16), в ней предусмотрен теплообменник (74) для подогрева окислителя, подаваемого компрессором (60).
9. Система по п.1, отличающаяся тем, что она дополнительно содержит средство для подачи, по меньшей мере, второй части (40) неиспользованного топлива, по меньшей мере, от одного твердотельного окисного топливного элемента (16) к аноду (20), причем средство для подачи второй части (40) неиспользованного топлива предназначено для подачи второй части неиспользованного топлива к топливу, подаваемому средством (28, 30, 24) для подачи топлива, для подогрева топлива, подаваемого средством для подачи топлива (28, 30, 24).
10. Система по п.9, отличающаяся тем, что средство для подачи, по меньшей мере, второй части (40) неиспользованного топлива содержит средство (42) для создания повышенного давления неиспользованного топлива и средство для смешивания неиспользованного топлива с топливом.
11. Система по п.10, отличающаяся тем, что средство (42) для создания повышенного давления неиспользованного топлива и средство для смешивания неиспользованного топлива с топливом содержит эжектор.
12. Система по п.10, отличающаяся тем, что средство (42) для создания повышенного давления неиспользованного топлива содержит насос, вентилятор, нагнетатель или турбомашину, а средство для смешивания неиспользованного топлива с топливом содержит смеситель.
13. Система по п.1, отличающаяся тем, что средство для подачи, по меньшей мере, части неиспользованного окислителя содержит средство (58) для создания повышенного давления неиспользованного окислителя и средство (58) для смешивания неиспользованного окислителя с окислителем.
14. Система по п.13, отличающаяся тем, что средство (58) для создания повышенного давления неиспользованного окислителя и средство (58) для смешивания неиспользованного окислителя с окислителем содержит эжектор.
15. Система по п.13, отличающаяся тем, что средство (58) для создания повышенного давления неиспользованного окислителя и средство (58) для смешивания неиспользованного окислителя с окислителем содержит насос, вентилятор, нагнетатель или турбомашину (58А) и смеситель (58В).
16. Система по п.13, отличающаяся тем, что камера (46) сгорания предназначена для подачи продуктов камеры (46) сгорания к окислителю, подаваемому компрессором (60) к катоду (22), по меньшей мере, одного твердотельного окисного топливного элемента (16) для подогрева окислителя, подаваемого компрессором (60), с помощью средства (58) для создания повышенного давления неиспользованного окислителя и средства для смешивания неиспользованного окислителя с окислителем.
17. Система по п.11, отличающаяся тем, что эжектор является струйным насосом.
18. Система по п.14, отличающаяся тем, что эжектор является струйным насосом.
19. Система по п.16, отличающаяся тем, что эжектор является струйным насосом.
20. Система по п.1, отличающаяся тем, что средство для подачи топлива к аноду (20), по меньшей мере, одного твердотельного окисного топливного элемента (16), содержит преобразователь (76), предназначенный для преобразования топлива, причем источник (28) подачи топлива предназначен для подачи топлива к преобразователю (76), а преобразователь (76) предназначен для подачи преобразованного топлива к аноду (20), по меньшей мере, одного твердотельного окисного топливного элемента (16).
21. Система по п.20, отличающаяся тем, что средство для подачи, по меньшей мере, части неиспользованного окислителя предназначено для нагрева преобразователя (76).
22. Система (10) твердотельных окисных топливных элементов, содержащая набор (12) твердотельных окисных топливных элементов и газотурбинный двигатель (14), причем набор (12) твердотельных окисных топливных элементов содержит, по меньшей мере, один твердотельный окисный топливный элемент (16) и каждый твердотельный окисный топливный элемент (16) содержит электролит (18), анод (20) и катод (22), а газотурбинный двигатель (14) содержит компрессор (60) и турбину (62), предназначенную для приведения в действие компрессора (60), при этом компрессор (60) предназначен для подачи окислителя к катоду (22), по меньшей мере, одного твердотельного окисного топливного элемента (16), а также средство для подачи топлива (28, 30, 24) к аноду (20), по меньшей мере, одного твердотельного окисного топливного элемента (16), отличающаяся тем, что она содержит средство для подачи, по меньшей мере, части (52) неиспользованного окислителя (49), по меньшей мере, от одного твердотельного окисного топливного элемента (16) к камере (46) сгорания, средство для подачи, по меньшей мере, части неиспользованного топлива, по меньшей мере, от одного твердотельного окисного топливного элемента (16) к камере 46 сгорания, при этом камера (46) сгорания предназначена для сжигания, по меньшей мере, части (44) неиспользованного топлива, по меньшей мере, из одного твердотельного окисного топливного элемента (16), по меньшей мере, в части (52) неиспользованного окислителя, по меньшей мере, из одного твердотельного окисного топливного элемента (16), и предназначена для подачи продуктов камеры (46) сгорания к окислителю, подаваемому компрессором (60) к катоду (22), по меньшей мере, одного твердотельного окисного топливного элемента (16), для подогрева окислителя, подаваемого компрессором (60).
РИСУНКИ
|
|