|
(21), (22) Заявка: 2005103229/09, 09.07.2003
(24) Дата начала отсчета срока действия патента:
09.07.2003
(30) Конвенционный приоритет:
09.07.2002 GB 0215790.7
(43) Дата публикации заявки: 10.07.2005
(46) Опубликовано: 27.01.2008
(56) Список документов, цитированных в отчете о поиске:
RU 2182737 С2, 20.05.2002. RU 2067339 С1, 27.09.1996. WO 0205373 А, 17.01.2002. ЕР 1184924 А, 06.03.2002.
(85) Дата перевода заявки PCT на национальную фазу:
09.02.2005
(86) Заявка PCT:
GB 03/02973 (09.07.2003)
(87) Публикация PCT:
WO 2004/006367 (15.01.2004)
Адрес для переписки:
103735, Москва, ул. Ильинка, 5/2, ООО “Союзпатент”, пат.пов. С.Б.Фелицыной, рег. № 303
|
(72) Автор(ы):
ХУД Питер Дейвид (GB), ЭДКОК Пол Леонард (GB)
(73) Патентообладатель(и):
ИНТЕЛИДЖЕНТ ЭНЕРДЖИ ЛИМИТЕД (GB)
|
(54) СБОРКА ТОПЛИВНОГО ЭЛЕМЕНТА
(57) Реферат:
Изобретение относится к топливным элементам, в частности к пластинам, распределяющим поток среды, пригодным для использования в топливных элементах с твердым полимерным электролитом, пластины поля потока которых действуют как каналы подачи текучей среды к поверхностям электродов топливного элемента. Согласно изобретению на поверхности пластины поля потока текучей среды сформировано множество каналов, которые проходят по поверхности пластины в виде определенной структуры, определяя активную область пластины. На поверхности фольги распределения сформировано множество каналов, проходящих от первой кромки фольги распределения до второй кромки фольги распределения. Каналы заканчиваются на второй кромке в местоположениях, по существу, совпадающих с соответствующими местоположениями каналов пластины поля в точках впрыска воды. Покрывающая фольга расположена поверх фольги распределения так, что она покрывает каналы фольги распределения и, таким образом, формирует каналы для воды между двумя слоями фольги. Техническим результатом являются улучшенные способ и устройство для управляемой подачи воды в отдельные каналы на пластинах потока текучей среды, а также простота изготовления и сборки. 3 н. и 17 з.п. ф-лы, 9 ил.
Область техники, к которой относится изобретение
Настоящее изобретение относится к топливным элементам, в частности к пластинам, распределяющим поток текучей среды, пригодным для использования в топливных элементах с твердым полимерным электролитом, пластины поля потока которых действуют как каналы подачи текучей среды к поверхностям электродов топливного элемента.
Уровень техники
Обычные электрохимические топливные элементы преобразуют топливо и окислитель в электроэнергию и продукты реакции. Типичная схема обычного топливного элемента 10 показана на фиг.1, на которой для простоты различные слои изображены в разнесенной форме. Твердая полимерная мембрана 11 переноса ионов расположена между анодом 12 и катодом 13. Обычно анод 12 и катод 13 сформированы из электропроводного, пористого материала, такого как пористый углерод, с которым связаны небольшие частицы катализатора из платины и/или другого драгоценного металла. Анод 12 и катод 13 часто находятся в непосредственном контакте с соответствующими, расположенными рядом поверхностями мембраны 11. Эту комбинацию обычно называют мембраноэлектродной сборкой или СМЭ (МЕА).
Полимерная мембрана и слои пористых электродов расположены между анодной пластиной 14 поля потока текучей среды и катодной пластиной 15 поля потока текучей среды. Между анодной пластиной 14 поля текучей среды и анодом 12 и аналогично между катодной пластиной 15 поля текучей среды и катодом 13 также могут использоваться промежуточные слои 12а и 13а подложки. Слои подложки являются пористыми по своей природе и изготовлены так, что они обеспечивают эффективную диффузию газа к поверхностям катода и анода и от них, а также помогают управлять потоками паров воды и жидкой воды. В настоящем описании считается, что при ссылке на электроды (анод и/или катод) подразумеваются электроды со слоем подложки или без него.
Пластины 14, 15 поля потока текучей среды сформированы из электропроводного, непористого материала, который может находиться в электрическом контакте с соответствующим электродом 12 анода или электродом 13 катода. Одновременно пластины поля потока текучей среды должны обеспечивать подачу и/или отвод текучего топлива, окислителя и/или продукта реакции к пористым электродам или от них. Обычно это выполняется с помощью каналов для потока текучей среды, формированных на поверхности пластин поля потока текучей среды, таких как канавки или каналы 16 на поверхности, обращенной к пористым электродам 12, 13.
Как показано на фиг.2(а), в одной обычной конфигурации канал потока текучей среды выполнен в виде зигзагообразной структуры 20, расположенной на поверхности анода 14 (или катода 15), имеющей входной коллектор 21 и выходной коллектор 22, как показано на фиг.2(а) При этом следует понимать, что в обычной конструкции зигзагообразная структура 20 сформирована в виде канала 16 на поверхности пластины 14 (или 15), в то время как коллекторы 21 и 22 выполнены в виде отверстия, проходящего через пластину так, что текучая среда, подаваемая или отводимая от канала 20, может протекать через толщину набора пластин в направлении, ортогональном пластине, как, в частности, показано стрелкой в сечении А-А, показанном на фиг.2(b).
Другие отверстия 23, 25 коллекторов могут быть сформированы для подачи и отвода топлива, окислителя, других текучих сред или выпускаемых продуктов в другие каналы на пластинах, не показаны.
Каналы 16 на пластинах 14, 15 поля потока текучей среды могут быть открытыми с обоих концов, то есть могут быть выполнены как каналы, проходящие между входным коллектором 21 и выпускным коллектором 22, как показано на чертеже, обеспечивая непрерывное протекание текучей среды, что обычно используется для комбинированной подачи окислителя и выпуска продуктов реакции. В качестве альтернативы, каналы 16 могут быть выполнены закрытыми на одном конце, то есть каждый канал может быть соединен только с входным коллектором 21 для подачи текучей среды, при этом его работа полностью основана на 100%-ном переносе газообразного материала в пористые электроды СМЭ и из них Закрытый канал обычно используют для подачи водородного топлива в СМЭ 11-13 с гребенчатой структурой.
На фиг.3 показан вид в разрезе части набора пластин, из которых сформирована обычная сборка 30 топливных элементов. При такой компоновке расположенные рядом друг с другом анодные и катодные пластины поля потока текучей среды скомбинированы обычным образом для формирования одной биполярной пластины 31, имеющей каналы 32 анода на одной стороне и каналы 33 катода на противоположной стороне, причем рядом с каждой из них расположена соответствующая сборка 34 мембрана-электрод (СМЭ). Отверстия 21 входного коллектора 21 и отверстия 22 выходного коллектора наложены друг на друга так, что образуются входной и выходной коллекторы для всего набора. Различные элементы набора показаны несколько разделенными друг от друга для ясности изображения, хотя следует понимать, что они сжаты вместе с использованием, если это необходимо, уплотнительных прокладок.
Для обеспечения возможности непрерывного получения высокой мощности от топливного элемента обычно требуется поддерживать высокое содержание воды в сборке мембрана-электрод и, в частности, внутри мембраны.
В известном уровне техники это обычно достигается путем смачивания газов, топлива или воздуха, или обоих, подаваемых через коллекторы 21, 22 или 23 и каналы 16. Недостаток такой технологии состоит в том, что для поддержания достаточного уровня влажности часто требуется подогревать подаваемые на вход потоки газа и при этом необходимо использовать дополнительное устройство подачи водяного пара в протекающие потоки газа.
В известном уровне техники вспомогательное устройство может быть выполнено с использованием множества разных способов. Например, используют пропускание газообразных топлива или окислителя в виде пузырьков через колонны с подогретой водой перед подачей их в топливный элемент. В качестве альтернативы применяют проницаемые мембраны, используемые в качестве среды передачи воды, при этом осуществляется перенос воды в поток газа из расположенной рядом камеры с повышенным давлением, содержащей жидкую воду. Также применяют фитили в качестве среды переноса воды в фазу жидкость – пар.
Дополнительное устройство может быть установлено отдельно от набора топливного элемента или может быть сформировано как единая часть с ним. В любом случае, при его применении увеличиваются размеры и сложность сборки в целом.
Альтернативный способ состоит в подаче воды непосредственно в мембрану 11, 34, например непосредственно на поверхность электрода или в каналы 16 биполярных пластин 31. Эта технология имеет преимущество, состоящее в том, что при подаче воды обеспечивается не только высокое содержание воды в мембране, но также охлаждение топливного элемента в результате испарения и отбора латентной теплоты при испарении.
Такой способ непосредственного отбора тепла, который обеспечивает отбор энергии вместе с выходным потоком газа, имеет явные преимущества, связанные с устранением из конструкции сборки набора топливного элемента промежуточных охлаждающих пластин.
В известном уровне техники обычно используют режим охлаждения, при котором теплообменные пластины располагают между электрохимически активными пластинами для отбора тепловой энергии, вырабатываемой из-за резистивной и термодинамической неэффективности топливного элемента. В таких теплообменных или охлаждающих пластинах используют регулируемый поток текучей среды или, реже, поток текучей среды с однократной циркуляцией, с помощью которого отводят тепло от набора топливных элементов. Охлаждающие пластины обычно имеют другую конструкцию, чем активные пластины, что усложняет, увеличивает размеры и стоимость сборки топливных элементов.
Трудность, с которой можно столкнуться при непосредственной подаче воды, состоит в том, что требуется подавать точные количества воды во множество каналов 16 пластины поля потока текучей среды набора 30 топливных элементов. Обычно для этого требуется подавать точные количества воды во много тысяч отдельных мест подачи. Для выполнения этой задачи требуется использовать пластины 14, 15 или 31 поля потока текучей среды со сложной конструкцией, которые являются более трудоемкими при производстве, что приводит к повышению затрат.
Если подача воды будет неравномерной, эффект охлаждения будет плохо распределен, в результате чего образуются локализованные тепловые пятна, перегрев в которых может привести к возникновению физических напряжений и повреждению мембраны 11, ухудшению механических свойств и даже к разрывам. Такой эффект возникает как при плохой (неравномерной) подаче по поверхности пластины, так и при неравномерной подаче к каждому отдельному элементу, из которых составлен набор. Другими словами, изменения температуры могут происходить в пределах элемента или от элемента к элементу.
Сущность изобретения
Настоящее изобретение направлено на создание улучшенных способа и устройства, предназначенных для управляемой подачи воды в отдельные каналы на пластинах потока текучей среды. Кроме того, настоящее изобретение направлено на создание такого способа и устройства, которые обеспечивают простоту изготовления и сборки.
В соответствии с одним аспектом настоящее изобретение направлено на создание сборки топливного элемента, содержащей:
пластину поля потока текучей среды, на поверхности которой сформировано множество каналов, проходящих по поверхности пластины в виде определенной структуры;
фольгу распределения, на поверхности которой сформировано множество каналов, проходящих от первой кромки фольги распределения до второй кромки фольги распределения, причем эти каналы заканчиваются на второй кромке в местоположениях, по существу, совпадающих с соответствующими местоположениями каналов пластины поля;
покрывающую фольгу, расположенную поверх фольги распределения так, что она покрывает каналы фольги распределения и, таким образом, формирует каналы для воды между двумя слоями фольги.
В соответствии с другим аспектом настоящее изобретение направлено на создание сборки топливного элемента, содержащей:
пластину поля потока текучей среды, на поверхности которой сформировано множество каналов, проходящих по поверхности пластины в виде определенной структуры;
фольгу распределения, на поверхности которой сформировано множество каналов, причем каждый из каналов продолжается от первых местоположений, расположенных рядом с или на первой кромке фольги распределения, до вторых местоположений, расположенных рядом с или на второй кромке фольги распределения, причем каналы заканчиваются во вторых местоположениях, по существу, совпадающих с соответствующими местоположениями каналов расположенной ниже пластины;
покрывающую фольгу, которая имеет такие же размеры, что и существенная часть фольги распределения, которая покрывает каналы фольги распределения поверх, по меньшей мере, части их длины, между первыми и вторыми местоположениями и, таким образом, формирует каналы для воды между двумя слоями фольги.
В соответствии с еще одним аспектом настоящее изобретение направлено на создание узла топливного элемента, содержащего:
пластину поля потока текучей среды, на поверхности которой сформировано множество каналов, проходящих по поверхности пластины поля в виде определенной структуры;
расположенную рядом мембраноэлектродную сборку (СМЭ), находящуюся в контакте с пластиной поля потока текучей среды в активной области СМЭ;
мембрану распределения, расположенную между пластиной поля потока текучей среды и СМЭ, причем мембрана содержит множество каналов для воды, проходящих через нее между первыми местоположениями, расположенными рядом с или на первой кромке мембраны, до вторых местоположений, расположенных рядом с или на второй кромке мембраны, причем каналы заканчиваются во вторых местоположениях, которые, по существу, совпадают с соответствующими местоположениями каналов пластины.
Краткое описание чертежей
Варианты выполнения настоящего изобретения будут описаны ниже в качестве примера и со ссылкой на прилагаемые чертежи, на которых:
на фиг.1 схематично показан вид в разрезе части обычного топливного элемента,
на фиг.2(а) и 2(b) соответственно показан упрощенный вид в плане и вид в разрезе пластины поля потока текучей среды топливного элемента по фиг.1;
на фиг.3 показан вид в разрезе обычного набора топливных элементов с биполярными пластинами;
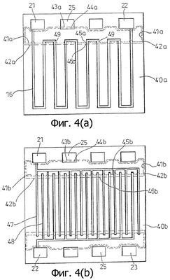
на фиг.4(а) показан вид в плане пластины поля потока текучей среды топливного элемента с зигзагообразным каналом для текучей среды, схематично представляющий расположение фольги распределения воды и покрывающей фольги в соответствии с настоящим изобретением;
на фиг.4 (b) показан вид в плане пластины поля потока текучей среды топливного элемента с чередующейся гребенчатой структурой канала для текучей среды, схематично представляющий расположение фольги распределения воды и покрывающей фольги в соответствии с настоящим изобретением;
на фиг.5 показан вид в плане фольги распределения воды в соответствии с настоящим изобретением;
на фиг.6 показан вид в разрезе пластины поля потока текучей среды фольги распределения воды и покрывающей фольги по фиг.4 и 5;
на фиг.7 показан вид в перспективе части сборки, представленной на фиг.6;
на фиг.8 показан вид в разрезе пластины поля потока текучей среды, фольги распределения воды и покрывающей фольги, в которых используется обратное расположение фольги распределения воды и покрывающей фольги;
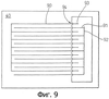
на фиг.9 схематично показан вид в плане точек впрыска воды для чередующейся гребенчатой структуры каналов.
Подробное описание изобретения
Как показано на фиг.4(а) и 4(b), в соответствии с настоящим изобретением предусматривается использовать последовательность каналов впрыска воды, продолжающихся между входным коллектором 25 для воды и отдельными каналами 16 пластины 40а или 40b поля потока текучей среды. Вообще говоря, каналы впрыска воды сформированы в виде мембраны или ламинированной структуры, которая расположена на поверхности пластины 40 поля потока текучей среды. Каналы впрыска воды содержат входные отверстия, соединенные с входным коллектором 25 для воды, и выходные отверстия, которые представляют собой заданные точки впрыска воды над каналами 16 пластины поля потока текучей среды.
В предпочтительном варианте компоновки ламинированная структура выполнена в виде двух слоев 41, 42 из фольги, расположенных поверх пластины 40, местоположение этих слоев фольги представлено пунктирным контуром на фиг.4(а) и 4(b).
На фиг.4(а) показан вид в плане пластины 40а поля потока текучей среды с зигзагообразным каналом 16, со слоями фольги 41 а, 42а, первые кромки 43а, 44а которых совпадают с входным коллектором 25 для воды и вторые кромки 45а, 46а которых расположены на или рядом с заданными точками 49 впрыска воды каналов 16.
На фиг.4 (b) представлен вид в плане пластины 40b поля потока текучей среды с двумя чередующимися гребенчатыми каналами 47, 48, каждый из которых соединен с соответствующим коллектором 21, 22, и слоями 41b, 42b фольги, первые кромки 43b, 44b которых совпадают с входным коллектором 25 для воды и вторые кромки 45b, 46b которых расположены на или рядом с заданными точками впрыска воды канала 47. Следует отметить, что такая фольга может быть установлена на противоположной кромке пластины 40b между вторым входным коллектором 25 для воды и заданными точками впрыска воды канала 48.
На фиг.5, на виде в плане, подробно показано расположение фольги 41 распределения воды, где представлены предпочтительные каналы 50 для впрыска воды. Каналы 50 сформированы в виде первой последовательности каналов 51, которые продолжаются от первой кромки 43 фольги 41, расположенной на входном коллекторе 25 для воды, до галереи или камеры 52 распределения давления, которая продолжается вдоль длины фольги 41 впрыска воды. Галерея 52 распределения давления сообщается со второй последовательностью каналов 53, которые продолжаются до второй кромки 45 фольги, где они соединяются с каналами 16 на пластине поля потока текучей среды. С этой целью вторая последовательность каналов 53 сгруппирована так, что они заканчиваются на второй кромке 45 фольги 41 впрыска воды в виде соответствующих сходящихся структур 54.
В представленном предпочтительном варианте выполнения сходящиеся структуры 54 содержат дугообразные выемки 55, вырезанные на второй кромке 45 фольги 41, в точках 49 впрыска воды, выполненные так, что они совпадают с заданными местоположениями над каналами 16, показанными на чертеже схематично.
Галерея 52 распределения давления предпочтительно содержит матрицу взаимосообщающихся каналов 56, которые направляют поступающую воду от первой последовательности каналов 51 и эффективно распределяют ее по всей длине фольги 41 так, что вода поступает в каждую группу второй последовательности каналов 53 под, по существу, одинаковым давлением.
Как снова показано на фиг.4(а) и 4(b), покрывающая фольга 42 представляет собой слой фольги без какой-либо структуры (то есть без каналов), по существу, с той же формой внешнего контура, как у нижней фольги. Покрывающая фольга 42 продолжается за пределы кромки фольги 41 распределения, по меньшей мере, на концах второй последовательности каналов, что обеспечивает направление воды вниз в требуемый канал 16 пластины поля потока. Удобнее всего такое перекрытие обеспечивается благодаря тому, что в фольге 41 распределения сформированы выемки 55, а в покрывающей фольге 42 такие выемки отсутствуют. Таким образом, как лучше всего видно на схеме, в увеличенном виде показанной в разрезе на фиг.6, покрывающая фольга 46 образует верхнее покрытие для каналов 51, 52 и 53, формируя каналы 50 для впрыска воды и оставляя открытыми концы каналов 51 и 53. В представленном варианте выполнения покрывающая фольга 42 может быть сформирована с несколько большими размерами, чем фольга 41 распределения, так, что она перекрывает вторую кромку 45 (и, возможно, первую кромку 43) для получения аналогичного эффекта.
Следует отметить, что слои фольги выполнены очень тонкими по сравнению с толщиной пластины 40, при этом благодаря небольшой толщине слоев фольги они легко укладываются в СМЭ 34 при установке прокладок между пластинами. Компоненты на фиг.6 показаны несколько разделенными для ясности представления, хотя они, конечно, будут сжаты вместе.
На фиг.7 показана представленная в перспективе схема фольги 41 распределения воды в местоположении поверх пластины 40 поля потока, на которой показано совмещение различных каналов и коллекторов.
Можно видеть, что каналы 51, 52, 53 распределения воды не обязательно должны быть сформированы на нижней фольге 41. В другом варианте выполнения, показанном на фиг.8, каналы 80 распределения воды сформированы на нижней поверхности верхней фольги 82, в то время как нижняя фольга 81 используется для формирования покрытия каналов 80 для образования каналов впрыска воды. Другими словами, фольга 82 распределения и покрывающая фольга 81 выполнены в виде перевернутой структуры по сравнению с компоновкой, представленной на фиг.6
В компоновке, показанной на фиг.8, по меньшей мере, вторая последовательность каналов (сравни с каналами 53 на фиг.5) не доходит непосредственно до второй кромки 83 верхней фольги, но заканчивается в местоположениях рядом со второй кромкой. Нижняя фольга 81 (покрывающая фольга) продолжается практически до конца каналов 80, но предпочтительно заканчивается на небольшом расстоянии от них, что обеспечивает сообщение по текучей среде между концом канала 80 и каналом 16 пластины в точках 49 впрыска воды,
Как указано выше, нижняя фольга 81 (покрывающая фольга) образует покрытие для каналов 80, формируя барьер, предотвращающий утечку воды в ненужных местах в расположенные ниже каналы 16 в пластине 40 потока текучей среды, например в местах, где каналы впрыска воды пересекают каналы 16 для топлива и/или окислителя (например, в местах 85).
Предпочтительно фольга, как описано выше, сформирована из металла, такого как нержавеющая сталь. Однако можно использовать любой подходящий материал, обладающий соответствующими свойствами, обеспечивающими содержание воды под давлением, и выражение “фольга”, используемое в настоящем описании, следует толковать соответственно. Предпочтительно фольга является электропроводной, но не обязательно, поскольку она не продолжается до активной области СМЭ.
В предпочтительном варианте выполнения каналы 16 потока текучей среды на пластинах 40 анода или катода обычно имеют ширину и глубину от 0,4 мм до 1,2 мм. Было определено, что необходимая степень впрыска воды обеспечивается при значениях ширины и глубины канала, химически вытравленного в фольге распределения воды, равных 10 мкм.
При использовании устройства давлением воды, подаваемой через коллектор 25, управляют для получения достаточного перепада между давлением подачи воды и давлением газа в каналах 16 потока текучей среды, что обеспечивает равномерное распределение воды между тысячами каналов потока. В предпочтительном варианте выполнения воду подают в коллектор под давлением в диапазоне 0,5-3 бар Н2О.
Преимущество такого подхода состоит в том, что мембрана распределения воды выполнена чрезвычайно тонкой и может быть легко расположена в доступном пространстве в биполярных пластинах или в области прокладки.
Точностью объемной подачи воды также можно очень точно управлять благодаря использованию соответствующей конструкции канала впрыска воды и регулируя его размеры.
Воду можно подавать как на стороне потока топлива (анода), так и на стороне окислителя (катода) биполярной пластины 34 или с обеих сторон. Предпочтительно впрыск воды выполняют на стороне катода.
Как показано на фиг.9, воду, которую подают в чередующиеся гребенчатые каналы 90 на пластине 40 поля потока, можно подавать либо в точке 91 входа в канал, после канала 92 подачи, или в качестве альтернативы, в выходную дорожку 93, в точке 94 впрыска, расположенную на том же краю биполярной пластины, что и коллектор подачи.
Преимущество впрыска воды в выходные дорожки состоит в уменьшении перепада давления в потоке газообразных продуктов реакции. Это происходит из-за того, что при этом вода не проходит через диффузионную среду, маскирующую пустое пространство для прохода газа. Аналогично, благодаря устранению потока воды через диффузионную среду снижается трение среды и ее постепенное разрушение и структурный износ.
В выходных дорожках происходит эффективное охлаждение в результате испарения, при этом в мембране поддерживается требуемое содержание воды благодаря насыщению воздуха парами воды.
Хотя варианты выполнения настоящего изобретения были описаны в контексте впрыска воды в топливный элемент мембраны с протонным обменом, следует понимать, что такую же структуру можно использовать для впрыска любого материала текучей среды в точках впрыска на пластине поля.
Другие варианты выполнения находятся в пределах прилагаемой формулы изобретения.
Формула изобретения
1. Сборка топливного элемента, содержащая
пластину поля потока текучей среды, на поверхности которой сформировано множество каналов, проходящих по поверхности пластины в виде определенной структуры;
фольгу распределения, на поверхности которой сформировано множество каналов, проходящих от первой кромки фольги распределения до второй кромки фольги распределения, причем эти каналы заканчиваются на второй кромке, в местоположениях, по существу, совпадающих с соответствующими местоположениями каналов пластины поля; и
покрывающую фольгу, расположенную поверх фольги распределения, так, что она покрывает каналы фольги распределения и, таким образом, формирует каналы для воды между двумя слоями фольги.
2. Сборка топливного элемента по п.1, в которой фольга распределения включает
первую последовательность каналов, продолжающуюся до первой кромки фольги;
матрицу каналов, сообщающихся с первой последовательностью каналов,
формирующую галерею распределения давления; и
вторую последовательность каналов, сообщающихся с матрицей каналов, проходящую до второй кромки фольги.
3. Сборка топливного элемента по п.1 или 2, в которой каналы фольги распределения заканчиваются на второй кромке фольги в виде множества сходящихся структур, предназначенных для фокусирования потока воды, в соответствующие каналы в пластине поля потока текучей среды.
4. Сборка топливного элемента по п.3, в которой каждая сходящаяся структура содержит выемку на второй кромке фольги распределения.
5. Сборка топливного элемента по п.4, в которой выемка содержит изогнутый вырез на второй кромке фольги распределения.
6. Сборка топливного элемента по п.1 или 2, в которой каналы фольги распределения заканчиваются на первой кромке фольги, по меньшей мере, на одном отверстии коллектора подачи в пластине поля потока текучей среды.
7. Сборка топливного элемента по п.1, в которой фольга распределения сформирована из нержавеющей стали.
8. Сборка топливного элемента по п.1 или 7, в которой каналы фольги распределения выполнены путем химического травления.
9. Сборка топливного элемента по п.1 или 2, в которой каналы фольги распределения заканчиваются в первом местоположении, расположенном у, по меньшей мере, одного отверстия коллектора подачи в пластине поля потока текучей среды.
10. Сборка топливного элемента по п.1, дополнительно включающая последовательность пластин поля потока текучей среды, действующих в качестве катодов и/или анодов, сформированных в виде набора с соответствующей сборкой мембрана-электрод, которая расположена рядом с ними.
11. Сборка топливного элемента по п.10, в которой каждая катодная пластина поля потока текучей среды содержит, соответственно, один из указанных слоев фольги распределения и указанных слоев покрывающей фольги, расположенных между пластиной и соседним узлом мембрана-электрод.
12. Сборка топливного элемента, содержащая
пластину поля потока текучей среды, на поверхности которой сформировано множество каналов, проходящих по поверхности пластины в виде определенной структуры;
фольгу распределения, на поверхности которой сформировано множество каналов, причем каждый из каналов продолжается от первых местоположений, расположенных рядом с или на первой кромке фольги распределения, до вторых местоположений, расположенных рядом с или на второй кромке фольги распределения, причем каналы заканчиваются во вторых местоположениях, по существу, совпадающих с соответствующими местоположениями каналов расположенных ниже пластины; и
покрывающую фольгу, которая имеет такие же размеры, что и существенная часть фольги распределения, которая покрывает каналы фольги распределения поверх, по меньшей мере, части их длины между первым и вторым местоположениями и, таким образом, формирует каналы для воды между двумя слоями фольги.
13. Сборка топливного элемента по п.12, в которой фольга распределения включает
первую последовательность каналов, продолжающуюся до первых местоположений, расположенных рядом с или на первой кромке фольги распределения;
матрицу каналов, сообщающихся с первой последовательностью каналов, формирующую галерею распределения давления; и
вторую последовательность каналов, сообщающуюся с матрицей каналов;
продолжающуюся до вторых местоположений, расположенных рядом с или на второй кромке фольги распределения.
14. Сборка топливного элемента по п.12 или 13, в которой каналы фольги распределения заканчиваются во вторых местоположениях, в виде множества сходящихся структур, предназначенных для фокусирования потока воды в соответствующий канал пластины поля потока текучей среды.
15. Сборка топливного элемента по п.12, дополнительно включающая последовательность пластин поля потока текучей среды, действующих в качестве катодов и/или анодов, сформированных в виде набора с соответствующей сборкой мембрана-электрод, которая расположена рядом с ними.
16. Сборка топливного элемента по п.15, в которой каждая катодная пластина поля потока текучей среды содержит, соответственно, один из указанных слоев фольги распределения и указанных слоев покрывающей фольги, расположенных между пластиной и соседней сборкой мембрана-электрод.
17. Сборка топливного элемента, содержащая
пластину поля потока текучей среды, на поверхности которой сформировано множество каналов, проходящих по поверхности пластины поля в виде определенной структуры;
расположенную рядом мембраноэлектродную сборку (СМЭ), находящуюся в контакте с пластиной поля потока текучей среды в активной области СМЭ;
мембрану распределения, расположенную между пластиной поля потока текучей среды и СМЭ, причем мембрана содержит множество каналов для воды, проходящих через нее между первыми местоположениями, расположенными рядом с или на первой кромке мембраны, до вторых местоположений, расположенных рядом с или на второй кромке мембраны, причем каналы заканчиваются во вторых местоположениях, которые, по существу, совпадают с соответствующими местоположениями каналов пластины.
18. Сборка топливного элемента по п.17, в которой мембрана содержит прокладку сборки топливного элемента.
19. Сборка топливного элемента по п.18, в которой каналы сформированы в виде каналов на поверхности прокладки, расположенной рядом с пластиной поля потока текучей среды.
20. Сборка топливного элемента по п.17, в которой распределительная мембрана сформирована в виде многослойной структуры.
РИСУНКИ
|