|
(21), (22) Заявка: 2006120513/06, 13.06.2006
(24) Дата начала отсчета срока действия патента:
13.06.2006
(46) Опубликовано: 27.01.2008
(56) Список документов, цитированных в отчете о поиске:
GB 1309883 А, 14.03.1973. GB 875872 А, 23.08.1961. GB 2166806 C1, 10.05.2001. RU 2122750 C1, 27.11.1998. RU 1831961 A3, 20.05.1995.
Адрес для переписки:
142100, Московская обл., г. Подольск, ул. Железнодорожная, 24, ФГУП “НИИ НПО “Луч”
|
(72) Автор(ы):
Денискин Валентин Петрович (RU), Дмитриев Александр Мефодьевич (RU), Наливаев Владимир Иванович (RU), Федик Иван Иванович (RU)
(73) Патентообладатель(и):
Федеральное государственное унитарное предприятие Научно-исследовательский Институт Научно-производственное объединение “Луч” (RU)
|
(54) ЯДЕРНЫЙ ЭНЕРГЕТИЧЕСКИЙ РЕАКТОР НА ТЕПЛОВЫХ НЕЙТРОНАХ С ТВЕРДЫМ ТЕПЛОНОСИТЕЛЕМ
(57) Реферат:
Изобретение относится к ядерным энергетическим высокотемпературным реакторам, охлаждаемым мелкодисперсным твердым теплоносителем. Ядерный энергетический реактор на тепловых нейтронах с твердым теплоносителем содержит корпус, размещенную в нем активную зону с промежутками между тепловыделяющими элементами и их сборками для прохода теплоносителя, мелкодисперсный твердый теплоноситель из графитосодержащего материала, выполненный в виде сферических частиц, бункер для теплоносителя, расположенный над активной зоной, вторичные теплообменники с трубными пучками, устройство перемещения теплоносителя по замкнутому контуру: бункер – активная зона – вторичный теплообменник, устройства для регулирования скорости прохождения теплоносителя через активную зону. Теплообменники расположены в общем с активной зоной корпусе ниже нее. Твердый теплоноситель проходит по наружной стороне трубных пучков, а вторичный теплоноситель – внутри трубных пучков с выходом трубопроводов коллекторов вторичного теплоносителя из пространства корпуса реактора через стенку корпуса реактора. Ниже активной зоны перед теплообменниками реактор имеет многодырчатый шибер с калиброванными отверстиями с характерными линейными размерами не ниже 20dcp, где dcp – средний диаметр теплонесущей частицы. Суммарная площадь отверстий в диафрагме составляет 0,98-0,80 от площади проходного сечения под теплоноситель в активной зоне. 2 з.п. ф-лы, 1 ил. 
1. Область техники, к которой относится изобретение
Изобретение относится к области ядерной энергетики, в частности к ядерным энергетическим высокотемпературным реакторам, охлаждаемым мелкодисперсным твердым теплоносителем из графитсодержащего материала.
2. Уровень техники
Известен ядерный энергетический реактор на тепловых нейтронах с твердым теплоносителем, содержащий корпус, размещенный в нем вращающийся бункер, имеющий в основании отверстие, снабженное автоматическим клапаном, жестко скрепленные с корпусом активную зону и вторичный теплообменник, установленные в бункере, и заполняющий бункер мелкодисперсный теплоноситель (см. Henglein F.A. Jmprovements in or relating to Atomic Power Plant. Патент Великобритании №875.872. Заявл. 19.09.1958. Опубл. 23.08.61).
Этот реактор имеет следующие недостатки:
– интенсивное истирание частиц твердого теплоносителя при вращении бункера приводит к изменению рабочих характеристик реактора;
– абразивные повреждения корпуса и активной зоны;
– сложность аварийного заглушения ввиду отсутствия свободного пространства для ввода поглотителя нейтронов – регулирование по описанию патента предполагается путем поднятия или опускания твэлов, что затруднительно, поскольку засыпка теплоносителя не имеет соответствующих пустот;
– выход нагретого теплоносителя из корпуса реактора предусмотрен через одно отверстие ниже активной зоны, для чего предусмотрено конусное сужение корпуса и автоматический клапан регулирования. Отказ клапана и/или загромождение единственного прохода для теплоносителя означает тяжелую аварию.
С заявляемым техническим решением этот реактор совпадает по следующим существенным признакам:
– корпус,
– размещенный в корпусе бункер,
– размещенная в корпусе активная зона,
– размещенный в корпусе вторичный теплообменник,
– заполняющий бункер мелкодисперсный твердый теплоноситель из графитсодержащего материала.
Известен также ядерный энергетический реактор, содержащий корпус, размещенную в нем активную зону с промежутками между тепловыделяющими элементами (сборками твэлов) для прохода теплоносителя, мелкодисперсный твердый теплоноситель из графитсодержащего материала, бункер для теплоносителя, расположенный над активной зоной, вторичный теплообменник, устройство перемещения теплоносителя по замкнутому контуру: бункер – активная зона – вторичный теплообменник – бункер, клапаны для регулирования скорости прохождения теплоносителя через активную зону (Rigg S., Greenlees F.M. Nuclear reactors. Патент Великобритании №1.309.883. Заявл. 18.02.1971. Опубл. 14.03.1973).
Этот реактор имеет следующие недостатки:
– теплоноситель состоит из частиц различных размеров и формы, что приводит к ухудшению теплосъема вследствие образования комков;
– износ частиц теплоносителя увеличивает содержание мелкой фракции, которая вследствие адгезии склонна к слипанию, что может привести к закупорке проходов и останову потока теплоносителя;
– не предусмотрены устройства регулирования и заглушения реактора;
– единственный нижний клапан регулирования скорости теплоносителя, имея движущиеся части, может быть заклинен мелкой фракцией теплоносителя и будет неспособен выполнять в этом случае свои функции, что означает тяжелую аварию.
Этот реактор с предлагаемым устройством совпадает по следующим существенным признакам:
– корпус,
– размещенный в корпусе бункер,
– размещенная в корпусе активная зона с промежутками между тепловыделяющими элементами или сборками для прохода теплоносителя,
– размещенный в корпусе вторичный теплообменник,
– мелкодисперсный твердый теплоноситель из графитсодержащего материала,
– устройство перемещения теплоносителя по замкнутому контуру: бункер – активная зона – вторичный теплообменник – бункер,
– устройства для регулирования скорости прохождения теплоносителя через активную зону.
Известен также ядерный энергетический реактор, содержащий корпус, размещенную в нем активную зону с промежутками между тепловыделяющими элементами или сборками для прохода теплоносителя, мелкодисперсный твердый теплоноситель из графитсодержащего материала, бункер для теплоносителя, расположенный над активной зоной, вторичный теплообменник, устройство перемещения теплоносителя по замкнутому контуру: бункер – активная зона – вторичный теплообменник – бункер, клапаны для регулирования (верхний и нижний) скорости прохождения теплоносителя через активную зону (см. Ядерный энергетический реактор, Патент RU 2166806, дата подачи 09.02.2000, опубл. 10.05.2001).
Данный реактор снабжен устройствами для отделения и удаления частиц теплоносителя с размерами меньше допустимого по мере их износа и компенсации свежим теплоносителем, засыпка выполнена в виде частиц сферической формы, определены требования на допустимую степень несферичности, определены допустимые (оптимальные) размеры частиц, предусмотрено покрытие частиц пироуглеродом, предусмотрена интенсивная турбулизация теплонесущих частиц при работе реактора с помощью специальных турбулизаторов.
В конструкции реактора предусмотрены места для постановки поглощающих стержней управления и защиты реактора.
Конструкция этого реактора обладает следующими недостатками.
Поскольку корпус реактора имеет в нижней части конусообразное сужение на единственный регулирующий клапан, то в случае непредусмотренных деформаций активной зоны или разрушения ее элементов движение теплоносителя через единственное отверстие будет перекрыто или сильно затруднено, что означает перегрев твэлов и аварийный режим с тяжелыми последствиями, поскольку неподвижный твердый теплоноситель не обладает способностью переносить тепло конвекцией.
Запас теплоносителя в верхнем бункере не может быть использован для аварийного расхолаживания не только в случае закупорки отверстия нижнего регулирующего клапана элементами активной зоны при ее частичном разрушении или неисправности клапана, но также потому, что отказ подъемников при нарушении электроснабжения приведет к остановке теплоносителя в активной зоне ввиду отсутствия свободных объемов в контуре теплоносителя.
Верхний бункер также имеет единственный регулирующий клапан.
С предлагаемым реактором последняя конструкция совпадает по следующим существенным признакам:
– корпус,
– размещенный в корпусе бункер,
– размещенная в корпусе активная зона с промежутками между тепловыделяющими элементами или сборками для прохода теплоносителя,
– размещенный в корпусе вторичный теплообменник с трубными пучками,
– мелкодисперсный твердый теплоноситель из графитсодержащего материала,
– устройство перемещения теплоносителя по замкнутому контуру: бункер – активная зона – вторичный теплообменник – бункер,
– устройства для регулирования скорости прохождения теплоносителя через активную зону,
– теплоноситель выполнен в виде покрытых пироуглеродом частиц сферической формы оптимальных размеров и определенной степени несферичности.
По совокупности существенных признаков последний ядерный реактор наиболее близок к заявляемому и выбран в качестве прототипа.
3. Сущность изобретения
Современные требования к безопасности ядерных реакторов требуют рассмотрения аварий с потерей теплоносителя, зависанием стержней аварийной защиты, отказом в энергообеспечении жизненно важных систем реактора. Задачей предлагаемого изобретения является повышение безопасности ядерного реактора путем самопроизвольного его заглушения и улучшения теплоотвода при аварийных режимах при тяжелых исходных событиях: отказе энергоснабжения, зависании аварийных стержней, потере теплоносителя, не предусмотренных проектом реактора деформаций или разрушений элементов активной зоны, отказе регулирующих клапанов.
Решение поставленной задачи в предлагаемом изобретении достигается благодаря тому, что в известном ядерном энергетическом реакторе (прототипе):
– теплообменники расположены в общем с активной зоной корпусе ниже ее, причем твердый теплоноситель проходит по наружной стороне трубных пучков, а вторичный теплоноситель (газ, вода, органика) – внутри трубных пучков с выходом трубопроводов коллекторов вторичного теплоносителя из пространства корпуса реактора через стенку его корпуса;
– ниже активной зоны (вместо конусообразного сужения с выходом на единственный регулирующий клапан) перед теплообменниками установлен многодырчатый шибер, снабженный калиброванными отверстиями с характерными размерами от 20dср, где dср – средний диаметр теплонесущей частицы, причем суммарная площадь отверстий шибера составляет 0,98÷0,80 от площади проходного сечения под теплоноситель в активной зоне;
– ниже теплообменников расположены дополнительные сборники теплоносителя – нижние бункеры, выполненные в виде емкостей с наклоном стенок в сторону приямков устройств перемещения теплоносителя таким образом, что угол наклона стенок приямков везде больше, чем угол естественного откоса твердого теплоносителя к горизонту, а объем сборников Vсб Vтепл.бунк+Vтепл.а.з, где Vсб – суммарный объем сборников теплоносителя, Vтепл.бунк – объем теплоносителя в верхнем бункере под активной зоной, Vтепл.а.з – объем теплоносителя в пространстве активной зоны.
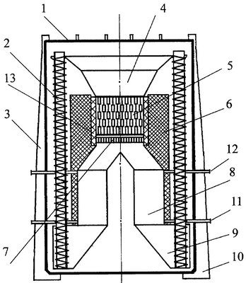
4. Перечень чертежей.
На чертеже показана конструкция ядерного энергетического реактора.
1 – корпус
2 – устройство перемещения теплоносителя
3 – ребра жесткости
4 – питающий бункер
5 – активная зона
6 – биологическая защита
7 – многодырчатый шибер
8 – теплообменники
9 – нижние бункеры
11, 12 – трубопроводы коллекторов вторичного теплоносителя
13 – боковой отражатель нейтронов
5. Сведения, подтверждающие возможность осуществления изобретения
Предлагаемый ядерный энергетический реактор содержит корпус 1 с ребрами жесткости 3, активную зону 5, состоящую из тепловыделяющих элементов, собранных в тепловыделяющие сборки.
Активная зона 5 размещается в корпусе 1 и окружена боковым отражателем нейтронов 13 и боковой биологической защитой 6. Корпус размещен на опорной металлоконструкции 10, связанной с фундаментом.
Пространство между твэлами в рабочем режиме заполнено теплонесущими частицами.
Выше активной зоны расположен питающий бункер 4, заполненный теплонесущими частицами.
Верхний бункер 4, активная зона 5, теплообменники 8, нижние бункеры 9 и устройства перемещения (подъемники) теплоносителя 2 расположены в едином корпусе 1 реактора. Между нижним уровнем активной зоны и верхним уровнем теплообменников расположен многодырчатый шибер 7, имеющий калиброванные отверстия для обеспечения требуемого расхода и его распределения по площади активной зоны. Ниже теплообменников 8 расположены нижние бункеры 9 под теплоноситель, причем днища бункеров имеют скосы для самопроизвольного скатывания теплонесущих частиц в приямки устройства перемещения теплоносителя.
Весь объем корпуса реактора 1, в котором расположены верхний бункер 4, активная зона 5, теплоноситель, вторичные теплообменники 8, нижние бункеры 9, устройства перемещения теплоносителя 2, боковая биологическая защита 6 и все остальные конструкции, заполнены гелием при давлении в рабочем режиме около 0,09 МПа.
Для упрощения схемы некоторые элементы реактора, которые являются необходимыми, но не существенными для данного изобретения, в частности система вторичного теплообмена, аварийные теплообменники, система контроля размеров теплонесущих частиц, система управления и защиты, только обозначены или совсем не показаны.
Причинно-следственная связь между существенными признаками и достигаемым техническим результатом заключается в следующем.
Поскольку для заявляемого реактора теплоноситель на основе графита является основным замедлителем, то при его уходе из активной зоны реактор становится глубоко подкритичным. Глубина подкритичности зависит от степени обогащения, относительного содержания уран-графит, состава твэлов и их характеристик (микротопливо или таблетки, диаметр топливных элементов), однако в любом случае подкритичность (эффективный коэффициент размножения) находится на уровне 0,30÷0,05 (Кэфф=0,70÷0,95) в холодном состоянии. В горячем реакторе подкритичность при уходе теплоносителя еще выше.
Расположение верхних бункеров теплообменников и нижних бункеров в одном корпусе с активной зоной позволяет осуществить подачу теплоносителя в пространства активной зоны и теплообменников за счет силы тяжести, отказаться от регулирования скорости теплоносителя активными верхним и нижним регулирующими клапанами, осуществить регулирование путем расположения ниже активной зоны многодырчатого шибера с калиброванными отверстиями, без использования подвижных запорных и регулирующих устройств. Баланс теплоносителя поддерживается скоростью перемещения теплоносителя в верхний бункер по уровню теплоносителя в верхнем бункере.
Наличие в контуре твердого теплоносителя специальных сборников большого объема обеспечивает при потере энергоснабжения и остановке подъемников уход теплоносителя из верхнего бункера и активной зоны в нижние бункеры.
При уходе теплоносителя из верхнего бункера реактор теряет верхний отражатель и быстро становится подкритичным. Уходящий теплоноситель продолжает расхолаживать реактор. После ухода теплоносителя из пространства активной зоны расхолаживание осуществляется за счет естественной и принудительной циркуляции гелия, заполняющего пространство контура реактора при давлении около 0,1 МПа.
Наличие в нижней части корпуса многодырчатого шибера с калиброванными отверстиями с характерными размерами более 20dср, где dср – средний диаметр теплонесущей частицы, позволяет выпустить теплоноситель даже в случае частичных повреждений активной зоны и перекрытия одного или небольшого числа выпускных отверстий. Выдерживание суммарной площади выходных отверстий в диапазоне 0,98÷0,80 от проходного сечения под теплоноситель в активной зоне позволяет иметь безразрывное течение теплоносителя в активной зоне и высокую степень равномерности теплосъема.
Конструкция дополнительных сборников теплоносителя (нижних бункеров) выполнена таким образом, что в случае запуска подъемников теплоноситель из бункеров попадает за счет естественного пересыпания по склону стенок в приямки подъемников. Отверстия калибруются для осуществления профилирования скорости теплоносителя по радиусу активной зоны. Предусматривается возможность замены регулирующих вставок в отверстиях многодырчатого шибера.
Устройство перемещения теплоносителя в предполагаемой конструкции реактора упрощается до системы подъемников теплоносителя из приямков нижних бункеров до уровня верхнего питающего бункера.
Приведем пример конкретного выполнения.
Применительно к рассматриваемому прототипу особенности предлагаемого решения могут быть реализованы в следующем виде.
При диаметре активной зоны в 7 метров и общей площади активной зоны 37 м2 доля проходных сечений для теплоносителя в активной зоне 38%, что означает объем вместе с пространством от нижней части твэлов до калиброванных отверстий в шибере 120 м3.
Запас теплоносителя в верхнем бункере при высоте засыпки в режиме стационарной работы 6 м – около 300 м3. Таким образом должны быть предусмотрены ниже теплообменников сборники под теплоноситель общим объемом 420-440 м3. В случае, если теплообменник разделен на 4 параллельные секции, удобно иметь под каждой секцией сборник объемом 110 м3. Сборник выполняется в виде шахты 5×5 метров в полной высоте 6 метров с днищем, скошенным под углом 45° в сторону приямков подъемников. Полная высота корпуса реактора 45 метров, диаметр около 30 метров.
Реактор работает следующим образом.
В режиме стационарной работы реактора уровень теплоносителя поддерживается в верхнем бункере на уровне 5,5÷6 метров регулировкой скорости забора теплоносителя из приямков подъемников, при этом нижние бункеры практически пусты и играют роль транзитных каналов, по которым теплоноситель после прохождения вторичных теплообменников попадает в приямки подъемников.
После заглушения реактора для планового останова на перегрузку основная система охлаждения остается в работе в течение 3-4 часов, в течение которых мощность снижается до уровня 0,5%, после чего подъемники теплоносителя останавливаются и теплоноситель перетекает в нижние бункеры.
При опустошении активной зоны эффективный коэффициент размножения снижается до глубокой подкритики. Включаются вентиляторы циркуляции гелия для последующего расхолаживания остановленного реактора.
Перестановка тепловыделяющих сборок выполняется в среде гелия без основного теплоносителя в пространстве активной зоны.
После завершения перегрузки реактора при опущенных стержнях системы управления и защиты (СУЗ) производится включение подъемников твердого теплоносителя и заполнение активной зоны и верхнего бункера. Подъемники теплоносителя должны иметь резерв по мощности подъема в 1,5-2 раза по отношению к режиму стационарной работы. При резерве мощности на подъем в 1,5 раза процесс заполнения активной зоны и верхнего бункера до рабочей отметки в 6 метров займет около 400 секунд, после чего расход на подъем уменьшается до стационарного. При стационарной работе подъемников уровень теплоносителя в верхнем бункере удерживается на уровне 5,5÷6 метров, и последовательным извлечением стержней СУЗ начинают подъем мощности реактора на проектный уровень.
Скорость теплоносителя в активной зоне принята по доказанному в эксперименте значению в 20 см/с, температуры на входе в активную зону и на выходе приняты в 500°С и 900°С, максимальные температуры микротвэлов в рабочем режиме 1100°С.
Тепловая мощность реактора 2000 МВт, при к.п.д. 47% электрическая мощность брутто 950 мВт, стационарный расход теплоносителя около 2,7 т/с. Изменением скорости работы подъемников теплоносителя из приямков в верхний бункер и их числа в включенном состоянии система должна иметь возможность доводить скорость подъема теплоносителя до 4,5-5 т/с.
Многодырчатый шибер выполнен в виде жесткого каркаса из жаропрочной стали, облицованной графитом с квадратными скругленными в углах отверстиями с шагом отверстий 10 см и стороной квадрата проходных сечений от 6 до 4 см с возможностью замены вставок для регулировки проходного сечения в диапазоне ±1 см.
Таким образом, на каждый квадратный метр шибера приходится в среднем 100 отверстий и их общее число составляет приблизительно 3700.
Отверстия профилируются для обеспечения необходимого расхода теплоносителя по кривой радиального энергораспределения в реакторе для того, чтобы температура теплоносителя в периферийных зонах с более низкой мощностью на выходе была приблизительно одинакова с центральной частью.
Предлагаемой конструкции ядерного реактора с твердым теплоносителем присущи все преимущества реакторов с твердым мелкодисперсным теплоносителем: низкое (немногим ниже атмосферного) давление заполняющего корпус газа (гелия), малая металлоемкость за счет отсутствия давления и экстенсивности всех технологических процессов, высокие температуры, а значит, высокий термический к.п.д., возможность использования тепла реактора для производства водорода. За счет своих отличий предлагаемый ядерный энергетический реактор обеспечивает повышенную безопасность при возможных исходных аварийных событиях, таких как заклинивание стержней СУЗ и их недоход в активную зону, потеря электропитания, отказ подъемников теплоносителя, непроектные деформации активной зоны. Предлагаемая конструкция разрешает проблему плановой перестановки ТВС в процессе перегрузочных работ на реакторе, которая выполняется в среде гелия.
Формула изобретения
1. Ядерный энергетический реактор на тепловых нейтронах с твердым теплоносителем, содержащий корпус, размещенную в нем активную зону с промежутками между тепловыделяющими элементами и их сборками для прохода теплоносителя, мелкодисперсный твердый теплоноситель из графитосодержащего материала, выполненный в виде сферических частиц, бункер для теплоносителя, расположенный над активной зоной, вторичные теплообменники с трубными пучками, устройство перемещения теплоносителя по замкнутому контуру: бункер – активная зона – вторичный теплообменник, устройства для регулирования скорости прохождения теплоносителя через активную зону, отличающийся тем, что теплообменники расположены в общем с активной зоной корпусе ниже нее, твердый теплоноситель проходит по наружной стороне трубных пучков, а вторичный теплоноситель – внутри трубных пучков с выходом трубопроводов коллекторов вторичного теплоносителя из пространства корпуса реактора через стенку корпуса реактора.
2. Реактор по п.1, отличающийся тем, что имеет ниже активной зоны перед теплообменниками многодырчатый шибер с калиброванными отверстиями с характерными линейными размерами не ниже 20dcp, где dcp – средний диаметр теплонесущей частицы, причем суммарная площадь отверстий в диафрагме составляет 0,98÷0,80 от площади проходного сечения под теплоноситель в активной зоне.
3. Реактор по п.1 или 2, отличающийся тем, что под вторичными теплообменниками расположены дополнительные сборники теплоносителя – нижние бункеры, выполненные в виде емкостей с вертикальными стенками с наклоном днищ в сторону приямков устройства перемещения теплоносителя таким образом, что угол наклона днищ приямков везде больше, чем угол естественного откоса твердого теплоносителя к горизонту, а объем дополнительных сборников Vсб. Vтепл.бунк.+Vтепл.а-з., где Vсб. – суммарный объем сборников теплоносителя, Vтепл.бунк. – объем теплоносителя в верхнем бункере под активной зоной, Vтепл.а.з. – объем теплоносителя в пространстве активной зоны.
РИСУНКИ
|