|
|
(21), (22) Заявка: 2005122255/09, 13.07.2005
(24) Дата начала отсчета срока действия патента:
13.07.2005
(30) Конвенционный приоритет:
14.07.2004 DE 102004034251.2
(46) Опубликовано: 27.01.2008
(56) Список документов, цитированных в отчете о поиске:
SU 1417087 A1, 15.08.1988. RU 2079149 C1, 10.05.1997. SU 1587606 A1, 23.08.1990. RU 2184410 C1, 27.06.2002. JP 3167907 A, 19.07.1991. US 2002115776 A, 22.08.2002. US 2003179148 A, 25.09.2003.
Адрес для переписки:
129010, Москва, ул. Б. Спасская, 25, стр.3, ООО “Юридическая фирма Городисский и Партнеры”, пат.пов. Ю.Д.Кузнецову, рег.№ 595
|
(72) Автор(ы):
ФЕРЕНБАХ Йозеф (DE), МОТЦЕР Юрген (DE), ДИТМАЙЕР Юрген (DE), КИНЦЛЕ Клаус (DE), ФАЛЬК Йоханнес (DE)
(73) Патентообладатель(и):
ФЕГА ГРИСХАБЕР КГ (DE)
|
(54) УСТРОЙСТВО ИЗМЕРЕНИЯ УРОВНЯ ЗАПОЛНЕНИЯ ЕМКОСТИ СРЕДОЙ
(57) Реферат:
Изобретение относится к устройству измерения степени заполнения емкости средой с волноводом для передачи электромагнитной волны. Полый волновод имеет передний торцевой участок, на котором смонтирована антенна с волновым согласующим элементом из диэлектрического материала. Волновой согласующий элемент имеет внешний периметр, которым он частично входит в раскрыв концевого участка волновода и частично выступает из этого концевого участка. Размеры волнового согласующего элемента выбраны для обеспечения согласования волнового перехода волны из концевого участка волновода наружу или внутрь него, и с металлическим материалом перехода в области между волновым согласующим элементом и волноводом. Материал перехода в виде металлизации продолжается по большей области, чем непосредственная область контакта между внешним периметром волнового согласующего элемента и волноводом. Техническим результатом является создание устройства измерения, в котором мешающее воздействие воздушного зазора между волновым согласующим элементом и волноводом снижено или устранено. 2 н. и 10 з.п. ф-лы, 3 ил.
Изобретение относится к устройству измерения уровня заполнения с волноводом и волновым согласующим элементом согласно признакам ограничительной части пункта 1 формулы изобретения и к волновому согласующему элементу для такого устройства измерения уровня заполнения.
Для измерения уровней заполнения в емкостях известны устройства измерения уровня заполнения, которые вырабатывают микроволновый или радиолокационный сигнал и излучают его в направлении поверхности среды в такой емкости. Волна, отраженная от поверхности, принимается устройством измерения уровня заполнения, причем измеряется время распространения сигнала между излучением и приемом волны. Из времени распространения сигнала может быть определено расстояние от устройства измерения уровня заполнения до поверхности среды и тем самым уровень заполнения в емкости.
Типовое устройство измерения уровня заполнения состоит из волновода для направления электромагнитной волны, причем волновод сформирован как полый волновод и имеет концевой участок, от которого волна излучается с помощью антенны. Переход между волноводом и свободным пространством или антенной согласуется с помощью волнового согласующего элемента или волнового адаптера, который имеет подходящий внешний периметр и который состоит из диэлектрического материала, причем волновой согласующий элемент частично входит в концевой участок волновода и частично выступает из него, чтобы обеспечить согласование волнового перехода из концевого участка волновода наружу или извне внутрь волновода. Кроме того, известно, что волновой согласующий элемент закрепляется в волноводе или на нем посредством кольца для пайки, причем место пайки на коническом волновом согласующем элементе предварительно металлизировано, чтобы припаять кольцо для пайки к волновому согласующему элементу. В частности, такие кольца для пайки из металла в соединении с графитовыми уплотнительными кольцами служат главным образом для герметизации по отношению к процессу во внутреннем пространстве емкости, а также для восприятия давления для компенсации расширения металлических элементов при высоких разностях температур между компонентами устройства измерения уровня заполнения и внутренним пространством емкости.
Для закрепления волнового согласующего элемента обычно применяется металлический зажимной или нажимной винт, чтобы волновой согласующий элемент закрепить в корпусе или на волноводе. За счет всегда имеющихся допусков между внешним периметром волнового согласующего элемента и внутренним периметром корпуса или волновода обычно возникает воздушный зазор. Поэтому волны, распространяющиеся в волноводе к волновому согласующему элементу, входят в волновой согласующий элемент не только в местах контакта с непосредственным контактом между волновым согласующим элементом и волноводом или корпусом, но и дополнительно через воздушный зазор, так что имеет место двойной волновой переход. Это приводит к появлению помеховых сигнальных составляющих.
Задача изобретения состоит в том, чтобы предложить устройство измерения, в котором мешающее воздействие воздушного зазора между волновым согласующим элементом и волноводом снижено или устранено.
Эта задача решается посредством устройства измерения уровня заполнения с признаками, изложенными в пункте 1 формулы изобретения, и соответственно волновым согласующим элементом с признаками пункта 12.
В соответствии с этим предпочтительным является устройство измерения степени заполнения с волноводом для передачи электромагнитной волны, причем волновод выполнен как полый волновод и имеет передний концевой участок с волновым согласующим элементом из диэлектрического материала, причем волновой согласующий элемент имеет внешний периметр, которым он частично входит в раскрыв концевого участка волновода и частично выступает из этого концевого участка, и при этом размеры волнового согласующего элемента выбраны для обеспечения согласования волнового перехода волны из концевого участка волновода наружу или внутрь него, и с металлическим материалом перехода в области между волновым согласующим элементом и волноводом, причем материал перехода в виде металлизации продолжается по большей области, чем непосредственная область контакта между внешним периметром волнового согласующего элемента и волноводом.
Самостоятельное значение имеет волновой согласующий элемент, в частности для подобных устройств измерения уровня заполнения, из диэлектрического материала для согласования волны в переходной области между волноводом и граничащим пространством и/или граничащим телом, причем отличительным признаком является металлизация, выходящая за пределы области непосредственного контактного участка с волноводом.
Предпочтительные варианты осуществления являются предметом зависимых пунктов формулы изобретения.
Особенно предпочтительным является устройство измерения уровня заполнения, в котором металлизация продолжается по внешнему периметру волнового согласующего элемента на некоторый участок внутрь в область волновода.
Особенно предпочтительным является устройство измерения уровня заполнения, в котором металлизация продолжается по внешнему периметру волнового согласующего элемента до концевого участка волнового согласующего элемента, свободного от металлизации, внутрь волновода.
Особенно предпочтительным является устройство измерения уровня заполнения, в котором волновой согласующий элемент в направлении внутрь волновода имеет коническую форму.
Особенно предпочтительным является устройство измерения уровня заполнения, в котором участок волнового согласующего элемента, выступающий из концевого участка волновода, выступает в антенну, в частности в рупорную антенну.
Особенно предпочтительным является устройство измерения уровня заполнения, в котором металлизация в направлении распространения волны продолжается по волновому согласующему элементу настолько, что электромагнитная волна из волновода или из волнового согласующего элемента не может проникнуть в зазор между волновым согласующим элементом и волноводом в области контакта или в смежной с ней области.
Особенно предпочтительным является устройство измерения уровня заполнения, в котором в области контакта размещено обладающее электромагнитной проводимостью контактное кольцо между металлизированным волновым согласующим элементом и волноводом, причем контактное кольцо, в частности, припаяно к металлизации.
Особенно предпочтительным является устройство измерения уровня заполнения, в котором в концевой области металлизации размещено обладающее электромагнитной проводимостью контактное кольцо между металлизированным волновым согласующим элементом и волноводом.
Особенно предпочтительным является устройство измерения уровня заполнения, в котором контактное кольцо выполнено из материала с содержанием металла или графита.
Особенно предпочтительным является устройство измерения уровня заполнения, в котором волновой согласующий элемент в области под контактным кольцом имеет цилиндрическую внешнюю поверхность.
Особенно предпочтительным является устройство измерения уровня заполнения, в котором волновод выполнен из полого волновода и прикрепленного спереди к нему корпуса для подключения антенны и/или для закрепления конструкции в отверстии стенки емкости, причем волновой согласующий элемент выступает с обеих сторон, по меньшей мере, частично из области корпуса.
Пример выполнения описан ниже со ссылками на чертежи, на которых показано следующее:
Фиг.1 – вид в сечении устройства измерения уровня заполнения согласно предпочтительному варианту осуществления изобретения;
Фиг.2 – увеличенный вид волнового согласующего элемента по фиг.1; и
Фиг.3 – альтернативная форма выполнения подобного волнового согласующего элемента.
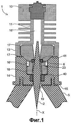
На фиг.1 схематично показаны компоненты приведенного для примера устройства измерения уровня заполнения. Устройство измерения уровня заполнения содержит волновод 1 для направления электромагнитной волны и волновой согласующий элемент 2, который с передней стороны вставлен в волновод 1 для согласования перехода волны из волновода в смежное тело или пространство.
Волновод 1 выполнен, в частности, как полый волновод 11 с раскрывом 16, проходящим через него по центру в осевом направлении. Раскрыв 16 согласно предпочтительному варианту выполнения не заполнен сплошной средой, однако в принципе это также возможно. С задней стороны волновод 1 содержит полость для размещения обычных компонентов, в частности электронных компонентов 10 для генерации электромагнитной волны. Электромагнитная волна ответвляется в полый волновод 11 и передается по нему в направлении вперед. Кроме того, с помощью электронных компонентов 10 поступившие в полый волновод 11 электромагнитные волны принимаются и обрабатываются, чтобы в итоге из разности времени распространения между посланной и принятой волной сделать вывод об уровне заполнения в емкости, в которой используется устройство измерения уровня заполнения. В случае волн речь идет, в частности, о микроволновом излучении и радиолокационном излучении.
Волновод 1 содержит с передней стороны концевой участок 14 с торцевой стороной 15, причем осевой раскрыв 16 проходит от секции электронных компонентов 10 до передней торцевой стороны 15. В показанном примере выполнения передний участок 12 волновода 1 состоит из двух компонентов 13, 14, которые образуют некоторого рода корпус для различных размещаемых в нем других компонентов. Различные компоненты 12-18 выполнены и размещены известным образом и являются взаимозаменяемыми с другими подобными эквивалентными компонентами.
Передний концевой участок 12 с компонентами 13, 14 имеет расширенный раскрыв 16′, в который вставлен волновой согласующий элемент 2. Волновой согласующий элемент 2 выполнен из диэлектрического, в частности, керамического материала и служит для согласования волнового перехода поступающих из волновода 11 электромагнитных волн в концевой участок 12-15, расширенный по диаметру и толщине стенок, и в антенну 5, которая смонтирована на передней торцевой стороне 15. Антенна 5 выполнена, например, как рупорная антенна или параболическая антенна. Альтернативно на передней торцевой стороне 15 может быть закреплен другой волновод с физическим размерами, отличающимися в связи с распространением в нем волны от размеров первого волновода, так что требуется согласование волнового перехода.
На фиг.2 и в виде альтернативного варианта на фиг.3 показано увеличенное изображение волнового согласующего элемента 2, имеющего средний участок 20 по существу цилиндрической формы. В заднем и переднем направлении цилиндрический участок 20 переходит в соответствующий конический задний и передний участок 22, 21. В зависимости от согласуемого волнового перехода известны и другие формы выполнения волновых согласующих элементов или волновых адаптеров.
Для крепления волнового согласующего элемента 2 на переднем концевом участке 14, 15 волновода 1 волновой согласующий элемент 2 своим задним концевым участком 22 вставлен в раскрыв 16 заднего концевого участка переднего конца волновода 1. Затем передний из концевых участков 14 насаживается через передний концевой участок 21 волнового согласующего элемента 2 и закрепляется на заднем из концевых участков 13, в частности, привинчивается. За счет того что переднее проходное отверстие в переднем из концевых участков 14 имеет меньший диаметр, чем цилиндрический участок 20 волнового согласующего элемента 2, волновой согласующий элемент 2 удерживается в корпусе 12, который образован передними концевыми участками 14, 15, и зажимается в раскрыве 16 волновода 1, причем раскрыв 16 имеет несколько меньший диаметр, чем цилиндрический участок 20 волнового согласующего элемента 2. В показанной форме выполнения множество дополнительных компонентов служат для улучшенного закрепления и зажима волнового согласующего элемента 2 в волноводе 1. При этом волновой согласующий элемент 2 своим задним участком 22 проходит через два других компонента 17, 18, которые размещены в раскрыве 16′ корпуса 12 или передних концевых участков 13, 14. Раскрыв 16 продолжается при этом через эти два других компонента 17, 18 как одно отверстие. Как можно видеть из схематичного изображения на чертеже, раскрыв 16 в области между задней внутренней стенкой компонента 17 и внешней стенкой заднего конического участка 22 волнового согласующего элемента 2 находится от них на некотором расстоянии, так что между ними образуется зазор 6. Волна, направляемая с задней стороны, проходит от полого волновода 11 в задний участок 22 волнового согласующего элемента и проходит сквозь него. Кроме того, волна, проходящая из полого волновода 11 через область корпуса 12, могла бы, проходя далее через зазор 6, проникать в волновой согласующий элемент с соответственно двукратным волновым переходом. Это привело бы к известным помехам для излучаемой волны.
Для предотвращения проникновения волны с бокового направления через зазор 6 в волновой согласующий элемент 2 этот волновой согласующий элемент 2 имеет внешний металлический слой или металлизацию 23. Альтернативно в качестве металлизации может также использоваться, например, металлическая гильза с тугой посадкой. Металлизация 23 препятствует волновому переходу от волнового согласующего элемента 2 в боковом направлении через зазор 6 в компоненты 12-14, 18 волновода 1 и предотвращает тем самым двукратный волновой переход в области зазора 6. Также предотвращается волновой переход от волновода 1 через зазор 6 в волновой согласующий элемент 2.
Как особенно наглядно видно из фиг.2 и фиг.3, металлизация 23 волнового согласующего элемента 2 выполнена от его среднего участка в заднем направлении. При этом металлизация 23 в заднем направлении расширена настолько, что обеспечивается надежный контакт и хорошее шунтирование области с зазором 6 до желательной точки контакта.
Для улучшения механической и/или электромагнитной связи волнового согласующего элемента 2 в волноводе 1 или его переднем концевом участке 12-14 на волноводе 1 в области его центрального участка 20 размещено контактное кольцо 40. Это контактное кольцо 40 простым способом может припаиваться к металлизации 23. Согласно особенно предпочтительной форме выполнения другое контактное кольцо 41 закреплено соответствующим образом на волновом согласующем элементе в области заднего конца металлизации 23. Переднее из контактных колец 40 служит в качестве опоры для переднего из концевых участков 14 волновода 1. Заднее контактное кольцо 41 служит как задняя опора для зажатия волнового согласующего элемента 2 по отношению к задней накладке, которая выполнена в волноводе 1, причем задняя накладка выполнена одним из показанных компонентов 17. Контактные кольца 40, 41 могут также отсутствовать.
На фиг.3 показана форма выполнения, при которой волновой согласующий элемент 2 на своем заднем участке 22 имеет цилиндрический участок 24, который выполнен для обеспечения контакта. В частности, заднее контактное кольцо 41 может хорошо закрепляться и обеспечивать контакт на таком цилиндрическом участке 24.
За счет металлизации электромагнитные волны могут удерживаться в керамическом материале волнового согласующего элемента 2 и при его вставлении в раскрыв 16 волновода 1 не могут перейти в воздушный зазор 6. За счет этого обеспечивается улучшенное устройство измерения уровня заполнения с полым волноводом 11, в котором волна полого волновода распространяется через металлический полый волновод таким образом, чтобы через волновой согласующий элемент, в частности керамический конус в качестве волнового согласующего элемента, перейти в смежное тело или в свободное пространство спереди от устройства измерения уровня заполнения. Волновой согласующий элемент при этом металлизируется на удлиненном участке по периметру, чтобы задать волне полого волновода в этой области определенную ограничивающую геометрию. Металлизация как на цилиндрическом, так и на коническом участке образующего волновой согласующий элемент керамического конуса по его боковой поверхности должна обеспечивать то, что между керамической частью волнового согласующего элемента и металлической стенкой волновода или корпуса не образуется зазор 6, оказывающий помеховое воздействие. За счет такой структуры предотвращается или снижается помеха микроволновому сигналу при его распространении через неопределенный зазор, также обозначаемый как дроссель. За счет снижения или предотвращения волнового перехода в области зазора 6 излучение волны осуществляется без помех, и соответственно приходящая отраженная волна принимается без помех, обусловленных зазором 6, так что обеспечивается улучшенное измерение уровня заполнения. Для дальнейшего улучшения перехода от воздушного полого волновода 11 в керамический конус волнового согласующего элемента 2 или в обратном направлении в области перехода от металлического полого волновода к керамическому волноводу может быть размещено контактное кольцо, в частности контактное кольцо 41 или 40. В качестве материала для контактного кольца особенно предпочтителен графит. Заднее контактное кольцо 41 обеспечивает возможность особенно хорошего электрического контакта между металлом, в частности, нержавеющей сталью волновода 1 и металлизацией 23 на волновом согласующем элементе 2. Графитовое кольцо в качестве контактного кольца 41 может также воспринимать удлинения, обусловленные разностями температур в процессе эксплуатации. Переднее контактное кольцо состоит предпочтительно из металла, в частности нержавеющей стали, так что обеспечивается особенно простое припаивание к металлизации 23 волнового согласующего элемента. Это также обеспечивает, в частности, использование при высоких температурах и/или высоких давлениях, и/или в химически агрессивной среде с передней стороны устройства измерения уровня заполнения.
Сама по себе известная металлизация в области контакта с кольцом для пайки в соответствии с предпочтительной формой выполнения расширена за пределы этой области по боковой поверхности волнового согласующего элемента, так что за счет такой расширенной области обеспечивается получение точно определенной внешней стенки полого волновода. Это обеспечивает возможность особенно простого изготовления применяемых компонентов из металла, так как нет необходимости изготавливать металлические компоненты с очень точными допусками в конической области. Дополнительное преимущество состоит в том, что между волновым согласующим элементом, в частности, из керамики и волноводом из металла не образуется никакого вызывающего помехи зазора 6, который в качестве дросселя мог бы создавать помехи распространению микроволнового сигнала. Дополнительное преимущество состоит в том, что может быть выполнен электрический контакт между волновым согласующим элементом с металлизацией 23 и полым волноводом 11 из металла через графитовое кольцо в качестве дополнительного контактного кольца 41.
Может быть использовано множество различных вариантов выполнения. Например, волновой согласующий элемент 2 по своей форме и размерам может быть согласован с соответствующими конкретными заданными условиями. Также металлизация 23 в соответствии с конкретными окружающими условиями может продолжаться на волновом согласующем элементе 2 в большей или меньшей степени. Наряду с предпочтительной формой выполнения с передним неметаллизированным коническим участком 21 волнового согласующего элемента также возможны варианты выполнения, в которых предусматривается частичная или полная металлизация этого участка. Также задний участок 22 волнового согласующего элемента 2 в соответствии с конкретными размерами и целями применения устройства измерения уровня заполнения может быть металлизированным в большей или меньшей степени. При этом под металлизацией следует понимать не только металлический слой, непосредственно наносимый на материал, например керамику волнового согласующего элемента 2, но и самостоятельное металлическое тело, которое соответственно плотно прилегает к собственному материалу волнового согласующего элемента 2. Также в отношении поперечного сечения не требуется обязательное ограничение круговой формой поперечного сечения волновода 1 и волнового согласующего элемента 2.
Формула изобретения
1. Устройство измерения уровня заполнения емкости средой, содержащее волновод (1, 10, 18) для направления электромагнитной волны в антенну (5), которая смонтирована на его передней торцевой стороне, причем волновод выполнен как полый волновод и имеет передний концевой участок (12-15), волновой согласующий элемент (2, 20-24) из диэлектрического материала, причем волновой согласующий элемент имеет внешний периметр, которым он частично входит в раскрыв (16) концевого участка волновода (1) и частично выступает из этого концевого участка (14, 15), при этом размеры волноводного согласующего элемента выбраны для обеспечения согласования волнового перехода волны из концевого участка (14, 15) волновода (1) наружу или внутрь его, и металлический материал (23) перехода в области между волновым согласующим элементом (2) и волноводом (1), отличающееся тем, что материал (23) перехода в виде металлизации (23) продолжается по большей области, чем непосредственная область (19) контакта между внешним периметром волнового согласующего элемента (2) и волноводом (1).
2. Устройство по п.1, в котором металлизация (23) продолжается по внешнему периметру волнового согласующего элемента (2) на некоторый участок внутрь области волновода (1).
3. Устройство по п.1 или 2, в котором металлизация (23) продолжается по внешнему периметру волнового согласующего элемента (2) до свободного от металлизации концевого участка (22) волнового согласующего элемента внутрь волновода.
4. Устройство по п.1, в котором волновой согласующий элемент (2) в направлении внутрь волновода (1) имеет коническую форму.
5. Устройство по п.1, в котором участок (21) волнового согласующего элемента (2), выступающий из концевого участка (15) волновода (1), выступает в антенну, в частности, в рупорную антенну (5).
6. Устройство по п.1, в котором металлизация (23) в направлении (X) распространения волны продолжается по волновому согласующему элементу (2) настолько, что электромагнитная волна из волновода (1) или из волнового согласующего элемента (2) не может проникнуть в зазор (6) между волновым согласующим элементом (2) и волноводом (1) в контактной области (19) или в смежной с ней области.
7. Устройство по п.1, в котором в контактной области (19) размещено обладающее электромагнитной проводимостью контактное кольцо (41) между металлизированным волновым согласующим элементом (2) и волноводом (1), причем контактное кольцо (40), в частности, припаяно к металлизации (23).
8. Устройство по п.1, в котором в концевой области металлизации (23) размещено обладающее электромагнитной проводимостью контактное кольцо (41) между волновым согласующим элементом (2) и волноводом (1).
9. Устройство по п.7 или 8, в котором контактное кольцо (40, 41) выполнено из материала с содержанием металла или графита.
10. Устройство по п.7, в котором волновой согласующий элемент (2) в области под контактным кольцом (40, 41) имеет цилиндрическую боковую поверхность (24).
11. Устройство по п.1, в котором волновод (1) выполнен из полого волновода (11) и прикрепленного спереди к нему корпуса (12-14) для подключения антенны (5) и/или для закрепления конструкции в отверстии стенки емкости, причем волновой согласующий элемент (2) выступает с обеих сторон, по меньшей мере, частично из области корпуса (12-14).
12. Волновой согласующий элемент (2), в частности, для устройства измерения уровня заполнения емкости средой по п.1, из диэлектрического материала для согласования волны в переходной области между волноводом (1) и граничащим пространством и/или граничащим телом (15, 5), отличающийся тем, что имеет металлизацию, выходящую за пределы непосредственной области (19) контакта с волноводом (18, 16, 1).
РИСУНКИ
|
|