|
|
(21), (22) Заявка: 2006126800/28, 25.07.2006
(24) Дата начала отсчета срока действия патента:
25.07.2006
(46) Опубликовано: 27.01.2008
(56) Список документов, цитированных в отчете о поиске:
GB 701385, 23.12.1953. SU 327380 A1, 01.01.1972. SU 1552771 A1, 27.08.2005. SU 477652 A1, 20.08.2005.
Адрес для переписки:
121087, Москва, ул. Новозаводская, 18, ГКНПЦ им. М.В. Хруничева, отдел по работе с интеллектуальной собственностью
|
(72) Автор(ы):
Туголуков Анатолий Васильевич (RU)
(73) Патентообладатель(и):
Федеральное государственное унитарное предприятие “Государственный космический научно-производственный центр им. М.В. Хруничева” (RU)
|
(54) УСТРОЙСТВО АРРЕТИРОВАНИЯ
(57) Реферат:
Изобретение относится к фиксирующим устройствам гироскопических или оптических приборов, стопорящихся при транспортировке и дистанционно освобождающихся при эксплуатации, например, после вывода космического аппарата на орбиту. Техническим результатом изобретения является исключение дополнительных нагрузок на арретируемый объект (подвижную раму) от фиксации и обеспечение передачи динамических нагрузок на корпус объекта. В устройстве арретирования дистанционного выключения подвижной рамы, устанавливаемой на корпусе объекта, кинематическая связь выполнена в виде шарнирно установленного на корпусе объекта трехплечего рычага, одно из плеч которого соединено со штыревым фиксатором, другое выполнено взаимодействующим с регулируемым упором, а третье соединено с трехзвенным шарнирным механизмом, два звена которого образуют складывающуюся диаду, а на третьем закреплен привод в виде электрочеки, шток которой кинематически связан со звеном диады. При этом на штыревом фиксаторе установлен резьбовой ограничитель, опертый о фланец рамы. 1 з.п. ф-лы, 5 ил.
Изобретение относится к фиксирующим устройствам гироскопических или оптических приборов, стопорящихся при транспортировке и дистанционно освобождающихся при эксплуатации, например, после вывода космического аппарата на орбиту.
Известно устройство арретирования дистанционного выключения подвижной рамы, устанавливаемой на корпусе объекта, содержащее штыревой фиксатор и регулируемый упор, размещаемый на раме, и привод, соединенные кинематической связью, элементы которой размещены на корпусе объекта. (См., например, авторское свидетельство СССР №477303, МКИ G01C 19/26, 1973 г.).
Известное устройство фиксирует подвижную раму только в одном направлении, к тому же приводит к дополнительным напряжениям на раме усилиями упругой развязки.
Задачей предлагаемого изобретения является создание устройства арретирования, техническим результатом которого является исключение дополнительных нагрузок на арретируемый объект (подвижную раму) от фиксации и обеспечение передачи динамических нагрузок на корпус объекта, например космический аппарат.
Это достигается тем, что в устройстве арретирования дистанционного выключения подвижной рамы, устанавливаемой на корпусе объекта, содержащем штыревой фиксатор и регулируемый упор, размещаемый на раме, и привод, соединенные кинематической связью, элементы которой размещены на корпусе объекта, в соответствии с изобретением, кинематическая связь выполнена в виде шарнирно установленного на корпусе объекта трехплечего рычага, одно из плеч которого соединено со штыревым фиксатором, другое выполнено взаимодействующим с регулируемым упором, а третье соединено с трехзвенным шарнирным механизмом, два звена которого образуют складывающуюся диаду, а на третьем закреплен привод в виде электрочеки, шток которой кинематически связан со звеном диады. При этом на штыревом фиксаторе установлен резьбовой ограничитель, опертый во фланец рамы.
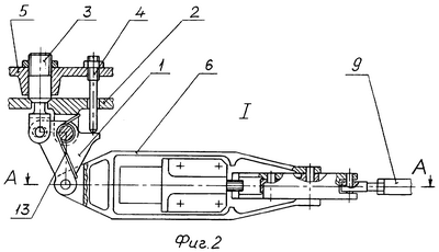
Для иллюстрации предложенного устройства представлены чертежи, на которых изображено:
на фиг.1 – общий вид приборной рамы, установленной на корпусе космического аппарата (КА), на фиг.2 – выносной элемент – устройство арретирования, на фиг.3 – сечение А-А – устройство арретирования, на фиг.4 – трехзвенный шарнирный механизм в положении расфиксации (шток электрочеки убран), на фиг.5 – трехплечий рычаг в положении «разарретировано».
Устройство арретирования состоит из трехплечего рычага 1, шарнирно установленного на корпусе КА 2, фиксатора 3, шарнирно соединенного с рычагом, и резьбового штыря 4, ввернутого в арретируемый объект – приборную раму 5. Фиксатор 3 размещается в отверстии приборной рамы и опирается в коническое гнездо корпуса КА. Резьбовой штырь 4 опирается в одно из плеч рычага 1. Рычаг 1 соединен с трехзвенным шарнирным механизмом, состоящим из звеньев 6, 7 и 8. Звено 8 соединено тягой 9 с другим рычагом (рычагами), осуществляющим функции арретирования по периферии рамы. На звене 6 закреплена электрочека 10, на шток 11 которой оперта пята 12 звена 8 складывающейся диады «7-8». Звенья 7 и 8 (диада) находятся в позиции, когда три шарнирные оси находятся примерно на одной прямой, т.е. близком к так называемому «мертвому» положению. При этом усилие от пяты 12, приходящееся на шток 11, близко к минимальному. На оси рычага 1 установлена оттяжная пружина 13.
Работа устройства происходит следующим образом.
В исходном состоянии рама 5 удерживается от перемещений фиксатором 3 и штырем 4 в трех направлениях – вдоль оси фиксаторов и в поперечном – без создания напряжений в раме при регулировке. При срабатывании электрочеки 10 шток 11 втягивается, освобождая звено 8, которое под действием пружины 13 и упругих сил затяжки поворачивается. При этом размер Т увеличивается до размера П, достаточного для поворота рычага 1 с образованием зазоров С, при которых арретируемый объект 5 (приборная рама) полностью освобождается от связи с корпусом КА, оставаясь на собственных плавающих опорах.
Формула изобретения
1. Устройство арретирования дистанционного выключения подвижной рамы, устанавливаемой на корпусе объекта, содержащее штыревой фиксатор и регулируемый упор, размещаемый на раме, и привод, соединенные кинематической связью, элементы которой размещены на корпусе объекта, отличающееся тем, что в нем кинематическая связь выполнена в виде шарнирно установленного на корпусе объекта трехплечего рычага, одно из плеч которого соединено со штыревым фиксатором, другое выполнено взаимодействующим с регулируемым упором, а третье соединено с трехзвенным шарнирным механизмом, два звена которого образуют складывающуюся диаду, а на третьем закреплен привод в виде электрочеки, шток которой кинематически связан со звеном диады.
2. Устройство по п.1, отличающееся тем, что на штыревом фиксаторе установлен резьбовой ограничитель, опертый во фланец рамы.
РИСУНКИ
|
|