|
|
(21), (22) Заявка: 2005124743/06, 03.08.2005
(24) Дата начала отсчета срока действия патента:
03.08.2005
(43) Дата публикации заявки: 10.02.2007
(46) Опубликовано: 27.01.2008
(56) Список документов, цитированных в отчете о поиске:
RU 2213307 С2, 27.09.2003. RU 2238480 С2, 20.10.2004. RU 2057984 C1, 10.04.1996. RU 2059938 C1, 10.05.1996. GB 1167002 A, 15.10.1969.
Адрес для переписки:
684010, Камчатская обл., г. Елизово, ул. Ленина, 55, кв.22, А.Н. Лукьянченко
|
(72) Автор(ы):
Лукьянченко Александр Николаевич (RU), Лукьянченко Николай Александрович (RU)
(73) Патентообладатель(и):
Лукьянченко Александр Николаевич (RU), Лукьянченко Николай Александрович (RU)
|
(54) КОТЕЛ СТАЛЬНОЙ СЕКЦИОННЫЙ ВОДОГРЕЙНЫЙ, РАЗБИРАЕМЫЙ ИЗ ФРОНТА КОТЛА
(57) Реферат:
Изобретение предназначено для нагрева воды и может быть использовано в теплоэнергетике. Котел содержит конвективную зону, разделенную на два пакета, расположенных справа и слева от топки, и топочные экраны. В жестком каркасе котла закреплены верхние и нижние направляющие, в которые из фронтальной части вставляются все экраны и секции конвективных пакетов, входные и выходные патрубки которых выведены на переднюю стенку котла и соединяются между собой трубными переходами на фланцах, за счет чего возможен демонтаж всех поверхностей нагрева для ремонта и замены. Изобретение обеспечивает повышение ремонтной способности котлов. 6 ил.
Изобретение относится к теплоэнергетике, может быть использовано в отопительных водогрейных котлах малой мощности, особенно на котлах, устанавливаемых на небольших, стесненных и модульных котельных.
В настоящее время есть большое количество котельных небольшой мощности, на которых установлены водогрейные котлы производительностью от 0,5 до 2,5 Гкал/час. Зачастую на таких котельных фактические условия эксплуатации далеки от идеальных. Сетевая вода может иметь плохое качество из-за открытого водоразбора и невозможности нормальной водоподготовки. На многих котельных не выдерживается требование заводов-изготовителей по подаче на вход котла воды с температурой не ниже 70°С. Это является причиной повышенной коррозии котловых труб, преждевременного выхода котлов из строя, частой их заменой, необходимости проведения текущих и капитальных ремонтов. При низких температурах наружного воздуха и отсутствии достаточного резерва тепловых мощностей возникает необходимость проведения оперативного ремонта котлов.
Известно техническое решение конструкции стального секционного водогрейного котла по патенту RU 2133406, F22В 21/00. Котел содержит топку, выполненную из двух боковых, потолочного и фронтального экранов, а также два конвективных модуля, расположенных с боковых сторон топки. Недостатком данной конструкции является низкая ремонтная пригодность, поскольку в случае течи котловых труб для доступа в зону работ необходимо будет производить демонтаж обмуровки, для демонтажа секций потребуется применение газовой резки.
Известно также техническое решение по патенту RU 2213307, F24Н 1/00. Данный стальной секционный водогрейный котел содержит топку, выполненную из двух боковых, заднего, потолочного и фронтально-подового экранов, а также находящиеся в двух конвективных газоходах, расположенных с боковых сторон топки, левый и правый экономайзеры, состоящие каждый из коллекторов в виде полутруб с приваренными трубными решетками и плотно размещенным в шахматном порядке трубным пучком. Направление движения воды и ее скорость регулируются с помощью перегородочных узлов, устанавливаемых в коллекторах топочных экранов и экономайзеров. Дымовые газы из топки через перевалочные стенки поступают в боковые конвективные газоходы, затем в отводящие газоходы.
Данный котел принят за прототип.
В указанном котле возможна выемка фронтально-подового экрана и экономайзеров после разборки теплоизоляции или обмуровки в зонах расположения этих узлов. Однако оперативный ремонт котла затруднен. В данном котле невозможно произвести выемку дефектных труб завариванием отверстий в коллекторах, так как при этом резко возрастет гидравлическое сопротивление водяного тракта. А для замены котловых труб понадобится трудоемкая разборка обмуровки. Конструкция экономайзера не предусматривает ремонт труб, находящихся в центре пучка, следовательно, при возникновении течи даже в одной трубе потребуется замена экономайзера на новый. Подобную конструкцию экономайзера с горизонтальным плотным размещением конвективных труб нельзя применить для сжигания угля, поскольку межтрубное пространство будет забиваться отложениями сажи, а механическая очистка этого пространства затруднена.
Целью данного изобретения является повышение ремонтной способности стального секционного водотрубного водогрейного котла, а также возможность более плотной установки котлов в стесненных условиях.
Технический результат достигается следующим образом. Конструкция выполнена в виде жесткого каркаса котла с закрепленными на нем верхними и нижними направляющими. Конвективная зона разделена на два пакета, которые расположены справа и слева от топки. Из фронтальной части в эти направляющие вставляются все топочные экраны и секции конвективных пакетов. Разъемные соединения поверхностей нагрева между собой выполнены вне котла на его передней стенке в виде трубных переходов на фланцах. Каркас котла с боковых, задней и верхней сторон заделывается неразборной теплоизоляцией (обмуровкой), теплоизоляция (обмуровка) фронтальной части разборная. Все экраны и секции могут быть вынуты частично или полностью для ремонта или замены в переднюю часть котла, где всегда присутствует относительно широкий технологический проход, необходимый для обслуживания котлов и подачи топлива. Так как котел обслуживается и ремонтируется из фронтальной части, это дает возможность устанавливать котлы плотно друг к другу.
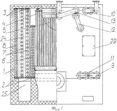
На фиг.1 показан вид котла спереди, на фиг.2 – вид сверху, на фиг.3 – схема движения воды в одной из симметричных сторон котла, на фиг.4 – вид спереди котла с вертикальным исполнением котловых труб в боковых экранах-перегородках и секциях конвективных пакетов, на фиг.5 – вид этого котла сверху, на фиг.6 – схема движения воды одной из симметричных сторон указанного котла.
Конструкция представляет собой жесткий каркас котла 1 с нижними 2 и верхними 3 симметрично закрепленными направляющими, в которые вставляются Г-образные экраны 4, представляющие собой задний и потолочный экраны, передние экраны 5, боковые экраны-перегородки 6, промежуточные секции 7 и боковые секции 8 конвективных пакетов. Передние и задние экраны с вертикальным расположением котловых труб. Боковые экраны-перегородки и секции конвективных пакетов с горизонтальным расположением котловых труб. Г-образные секции 4, передние экраны 5, боковые экраны-перегородки 6 и боковые секции 8 конвективных пакетов газоплотные, с проставками (плавниками) между котловыми трубами. Все экраны и секции конвективных пакетов соединены между собой вне котла в его фронтальной части трубными переходами на фланцах 9, 10, 11, 12, 13. Арматура для подвода, отвода и слива воды, выпуска воздуха, предохранительные клапаны и термометры устанавливаются на выступающих патрубках коллекторов в передней части котла. Каркас котла заделывается неразборным теплоизоляционным коробом (обмуровкой) 14. Во фронтальной части котла теплоизоляция (обмуровка) 15 разборная.
Для котлов, где сжигается топливо с большим выходом летучих веществ и возможно отложение сажи на поверхностях горизонтально расположенных труб, предусмотрено исполнение с вертикальным расположением труб в боковых экранах-перегородках и секциях конвективных пакетов (фиг.4, 5, 6). При таком исполнении боковые экраны-перегородки 16 и боковые секции 17 конвективных пакетов соединены с промежуточными секциями 18 и 19 перпендикулярными трубными переходами 20 в пределах котла и выполнены в виде спаренных секций. Входные и выходные патрубки секций конвективных пакетов и экранов соединяются трубными переходами на фланцах 21, 22, 23 вне котла на его передней стенке.
Для демонтажа поверхностей нагрева достаточно разобрать трубные переходы на фланцах, демонтировать обмуровку в передней части котла, вынуть во фронтальную часть котла соответствующую секцию или экран для ремонта или замены.
При сгорании топлива в топке котла дымовые газы через фестоны, образованные боковыми экранами-перегородками, попадают в конвективные газоходы 24, затем через отводящие газоходы 25 с задней стороны котла попадают в общий газоход.
Движение воды осуществляется двумя симметричными потоками, что позволяет уменьшить диаметры коллекторов. Вода поступает в верхние коллекторы боковых секций конвективных пакетов, затем последовательно проходит через промежуточные секции конвективных пакетов, боковые экраны-перегородки, передние экраны, через Г-образные секции и отводится в сборный коллектор. Направление движения воды и оптимальные скорости потока внутри экранов и секций конвективных пакетов регулируются установкой в коллекторах заглушек 26 с прорезями для спуска воды и выпуска воздуха. Для обеспечения оптимального гидравлического сопротивления водяного тракта, зависимости от теплопроизводительности котла, подбираются диаметры коллекторов и количество котловых труб на ход воды. В верхней части устанавливаются взрывные клапаны 27 или смотровые отверстия 28. На передней стенке установлены смотровые отверстия 29.
Формула изобретения
Котел стальной секционный водогрейный, разбираемый из фронта котла с конвективной зоной, разделенной на два пакета, расположенных справа и слева от топки, и с экранами, отличающийся тем, что в жестком каркасе котла закреплены верхние и нижние направляющие, в которые из фронтальной части вставляются все экраны и секции конвективных пакетов, входные и выходные патрубки которых выведены на переднюю стенку котла и соединяются между собой трубными переходами на фланцах, за счет чего возможен демонтаж всех поверхностей нагрева для ремонта и замены.
РИСУНКИ
|
|