|
|
(21), (22) Заявка: 2006112043/06, 11.04.2006
(24) Дата начала отсчета срока действия патента:
11.04.2006
(46) Опубликовано: 27.01.2008
(56) Список документов, цитированных в отчете о поиске:
RU 2224182 С1, 20.02.2004. RU 2139983 C1, 20.10.1999. SU 1142703 A, 28.02.1985. DE 3012686 A1, 16.10.1980. GB 1345970 A, 06.02.1974.
Адрес для переписки:
350038, г.Краснодар, ул. им. В. Головатого, 585, ЗАО “НИПИ” ИнжГео”, В.П. Колотилину
|
(72) Автор(ы):
Колотилин Василий Петрович (RU), Великоднев Валерий Яковлевич (RU)
(73) Патентообладатель(и):
Закрытое акционерное общество Научно-исследовательский проектно-изыскательский институт “ИнжГео” ЗАО “НИПИ” ИнжГео” (RU)
|
(54) СПОСОБ КОНДИЦИОНИРОВАНИЯ ВОЗДУХА ЗАЩИТНОГО СООРУЖЕНИЯ
(57) Реферат:
Способ кондиционирования воздуха защитного сооружения относится к области жизнеобеспечения закрытых помещений. Способ включает регулирование и поддержание температуры воздуха в рабочей зоне. При этом в рабочей зоне осуществляют съем тепла через поверхность теплообмена первичным теплоносителем, например водой, который подают в дополнительно созданную зону охлаждения, защищенную от техногенного воздействия, в последней охлаждают первичный теплоноситель вторичным теплоносителем, защищенным от техногенного воздействия, после чего охлажденный первичный теплоноситель возвращают в рабочую зону. Технический результат – создание способа кондиционирования воздуха защитного сооружения, обеспечивающего заданные температурные условия в течение длительного времени при укрытии людей, а также расширение модельного ряда исполнения защитного сооружения, реализующего предлагаемый способ, при снижении капитальных и эксплуатационных затрат. 5 з.п. ф-лы, 1 ил.
Изобретение относится к области жизнеобеспечения закрытых помещений, в которых необходимо защитить от техногенных и природных воздействий людей и/или состав запасного автоматизированного пункта управления (ЗАПУ), при работе которого выделяется значительное количество тепла, в частности к поддержанию и регулированию температурного режима закрытых помещений. Изобретение может быть использовано в качестве защитного сооружения как в мирное время, так и в чрезвычайных ситуациях, например при защите от радиоактивных осадков и излучения после применения ядерного оружия, от бактериологического оружия или радиоактивной пыли, при землетрясениях, пожарах, наводнениях, а также в пищевой промышленности и медицине – фармацевтике, и других отраслях промышленности.
Известен способ поддержания микроклиматических условий, применяемый при эксплуатации помещения, защищенного от техногенного воздействия для длительного изолированного пребывания людей в его рабочей зоне, снабженного воздухоподводящей и воздухоотводящей галереями. Способ включает подачу свежего воздуха из воздухоподводящей галереи с помощью вентилятора по каналам через отверстия в перфорированном полу и соляной фильтр-насытитель в рабочую зону. Прошедший через фильтр-насытитель воздух смешивается с воздухом рабочей зоны через перфорации в ограждающих поверхностях рабочей зоны, проходит внутрь ее и используется для дыхания людей. Избыточный воздух вместе с респираторными отбросами людей через перфорации рабочей зоны, канал и воздухоотводящую галерею выходит за пределы помещения (см. патент РФ № 2139983, МПК6 Е04Н 9/12, опубл. 20.10.1999).
Общим признаком известного и предлагаемого способа является:
– поддержание параметров воздуха, позволяющих обеспечить длительное пребывание людей в рабочей зоне, защищенной от техногенного воздействия;
Недостатками известного способа являются:
– достаточно высокий уровень шума;
– отсутствие возможности выноса тепла из рабочей зоны, т.е. регулирования и поддержания температуры воздуха в помещении ниже 24°С в течение длительного времени, в связи с чем невозможно использовать известный способ как для размещения укрываемой наибольшей рабочей смены, так и для организации запасного автоматизированного пункта управления, при работе которого выделяется значительное количество тепла.
Наиболее близким по технической сущности и достигаемому результату к предлагаемому техническому решению является способ кондиционирования воздуха, применяемый при эксплуатации закрытого помещения, защищенного от техногенных воздействий, включающий подачу части отработанного воздуха из рабочей зоны в помещение – подготовки воздуха, в котором воздух проходит комплексную обработку – кондиционирование (охлаждение/нагревание), обеззараживание и обогащение кислородом, далее подготовленный воздух с помощью вентилятора поступает в рабочую зону, и далее цикл повторяется (см. патент РФ № 2224182, МПК7 F24F 7/06, опубл. 20.02.2004).
Общими признаками известного и предлагаемого способа являются:
– регулирование и поддержание температуры воздуха в рабочей зоне.
Недостатки известного способа заключаются в следующем:
– известный способ экономически (по капитальным и эксплуатационным затратам) не может быть использован для регулирования и поддержания температуры воздуха в рабочей зоне ниже 24°С в течение длительного времени при размещении укрываемой наибольшей рабочей смены и состава запасного автоматизированного пункта управления (ЗАПУ), при работе которого выделяется значительное количество тепла, в связи с тем, что регулирование и поддержание температуры воздуха в известном способе осуществляется путем забора из рабочей зоны части воздуха, которая смешивается с воздухом помещения подготовки воздуха, а затем часть его после охлаждения кондиционером возвращается в рабочую зону, поэтому при необходимости выноса значительного количества тепла из рабочей зоны потребуется увеличение всей системы подготовки воздуха;
– кроме того, известный способ регулирования температуры рабочей зоны защитного сооружения из-за сложности конструктивной реализации имеет узкий модельный ряд исполнения, например, он не применим при необходимости выполнения рабочей зоны из нескольких секций различного функционального назначения.
Техническая задача заключается в создании способа кондиционирования воздуха защитного сооружения (ЗС), обеспечивающего заданные температурные условия в течение длительного времени при укрытии людей или состава ЗАПУ, при работе которого выделяется значительное количество тепла, а также расширении модельного ряда исполнения ЗС, реализующего предлагаемый способ, при снижении капитальных и эксплуатационных затрат.
Техническая задача достигается тем, что в способе кондиционирования воздуха защитного сооружения, включающем регулирование и поддержание температуры воздуха в рабочей зоне, в последней осуществляют съем тепла через поверхность теплообмена первичным теплоносителем, например водой, который подают в дополнительно созданную зону охлаждения, защищенную от техногенного и природного воздействия, в последней охлаждают первичный теплоноситель вторичным теплоносителем, защищенным от техногенного воздействия, после чего охлажденный первичный теплоноситель возвращают в рабочую зону.
При этом в качестве вторичного теплоносителя используют воду.
Кроме этого, в зоне охлаждения обеспечивают циркуляцию вторичного теплоносителя по замкнутому контуру с подпиткой воды от природного или дополнительно создаваемого вне защитного сооружения источника воды, защищенного от техногенного воздействия.
Кроме этого, вторичный теплоноситель подают в зону охлаждения из дополнительно созданного вне ЗС источника воды, защищенного от техногенного воздействия, а после теплообмена с первичным теплоносителем возвращают вторичный теплоноситель в указанный источник воды.
Кроме этого, вторичный теплоноситель охлаждают через поверхность теплообмена воздухом, подаваемым в дополнительно созданную зону охлаждения и защищенным от техногенного воздействия.
Кроме этого, первичный теплоноситель охлаждают воздухом.
Совокупность признаков предлагаемого изобретения обеспечивает возможность регулирования температуры воздуха непосредственно в рабочей зоне за счет осуществления съема тепла первичным теплоносителем, например водой, через поверхность теплообмена, например, с помощью внутреннего блока сплит-системы с водяным охлаждением. При этом охлаждение первичного теплоносителя осуществляют вторичным теплоносителем в дополнительно созданной зоне охлаждения, защищенной от техногенного воздействия, например в наружном блоке сплит-системы. Таким образом, при оптимальных капитальных и эксплуатационных затратах обеспечиваются в течение длительного времени заданные температурные параметры при размещении как наибольшей рабочей смены, так и состава ЗАПУ, при работе которого выделяется значительное количество тепла.
Предлагаемый способ кондиционирования универсален, т.к. он обеспечивает возможность изменения принципа и режима охлаждения первичного теплоносителя в зависимости от функции защитного сооружения: водяное, воздушно-водяное и воздушное с возможным подключением внешнего природного или созданного источника воды, защиту от техногенных воздействий в зависимости от выполняемой функции защитного сооружения.
Данный способ кондиционирования позволяет использовать преимущества сплит-систем: широкий модельный их ряд дает возможность регулирования как температуры воздуха непосредственно в рабочей зоне, так и других параметров воздуха для жизнеобеспечения защитных сооружений. При этом рабочая зона может иметь несколько секций, в которых обеспечиваются заданные параметры воздуха.
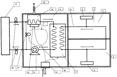
На чертеже представлена схема защитного сооружения, реализующего предлагаемый способ кондиционирования защитного сооружения.
В рабочей зоне 1 защитного сооружения, состоящей, например, из 2-х секций 2, 3, осуществляют регулирование и поддержание температуры воздуха, в частности съем тепла, через поверхность теплообмена, например, с помощью внутреннего блока 4 сплит-системы первичным теплоносителем, например водой, по контуру 5. Первичный теплоноситель подают в дополнительно созданную зону охлаждения 6, защищенную от техногенного или природного воздействия, например в наружный блок 7 сплит-системы, расположенный в дополнительной зоне охлаждения 6. Первичный теплоноситель охлаждают вторичным теплоносителем – водой, который циркулирует по замкнутому контуру 8, расположенному в зоне охлаждения 6, созданному насосом 9, при этом обеспечивают подпитку воды через запорно-регулирующую арматуру 10 из источника воды 11, охлаждая вторичный теплоноситель. При этом источник воды 11 расположен вне ЗС и может быть как артезианской скважиной, так и резервуаром, защищенным от техногенных воздействий, в зависимости от места расположения ЗС и ее функционального назначения. Кроме того, контур 8 может иметь калорифер 12 с вентилятором 13 для обеспечения возможности охлаждения вторичного теплоносителя воздухом, осуществляемой приточной 14 и вытяжной 15 вентиляциями, защищенными от техногенных воздействий. При этом воздух, подаваемый через приточную 14 вентиляцию охлаждает также первичный теплоноситель контура 5 в наружном блоке 7 сплит-системы.
Вторичный теплоноситель может подаваться в зону охлаждения 6 по контуру 16 из источника 11 насосом 9 при закрытом вентиле 17 и выводиться наружу ЗС или снова возвращаться в резервуар 11.
Охлаждение первичного теплоносителя контура 5 может осуществляться только воздухом, подаваемым через приточную 14 вентиляцию, при закрытых запорно-регулирующей арматуре 10 и вентиле 17.
В результате осуществляется несколько режимов работы системы кондиционирования воздуха в ЗС, при этом при всех режимах использования способа первичный теплоноситель из рабочей зоны 1 циркулирует по замкнутому контуру 5 в зону охлаждения 6, вынося тепло из рабочей зоны 1.
I режим – водяной, при этом первичный теплоноситель – воду – охлаждают в зоне охлаждения 6 вторичным теплоносителем – водой по контуру 8 с подпиткой воды из резервуара 11;
II режим – водяной, при этом первичный теплоноситель – воду – охлаждают в зоне охлаждения 6 вторичным теплоносителем – водой по контуру 16;
III режим – воздушно-водяной, при этом первичный теплоноситель – воду – охлаждают в зоне охлаждения 6 вторичным теплоносителем – водой, по контуру 8 в сочетании с работой приточной 14 и вытяжной 15 вентиляции;
IV режим – воздушно-водяной, при этом первичный теплоноситель – воду – охлаждают в зоне охлаждения 6 вторичным теплоносителем – водой – по контуру 16 в сочетании с работой приточной 14 и вытяжной 15 вентиляции;
V режим – воздушный, при этом подаваемый в зону охлаждения с помощью приточной вентиляции 14 воздух охлаждает первичный теплоноситель контура 5 и выводится через вытяжную вентиляцию 15.
Пример.
Способ кондиционирования был проверен расчетным путем. В рабочей зоне 1 защитного сооружения, состоящей из 2-х секций 2, 3, в одной из которых размещена укрываемая наибольшая рабочая смена в количестве 55 человек, а в другой секции состав ЗАПУ в количестве 26 человек, интегрированная локальная вычислительная сеть, с серверным помещением, при работе которого выделяется 28 кВт тепловой энергии. Осуществляют регулирование и поддержание температуры воздуха в помещениях не выше уровня 24°С.
Съем тепла в рабочей зоне осуществляют с помощью внутренних блоков 4 сплит-системы первичным теплоносителем – водой – по контуру 5. Исполнение внутренних блоков 4 сплит-системы при расчетах принималось различным (настенный, напольно-потолочный, напольный, потолочный, кассетный, канальный) в зависимости от выполняемых функций секций 2 и 3. Первичный теплоноситель – воду – подают в наружный блок 7 сплит-системы, расположенный в зоне охлаждения 6, защищенной от техногенного и природного воздействия, представляющей собой заглубленное монолитное помещение, конструктивно выполненное в соответствии с требованиями СНиП II – 11-77* «Защитные сооружения гражданской обороны».
Первичный теплоноситель – воду – охлаждают до температуры 15-18°С в наружном блоке 7 сплит-системы, при этом тепло выносят вторичным теплоносителем – водой, который циркулирует по замкнутому контуру 8, расположенному в зоне охлаждения 6, созданному насосом 9, приточной вентиляцией 14, вытяжной вентиляцией 15, калорифером 12 с вентилятором обдува 13. При этом обеспечена возможность подпитки водой контура 8 в количестве 2-5 м3/ч через регулирующую арматуру 10 из источника воды 11 для частичного охлаждения вторичного теплоносителя. Обеспечена также возможность изменения контура охлаждения 8 на контур охлаждения 16 (используется для охлаждения вторичного теплоносителя только резервуар 11) при отключении воздушного охлаждения, т.е. когда отключаются приточная вентиляция 14, вытяжная вентиляция 15, вентилятор 13. При этом предусмотрен режим, когда вентилятор 13 обдувает калорифер 12 на помещение зоны охлаждения 6.
Источник воды 11 расположен вне ЗС и выполнен в виде резервуара, защищенного от техногенных воздействий, заглубленный в грунт на 3-5 м, температура грунта принята в расчетах 15°С, в соответствии с требованиями СНиП II – 11-77* «Защитные сооружения гражданской обороны». При этом воздух с температурой 27-29°С подавался приточной вентиляцией 14, а отработанный воздух выбрасывался через вытяжную вентиляцию 15. Приточная и вытяжная вентиляции 14 и 15 выполнены в виде камер, защищенных от техногенных и природных воздействий, причем приточная вентиляция имеет фильтры очистки воздуха от пыли, дыма и отравляющих веществ.
Предусмотрена возможность, чтобы воздух, подаваемый через приточную вентиляцию 14 использовался для охлаждения вторичного теплоносителя в контуре 8 наружного блока 7 сплит-системы, что способствует снижению температуры первичного теплоносителя на 1,5-2°С.
Вторичный теплоноситель подавали также в зону охлаждения 6 по контуру 16 из источника 11 насосом 9 при закрытом вентиле 17 и выводили наружу ЗС и снова возвращали в резервуар 11. При этом температурные режимы теплоносителей следующие: в первичном – 16-18°С, во вторичном – 15°С, при поддержании температуры в рабочей зоне на уровне 21-24°С.
Охлаждение вторичного теплоносителя контура 8 осуществляли только воздухом с температурой 27-29°С, подаваемым через приточную 14 вентиляцию, при закрытой запорно-регулирующей арматуре 10 и открытом вентиле 17, при этом температура в рабочей зоне секции 2 составляла 20-24°С.
В результате осуществлено несколько режимов работы системы кондиционирования воздуха в ЗС, при этом во всех режимах использования способа первичный теплоноситель циркулирует постоянно из рабочей зоны 1 по замкнутому контуру 5 в зону охлаждения 6 и выносит тепло из рабочей зоны 1, поддерживая температуру в рабочих помещениях не выше 24°С в течение длительного времени и не менее 6 суток при работе на одном заглубленном резервуаре 11. Также используются все возможности сплит-системы: регулируется не только температура в каждом помещении индивидуально, но и относительная влажность в диапазоне 65-75%, при общей рабочей смене более 80 человек и общем выделении тепла более 45 кВт.
Формула изобретения
1. Способ кондиционирования воздуха защитного сооружения (ЗС), включающий регулирование и поддержание температуры воздуха в рабочей зоне, отличающийся тем, что в рабочей зоне осуществляют съем тепла через поверхность теплообмена первичным теплоносителем, например водой, который подают в дополнительно созданную зону охлаждения, защищенную от техногенного и природного воздействия, в последней охлаждают первичный теплоноситель вторичным теплоносителем, защищенным от техногенного воздействия, после чего охлажденный первичный теплоноситель возвращают в рабочую зону.
2. Способ по п.1, отличающийся тем, что в качестве вторичного теплоносителя используют воду.
3. Способ по п.2, отличающийся тем, что в зоне охлаждения обеспечивают циркуляцию вторичного теплоносителя по замкнутому контуру с подпиткой воды от природного или дополнительно создаваемого вне защитного сооружения источника воды, защищенного от техногенного воздействия.
4. Способ по п.2, отличающийся тем, что вторичный теплоноситель подают в зону охлаждения из дополнительно созданного вне ЗС источника воды, защищенного от техногенного воздействия, а после теплообмена с первичным теплоносителем возвращают вторичный теплоноситель в указанный источник воды.
5. Способ по любому из пп.1-4, отличающийся тем, что вторичный теплоноситель охлаждают через поверхность теплообмена воздухом, подаваемым в дополнительно созданную зону охлаждения и защищенным от техногенного воздействия.
6. Способ по п.1, отличающийся тем, что первичный теплоноситель охлаждают воздухом.
РИСУНКИ
|
|