|
|
(21), (22) Заявка: 2004131828/06, 28.03.2003
(24) Дата начала отсчета срока действия патента:
28.03.2003
(30) Конвенционный приоритет:
29.03.2002 (пп.18-24) JP 2002-95698 25.02.2003 (пп.1-17) JP 2003-47072
(43) Дата публикации заявки: 27.05.2005
(46) Опубликовано: 27.01.2008
(56) Список документов, цитированных в отчете о поиске:
JP 2001152166 A, 05.06.2001. JP 11179191 A, 06.07.1999. JP 7238288 A, 12.09.1995. US 5443040 A, 22.08.1995. WO 92/08930 A1, 29.05.1992. RU 2082915 C1.27.06.1997.
(85) Дата перевода заявки PCT на национальную фазу:
29.10.2004
(86) Заявка PCT:
JP 03/04027 (28.03.2003)
(87) Публикация PCT:
WO 03/087667 (23.10.2003)
Адрес для переписки:
129010, Москва, ул. Б. Спасская, 25, стр.3, ООО “Юридическая фирма Городисский и Партнеры”, пат.пов. Ю.Д.Кузнецову, рег.№ 595
|
(72) Автор(ы):
МОХРИ Такааки (JP), ЙОСИОКА Тосиаки (JP), ХОЗУМИ Йосиказу (JP), СИОЗАКИ Тецу (JP), ХАСЕГАВА Тосиаки (JP), МОТИДА Сусуму (JP)
(73) Патентообладатель(и):
ТИЙОДА КОРПОРЕЙШН (JP)
|
(54) СПОСОБ УПРАВЛЕНИЯ СГОРАНИЕМ В РЕАКТОРЕ И РЕАКТОР
(57) Реферат:
Изобретение относится к реакционной печи. Способ управления сгоранием в реакционной печи, содержащей корпус печи, имеющий стену печи, которая окружает заключенную в ней топочную камеру, совокупность реакционных труб, предусмотренных между парой противоположных стеновых участков упомянутой стены печи упомянутого корпуса печи и расположенных рядом друг с другом, проходя в одном и том же направлении, совокупность первых горелок, которые расположены снаружи от упомянутых реакционных труб и предусмотрены на упомянутой стене печи в упомянутом корпусе печи для сгорания топлива в упомянутой топочной камере, одну или более вторых горелок, неподвижно закрепленных, по меньшей мере, в одной из парных областей крепления упомянутых парных стеновых участков, где предусмотрены упомянутые реакционные трубы, для впрыскивания топлива в осевом направлении упомянутых реакционных труб в пространство, ограниченное между двумя или более соседними трубами из числа реакционных труб, и агрегат теплообменного типа для подачи воздуха для сгорания для выпуска отходящего газа из упомянутой топочной камеры наружу из упомянутой реакционной печи через воздухопроницаемое регенерирующее средство и подачи в упомянутую топочную камеру воздуха для сгорания, нагретого до высокой температуры с помощью физического тепла, запасенного в упомянутом регенерирующем средстве, при этом способ включает в себя этапы, на которых обеспечивают работу только упомянутых первых горелок для сгорания топлива для повышения температуры в упомянутой топочной камере до тех пор, пока внутри упомянутой топочной камеры не возникнет состояние сгорания на воздухе, имеющем высокую температуру, обеспечивают работу упомянутой одной или более вторых горелок для сгорания топлива после того, как в упомянутой топочной камере достигнуто состояние сгорания на воздухе, имеющем высокую температуру, и уменьшают интенсивность горения упомянутых первых горелок с увеличением интенсивности горения упомянутой одной или более вторых горелок, чтобы достичь необходимое состояние сгорания. Отношение интенсивности горения упомянутых первых горелок к интенсивности горения упомянутой одной или более вторых горелок поддерживают на уровне, соответствующем упомянутому необходимому состоянию сгорания, после того, как упомянутое необходимое состояние сгорания достигнуто. Отношение интенсивности горения упомянутых первых горелок к интенсивности горения упомянутой одной или более вторых горелок находится в диапазоне от 80:20 до 0:100. Количество воздуха, подаваемого в упомянутую топочную камеру упомянутым агрегатом теплообменного типа для подачи воздуха для сгорания, определяют таким образом, что среднее значение концентраций кислорода в упомянутом отходящем газе оказывается в диапазоне от 3,5 до 6%. Изобретение позволяет снизить вредные выхлопы в атмосферу, повысить кпд реакционной печи. 4 н. и 20 з.п. ф-лы, 15 ил., 1 табл.
Область техники, к которой относится изобретение
Настоящее изобретение относится к реакционной печи, в которой применяется технология сгорания на воздухе, имеющем высокую температуру.
Предшествующий уровень техники
В публикации №179191/1999 выложенной японской патентной заявки (заявка №357263/1997) описана технология повышения эффективности реакции в совокупности реакционных труб. При осуществлении этой технологии используется регенерационный агрегат сгорания того типа, в котором реализуется сгорание на воздухе, имеющем высокую температуру, для повышения температуры внутри печи, в которой последовательно расположены в поперечном направлении реакционные трубы.
В публикации №152166/2001 выложенной японской патентной заявки (заявка №343624/1999) описана технология, связанная с печью для реакционной плавки, в которой применяется технология сгорания на воздухе, имеющем высокую температуру. «Технология сгорания на воздухе, имеющем высокую температуру» определяется как технология, которая реализует сгорание посредством предварительного подогрева воздуха для сгорания до температуры 800°С, подачи воздуха для сгорания, имеющего высокую температуру, в топочную камеру с высокой скоростью и впрыскивания топлива в воздух для сгорания. Эта описанная технология способна обеспечить как можно большее возможное снижение разности температур между температурными полями внутри печи, в которой последовательно расположены реакционные трубы, без увеличения топочной камеры.
Применение технологии сгорания на воздухе, имеющем высокую температуру, может обеспечить как можно большее уменьшение разности температур внутри реакционной печи. Вместе с тем, в конфигурации имеется много реакционных труб или последовательность реакционных труб, присутствие которых создает сопротивление теплопередаче. Поэтому возникает тенденция к большей разности между температурой пространства, ограниченного между реакционными трубами, и температурой снаружи такого пространства. Такая разность температур, в свою очередь, будет приводить к возникновению трещин в трубах или к закоксованию. По этой причине такую разность температур необходимо уменьшать. Теплопередача к трубам зависит от тепла, излучаемого из стены печи. Трубы, расположенные ближе к краю, заслоняют внутренние трубы при теплопередаче или становятся препятствиями для нее. Соответствующие трубы не нагреваются равномерно, создавая проблему, заключающуюся в том, что уменьшается количество тепла, получаемое внутренними трубами, а точнее, кпд теплопередачи.
Поэтому задача настоящего изобретения состоит в том, чтобы разработать способ управления сгоранием в печи для реакционной плавки с применением технологии сгорания на воздухе, имеющем высокую температуру, и реакционную печь, в которой эта технология применяется и которая выполнена с возможностью уменьшения разности температур внутри печи без образования трещин на трубах или их закоксования.
Другая задача состоит в том, чтобы разработать реакционную печь и способ управления сгоранием в реакционной печи, которые обеспечивают предотвращение существенной неравномерности в распределении температур по стенке трубы в окружном направлении каждой реакционной трубы.
Еще одна задача состоит в том, чтобы разработать реакционную печь и способ управления сгоранием в реакционной печи, которые обеспечивают подавление увеличения концентраций СО (оксида углерода) без снижения термического кпд.
И еще одна задача состоит в том, чтобы разработать реакционную печь и способ управления сгоранием в реакционной печи, которые обеспечивают большее, чем обычно, увеличение количества получаемого тепла (т.е. кпд теплопередачи).
Раскрытие изобретения
В соответствии с настоящим изобретением, реакционная печь, работающая по технологии сгорания на воздухе, имеющем высокую температуру, содержит корпус печи, имеющий стену печи, которая окружает заключенную в ней топочную камеру. В этом корпусе печи между стеновыми участками пары стеновых участков печи предусмотрена совокупность реакционных труб, которые расположены рядом друг с другом, проходя в одном и том же направлении. Реакционная печь также содержит совокупность первых горелок, которые расположены снаружи от реакционных труб и предусмотрены на стене печи в корпусе печи для сгорания топлива в топочной камере. Реакционная печь также содержит агрегат теплообменного типа для подачи воздуха для сгорания, для выпуска отходящего газа из топочной камеры наружу из реакционной печи через воздухопроницаемое регенерирующее средство и подачи в топочную камеру воздуха для сгорания, нагретого до высокой температуры с помощью физического тепла, запасенного в регенерирующем средстве.
В общем случае, реакционные трубы установлены таким образом, что они непосредственно или обходным путем проходят через несущую конструкцию между стеновыми участками пары противоположных стеновых участков (например, между нижней и верхней стенами) стены печи, которая окружает топочную камеру, находящуюся внутри корпуса печи. Первые горелки установлены на одной из верхней, нижней и боковой стен печи. Воздух для сгорания, как правило, нагревают до высокой температуры, составляющей 800°С или более, с помощью физического тепла, запасенного в регенераторе. Первая горелка и агрегат подачи воздуха для неполного сгорания для первой горелки могут быть объединены и могут составлять одну регенеративную горелку того типа, в которой реализуется сгорание на воздухе, имеющем высокую температуру. В качестве регенеративной горелки того типа, в которой реализуется сгорание на воздухе, имеющем высокую температуру, можно использовать известную регенеративную горелку непрерывного горения, например, такую, которая описана в японских патентных заявках №№223335/1999 и 39138/2000. При наличии регенеративной горелки этого типа одна горелка включает в себя находящиеся в ней отдельные регенераторы. Воздух для сгорания подается в часть отдельных регенераторов, а газообразные продукты сгорания при этом поглощаются в остальные отдельные регенераторы для накопления тепла. Проточные каналы для подачи воздуха для сгорания и выпуска газообразных продуктов сгорания подключаются периодически, а накопление и потребление тепла повторяются внутри системы одной горелки. Выпускное отверстие для выпуска воздуха, имеющего повышенную температуру, сдвигается в окружном направлении при подключении проточных каналов. Однако топливо можно подавать из одной горелки непрерывно.
Регенеративную горелку того типа, в которой реализуется сгорание на воздухе, имеющем высокую температуру, можно также получить, воспользовавшись так называемой регенеративной горелкой с чередующейся подачей. В регенеративной горелке с чередующейся подачей воздух для сгорания и отходящий газ в чередующемся порядке подаются в один цельный регенератор, чтобы таким образом нагревать воздух для сгорания с помощью физического тепла, запасенного в этом регенераторе. Регенеративные горелки с чередующейся подачей можно объединить, в основном, в группы горелок непрерывного горения, в которых реализуется непрерывное горение горелки, и горелок прерывистого горения, в которых реализуется прерывистое горение горелки. Регенеративная горелка непрерывного горения с чередующейся подачей описана, например, в японских патентных заявках №№256423/1993 и 11121/1994. Регенеративная горелка прерывистого горения с чередующейся подачей описана, например, в японской выложенной патентной заявке №222102/1989.
Реакционная печь, согласно настоящему изобретению, также включает в себя одну или более вторых горелок, выполненных с обеспечением возможности впрыскивания топлива в осевом направлении или продольном направлении реакционных труб в пространство, ограниченное между двумя или более соседними трубами из числа реакционных труб. Одна или более вторых горелок неподвижно закреплены, по меньшей мере, в одной из парных областей крепления парных стеновых участков, где предусмотрены реакционные трубы. В соответствии с настоящим изобретением, располагая одну или более вторых горелок в пределах сборки реакционных труб, создают возможность нагревания с помощью вторых горелок, расположенных на таких участках реакционных труб, которые заслонены реакционными трубами, расположенными ближе к краю, чем заслоняемые ими трубы. Вследствие этого можно управлять температурными полями, образуемыми в пределах сборки реакционных труб, тем самым уменьшая разность температур внутри реакционной печи.
Вместе с тем, когда вторые горелки используются непосредственно для сгорания топлива после начала сгорания, тепло из вторых горелок обуславливает большую разность температур между температурными полями или локальный перегрев в каждой трубе. После достижения состояния сгорания на воздухе, имеющем высокую температуру, в топочной камере, тепло из первых горелок, в свою очередь, обуславливает разность температур между температурными полями. Ввиду этих проблем, в соответствии с настоящим изобретением, обеспечивают работу в основном лишь первых горелок для повышения температуры в топочной камере до тех пор, пока не будет достигнуто состояние сгорания на воздухе, имеющем высокую температуру. Сразу же после достижения состояния сгорания на воздухе, имеющем высокую температуру, зажигают одну или более вторых горелок. После этого снижают интенсивность горения первых горелок в соответствии с увеличением интенсивности горения одной или более вторых горелок, чтобы тем самым достичь необходимого состояния сгорания. В течение периода, проходящего до достижения состояния сгорания на воздухе, имеющем высокую температуру, вторые горелки можно использовать для сгорания топлива при условии, что вторые горелки не дают существенного эффекта. В этом случае сначала используют первые горелки, чтобы повысить температуру в топочной камере. После достижения состояния сгорания на воздухе, имеющем высокую температуру, в топочной камере, интенсивность горения одной или более вторых горелок увеличивают, а интенсивность горения первых горелок уменьшают в соответствии с увеличением интенсивности горения в одной или более вторых горелках, чтобы достичь необходимого состояния сгорания.
С помощью способа управления сгоранием в соответствии с настоящим изобретением можно предотвратить создание той большой разности температур топочной камеры, которая способна вызвать образование трещин в реакционных трубах или закоксование реакционных труб в начале сгорания, даже при одновременном использовании первых горелок и одной или более вторых горелок. После достижения состояния сгорания на воздухе, имеющем высокую температуру, в топочной камере за счет уменьшения интенсивности горения первых горелок в соответствии с увеличением интенсивности горения в одной или более вторых горелках и достижения тем самым необходимого состояния сгорания, можно предотвратить создание той большой разности температур топочной камеры, которая способна вызвать образование трещин в реакционных трубах или закоксование.
После достижения необходимого состояния сгорания, отношение интенсивности горения первых горелок к интенсивности горения одной или более вторых горелок поддерживают на том уровне, при котором достигается состояние необходимого сгорания. Действуя таким образом, можно сформировать мало изменяемые, стабильные температурные поля.
В предпочтительном варианте отношение интенсивности горения первых горелок к интенсивности горения одной или более вторых горелок находится в диапазоне от 80:20 до 0:100. При отношении интенсивностей горения, составляющем 80:20, количество тепла, получаемого каждой из реакционных труб, можно увеличить даже в случае, если компоновку первых и вторых горелок изменяют разными способами. Даже при отношениях интенсивностей горения, составляющих от 80:20 до 50:50, количество получаемого тепла тоже можно увеличить, хотя значение прироста при этом будет другим.
Когда отношение интенсивностей горения первых горелок и одной или более вторых горелок задано в диапазоне от 50:50 до 0:100, состояния сгорания можно достичь, когда распределение температур по стенке трубы для каждой реакционной трубы не становится исключительно неравномерным в ее окружном направлении. В частности, когда отношение интенсивностей, в конце концов, устанавливается на уровне 0:100, неравномерность в вышеупомянутом распределении температур можно минимизировать, а объем образующихся NOx и СО можно снизить в наибольшей степени. В этих случаях, задавая количество воздуха, подаваемого в топочную камеру агрегатом теплообменного типа для подачи воздуха для сгорания, настолько, что среднее значение концентраций кислорода в отходящем газе оказывается в диапазоне от 3,5 до 6%, можно еще больше снизить разность температур. Кроме того, как известно в настоящее время, наилучший технологический режим для решения этой задачи заключается в том, чтобы, в конечном счете, установить отношение интенсивностей горения, составляющее 0:100, а концентрации кислорода – на уровне 6%.
Реакционная печь, соответствующая настоящему изобретению, содержит совокупность агрегатов для подачи воздуха для неполного сгорания для первых горелок и один или более агрегатов для подачи воздуха для неполного сгорания для одной или более вторых горелок. Агрегаты для подачи воздуха для неполного сгорания для первых горелок выполнены с обеспечением возможности выпуска отходящего газа из топочной камеры наружу из реакционной печи через один или более воздухопроницаемых регенераторов, а также подачи в первые горелки воздуха для сгорания, нагретого до высокой температуры с помощью физического тепла, запасенного в одном или более регенераторов. Один или более агрегатов для подачи воздуха для неполного сгорания для одной или более вторых горелок выполнены с обеспечением возможности выпуска отходящего газа из топочной камеры наружу из реакционной печи через один или более воздухопроницаемых регенераторов, а также подачи в одну или более вторых горелок воздуха для сгорания, нагретого до высокой температуры с помощью физического тепла, запасенного в одном или более регенераторов. Поскольку внутри реакционной печи имеется одна топочная камера, часть воздуха, подаваемого агрегатами для подачи воздуха для неполного сгорания для первых горелок, иногда используется для обеспечения горения одной или более вторых горелок. Точно также, часть воздуха, подаваемого агрегатами для подачи воздуха для неполного сгорания для одной или более вторых горелок, иногда используется для обеспечения горения первых горелок. Соответственно, количества воздуха, подаваемого в топочную камеру агрегатами для подачи воздуха для неполного сгорания для первых горелок и/или агрегатами для подачи воздуха для неполного сгорания для одной или более вторых горелок, находятся в диапазоне от 3,5 до 6%.
Можно рассмотреть различные компоновки первых горелок и вторых горелок. В наиболее предпочтительном варианте первые горелки неподвижно закреплены на одном из парных стеновых участков, имеющихся в стене печи, а вторые горелки неподвижно закреплены на другом стеновом участке. При такой компоновке воздух для сгорания для первой горелки и часть тепла из первой горелки достигают окрестности второй горелки, способствуя этим нагреванию части реакционных труб, находящихся в окрестности этой второй горелки. Кроме того, в случае, когда вторые горелки расположены на тех же стеновых участках, что и первые горелки, количество тепла, получаемого каждой из реакционных труб, можно легко увеличить, не допуская локальный перегрев в каждой из реакционных труб.
В предпочтительном варианте вторые горелки выполнены с возможностью формирования пламени неполного сгорания, при котором максимальная температура газов достигает 500°С или более. Также в предпочтительном варианте первая горелка и агрегат для подачи воздуха для неполного сгорания для первой горелки объединены в одну регенеративную горелку того типа, в которой реализуется сгорание на воздухе, имеющем высокую температуру, и вторая горелка и агрегат для подачи воздуха для неполного сгорания для второй горелки объединены в одну регенеративную горелку того типа, в которой реализуется сгорание на воздухе, имеющем высокую температуру. При этих предпочтительных компоновках можно максимизировать эффективность управления сгоранием. Поскольку во многих случаях трудно обеспечить достаточное пространство в пределах совокупности реакционных труб, агрегаты для подачи воздуха для неполного сгорания для одной или более вторых горелок предпочтительно расположены снаружи от реакционных труб с возможностью подачи воздуха для сгорания в одну или более вторых горелок. Когда длина реакционных труб является малой, агрегаты для подачи воздуха для сгорания для первых горелок также можно использовать в качестве агрегата для подачи воздуха для сгорания для одной или более вторых горелок.
Располагая реакционные трубы таким образом, что расстояние между любыми двумя соседними трубами из числа реакционных труб оказывается одинаковым, и располагая вторые горелки таким образом, что расстояние между любыми двумя соседними второй горелкой и реакционной трубой оказывается одинаковым, можно обеспечить почти одинаковые температурные поля внутри реакционных труб.
При воплощении настоящего изобретения позиционная взаимосвязь первых горелок с одной или более вторыми горелками, а также отношение интенсивностей горения первых горелок и одной или более вторых горелок определяются таким образом, что кпд теплопередачи реакционных труб становится больше единицы, при допущении, что количество тепла, получаемого реакционными трубами, равно единице, когда эти трубы нагреваются только первыми горелками. При этом увеличение количества получаемого тепла (кпд теплопередачи) может оказаться больше обычного. Понятие «кпд теплопередачи» определяется следующим выражением:
(количество тепла, получаемого реакционными трубами, когда работают вторые горелки): (количество тепла, получаемого реакционными трубами, когда для нагревания труб работают только первые горелки).
В конкретном варианте осуществления, когда агрегаты для подачи воздуха для неполного сгорания для одной или более вторых горелок расположены снаружи от реакционных труб для подачи воздуха для сгорания к одной или более вторым горелкам, количество воздуха, подаваемого агрегатом для подачи воздуха для неполного сгорания для второй горелки, предпочтительно меньше 30% количества топочного воздуха, теоретически необходимого для полного сгорания того количества топлива, которое подается второй горелкой. Таким образом, можно реализовать высокоэффективное сгорание.
Краткое описание чертежей
На фиг.1 представлен схематический вид, показывающий конфигурацию первого конкретного варианта осуществления настоящего изобретения, адаптированного к реакционной печи с целью тестирования.
На фиг.2 показаны измеренные средние значения максимальной разности в распределении температур по стенке трубы в окружном направлении для каждой реакционной трубы, когда отношение интенсивностей горения первых горелок и вторых горелок изменяется в диапазоне от 0 до 100% после достижения состояния сгорания на воздухе, имеющем высокую температуру.
На фиг.3 показаны результаты измерения взаимосвязи процента использования вторых горелок с концентрациями NOx в отходящем газе, когда вторые горелки предусмотрены на нижней стене корпуса печи (на поде печи) и когда вторые горелки предусмотрены на верхней стене корпуса печи (на потолке печи) в соответствии с еще одним конкретным вариантом осуществления изобретения, который будет описан ниже.
На фиг.4 представлены переходы, выраженные в частях NOx и СО на миллион частей отходящего газа, полученные за счет изменения доли воздуха (остаточных концентраций кислорода), подаваемого в топочную камеру, когда отношение интенсивностей горения первых горелок и вторых горелок составляет 0:100 после достижения состояния сгорания на воздухе, имеющем высокую температуру.
На фиг.5 показаны измеренные средние значения максимальной разности в распределении температур по стенке трубы в окружном направлении для каждой реакционной трубы, полученные за счет изменения доли воздуха (остаточных концентраций кислорода), подаваемого в топочную камеру, когда отношение интенсивностей горения первых горелок и вторых горелок составляет 40:60 после достижения состояния сгорания на воздухе, имеющем высокую температуру.
На фиг.6 представлено в увеличенном масштабе схематическое сечение, иллюстрирующее пример конструкции выпускного отверстия для второй горелки.
На фиг.7 показана другая компоновка вторых горелок.
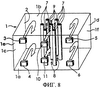
На фиг.8 представлен условный вид, показывающий конфигурацию второго варианта осуществления настоящего изобретения, адаптированного к реакционной печи с целью тестирования.
На фиг.9 представлен условный вид, показывающий конфигурацию третьего варианта осуществления настоящего изобретения, адаптированного к реакционной печи с целью тестирования.
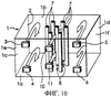
На фиг.10 представлен условный вид, показывающий конфигурацию четвертого варианта осуществления настоящего изобретения, адаптированного к реакционной печи с целью тестирования.
На фиг.11 представлен условный вид, показывающий конфигурацию пятого варианта осуществления настоящего изобретения, адаптированного к реакционной печи с целью тестирования.
На фиг.12 представлен условный вид, показывающий конфигурацию шестого варианта осуществления настоящего изобретения, адаптированного к реакционной печи с целью тестирования.
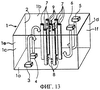
На фиг.13 представлен условный вид, показывающий конфигурацию седьмого варианта осуществления настоящего изобретения, адаптированного к реакционной печи с целью тестирования.
На фиг.14 представлен условный вид, показывающий конфигурацию восьмого варианта осуществления настоящего изобретения, адаптированного к реакционной печи с целью тестирования.
На фиг.15 представлен условный вид, показывающий конфигурацию девятого варианта осуществления настоящего изобретения, адаптированного к реакционной печи с целью тестирования.
Осуществление изобретения
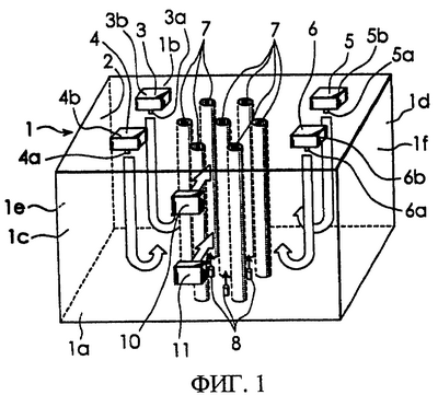
Ниже приводится подробное описание изобретения со ссылками на прилагаемые чертежи. На фиг.1 представлен схематический вид, показывающий конфигурацию конкретного варианта осуществления изобретения, адаптированного к реакционной печи с целью тестирования усовершенствования. Прежде всего, обращаясь к фиг.1, отмечаем, что позиция 1 обозначает корпус печи, имеющий стену печи, которая окружает заключенную внутри топочную камеру 2. Корпус 1 печи включает в себя нижнюю стену 1а (под печи) и верхнюю стену 1b (потолок печи), которые образуют пару стеновых участков, боковые стены 1с и 1d, которые образуют пару стеновых участков, расположенных в направлении ширины (в направлении спереди назад, как видно на фиг.1 в плоскости чертежа), и боковые стены 1е и 1f, которые образуют пару стеновых участков, расположенных в поперечном направлении (в направлении справа налево, как видно на фиг.1 в плоскости чертежа).
Нижняя стена 1а (под печи) корпуса 1 печи поддерживается несущей конструкцией (не показана). Верхняя стена 1b (потолок печи) корпуса 1 печи снабжена четырьмя неподвижно закрепленными регенеративными горелками 3, 4, 5, 6 непрерывного горения, которые соответственно являются регенеративными горелками того типа, в которых реализуется сгорание на воздухе, имеющем высокую температуру. Предусмотрена совокупность реакционных труб, расположенных так, что они пронизывают нижнюю стену 1а и верхнюю стену 1b корпуса 1 печи.
Регенеративные горелки 3, 4, 5, 6 непрерывного горения, применяемые в данном изобретении, расположены на стене печи корпуса 1 печи, причем первые горелки 3, 4, 5, 6 распределены таким образом, что реакционные трубы 7 находятся между ними. Регенеративные горелки 3, 4, 5, 6 непрерывного горения получены путем объединения первых горелок 3а, 4а, 5а, 6а для сгорания топлива в топочной камере 2 и агрегатов 3b, 4b, 5b, 6b для подачи воздуха для неполного сгорания для первых горелок. Агрегаты 3b, 4b, 5b, 6b подачи воздуха для неполного сгорания для первых горелок соответственно имеют один или более воздухопроницаемых регенераторов (не показаны). Агрегаты 3b, 4b, 5b, 6b для подачи воздуха для неполного сгорания для первых горелок выполнены с обеспечением возможности выпуска отходящего газа из топочной камеры 2 наружу из реакционной печи через воздухопроницаемые регенераторы (не показаны), а также подачи в первые горелки За, 4а, 5а, 6а воздуха для сгорания, нагретого до высокой температуры с помощью физического тепла, запасенного в одном или более регенераторов. Поскольку такая конструкция регенеративных горелок непрерывного горения подробно описана в публикациях выложенных японских патентных заявок №№223335/1999 и 39138/2000, их описания здесь опущены.
Температура нагревания воздуха для сгорания определяется различными факторами, такими, как переключение или скорость вращения регенераторов, включенных в состав агрегатов 3b, 4b, 5b, 6b для подачи воздуха для неполного сгорания для первых горелок, а также воздухопроницаемость и длина регенераторов. В рассматриваемом конкретном варианте осуществления эти факторы определены таким образом, что температура воздуха для сгорания повышается до 800°С или более. Естественно, материалы для соответствующих секций выбирают так, чтобы они могли выдерживать такую высокую температуру. В задней части агрегатов 3b, 4b, 5b, 6b для подачи воздуха для неполного сгорания для первых горелок предусмотрена коробчатая конструкция. Эта коробчатая конструкция включает в себя короб воздуха (не показан) для подачи воздуха для сгорания и короб отходящего газа (не показан) для выпуска отходящего газа. Кроме того, в задней части коробчатой конструкции расположены воздушный вентилятор приточной вентиляции, предназначенный для принудительной подачи воздуха в короб воздуха, и воздушный вентилятор искусственной тяги, предназначенный для отвода отходящего газа из короба отходящего газа.
Как показано в этом конкретном варианте осуществления, когда используются четыре регенеративные горелки 3, 4, 5, 6 непрерывного горения, собирают четыре коробчатые конструкции для получения сборной коробчатой конструкции для каждой из этих регенеративных горелок. Как правило, сборная коробчатая конструкция обеспечивает один воздушный вентилятор приточной вентиляции и один воздушный вентилятор искусственной тяги для подачи воздуха для сгорания и выпуска отходящего газа. В этом конкретном варианте осуществления две регенеративные горелки 3, 4 непрерывного горения расположены с одной стороны от группы реакционных труб 7 для впрыскивания топлива вдоль осевого направления реакционных труб 7. Еще две регенеративные горелки 5, 6 непрерывного горения расположены с другой стороны от группы реакционных труб 7 для впрыскивания топлива вдоль осевого направления реакционных труб 7. На фиг.1 потоки воздуха для сгорания из регенеративных горелок 3, 4, 5, 6 соответственно обозначены стрелками.
Каждая из семи реакционных труб 7 расположена в шести вершинах и в центре шестиугольника. Вторые горелки 8 расположены таким образом, что они обращены в пространство, ограниченное между двумя или более соседними трубами 7 группы из семи реакционных труб 7. Четыре вторые горелки 8 соответственно расположены с обеспечением возможности впрыскивания топлива в осевом направлении труб в пространство, ограниченное между любыми двумя соседними трубами из семи реакционных труб 7. Эти вторые горелки 8 соответственно закреплены в области крепления на нижней стене 1а, где предусмотрены реакционные трубы 7.
На одной боковой стене 1с корпуса 1 печи расположены через некоторый интервал в вертикальном направлении два агрегата 10, 11 для подачи воздуха для неполного сгорания для вторых горелок. Эти два агрегата 10, 11 для подачи воздуха для неполного сгорания имеют такую же конструкцию, как вышеупомянутые регенеративные горелки 3, 4, 5 и 6 непрерывного горения, за исключением горелок. В частности, эти два агрегата 10, 11 для подачи воздуха для неполного сгорания для вторых горелок соответственно включают в себя регенератор, поворотный механизм и воздушные вентиляторы. Эти два агрегата 10, 11 для подачи воздуха для неполного сгорания выполнены с возможностью выпуска отходящего газа из топочной камеры 2 наружу из печи через воздухопроницаемые регенераторы, а также для подачи ко вторым горелкам 8 воздуха для сгорания, нагретого до высокой температуры с помощью физического тепла, запасенного в регенераторах. Количество воздуха, подаваемого агрегатами 10, 11 для подачи воздуха для неполного сгорания, задают составляющим менее 50% количества воздуха, теоретически необходимого для полного сгорания того количества топлива, которое подается вторыми горелками 8. Это количество воздуха предпочтительно составляет менее 30%, а более предпочтительно – от 5 до 20%.
При этой компоновке реакционные трубы 7 нагреваются и излучаемым теплом газообразных продуктов сгорания, выпускаемых из горелок, и излучаемым теплом, идущим от стены печи. Реализуя горение в этом конкретном варианте осуществления таким образом, что температура в топочной камере достигает 800°С или более, можно уменьшить разность температур между температурными полями в топочной камере 2, где предусмотрены реакционные трубы 7.
Исследования, проведенные авторами настоящего изобретения, выявили, что большая разность температур достигается между температурными полями, или локальный перегрев в каждой реакционной трубе возникает за счет тепла из вторых горелок 8 в начале сгорания, когда вторые горелки 8 используются непосредственно с самого начала сгорания. Как только в топочной камере 2 достигается состояние сгорания на воздухе, имеющем высокую температуру, между температурными полями достигается разность температур, если работают только первые горелки За, 4а, 5а, 6а. В соответствии с настоящим изобретением, для повышения температуры в топочной камере 2 до тех пор, пока не будет достигнуто состояние сгорания на воздухе, имеющем высокую температуру, используют в основном только первые горелки 3а, 4а, 5а, 6а. В течение периода, проходящего до достижения состояния сгорания на воздухе, имеющем высокую температуру, в топочной камере 2, вторые горелки 8 можно использовать для сгорания топлива при условии, что они не дают существенного эффекта. В частности, вторые горелки 8 можно использовать для сгорания до такой степени, что при этом не вызываются ни локальный перегрев, ни закоксование. В таком случае работают главным образом первые горелки 3а, 4а, 5а, 6а, повышая температуру в топочной камере 2 до тех пор, пока не будет достигнуто состояние сгорания на воздухе, имеющем высокую температуру. Состояние «сгорания на воздухе, имеющем высокую температуру» определяется как состояние, при котором температура топочной камеры 2 составляет 800°С или более.
После достижения состояния сгорания на воздухе, имеющем высокую температуру, в топочной камере 2, зажигают вторые горелки 8 для сгорания или увеличивают интенсивность горения вторых горелок 8. Сразу же после достижения состояния сгорания на воздухе, имеющем высокую температуру, интенсивность горения первых горелок 3а, 4а, 5а, 6а уменьшают в соответствии с увеличением интенсивности горения вторых горелок 8, чтобы тем самым достичь необходимое состояние сгорания. Сразу же после достижения необходимого состояния сгорания отношение интенсивностей горения первых горелок 3а, 4а, 5а, 6а и вторых горелок 8 поддерживают на уровне, соответствующем состоянию необходимого сгорания.
Состояние необходимого сгорания зависит от желаемого режима работы. Например, чтобы достичь состояние сгорания, при котором распределение температуры по стенке трубы для каждой из реакционных труб 7 не становится неравномерным в окружном направлении каждой реакционной трубы 7, отношение интенсивностей горения первых горелок 3а, 4а, 5а, 6а и вторых горелок 8 предпочтительно задают в диапазоне от 50:50 до 0:100. Количества воздуха, подаваемого в топочную камеру 2 агрегатами 3b, 4b, 5b, 6b для подачи воздуха для неполного сгорания для первых горелок и двумя агрегатами 10, 11 для подачи воздуха для неполного сгорания для второй горелки, которые образуют агрегат теплообменного типа для подачи воздуха для сгорания, определяются так, чтобы среднее значение концентраций кислорода в отходящем газе оказывалось в диапазоне от 3,5 до 6%.
На фиг.2 показаны измеренные средние значения максимальной разности в распределении температур по стенке трубы в окружном направлении для каждой реакционной трубы, когда отношение интенсивностей горения первых горелок 3а, 4а, 5а, 6а и вторых горелок 8 изменяется в диапазоне от 0 до 100% после достижения состояния сгорания на воздухе, имеющем высокую температуру, в компоновке, показанной на фиг.1. Как показано на фиг.2, после достижения состояния сгорания на воздухе, имеющем высокую температуру, разность температур в распределении температур по стенкам труб становится меньше, когда интенсивность горения первых горелок 3а, 4а, 5а, 6а уменьшается до 0% в соответствии с увеличением интенсивности горения вторых горелок 8 до 100%.
На фиг.3 показаны результаты измерения взаимосвязи процента использования вторых горелок с концентрациями NOx в отходящем газе применительно к случаю (А), иллюстрируемому в этом варианте осуществления, когда вторые горелки 8 предусмотрены на нижней стене 1а корпуса печи 1 (на поде печи), и применительно к случаю (В), иллюстрируемому в еще одном варианте осуществления, когда вторые горелки предусмотрены на верхней стене 1b корпуса 1 печи (на потолке печи). Как показано на чертеже, после достижения состояния сгорания на воздухе, имеющем высокую температуру, количество NOx можно уменьшить независимо от того, где предусмотрены вторые горелки, за счет уменьшения интенсивности горения первых горелок 3а, 4а, 5а, 6а до 0% в соответствии с увеличением интенсивности горения вторых горелок 8 до 100%.
Далее, на фиг.4 представлены переходы, выраженные в частях NOx и СО на миллион частей отходящего газа, полученные за счет изменения доли воздуха (остаточных концентраций кислорода), подаваемого в топочную камеру 2, когда отношение интенсивностей горения первых горелок 3а, 4а, 5а, 6а и вторых горелок 8 составляет 0:100 после достижения состояния сгорания на воздухе, имеющем высокую температуру. Из фиг.4 следует, что количество NOx демонстрирует тенденцию к увеличению в то время, как количество СО постепенно уменьшается при увеличении доли воздуха (остаточных концентраций кислорода).
На фиг.5 показаны измеренные средние значения максимальной разности в распределении температур по стенке трубы в окружном направлении для каждой реакционной трубы 7, полученные за счет изменения доли воздуха (остаточных концентраций кислорода), подаваемого в топочную камеру 2, когда отношение интенсивностей горения первых горелок 3а, 4а, 5а, 6а и вторых горелок 8 составляет 40:60 после достижения состояния сгорания на воздухе, имеющем высокую температуру. Как явствует из фиг.5, после достижения состояния сгорания на воздухе, имеющем высокую температуру, разность температур вдоль стенок труб становится меньше, когда возрастают концентрации кислорода в топочной камере 2. Ввиду тенденции к увеличению или уменьшению NOx и аналогичной тенденции в отношении СО, проиллюстрированных на фиг.4, предпочтительные остаточные концентрации кислорода составляют от 3 до 6%. В этом варианте осуществления наилучшим является тот режим работы, при котором отношение интенсивностей горения в конце составляет 0:100, а концентрации кислорода составляют 6%.
Известно, что интенсивность горения для первых горелок 3а, 4а, 5а, 6а в предпочтительном варианте задают большей, чем интенсивность горения для вторых горелок 8, чтобы как можно больше увеличить количество получаемого тепла – или кпд при теплопередаче – без существенного увеличения разности температур между температурными полями.
В этом варианте осуществления позиционная взаимосвязь четырех регенеративных горелок 3, 4, 5, 6 непрерывного горения (первых горелок) с восемью регенеративными горелками 8, 9 определяется таким образом, что количество тепла, получаемого семью реакционными трубами 7, становится больше единицы при допущении, что количество тепла, получаемого реакционными трубами 7, равно единице, когда семь реакционных труб 7 нагреваются только четырьмя регенеративными горелками 3, 4, 5, 6. Как указано ниже, в этом варианте осуществления отношение интенсивностей горения регенеративных горелок (первых горелок) 3, 4, 5, 6 и вторых горелок 8, 9 составляет 80:20.
При отношении интенсивностей горения, составляющем 80:20, количество получаемого тепла каждой из реакционных труб можно увеличить даже в случае, если компоновка первых горелок 3а, 4а, 5а, 6а и компоновка вторых горелок 8 изменены возможными способами. При отношениях интенсивностей горения в диапазоне от 80:20 до 50:50 количество получаемого тепла также можно увеличить, хотя значение прироста при этом будет другим.
Можно рассмотреть различные компоновки первых горелок и вторых горелок. Как показано в этом варианте, первые горелки 3а, 4а, 5а, 6а предпочтительно неподвижно закреплены на нижней стене 1а (на поде печи), а вторые горелки 8 неподвижно закреплены на верхней стене 1b (на потолке печи). При такой компоновке воздух для сгорания для первых горелок 3а, 4а, 5а, 6а и часть тепла из первых горелок 3а, 4а, 5а, 6а достигают окрестности вторых горелок 8, способствуя этим нагреванию реакционных труб 7, находящихся в окрестности вторых горелок 8. Следовательно, в случае, когда вторые горелки 8 расположены на том же стеновом участке, что и первые горелки, количество тепла, получаемого каждой из реакционных труб, можно легко увеличить, не допуская локальный перегрев в каждой из реакционных труб.
В предпочтительном варианте вторые горелки выполнены с возможностью формирования пламени неполного сгорания, при котором максимальная температура газов достигает 500°С или более. Например, согласно концептуальному изображению, представленному на фиг.6, опуская вторые горелки 8 на некоторое заданное расстояние ниже уровня 1х стены, характерного для стены печи, и сооружая камеру 12 смешения топлива с воздухом перед вторыми горелками 8, можно получить пламя неполного сгорания.
Вторые горелки не обязательно должны быть расположены через одинаковый интервал. Вторые горелки могут быть расположены так, как показано на фиг.7.
Как свидетельствуют фиг.8-15, вторые горелки можно располагать по-разному. Фиг.8-15 иллюстрируют разные компоновки, соответствующие настоящему изобретению. На этих чертежах элементы, совпадающие с теми, которые изображены на фиг.1, обозначены теми же позициями, что и элементы, изображенные на фиг.1, а их описания опущены.
На фиг.8 показан еще один вариант осуществления реакционной печи, соответствующей настоящему изобретению. В этом варианте осуществления первые горелки 3, 4, 5 и 6 расположены снаружи от реакционных труб 7 и неподвижно закреплены на боковой стене 1с стены 1 для впрыскивания топлива в направлении протяженности упомянутых реакционных труб или в направлении, поперечном по отношению к направлению протяженности реакционных труб 7. В этом варианте осуществления четыре вторые горелки 8 неподвижно закреплены в области крепления, находящейся на нижней стене 1а, и четыре вторые горелки 9 неподвижно закреплены в области крепления, находящейся на верхней стене 1b, таким образом, что вторые горелки впрыскивают топливо в продольном направлении семи реакционных труб 7 в пространство, ограниченное между двумя или более соседними трубами из числа реакционных труб 7. На боковой стене 1с корпуса 1 камеры два агрегата 10, 11 для подачи воздуха для неполного сгорания для вторых горелок расположены через некоторый интервал в продольном направлении. Эти два агрегата 10, 11 для подачи воздуха для неполного сгорания имеют такую же конструкцию, как вышеупомянутые регенеративные горелки 3, 4, 5 и 6 непрерывного горения, за исключением горелок. В частности, эти два агрегата 10, 11 для подачи воздуха для сгорания для вторых горелок соответственно включают в себя регенератор, поворотный механизм и воздушные вентиляторы. Эти два агрегата 10, 11 для подачи воздуха для сгорания выполнены с возможностью выпуска отходящего газа из топочной камеры 2 наружу из печи через воздухопроницаемые регенераторы, а также для подачи во вторые горелки 8, 9 воздуха для сгорания, нагретого до высокой температуры с помощью физического тепла, запасенного в регенераторах. Количество воздуха, подаваемого агрегатами 10, 11 для подачи воздуха для сгорания, задают составляющим менее 50% количества воздуха, теоретически необходимого для полного сгорания того количества топлива, которое подается вторыми горелками 8, 9.
На фиг.9 представлен условный вид, показывающий конфигурацию еще одного варианта осуществления реакционной печи, соответствующей настоящему изобретению. Этот вариант осуществления отличается от того, который показан на фиг.8, тем, что предусмотрены только четыре вторые горелки 9 на верхней стене 1b.
На фиг.10 представлен условный вид, показывающий конфигурацию еще одного варианта осуществления реакционной печи, соответствующей настоящему изобретению. Этот вариант осуществления отличается от того, который показан на фиг.8, тем, что предусмотрены только четыре вторые горелки 8 на нижней стене 1а.
На фиг.11 представлен условный вид, показывающий конфигурацию еще одного варианта осуществления реакционной печи, соответствующей изобретению. Этот вариант осуществления отличается от того, который показан на фиг.8, тем, что предусмотрены только четыре вторые горелки 8 на нижней стене 1а, а четыре регенеративные горелки 3, 4, 5, 6 непрерывного горения неподвижно прикреплены к верхней стене 1b. На фиг.11 не показаны два агрегата 10, 11 для подачи воздуха для сгорания для вторых горелок (которые показаны на фиг.8). В этом варианте осуществления, показанном на фиг.11, две регенеративные горелки 3, 4 непрерывного горения расположены с одной стороны от группы реакционных труб 7 для впрыскивания топлива в направлении протяжения труб, а две регенеративные горелки 5, 6 непрерывного горения расположены с другой стороны от группы реакционных труб 7 для впрыскивания топлива в направлении протяжения труб.
На фиг.12 представлен условный вид, показывающий конфигурацию еще одного варианта осуществления реакционной печи, соответствующей настоящему изобретению. Этот вариант осуществления отличается от того, который показан на фиг.8, тем, что предусмотрены только четыре вторые горелки 9 на верхней стене 1b, а четыре регенеративные горелки 3, 4, 5, 6 непрерывного горения неподвижно прикреплены к нижней стене 1а. На фиг.12 не показаны два агрегата 10, 11 для подачи воздуха для сгорания для вторых горелок (которые показаны на фиг.8). В этом варианте осуществления, показанном на фиг.12, две регенеративные горелки 3, 4 непрерывного горения расположены с одной стороны от группы реакционных труб 7 для впрыскивания топлива в направлении протяжения труб, а две регенеративные горелки 5, 6 непрерывного горения расположены с другой стороны от группы реакционных труб 7 для впрыскивания топлива в направлении протяжения труб.
В таблице показаны переходы в количестве получаемого тепла – или кпд теплопередачи – для каждой из реакционных труб 7, когда отношение интенсивностей горения регенеративных горелок 3, 4, 5, 6 непрерывного горения и вторых горелок 8 или 9 изменяется в связи с вариантами осуществления, показанными на фиг.8-12.
| |
| Варианты осуществления |
фиг.8 |
фиг.9 |
фиг.10 |
фиг.11 |
фиг.12 |
| Отношение интенсивностей горения |
кпд теплопередачи |
| 100%:0% |
0.83 |
0.83 |
0.83 |
0.98 |
1.00 |
| 80%:20% |
1.09 |
0.90 |
0.92 |
1.03 |
1.05 |
| 50%:50% |
0.90 |
0.84 |
0.92 |
0.93 |
0.93 |
| 20%:80% |
0.87 |
0.80 |
0.93 |
0.92 |
0.93 |
В этой таблице показаны количества тепла, получаемого реакционными трубами 7, в связи с вариантами осуществления, показанными на фиг.8-12, при допущении, что количество тепла, получаемого реакционными трубами 7, равно единице, когда для обеспечения сгорания используются только регенеративные горелки 3, 4, 5, 6 непрерывного горения, без использования вторых горелок 9 в конкретном варианте осуществления, показанном на фиг.12. Кроме того, цифры, указанные в таблице, обозначают кпд теплопередачи. В столбце отношения интенсивностей горения указано отношение интенсивностей горения «регенеративных горелок 3, 4, 5, 6 непрерывного горения (первых горелок) и вторых горелок 8, 9». Как явствует из таблицы, кпд сгорания больше единицы, когда отношение интенсивностей горения составляет 80:20 в вариантах осуществления, показанных на фиг.8, 11 и 12. В этих вариантах осуществления, показанных на фиг.8-12, кпд сгорания максимизируется с достижением значения больше единицы, когда отношение интенсивностей горения составляет 80:20, при допущении, что количество тепла, получаемого для каждого из этих вариантов осуществления, определяется как единица при отношении интенсивностей горения, составляющем «100%:0%». Следовательно, в любом из этих вариантов осуществления отношение интенсивностей горения предпочтительно составляет 80:20.
На фиг.13-15 показаны другие варианты осуществления, в которых расположения регенеративных горелок 3, 4, 5, 6 непрерывного горения и вторых горелок 8, 9 отличаются друг от друга. В этих вариантах осуществления, как описано выше, можно максимизировать кпд сгорания, задавая отношение интенсивностей горения равным 80:20.
В каждом из вышеупомянутых вариантов осуществления вторые горелки и агрегаты для подачи воздуха для неполного сгорания для вторых горелок выполнены раздельными. Вместе с тем, вторые горелки и агрегаты для подачи воздуха для неполного сгорания для вторых горелок можно все вместе скомпоновать так, что они образуют систему одной горелки, а именно, образуют регенеративные горелки непрерывного горения.
В этих вариантах осуществления используются регенеративные горелки непрерывного горения того типа, в которых реализуется сгорание на воздухе, имеющем высокую температуру. Конечно, можно также использовать регенеративные горелки других типов, например, вращающиеся регенеративные горелки и регенеративные горелки с чередующейся подачей.
Промышленная применимость
В соответствии с настоящим изобретением, можно предотвратить ситуацию, в которой разность температур между температурными полями внутри реакционной печи станет настолько большой, что это приведет к образованию трещин в реакционных трубах или закоксованию в начале сгорания. Кроме того, ситуацию, в которой разность температур между температурными полями внутри реакционной печи станет настолько большой, что это приведет к образованию трещин в реакционных трубах или закоксованию, можно предотвратить путем уменьшения интенсивности горения первых горелок в соответствии с увеличением интенсивности горения одной или более вторых горелок после достижения состояния сгорания на воздухе, имеющем высокую температуру, в топочной камере реакционной печи.
Формула изобретения
1. Способ управления сгоранием в реакционной печи, содержащей
корпус печи, имеющий стену печи, которая окружает заключенную в ней топочную камеру, совокупность реакционных труб, предусмотренных между парой противоположных стеновых участков упомянутой стены печи упомянутого корпуса печи и расположенных рядом друг с другом, проходя в одном и том же направлении, совокупность первых горелок, которые расположены снаружи от упомянутых реакционных труб и предусмотрены на упомянутой стене печи в упомянутом корпусе печи для сгорания топлива в упомянутой топочной камере, одну или более вторых горелок, неподвижно закрепленных, по меньшей мере, в одной из парных областей крепления упомянутых парных стеновых участков, где предусмотрены упомянутые реакционные трубы, для впрыскивания топлива в осевом направлении упомянутых реакционных труб в пространство, ограниченное между двумя или более соседними трубами из числа реакционных труб, и агрегат теплообменного типа для подачи воздуха для сгорания для выпуска отходящего газа из упомянутой топочной камеры наружу из упомянутой реакционной печи через воздухопроницаемое регенерирующее средство и подачи в упомянутую топочную камеру воздуха для сгорания, нагретого до высокой температуры с помощью физического тепла, запасенного в упомянутом регенерирующем средстве, при этом способ включает в себя этапы, на которых обеспечивают работу только упомянутых первых горелок для сгорания топлива для повышения температуры в упомянутой топочной камере до тех пор, пока внутри упомянутой топочной камеры не возникнет состояние сгорания на воздухе, имеющем высокую температуру, обеспечивают работу упомянутой одной или более вторых горелок для сгорания топлива после того, как в упомянутой топочной камере достигнуто состояние сгорания на воздухе, имеющем высокую температуру, и уменьшают интенсивность горения упомянутых первых горелок с увеличением интенсивности горения упомянутой одной или более вторых горелок, чтобы достичь необходимое состояние сгорания.
2. Способ управления сгоранием в реакционной печи по п.1, при котором отношение интенсивности горения упомянутых первых горелок к интенсивности горения упомянутой одной или более вторых горелок поддерживают на уровне, соответствующем упомянутому необходимому состоянию сгорания, после того, как упомянутое необходимое состояние сгорания достигнуто.
3. Способ управления сгоранием в реакционной печи по п.2, при котором отношение интенсивности горения упомянутых первых горелок к интенсивности горения упомянутой одной или более вторых горелок находится в диапазоне от 80:20 до 0:100.
4. Способ управления сгоранием в реакционной печи по п.1, при котором упомянутого необходимого состояния сгорания достигают таким образом, что распределение температур по стенке трубы в окружном направлении упомянутой реакционной трубы не становится исключительно неравномерным для каждой из упомянутых реакционных труб.
5. Способ управления сгоранием в реакционной печи по п.4, при котором отношение интенсивности горения упомянутых первых горелок к интенсивности горения упомянутой одной или более вторых горелок находится в диапазоне от 50:50 до 0:100.
6. Способ управления сгоранием в реакционной печи по п.5, при котором количество воздуха, подаваемого в упомянутую топочную камеру упомянутым агрегатом теплообменного типа для подачи воздуха для сгорания, определяют таким образом, что среднее значение концентраций кислорода в упомянутом отходящем газе оказывается в диапазоне от 3,5 до 6%.
7. Способ управления сгоранием в реакционной печи, содержащей корпус печи, имеющий стену печи, которая окружает заключенную в ней топочную камеру, совокупность реакционных труб, предусмотренных между парой противоположных стеновых участков упомянутой стены печи упомянутого корпуса печи и расположенных рядом друг с другом, проходя в одном и том же направлении, совокупность первых горелок, которые расположены снаружи от упомянутых реакционных труб и предусмотрены на упомянутой стене печи в упомянутом корпусе печи для сгорания топлива в упомянутой топочной камере, одну или более вторых горелок, неподвижно закрепленных, по меньшей мере, в одной из парных областей крепления упомянутых парных стеновых участков, где предусмотрены упомянутые реакционные трубы, для впрыскивания топлива в осевом направлении упомянутых реакционных труб в пространство, ограниченное между двумя или более соседними трубами из числа реакционных труб, и агрегат теплообменного типа для подачи воздуха для сгорания для выпуска отходящего газа из упомянутой топочной камеры наружу из упомянутой реакционной печи через воздухопроницаемое регенерирующее средство и подачи в упомянутую топочную камеру воздуха для сгорания, нагретого до высокой температуры с помощью физического тепла, запасенного в упомянутом регенерирующем средстве, при этом способ включает в себя этапы, на которых вначале обеспечивают работу упомянутых первых горелок для сгорания топлива для повышения температуры в упомянутой топочной камере до тех пор, пока внутри упомянутой топочной камеры не возникнет состояние сгорания на воздухе, имеющем высокую температуру, увеличивают интенсивность горения упомянутой одной или более вторых горелок после того, как состояние сгорания на воздухе, имеющем высокую температуру, достигнуто в упомянутой топочной камере, и уменьшают интенсивность горения упомянутых первых горелок в соответствии с увеличением интенсивности горения упомянутой одной или более вторых горелок, чтобы таким образом достичь необходимое состояние сгорания.
8. Способ управления сгоранием в реакционной печи по п.7, при котором отношение интенсивности горения упомянутых первых горелок к интенсивности горения упомянутой одной или более вторых горелок поддерживают на уровне, соответствующем упомянутому необходимому состоянию сгорания, после того, как упомянутое необходимое состояние сгорания достигнуто.
9. Способ управления сгоранием в реакционной печи по п.8, при котором отношение интенсивности горения упомянутых первых горелок к интенсивности горения упомянутой одной или более вторых горелок находится в диапазоне от 80:20 до 0:100.
10. Способ управления сгоранием в реакционной печи по п.7, при котором упомянутое необходимое состояние сгорания достигают таким образом, что распределение температур по стенке трубы в окружном направлении упомянутой реакционной трубы не становится исключительно неравномерным для каждой из упомянутых реакционных труб.
11. Способ управления сгоранием в реакционной печи по п.10, при котором отношение интенсивности горения упомянутых первых горелок к интенсивности горения упомянутой одной или более вторых горелок находится в диапазоне от 50:50 до 0:100.
12. Способ управления сгоранием в реакционной печи по п.11, при котором количество воздуха, подаваемого в упомянутую топочную камеру упомянутым агрегатом теплообменного типа для подачи воздуха для сгорания определяют таким образом, что среднее значение концентраций кислорода в упомянутом отходящем газе оказывается в диапазоне от 3,5 до 6%.
13. Реакционная печь, содержащая корпус печи, имеющий стену печи, которая окружает заключенную в ней топочную камеру, совокупность реакционных труб, предусмотренных между парой противоположных стеновых участков упомянутой стены печи упомянутого корпуса печи и расположенных рядом друг с другом, проходя в одном и том же направлении, совокупность первых горелок, которые расположены снаружи от упомянутых реакционных труб и предусмотрены на упомянутой стене печи в упомянутом корпусе печи для сгорания топлива в упомянутой топочной камере, совокупность агрегатов для подачи воздуха для неполного сгорания для упомянутых первых горелок, расположенных снаружи от упомянутых реакционных труб, причем эти агрегаты выполнены с возможностью выпуска отходящего газа из упомянутой топочной камеры наружу из упомянутой реакционной печи через один или более воздухопроницаемых регенераторов и с возможностью подачи в упомянутые первые горелки воздуха для сгорания, нагретого до высокой температуры с помощью физического тепла, запасенного в упомянутых одном или более регенераторах, одну или более вторых горелок, неподвижно закрепленных, по меньшей мере, в одной из парных областей крепления упомянутых парных стеновых участков, где предусмотрены упомянутые реакционные трубы, для впрыскивания топлива в осевом направлении упомянутых реакционных труб в пространство, ограниченное между двумя или более соседними трубами из числа реакционных труб, и один или более агрегатов для подачи воздуха для неполного сгорания для упомянутой одной или более вторых горелок, причем эти агрегаты выполнены с возможностью выпуска отходящего газа из упомянутой топочной камеры наружу из упомянутой реакционной печи через один или более воздухопроницаемых регенераторов и с возможностью подачи в упомянутую одну или более вторых горелок воздуха для сгорания, нагретого до высокой температуры с помощью физического тепла, запасенного в упомянутых одном или более регенераторах, при этом отношение интенсивности горения упомянутых первых горелок к интенсивности горения упомянутой одной или более вторых горелок находится в диапазоне от 50:50 до 0:100, когда внутри упомянутой топочной камеры возникает состояние сгорания на воздухе, имеющем высокую температуру.
14. Реакционная печь по п.13, в которой количество воздуха, подаваемого в упомянутую топочную камеру упомянутым агрегатом для подачи воздуха для неполного сгорания для упомянутой первой горелки, и/или количество воздуха, подаваемого в упомянутую топочную камеру упомянутым агрегатом для подачи воздуха для неполного сгорания для упомянутой второй горелки, определено таким образом, что среднее значение концентраций кислорода в упомянутом отходящем газе оказывается в диапазоне от 3,5 до 6%.
15. Реакционная печь по п.13, в которой упомянутые первые горелки неподвижно закреплены на одном из упомянутых парных стеновых участков, а упомянутые вторые горелки неподвижно закреплены на другом стеновом участке.
16. Реакционная печь по п.15, в которой упомянутые вторые горелки выполнены с обеспечением возможности формирования пламени неполного сгорания, при котором максимальная температура газов достигает 500°С или более.
17. Реакционная печь по п.13, в которой упомянутая первая горелка и упомянутый агрегат для подачи воздуха для неполного сгорания для первой горелки объединены в одну регенеративную горелку того типа, в которой реализуется сгорание на воздухе, имеющем высокую температуру, и упомянутая вторая горелка и упомянутый агрегат для подачи воздуха для неполного сгорания для второй горелки объединены в одну регенеративную горелку того типа, в которой реализуется сгорание на воздухе, имеющем высокую температуру.
18. Реакционная печь, содержащая корпус печи, имеющий стену печи, которая окружает заключенную в ней топочную камеру, совокупность первых горелок, которые предусмотрены на упомянутой стене печи в упомянутом корпусе печи для сгорания топлива в упомянутой топочной камере,
совокупность агрегатов для подачи воздуха для неполного сгорания для упомянутых первых горелок, причем эти агрегаты выполнены с возможностью выпуска отходящего газа из упомянутой топочной камеры наружу из упомянутой реакционной печи через один или более воздухопроницаемых регенераторов и с возможностью подачи в упомянутые первые горелки воздуха для сгорания, нагретого до высокой температуры с помощью физического тепла, запасенного в упомянутых одном или более регенераторах, совокупность реакционных труб, установленных между парой противоположных стеновых участков упомянутой стены печи и проходящих в одном и том же направлении,
одну или более вторых горелок, закрепленных, по меньшей мере, в одной из парных областей крепления упомянутых парных стеновых участков, на которых неподвижно закреплены упомянутые реакционные трубы, для впрыскивания топлива в осевом направлении упомянутых реакционных труб в пространство, ограниченное между двумя или более соседними трубами из числа реакционных труб, и один или более агрегатов для подачи воздуха для неполного сгорания для упомянутой одной или более вторых горелок для выпуска отходящего газа из упомянутой топочной камеры наружу из упомянутой реакционной печи через один или более воздухопроницаемых регенераторов и подачи в упомянутую одну или более вторых горелок воздуха для сгорания, нагретого до высокой температуры с помощью физического тепла, запасенного в упомянутых одном или более регенераторах,
при этом совокупность упомянутых первых горелок расположена снаружи от упомянутых реакционных труб и неподвижно закреплена на упомянутой стене печи для впрыскивания топлива в направлении протяженности упомянутых реакционных труб или в направлении, поперечном по отношению к упомянутому направлению протяженности упомянутых реакционных труб, и при этом позиционная взаимосвязь упомянутых первых горелок с упомянутой одной или более вторыми горелками, а также отношение интенсивностей горения упомянутых первых горелок и упомянутой одной или более вторых горелок определяются таким образом, что КПД теплопередачи упомянутых реакционных труб становиться больше единицы, при допущении, что количество тепла, получаемого реакционными трубами, равно единице, когда эти трубы нагреваются только первыми горелками.
19. Реакционная печь по п.18, в которой упомянутые первые горелки неподвижно закреплены на одном из упомянутых парных стеновых участков, а упомянутая одна или более вторых горелок неподвижно закреплены на другом стеновом участке, и упомянутые первые горелки распределены таким образом, что упомянутые реакционные трубы находятся между ними.
20. Реакционная печь по п.18, в которой упомянутая одна или более вторых горелок неподвижно закреплены на любом из упомянутых парных стеновых участков, а упомянутые первые горелки распределены по паре противоположных стеновых участков, не являющихся упомянутыми парными стеновыми участками.
21. Реакционная печь по п.18, в которой отношение интенсивностей горения упомянутых первых горелок и упомянутой одной или более вторых горелок составляет 80:20.
22. Реакционная печь по п.18, в которой упомянутые один или более агрегатов для подачи воздуха для неполного сгорания для упомянутой одной или более вторых горелок расположены с обеспечением возможности подачи упомянутого воздуха для сгорания к упомянутой одной или более вторым горелкам снаружи от упомянутых реакционных труб, а количество воздуха, подаваемого упомянутым агрегатом для подачи воздуха для неполного сгорания для второй горелки, меньше 30% количества топочного воздуха, теоретически необходимого для полного сгорания того количества топлива, которое подается второй горелкой.
23. Реакционная печь по п.22, в которой упомянутые реакционные трубы расположены таким образом, что расстояние между любыми двумя соседними трубами из числа реакционных труб оказывается одинаковым, а упомянутые вторые горелки расположены таким образом, что расстояние между любыми двумя соседними второй горелкой и реакционной трубой оказывается одинаковым.
24. Реакционная печь по п.18, в которой упомянутая первая горелка и упомянутый агрегат подачи воздуха для неполного сгорания для упомянутой первой горелки объединены и составляют одну регенеративную горелку того типа, в которой реализуется сгорание на воздухе, имеющем высокую температуру.
РИСУНКИ
|
|