|
|
(21), (22) Заявка: 2006127171/06, 27.07.2006
(24) Дата начала отсчета срока действия патента:
27.07.2006
(46) Опубликовано: 27.01.2008
(56) Список документов, цитированных в отчете о поиске:
RU 2219218 С2, 20.12.2003. RU 2193731 C1, 27.11.2002. RU 2182679 С2, 20.05.2005. RU 2064123 C1, 20.07.1996. SU 151411 A, 01.03.1968. RU 2094703 С1, 27.10.1997. US 5101558 А, 07.04.1992.
Адрес для переписки:
115088, Москва, Симоновский вал, 26, корп.2, кв.30, В.С. Чайкову
|
(72) Автор(ы):
Липовый Николай Максимович (RU), Банин Виктор Никитович (RU), Веркевич Всеволод Игнатович (RU)
(73) Патентообладатель(и):
ОБЩЕСТВО С ОГРАНИЧЕННОЙ ОТВЕТСТВЕННОСТЬЮ “ФИРМА “ГАЗПРИБОРАВТОМАТИКА” (RU)
|
(54) ТЕХНОЛОГИЧЕСКИЙ НАГРЕВАТЕЛЬ ПРЕИМУЩЕСТВЕННО ДЛЯ СТАБИЛИЗАЦИИ ПРИРОДНОГО ГАЗА В ГАЗООБРАЗНОМ СОСТОЯНИИ И РАДИАЦИОННАЯ ГАЗОВАЯ ГОРЕЛКА ИНФРАКРАСНОГО ИЗЛУЧЕНИЯ
(57) Реферат:
Изобретение предназначено для подогрева жидких нефтепродуктов, газообразных и жидких сред и может быть использовано в трубопроводном транспорте. Технологический нагреватель содержит соединенную с нормализатором давления пара жидкого теплоносителя герметичную емкость, заполненную до ограничителя уровня промежуточным теплоносителем. В верхней части емкости расположен над поверхностью жидкого теплоносителя горизонтальный трубчатый теплообменник, соединенный через коллекторы подвода и отвода подогреваемой среды с магистральным газопроводом. Под горизонтальным теплообменником расположен радиационный теплообменник в виде погруженного в жидкий промежуточный теплоноситель ниже его уровня генератора пара, выполненный из вертикальных проходных жаровых труб, герметично ввареных в днище емкости. Жаровые трубы расположены в несколько рядов, а их верхние и нижние концы сообщаются соответственно с дымовой трубой и камерой сгорания. В камере сгорания, расположенной под днищем герметичной емкости установлена посредством кронштейнов радиационная горелка инфракрасного излучения. Сменная радиационная газовая горелка инфракрасного излучения состоит из основной и дополнительных секций. Каждая секция имеет выпуклый рассекатель, обращенный выпуклостью в сторону набегающей струи газовоздушной смеси. Корпус горелки выполнен в виде прямоугольного каркаса из трубчатых элементов, образующих гнезда, в которых размещены горелочные насадки. Каждое гнездо герметично соединено со своим герметичным кожухом в форме диффузора, соединенным, в свою очередь, герметично с инжектором на участке раздачи газовоздушной смеси сообщающимися с ним каналами. Газовое сопло горелки установлено на коллекторе с газоподводящим патрубком. Передняя по ходу подачи природного газа часть инжектора снабжена воздухозаборником и регулятором подачи воздуха. Сменный горелочный насадок выполнен в виде прямоугольной газопроницаемой пластины из уложенных на решетчатый каркас из переплетенных и образующих ячейки элементов с профилированным поперечным сечением, соединенных в единое целое фибр из жаропрочного и жаростойкого материала с образованием открытой объемной пористости в виде сквозных лабиринтных каналов. Сменный горелочный насадок по периметру окантован Z-образными в поперечном сечении верхней и нижней обечайками. Изобретение обеспечивает повышение КПД, снижение теплопотерь, интенсификацию процессов теплопередачи и повышение надежности. 2 з. и 5 з.п. ф-лы, 4 ил.
Изобретение относится к области трубопроводного транспорта и предназначено для обеспечения стабильного режима транспортировки в газообразном состоянии углеводородов, оно может быть использовано для подогрева жидких нефтепродуктов, газообразных и жидких сред, контакт которых с пламенем и горячими продуктами горения не желателен.
Известен технологический нагреватель из патента Российской Федерации № 2140045, кл.7 F24Н 3/00, 1998 г., содержащий источник греющей среды в виде горелочного устройства, кожухотрубный теплообменник с радиационной секцией, экранированной теплообменными трубами, равнорасположенными относительно внутренней стенки кожуха, дымовую трубу, коллекторы входа и выхода нагреваемой среды.
Недостатками вышеуказанного известного технического решения является его низкий коэффициент полезного действия, повышенный расход топлива, воздействие факела пламени и горячих продуктов горения на поверхность внутреннего конвективного пучка теплообменных труб.
Известно из патента США № 5326631, кл. F23D 14/12, 1993 г. устройство для преобразования энергии горения углеводородов в газообразной фазе в энергию инфракрасного излучения, содержащее матрицу из спеченных металлических и керамических волокон со связующим агентом, образующую пористую структуру.
Недостатками вышеуказанного технического решения являются малый диапазон устойчивой работы и малый диапазон регулирования, обусловленный опасностью проскока пламени на периферии матрицы (где скорость газовоздушной смеси минимальна) при снижении исходного давления углеводородов в газообразной фазе и изменении режимов работы.
Наиболее близким по своей технической сути решением к предложенному технологическому нагревателю преимущественно для стабилизации природного газа в газообразном состоянии является известный из В.Рачук и др. «Космические технологии нефтяной и газовой промышленности», рис.2, «Нефть Газ промышленность», № 1, 2003 г. технологический нагреватель преимущественно для стабилизации природного газа в газообразном состоянии, содержащий заполненную жидким промежуточным теплоносителем емкость, в которой размещены трубчатые конвекционный и радиационный теплообменники, первый из которых соединен с магистральным трубопроводом через коллекторы подвода и отвода подогреваемой среды, а второй – с камерой сгорания и дымовой трубой, в камере сгорания, расположенной под днищем емкости, установлено горелочное устройство.
Недостатками вышеуказанного наиболее близкого технического решения является: низкая эффективность теплопередачи от источника тепла нагреваемому рабочему телу, низкий коэффициент полезного действия, недостаточно высокие экологические показатели, большая металлоемкость и неудовлетворительные весогабаритные характеристики и экономические показатели.
Наиболее близкой по своей технической сущности к предложенной радиационной газовой горелке инфракрасного излучения является известная из патента Российской Федерации № 2094703, кл.6 F23D 14/12, 1996 г. радиационная газовая горелка инфракрасного излучения, содержащая, по крайней мере, одно смонтированное на подводящем патрубке газовое сопло, охватывающий его инжектор с воздухозаборником и регулятором подачи воздуха со смесителем газовоздушной смеси, соединенным с корпусом горелки, в котором размещен сменный горелочный насадок из соединенных в единое целое фибр из жаропрочного и жаростойкого материала с открытой объемной пористостью в виде сквозных лабиринтных каналов.
Недостатками вышеуказанной радиационной газовой горелки инфракрасного излучения являются ее низкие удельные теплоэнергетические характеристики, ее неустойчивая работа в теплонапряженных агрегатах с ограниченными возможностями отвода тепла от элементов конструкции горелки, что инициирует перегрев элементов горелки и эффект проскока пламени.
Задачами предлагаемых изобретений является повышение коэффициента полезного действия, снижение теплопотерь, интенсификация процессов теплопередачи и повышение надежности.
Решение поставленных задач достигается тем, что технологический нагреватель преимущественно для стабилизации природного газа в газообразном состоянии, содержащий заполненную жидким промежуточным теплоносителем емкость, в которой размещены трубчатые конвекционный и радиационный теплообменники, первый из которых соединен с магистральным трубопроводом через коллекторы подвода и отвода подогреваемой среды, а второй – с камерой сгорания и дымовой трубой, а в камере сгорания, расположенной под днищем емкости, установлено горелочное устройство, снабжен герметичной емкостью с ограничителем первоначального уровня жидкого промежуточного теплоносителя в исходном состоянии, сливным патрубком, предохранительным клапаном, установленным на заливной горловине, содержащей горизонтальный трубчатый конвекционный теплообменник, который размещен выше уровня промежуточного жидкого теплоносителя, радиационный теплообменник – в виде генератора пара промежуточного жидкого теплоносителя, выполненный из погруженных в промежуточный жидкий теплоноситель ниже его уровня, герметично вваренных нижними сообщающимися с камерой сгорания концами в днище герметичной емкости проходных жаровых трубах, расположенных в несколько рядов в шахматном порядке и порядно соединенных верхними концами через объединяющий их коллектор с дымовой трубой, нормализатором давления пара промежуточного жидкого теплоносителя, соединенным посредством уравнительного и возвратного трубопроводов с герметичной емкостью, горелочным устройством, выполненным в виде сменной радиационной горелки инфракрасного излучения, подключенной через инжектор к газопроводу низкого давления, причем сменная радиационная горелка инфракрасного излучения установлена в камере сгорания посредством размещенных равномерно по периметру и равноудаленных от днища герметичной емкости кронштейнов, температура кипения промежуточного жидкого теплоносителя составляет 80-200°С, а суммарная площадь Sсум проходного сечения жаровых труб радиационного теплообменника и объем Vв промежуточного жидкого теплоносителя, заполняющего полость герметичной емкости, превышают площадь Sдт проходного сечения дымовой трубы и объем Vве промежуточного жидкого теплоносителя, заполняющего нормализатор давления пара промежуточного жидкого теплоносителя соответственно в 10-20 и 5-10 раз, а радиационная газовая горелка инфракрасного излучения, содержащая, по крайней мере, одно смонтированное на подводящем патрубке газовое сопло, охватывающий его инжектор с воздухозаборником и регулятором подачи воздуха со смесителем газовоздушной смеси, соединенным с корпусом горелки, в котором размещен сменный горелочный насадок из соединенных в единое целое фибр из жаропрочного и жаростойкого материала с открытой объемной пористостью в виде сквозных лабиринтных каналов, снабжена дополнительными, расположенными последовательно с основной секциями, каждая секция – выпуклым рассекателем, обращенным выпуклостью в сторону набегающей струи газовоздушной смеси и охватывающим последний герметичным кожухом в виде диффузора, соединенного посредством герметичных каналов со смесителем газовоздушной смеси инжектора, сменный горелочный насадок каждой секции – обрамляющей его по периметру окантовкой и несущим решетчатым каркасом из переплетенных и образующих ячейки элементов с профилированным поперечным сечением, корпус выполнен в виде прямоугольного каркаса из жестко соединенных трубчатых элементов, образующих гнезда для размещения сменных горелочных насадков, герметично соединенных с кожухами секций, а толщина Н каждого сменного горелочного насадка составляет 0,05 -0,20 его длины L, причем размер d профилированного поперечного сечения элементов образующих несущие решетчатые каркасы сменных горелочных насадков и размер h каждой ячейки упомянутого каркаса составляют соответственно 0,01-0,1 и 0,2-1,0 толщины Н сменного горелочного насадка.
Кроме того, в технологическом нагревателе преимущественно для стабилизации природного газа в газообразном состоянии нормализатор давления пара промежуточного жидкого теплоносителя может быть снабжен размещенными во вспомогательной с заливной горловиной, возвратным и уравнительным трубопроводами емкости, стабилизирующим трубчатым теплообменником и вертикальной дыхательной трубкой, соединенными друг с другом нижними концами, причем верхний конец стабилизирующего трубчатого теплообменника соединен посредством уравнительного трубопровода с верхней частью герметичной емкости, а возвратный трубопровод соединяет вспомогательную емкость и герметичную емкость ниже уровня поверхности вышеупомянутого теплоносителя, причем камера сгорания может быть выполнена охлаждаемой, при этом корпус радиационной газовой горелки инфракрасного излучения может быть выполнен из трубчатых элементов с полостями, сообщающимися между собой и герметичной емкостью, а окантовка сменного горелочного насадка может быть выполнена из охватывающих последний по периметру и связанных друг с другом неразъемным соединением верхней и нижней с Z-образным поперечным сечением обечаек, причем высота t окантовки может составлять 0,8-0,9 толщины Н сменного горелочного насадка. Горелка выполнена охлаждаемой, а полости трубчатых элементов ее корпуса сообщаются с герметичной емкостью и выполнены с окнами для прохода вторичного воздуха.
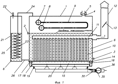
Сущность изобретений поясняется чертежами, где на фиг.1 схематично изображен общий вид технологического нагревателя преимущественно для стабилизации природного газа в газообразном состоянии, в разрезе; на фиг.2 схематично изображен общий вид радиационной газовой горелки инфракрасного излучения в разрезе; на фиг.3 – схематично изображен общий вид горелочного насадка в разрезе; на фиг.4 – поперечный разрез фиг.3 в увеличенном масштабе.
Технологический нагреватель преимущественно для стабилизации природного газа в газообразном состоянии состоит из герметичной емкости 1 с ограничителем 2 первоначального уровня жидкого промежуточного теплоносителя в исходном состоянии, сливным патрубком 3 и съемным установленным на заливной горловине 4 предохранительным клапаном 5, заполненной до ограничителя 2 жидким промежуточным теплоносителем 6. В верхней части герметичной емкости 1 установлен горизонтально над поверхностью жидкого промежуточного теплоносителя 6 сообщающийся с магистральным трубопроводом (на чертежах условно не показан) через коллекторы подвода 7 и отвода 8 подогреваемой среды конвекционный трубчатый теплообменник 9. Под конвекционным трубчатым теплообменником 9 установлен с зазором радиационный трубчатый теплообменник, представляющий собой полностью погруженный в жидкий промежуточный теплоноситель 6 генератор пара жидкого промежуточного теплоносителя 6 из расположенных в шахматном порядке в несколько рядов вертикальных проходных жаровых труб 10, верхние концы которых порядно соединены через объединяющий их коллектор 11 с дымовой трубой 12 с шиберной заслонкой 13. Нижние концы проходных жаровых труб 10 герметично вварены в днище 14 герметичной емкости 1 и сообщаются с камерой сгорания 15. Камера сгорания 15 снабжена запальной свечей 16, электродами контроля горения 17 и размещенными равномерно по периметру и равноудаленными от днища емкости кронштейнами 18, к которым крепится прижимами 19 горелочное устройство в виде съемной радиационной газовой горелки 20 инфракрасного излучения. С герметичной емкостью 1 соединен нормализатор давления пара жидкого промежуточного теплоносителя, выполненный в виде вспомогательной емкости 21 с горловиной 22 для заливки жидкого теплоносителя 6 и связи вспомогательной емкости 21 с атмосферой. Во вспомогательной емкости 21 установлен стабилизирующий теплообменник 23, верхний конец которого соединен уравнительным трубопроводом 24 с верхней частью герметичной емкости 1. Нижний конец стабилизирующего теплообменника 23 соединен с нижним концом вертикальной дыхательной трубки 25, установленной также во вспомогательной емкости 21. Вспомогательная емкость 21 заполнена жидким промежуточным теплоносителем 6 до уровня, равного его уровню в герметичной емкости 1, и сообщается возвратным трубопроводом 26 с нижней частью заполненной теплоносителем 6 герметичной емкости 1. Температура кипения промежуточного жидкого теплоносителя 6 составляет 80-200°С. Суммарная площадь Sсум проходного сечения жаровых труб 10 радиационного теплообменника и объем Vв промежуточного жидкого теплоносителя 6, заполняющего герметичную емкость 1, превышают площадь Sдт проходного сечения дымовой трубы 12 и объем Vве промежуточного жидкого теплоносителя 6, заполняющего нормализатор давления пара промежуточного жидкого теплоносителя 6, соответственно в 10-20 и 5-10 раз.
Работает технологический нагреватель преимущественно для стабилизации природного газа в газообразном состоянии следующим образом.
Предварительно перед включением запальной свечи 16 и розжигом радиационной газовой горелки 20 инфракрасного излучения производят заливку жидкого теплоносителя 6 через горловину 22 вспомогательной емкости 21 нормализатора давления пара и заливную горловину 4 съемного предохранительного клапана 5 в герметичную емкость 1 до уровня ограничителя 2. Затем, включив подачу природного газа в радиационную газовую горелку 20 инфракрасного излучения, осуществляют ее розжиг посредством запальной свечи 16. Продукты горения природного газа, последовательно проходя из камеры сгорания 15 через жаровые трубы 10 и коллекторы 11 радиационного теплообменника в дымовую трубу 12, нагревают до кипения жидкий теплоноситель 6, а образующийся на поверхности жаровых труб 10 и коллекторов 11 радиационного теплообменника пар жидкого промежуточного теплоносителя 6, поднимаясь в верхнюю часть герметичной емкости 1, конденсируется на наружной рабочей поверхности конвекционного трубчатого теплообменника 9, передавая при этом за счет фазового перехода энергию парообразования проходящему через конвекционный трубчатый теплообменник природному газу, который вследствие этого нагревается. Сконденсированный при этом жидкий промежуточный теплоноситель 6 стекает обратно в нижнюю часть герметичной емкости 1, где снова нагревается и переходит в пар на поверхности стенок жаровых труб 10 и коллекторов 11.
При нестабильных режимах работы технологического нагревателя преимущественно для стабилизации природного газа в газообразном состоянии, например в случае перепроизводства пара промежуточного теплоносителя 6, его несконденсированные излишки по уравнительному трубопроводу 24 поступают в стабилизирующий теплообменник 23, погруженный в жидкий промежуточный теплоноситель 6 вспомогательной емкости 21, в котором он конденсируется. Полученный конденсат жидкого промежуточного теплоносителя 6 затем через вертикальную дыхательную трубку 25 поступает в полость 23 вспомогательной емкости 21, повышая в ней уровень жидкого промежуточного теплоносителя 6. Повышение уровня жидкого промежуточного теплоносителя 6 во вспомогательной емкости 21 в свою очередь в соответствии с «Законом сообщающихся сосудов» через возвратный трубопровод 26 приводит к повышению уровня жидкого промежуточного теплоносителя 6 в герметичной емкости 1. При форсированных режимах работы технологического нагревателя преимущественно для стабилизации природного газа в газообразном состоянии количество излишков пара жидкого промежуточного теплоносителя 6 может оказаться таким, что все излишки пара не сконденсируются в стабилизирующем теплообменнике 23, в этом случае они через дыхательную трубку 25 поступают в емкость 21 и далее через горловину 22 в атмосферу, нормализуя величину давления пара в герметичной емкости 1 до уровня, близкого к атмосферному.
При прекращении работы технологического нагревателя преимущественно для стабилизации природного газа в газообразном состоянии после выключения радиационной газовой горелки 20 инфракрасного излучения давление газообразной среды внутри герметичной емкости снижается до величины, меньшей величины атмосферного давления, вследствие этого наружный воздух через горловину 22 вспомогательной емкости 21, далее через вертикальную дыхательную трубку 25, стабилизирующий теплообменник 23 и уравнительный трубопровод 24 поступает в герметичную емкость 1 и выравнивает давление внутри последнего до прежнего уровня. Для предотвращения аварийных ситуаций, связанных с выходом из строя нормализатора пара или разгерметизации конвекционного трубчатого теплообменника 9, в герметичной емкости 1 установлен предохранительный клапан 5.
Сменная радиационная газовая горелка инфракрасного излучения 20 выполнена составной из основной и дополнительных секций 27, каждая секция 27 снабжена выпуклым рассекателем 28, обращенным выпуклостью в сторону набегающей струи газовоздушной смеси и охватывающим последний герметичным кожухом в форме диффузора 29, соединенным герметично с инжектором 30 на участке раздачи газовоздушной смеси сообщающимися с ним каналами 31. Корпус радиационной газовой горелки инфракрасного излучения 20 выполнен в виде прямоугольного каркаса из жестко соединенных трубчатых элементов 32, образующих гнезда 33, в каждом из которых размещен сменный горелочный насадок 34. Каждое гнездо 33 герметично соединено с кожухом в форме диффузора 29 секции 27, охватывающим выпуклый рассекатель 28 последней. Газовое сопло 35 радиационной газовой горелки инфракрасного излучения 19 установлено на коллекторе 36 с газоподводящим патрубком (на чертежах условно не показан) в передней по ходу подачи природного газа части охватывающего газовое сопло 35 инжектора 30. Передняя по ходу подачи природного газа часть инжектора 30 снабжена воздухозаборником 37 и регулятором 38 подачи воздуха. Сменный горелочный насадок 34 выполнен в виде прямоугольной газопроницаемой пластины из уложенных на решетчатый каркас 39 из переплетенных и образующих ячейки элементов 40 с профилированным поперечным сечением, соединенных в единое целое фибр 41 из жаропрочного и жаростойкого материала с образованием открытой объемной пористости в виде сквозных лабиринтных каналов 42, по периметру окантованный Z-образными в поперечном сечении верхней 43 и нижней 44 обечайками, при этом толщина Н каждого сменного горелочного насадка 34 составляет 0,05-0,20 его длины L. Размер d профилированных в поперечном сечении элементов 40, образующих его несущий решетчатый каркас 39, и размер h каждой ячейки упомянутого каркаса 39 составляют 0,01-0,1 и 0,2-1,0 толщины Н сменного горелочного насадка 34 соответственно.
Работает сменная радиационная газовая горелка инфракрасного излучения следующим образом. После поступления газа через газоподводящий патрубок коллектора 36 в газовое сопло 35 струя газа, истекая из последнего, эжектирует окружающий воздух и направляет его через воздухозаборник 37 в инжектор 30 для образования газовоздушной смеси. Образующаяся в инжекторе 30 газовоздушная смесь поступает через каналы 31 участка раздачи газовоздушной смеси инжектора 30 и кожуха в форме диффузора 29 в полость каждой секции, где поле скоростей по сечению газового потока выравнивается, а выпуклый рассекатель 28 распределяет поток газовоздушной смеси равномерно по площади горелочного насадка 34, размещенного в гнезде 33. В полости каждой секции, образованной герметичным кожухом в форме диффузора 29, обеспечивается также восстановление давления газовоздушной смеси, необходимое для преодоления сопротивления при ее истечении через лабиринтные каналы 42 сменного горелочного насадка 34. В передней части по ходу движения струи газовоздушной смеси сквозь лабиринтные каналы 42 сменного горелочного насадка 34 заканчивается смешение и разогрев газовоздушной смеси до температуры воспламенения. В результате горения газовоздушной смеси в объеме сквозных лабиринтных каналов в приповерхностной зоне 45 высотой 1.5-2.0 мм передней части (по направлению движения газовоздушной смеси) сменного горелочного насадка 34 происходит разогрев поверхностного слоя фибр 41 до температуры 950-1050°С.
После прекращения подачи газа из газоподводящего патрубка в газовое сопло 35 производится замена вышедшего из строя сменного горелочного насадка 34 путем вывода его из гнезда 33 и замены на горелочный насадок 34, пригодный к эксплуатации.
Формула изобретения
1. Технологический нагреватель преимущественно для стабилизации природного газа в газообразном состоянии, содержащий заполненную жидким промежуточным теплоносителем емкость, в которой размещены трубчатые конвекционный и радиационный теплообменники, первый из которых соединен с магистральным трубопроводом через коллекторы подвода и отвода подогреваемой среды, а второй – с камерой сгорания и дымовой трубой, в камере сгорания, расположенной под днищем емкости, установлено горелочное устройство, отличающийся тем, что упомянутая емкость выполнена герметичной с ограничителем первоначального уровня жидкого промежуточного теплоносителя в исходном состоянии, сливным патрубком, съемным предохранительным клапаном, установленным на заливной горловине, упомянутый конвекционный теплообменник выполнен горизонтальным и размещен выше уровня промежуточного жидкого теплоносителя, а упомянутый радиационный теплообменник выполнен в виде генератора пара промежуточного жидкого теплоносителя, из погруженных в промежуточный жидкий теплоноситель ниже его уровня, герметично вваренных, нижними сообщающимися с камерой сгорания концами, в днище герметичной емкости проходными жаровыми трубами, расположенными в несколько рядов в шахматном порядке и порядно соединенными верхними концами через объединяющий их коллектор с дымовой трубой, при этом нагреватель снабжен нормализатором давления пара промежуточного жидкого теплоносителя, соединенным посредством уравнительного и возвратного трубопроводов с герметичной емкостью, горелочным устройством, выполненным в виде сменной радиационной горелки инфракрасного излучения, подключенной через инжектор к газопроводу низкого давления, причем сменная радиационная горелка инфракрасного излучения установлена в камере сгорания посредством размещенных равномерно по периметру и равноудаленных от днища герметичной емкости кронштейнов, температура кипения промежуточного жидкого теплоносителя составляет 80-200°С, а суммарная площадь Sсум проходного сечения жаровых труб радиационного теплообменника и объем Vв промежуточного жидкого теплоносителя, заполняющего полость герметичной емкости, превышают площадь Sдт проходного сечения дымовой трубы и объем Vве промежуточного жидкого теплоносителя, заполняющего нормализатор давления пара промежуточного жидкого теплоносителя, соответственно в 10-20 и 5-10 раз.
2. Технологический нагреватель по п.1, отличающийся тем, что нормализатор давления пара промежуточного жидкого теплоносителя снабжен размещенными во вспомогательной, с заливной горловиной и возвратным трубопроводом емкости, стабилизирующим трубчатым теплообменником и вертикальной дыхательной трубкой, соединенными друг с другом нижними концами, причем верхний конец стабилизирующего трубчатого теплообменника соединен посредством уравнительного трубопровода с верхней частью герметичной емкости, а возвратный трубопровод соединяет вспомогательную и герметичную емкости ниже уровня поверхности вышеупомянутого теплоносителя.
3. Технологический нагреватель по п.1, отличающийся тем, что камера сгорания выполнена охлаждаемой.
4. Радиационная газовая горелка инфракрасного излучения, содержащая, по крайней мере, одно смонтированное на подводящем патрубке газовое сопло, охватывающий его инжектор с воздухозаборником и регулятором подачи воздуха со смесителем газо-воздушной смеси, соединенным с корпусом горелки, в котором размещен сменный горелочный насадок из соединенных в единое целое фибр из жаропрочного и жаростойкого материала с открытой объемной пористостью в виде сквозных лабиринтных каналов, отличающаяся тем, что она выполнена составной из основной и дополнительных секций, при этом каждая секция снабжена выпуклым рассекателем, обращенным выпуклостью в сторону набегающей струи газовоздушной смеси и охватывающим последний герметичным кожухом в виде диффузора, соединенного посредством герметичных каналов со смесителем газовоздушной смеси инжектора, каждая секция снабжена упомянутым сменным горелочным насадком с обрамляющей его по периметру окантовкой и несущим решетчатым каркасом из переплетенных и образующих ячейки элементов с профилированным поперечным сечением, корпус выполнен в виде прямоугольного каркаса из жестко соединенных трубчатых элементов, образующих гнезда для размещения сменных горелочных насадок, герметично соединенных с кожухами секций, а толщина Н каждого сменного горелочного насадка составляет 0,05-0,20 его длины L, причем размер d профилированного поперечного сечения элементов образующих несущие решетчатые каркасы сменных горелочных насадок и размер h каждой ячейки упомянутого каркаса составляют соответственно 0,01-0,1 и 0,2-1,0 толщины Н сменного горелочного насадка.
5. Горелка по п.4, отличающаяся тем, что окантовка каждого сменного горелочного насадка выполнена из охватывающих последний по периметру и связанных друг с другом неразъемным соединением верхней и нижней с Z-образным поперечным сечением обечаек, причем высота t окантовки составляет 0,8-0,9 толщины Н сменного горелочного насадка.
6. Горелка по п.4, отличающаяся тем, что она выполнена охлаждаемой, а полости трубчатых элементов ее корпуса сообщаются с герметичной емкостью.
7. Горелка по п.4, отличающаяся тем, что трубчатые элементы выполнены с окнами для прохода вторичного воздуха.
РИСУНКИ
|
|