|
|
(21), (22) Заявка: 2006117951/03, 24.05.2006
(24) Дата начала отсчета срока действия патента:
24.05.2006
(46) Опубликовано: 27.01.2008
(56) Список документов, цитированных в отчете о поиске:
RU 2175377 С2, 27.10.2001. RU 2211311 C2, 27.08.2003. SU 1052649 A1, 07.11.1983. RU 2132938 C1, 10.07.1999. US 4718485 A, 21.01.1988.
Адрес для переписки:
423236, Республика Татарстан, г. Бугульма, ул. М. Джалиля, 32, “ТатНИПИнефть”, сектор создания и развития промышленной собственности
|
(72) Автор(ы):
Хусаинов Васил Мухаметович (RU), Рамазанов Рашид Газнавиевич (RU), Федоров Александр Владиславович (RU), Габдуллин Рафагат Габделвалиевич (RU), Ахметзянов Радик Гильмуллович (RU), Вильданов Алик Алмазович (RU), Хаминов Николай Иванович (RU)
(73) Патентообладатель(и):
Открытое акционерное общество “Татнефть” им. В.Д. Шашина (RU)
|
(54) СПОСОБ ДОБЫЧИ НЕФТИ
(57) Реферат:
Изобретение относится к области добычи нефти и может быть использовано при разработке месторождений как с естественными, так и образовавшимися в процессе разработки водонефтяными зонами, как на ранней стадии разработки, так и на поздней. Технический результат – повышение нефтеизвлечения месторождения с водонефтяными зонами, увеличение продуктивности скважин за счет сокращения объемов попутно добываемой воды, увеличения срока работы скважин. По способу добычи нефти перфорируют обсадную колонну, добывают нефть путем ее откачивания, устанавливают пакер и закачивают скважинную жидкость из нефтенасыщенной зоны. При этом осуществляют перфорацию всего интервала продуктивного пласта до водонефтяного контакта. Радиальным бурением создают проводящие каналы в прикровельной части пласта. Образуют нисходящий поток добываемой жидкости в зоне вскрытого продуктивного пласта в стволе скважины. Спускают хвостовик ниже продуктивного интервала. Устанавливают пакер в интервале кровли продуктивного пласта. 1 ил.
Предлагаемый способ относится к области добычи нефти и может быть использован при разработке месторождений как с естественными, так и образовавшимися в процессе разработки водонефтяными зонами, как на ранней стадии разработки так и на поздней.
Известен способ разработки нефтяного месторождения путем бурения горизонтальных и вертикальных скважин (патент США №4718485 от 21.01.88 г.). Недостатком этого способа является низкий коэффициент нефтеизвлечения из-за быстрого обводнения скважин в условиях залежей с водонефтяными зонами.
Наиболее близким по технической сущности к предлагаемому является способ добычи нефти на поздних стадиях разработки, заключающийся в перфорации обсадной колонны, добыче нефти путем ее откачивания, установке пакера на уровне водонефтяного контакта пласта, закачке части скважинной жидкости из нефтенасыщенной зоны (патент РФ №2175377 С2, опубл. в 2001.10.27 г. БН №30). Согласно этому способу перфорируют обсадную колонну в нефтенасыщенной и водной зонах пласта, устанавливают пакер в обсадной колонне на уровне водонефтяного контакта и в процессе добычи закачивают в водяную зону пласта часть скважинной жидкости из нефтенасыщенной зоны пласта для образования в районе перфорации водной зоны пласта оторочки из водонефтяной эмульсии, экранирующей воду.
Недостатком способа является низкий коэффициент нефтеизвлечения, а также высокая обводненность добываемой продукции, что ведет к сокращению срока работы скважины, следовательно, к уменьшению отбора нефти.
Технической задачей предлагаемого способа является повышение нефтеизвлечения месторождения с водонефтяными зонами, увеличение продуктивности скважин за счет сокращения объемов попутно добываемой воды, увеличения срока работы скважин.
Указанная задача достигается предлагаемым способом добычи нефти, заключающимся в перфорации обсадной колонны и добыче нефти путем ее откачивания, установке пакера, закачке скважинной жидкости из нефтенасыщенной зоны. Новым является то, что осуществляют перфорацию всего интервала продуктивного пласта до водонефтяного контакта, радиальным бурением создают проводящие каналы в прикровельной части пласта, образуют нисходящий поток добываемой жидкости в зоне вскрытого продуктивного пласта в стволе скважины, спускают хвостовик ниже продуктивного интервала, устанавливают пакер в интервале кровли продуктивного пласта.
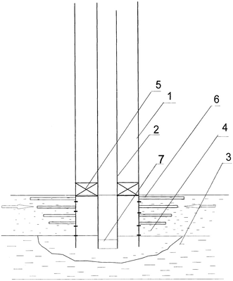
На чертеже представлена схема скважины, эксплуатируемой штанговым глубинным насосом (ШГН) с хвостовиком и пакером.
Способ осуществляют в следующей последовательности.
На месторождении, эксплуатируемом скважинами, оборудованными штанговыми глубинными насосами (не показан), исследуют законтурную область, определяют наличие гидродинамической связи законтурной области с залежами нефти гидропрослушиванием. Определяют наличие водонефтяных зон. По полученным результатам определяют вид воздействия на нефтяные пласты. Осуществляют перфорацию обсадной колонны (1) на интервале всего продуктивного пласта (4) до водонефтяного контакта (ВНК). С целью увеличения притока жидкости к забою скважины радиально бурят проводящие каналы (6) в прикровельной части продуктивного пласта. Запускают в работу добывающие скважины, оборудованные ШГН для отбора продукции, и нагнетательные скважины под закачку жидкости. Эксплуатацию добывающих скважин ведут с подкачкой добываемой жидкости, созданием низходящего потока добываемой жидкости в зоне вскрытого продуктивного пласта в стволе скважины в зону водонефтяного контакта и водонасыщенного пласта (3) путем спуска штангового насоса на НКТ (2), спуска хвостовика (7) ниже продуктивного интервала и установки пакера-отсекателя (5) в интервале кровли продуктивного пласта.
Пример конкретного выполнения.
Осуществили обустройство участка месторождения, пробурили добывающие и нагнетательные скважины. Произвели закачку жидкости в нагнетательные и добычу нефти из добывающих скважин. Определили зоны естественного и искусственного образования водонефтяных зон. Произвели замеры добычи нефти, воды и закачки вытесняющего агента. Построили литологические карты и подсчитали запасы нефти, по характеристикам вытеснения определили извлекаемые запасы. На участке – 5000 тыс.т геологических и 2600 тыс.т извлекаемых запасов. Пустили нагнетательные скважины под закачку, произвели добычу из добывающих скважин. Осуществили перфорацию обсадной колонны на всем интервале продуктивного пласта до водонефтяного контакта. Для достижения поставленной задачи радиальным бурением пробурили длинные проводящие каналы (2-80 метров) в прикровельной части продуктивного пласта. В скважины, эксплуатируемые ШГН, спустили НКТ, произвели спуск хвостовика ниже продуктивного интервала и установили пакер в интервале кровли продуктивного пласта. Произвели отбор жидкости из добывающих скважин.
Начальный средний дебит добывающих скважин по известному способу составляет qж-=18 т/сут., обводненность продукции составила 80%. По предлагаемому способу qж=20 т/сут., с обводненностью 30%. Среднегодовая добыча нефти, в среднем, увеличилась в 4 раза. За счет применения данного способа добычи нефти дополнительно добыто 3200 т нефти на одну скважину в год.
Стоимость дополнительно добытой нефти в рублях составит (при цене на нефть 5400 руб. за тонну) 17,280 млн. руб. При средних затратах работ на модернизацию скважины в 2 млн.руб. экономия за весь период работ составит 15,280 млн. руб.
Среднегодовые эксплуатационные затраты на добычу дополнительно добытой нефти составят, при производственных расходах на добычу нефти 2 тыс.рублей за тонну:
3200·2000=6,400 млн. руб.
Экономия за год по сравнению с известным способом составит:
15,280-6,400=8,880 млн. руб.
Среднегодовой экономический эффект на 1 скважину составит 8,880 млн.руб.
Исходя из вышеизложенного можно сделать вывод о рентабельности предлагаемого способа добычи нефти. Предлагаемый способ выполняет поставленную техническую задачу по повышению нефтеотдачи продуктивных пластов, а также по снижению обводненности добываемой жидкости, что, в свою очередь, увеличивает срок работы добывающей скважины.
Формула изобретения
Способ добычи нефти, включающий перфорацию обсадной колонны и добычу нефти путем ее откачивания, установку пакера, закачку скважинной жидкости из нефтенасыщенной зоны, отличающийся тем, что осуществляют перфорацию всего интервала продуктивного пласта до водонефтяного контакта, радиальным бурением создают проводящие каналы в прикровельной части пласта, образуют нисходящий поток добываемой жидкости в зоне вскрытого продуктивного пласта в стволе скважины, спускают хвостовик ниже продуктивного интервала, устанавливают пакер в интервале кровли продуктивного пласта.
РИСУНКИ
|
|