|
|
(21), (22) Заявка: 2006113140/03, 19.04.2006
(24) Дата начала отсчета срока действия патента:
19.04.2006
(46) Опубликовано: 27.01.2008
(56) Список документов, цитированных в отчете о поиске:
RU 2190760 C1, 10.10.2002. RU 2055168 C1, 27.02.1996. SU 741909 A, 28.06.1980. RU 2190757 C1, 10.10.2002. RU 2046931 C1, 27.10.1995. RU 2000128680 A1, 10.10.2002. US 4427067 A, 24.01.1984.
Адрес для переписки:
115230, Москва, Каширское ш., 9, корп.1, кв.47, А.Н. Дроздову
|
(72) Автор(ы):
Дроздов Александр Николаевич (RU), Вербицкий Владимир Сергеевич (RU), Деньгаев Алексей Викторович (RU), Агеев Шарифжан Рахимович (RU), Анохин Владимир Дмитриевич (RU), Егоров Юрий Андреевич (RU), Телков Виктор Павлович (RU), Красильников Илья Александрович (RU), Ламбин Дмитрий Николаевич (RU)
(73) Патентообладатель(и):
Дроздов Александр Николаевич (RU), Вербицкий Владимир Сергеевич (RU)
|
(54) СИСТЕМА ДЛЯ ВОДОГАЗОВОГО ВОЗДЕЙСТВИЯ НА ПЛАСТ
(57) Реферат:
Изобретение относится к нефтяной промышленности и может быть использовано при водогазовом воздействии для повышения нефтеотдачи пластов с одновременной утилизацией попутного газа. Обеспечивает повышение эффективности работы системы для водогазового воздействия на залежь путем интенсивного диспергирования газожидкостной смеси и снижения вредного влияния газа на характеристику дожимного насоса, а также расширение функциональных возможностей системы путем обеспечения нестационарных режимов закачки водогазовой смеси в пласт. Сущность изобретения: система содержит силовой насос, дожимной многоступенчатый лопастной насос, емкость с пенообразующими ПАВ, дозировочный насос, а также линию подачи воды, линию подачи газа, линию подачи ПАВ и линию закачки водогазовой смеси в нагнетательную скважину, причем на линии подачи газа установлен нагнетатель газа. Согласно изобретению дожимной насос снабжен расположенным на входе динамическим диспергатором водогазовой смеси. При этом перед динамическим диспергатором установлен смеситель воды и газа для предварительного формирования структуры смеси. Причем между входом в динамический диспергатор и выходом дожимного насоса установлена первая перепускная линия. Система снабжена второй перепускной линией, соединяющей линию подачи воды и первую перепускную линию, а также третьей перепускной линией, соединяющей линию подачи газа и первую перепускную линию, причем на первой, второй и третьей перепускных линиях установлены задвижки, 7 з.п. ф-лы, 3 ил.
Изобретение относится к нефтяной промышленности и может быть использовано при водогазовом воздействии для повышения нефтеотдачи пластов с одновременной утилизацией попутного газа.
Известно устройство для водогазового воздействия на пласт, содержащее линии подачи воды, газа, поверхностно-активных веществ (ПАВ), а также эжектор и линию закачки водогазовой смеси (патент РФ №2088752, кл. Е21В 43/20, 1997 г.). Известное устройство имеет низкие функциональные возможности и ограниченную область применения из-за невозможности создания эжектором высоких давлений нагнетания водогазовой смеси.
Известна также система для водогазового воздействия на пласт, содержащая силовой насос, струйный аппарат, дожимной насос, нагнетательные скважины, емкость с пенообразующими ПАВ, линию подачи воды в силовой насос, линию нагнетания воды, линию откачки газа, линию подачи ПАВ и линию закачки водогазовой смеси (патент РФ №2190760, кл. Е21В 43/20, 2002 г.). Известное устройство имеет низкую эффективность и ограниченную область применения из-за невозможности работы при высоких расходах газа.
Наиболее близкой к заявляемому изобретению является система для водогазового воздействия на пласт, содержащая силовой насос, эжектор, дожимной многоступенчатый лопастной насос, емкость с пенообразующими ПАВ, дозировочный насос, а также линию подачи воды, линию подачи газа, линию подачи ПАВ и линию закачки водогазовой смеси в нагнетательную скважину, причем на линии подачи газа установлен нагнетатель газа («Технология и техника водогазового воздействия на нефтяные пласты», часть 2 / Дроздов А.Н., Егоров Ю.А., Телков В.П. и др. Территория НЕФТЕГАЗ, 2006, №3, с.48-51.). Известная система имеет низкую эффективность, если величины давлений в линиях подачи воды и газа близки друг к другу, поскольку при этом эжектор оказывается практически неработоспособным и дожимной насос испытывает сильное вредное влияние газа. Известная система не обеспечивает также реализацию водогазового воздействия на пласт в нестационарных режимах, когда необходима закачка чередующихся порций воды, газа и водогазовой смеси в различных соотношениях, т.е. имеет низкие функциональные возможности.
Задачей изобретения является повышение эффективности работы системы для водогазового воздействия на залежь путем интенсивного диспергирования газожидкостной смеси и снижения вредного влияния газа на характеристику дожимного насоса, а также расширение функциональных возможностей системы путем обеспечения нестационарных режимов закачки водогазовой смеси в пласт.
Повышение эффективности в системе для водогазового воздействия на пласт достигается тем, что в системе для водогазового воздействия на пласт, содержащей силовой насос, дожимной многоступенчатый лопастной насос, емкость с пенообразующими ПАВ, дозировочный насос, а также линию подачи воды, линию подачи газа, линию подачи ПАВ и линию закачки водогазовой смеси в нагнетательную скважину, причем на линии подачи газа установлен нагнетатель газа, согласно изобретению дожимной насос снабжен расположенным на входе динамическим диспергатором водогазовой смеси, при этом перед динамическим диспергатором установлен смеситель воды и газа, предварительно формирующий структуру смеси, причем между входом в динамический диспергатор и выходом дожимного насоса установлена первая перепускная линия, при этом система снабжена второй перепускной линией, соединяющей линию подачи воды и первую перепускную линию, а также третьей перепускной линией, соединяющей линию подачи газа и первую перепускную линию, причем на первой, второй и третьей перепускных линиях установлены задвижки.
Повышение эффективности в системе для водогазового воздействия на пласт достигается также тем, что между дожимным насосом и электродвигателем установлена герметичная магнитная муфта для передачи крутящего момента, динамический диспергатор содержит вращающийся шнек и неподвижную лопаточную решетку на периферии шнека, при этом направление установки лопаток решетки противоположно направлению установки лопастей шнека, динамический диспергатор и дожимной насос выполнены в виде единого модуля, при этом шнек диспергатора установлен на валу насоса, а лопатки неподвижной решетки диспергатора выполнены в виде винтовой нарезки.
В вариантах выполнения системы смеситель воды и газа, предварительно формирующий структуру смеси, выполнен в виде пористого фильтра, имеющего форму полого цилиндра, при этом линия подачи воды сообщена с внутренней полостью цилиндра пористого фильтра, линия подачи газа сообщена с внешней поверхностью полого цилиндра пористого фильтра, а внутренний диаметр полого цилиндра пористого фильтра меньше внутреннего диаметра линии подачи воды.
Кроме того, в варианте реализации системы дожимной насос состоит из не менее чем двух пакетов ступеней, причем номинальная подача ступеней предыдущего пакета больше, чем номинальная подача ступеней последующего пакета.
Указанная совокупность отличительных признаков изобретения позволяет повысить эффективность работы благодаря интенсивной диспергации смеси, устраняющей вредное влияние свободного газа на характеристику дожимного насоса, а также расширить функциональные возможности системы за счет реализации нестационарных режимов закачки воды, газа и водогазовой смеси в пласт.
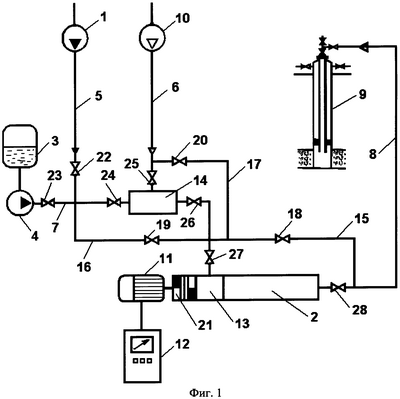
На фиг.1 представлена схема системы для водогазового воздействия на пласт, на фиг.2 – динамический диспергатор, на фиг.3 – смеситель воды и газа.
Система для водогазового воздействия на пласт содержит (см. фиг.1) силовой насос 1, дожимной многоступенчатый лопастной насос 2, емкость с пенообразующими ПАВ 3, дозировочный насос 4, а также линию подачи воды 5, линию подачи газа 6, линию подачи ПАВ 7 и линию закачки водогазовой смеси 8 в нагнетательную скважину 9. На линии подачи газа 6 установлен нагнетатель газа 10, а электродвигатель 11 дожимного насоса 2 сообщен с частотным преобразователем 12. Дожимной насос 2 снабжен расположенным на входе динамическим диспергатором 13 водогазовой смеси. Перед динамическим диспергатором 13 установлен смеситель 14 воды и газа, предварительно формирующий структуру смеси.
Между входом в динамический диспергатор 13 и выходом дожимного насоса 2 установлена первая перепускная линия 15. Система снабжена второй перепускной линией 16, соединяющей линию подачи воды 5 и первую перепускную линию 15, а также третьей перепускной линией 17, соединяющей линию подачи газа 6 и первую перепускную линию 15, причем на первой, второй и третьей перепускных линиях 15, 16 и 17 установлены задвижки 18, 19 и 20.
Между дожимным насосом 2 и электродвигателем 11 может быть установлена герметичная магнитная муфта 21 для передачи крутящего момента.
В состав системы входят также задвижки 22, 23, 24, 25, 26, 27 и 28.
В качестве нагнетателя газа 10 могут применяться, например, компрессорная станция или насосно-эжекторная система с жидкостно-газовым струйным аппаратом и т.п. В качестве силового насоса 1 могут быть использованы центробежные насосы типа ЦНС кустовых насосных станций системы поддержания пластового давления, горизонтальные насосы и др.
Динамический диспергатор 13 содержит (см. фиг.2) вращающийся шнек 29 и неподвижную лопаточную решетку 30 на периферии шнека 29, при этом направление установки лопаток 31 решетки 30 противоположно направлению установки лопастей 32 шнека 29. В варианте системы динамический диспергатор 13 и дожимной насос 2 выполнены в виде единого модуля, при этом шнек 29 диспергатора 13 установлен на валу 33 насоса 2. Лопатки 31 неподвижной решетки 30 диспергатора 13 могут быть выполнены в виде винтовой нарезки.
Смеситель воды и газа 14 (см. фиг.3) выполнен в виде пористого фильтра 34, имеющего форму полого цилиндра, при этом линия подачи воды 5 сообщена с внутренней полостью цилиндра пористого фильтра 31, а линия подачи газа 6 сообщена с внешней поверхностью полого цилиндра пористого фильтра 34. Внутренний диаметр полого цилиндра пористого фильтра 31 может быть меньше внутреннего диаметра линии подачи воды 5.
В варианте системы дожимной насос 2 состоит из не менее чем двух пакетов ступеней, причем номинальная подача ступеней предыдущего пакета больше, чем номинальная подача ступеней последующего пакета.
Система для водогазового воздействия на пласт работает следующим образом.
При закачке водогазовой смеси задвижки 18, 19 и 20 закрыты, а остальные задвижки открыты.
Силовой насос 1 подает воду по линии 5, а нагнетатель 10 – газ по линии 6 в смеситель воды и газа 14. Дозировочный насос 4 качает пенообразующие ПАВ из емкости 3 по линии 7 в линию подачи воды 5. Поток воды с ПАВ поступает во внутреннюю полость цилиндра пористого фильтра 34. Газ по линии 6 идет к внешней поверхности полого цилиндра пористого фильтра 34 и далее через него поступает в виде пузырьков в поток воды с ПАВ. В случае меньшего по сравнению с линией подачи воды 5 внутреннего диаметра полого цилиндра пористого фильтра 34 скорость потока внутри фильтра 34 увеличивается, что способствует дроблению газовых пузырьков. Так осуществляется предварительное формирование пузырьковой структуры водогазовой смеси.
Предварительно подготовленная водогазовая смесь с пенообразующими ПАВ, имеющая пузырьковую структуру, поступает в динамический диспергатор 13 на приеме дожимного насоса 2. При прохождении смеси через вращающийся шнек 29 и неподвижную лопаточную решетку 30, которые имеют противоположные направления установки лопастей 32 и лопаток 31, происходит интенсивное диспергирование предварительно сформированных в смесителе 14 газовых пузырьков с одновременным повышением давления. Пенообразующие ПАВ при этом препятствуют слиянию измельченных газовых пузырьков.
Мелкодисперсная смесь с высокими пенообразующими свойствами при повышенном давлении поступает затем в многоступенчатый дожимной лопастной насос 3, который, не испытывая в таких условиях вредного влияния газа, эффективно закачивает водогазовую смесь под высоким давлением по линии 8 в нагнетательную скважину 9. Водогазовая смесь с ПАВ при вытеснении нефти из пласта обеспечивает высокий коэффициент нефтеотдачи.
При необходимости осуществляется также регулирование подачи и давления, развиваемого дожимным насосом 2, путем изменения частоты тока с помощью частотного преобразователя 12, что приводит к изменению частоты вращения электродвигателя 11 и вала 33 насоса 2. Герметичная магнитная муфта 21 для передачи крутящего момента от электродвигателя 11 к дожимному насосу 2 позволяет избежать утечек водогазовой смеси в атмосферу по валу 33 насоса 2.
Важно отметить, что наиболее сильное диспергирование водогазовой смеси, содержащей пенообразующие ПАВ, полностью устраняющее вредное влияние газа на работу дожимного насоса 2, обеспечивается только при наличии как предварительного формирования пузырьковой структуры в смесителе 14, так и дальнейшего дробления газовых пузырьков с повышением давления в динамическом диспергаторе 13. Раздельное использование этих признаков не приносит эффекта.
Так, при снабжении насоса 2 только динамическим диспергатором 13 на вход диспергатора 13 будут поступать крупные газовые пробки, которые невозможно измельчить до требуемой для нормальной работы дожимного насоса 2 степени дисперсности, поэтому насос 2 сорвет подачу на водогазовой смеси. Если же установить только смеситель 14, то степень дисперсности образующихся в нем газовых пузырьков также будет недостаточно высокой, что приведет к срыву подачи дожимного насоса 2.
Поскольку при повышении давления в дожимном насосе 2 подача водогазовой смеси постепенно уменьшается от одной ступени к последующей за счет сжатия и частичного растворения газа, то для повышения эффективности работы насоса 2 целесообразно выполнить его из не менее чем двух пакетов ступеней. Номинальная подача ступеней предыдущего пакета при этом больше, чем номинальная подача ступеней последующего пакета, что позволяет всем ступеням насоса 2 откачивать смесь в рабочей части своих характеристик с наивысшими значениями коэффициента полезного действия.
При водогазовом воздействии в различных нестационарных режимах система работает следующим образом.
Закрываются задвижки 19, 23, 24, 25, 26, 27 и 28. Остальные задвижки открыты. Насосы 2 и 4 отключены. Нагнетателем 10 по линии подачи газа 6 и далее по третьей перепускной линии 17 и первой перепускной линии 15, а затем по линии 8 газ закачивается в скважину 9.
После закачки определенной порции газа в нагнетательную скважину 9 закачивается вода. При этом закрываются задвижки 18 и 20, а задвижки 19, 27 и 28 открываются. Насос 2 запускается в работу. Вода от силового насоса 1 по второй перепускной линии 16 идет на прием дожимного насоса 2, который нагнетает ее под высоким давлением в скважину 9, продавливая порцию газа через призабойную зону в пласт.
Затем, когда порция газа уйдет в пласт и в стволе скважины, а также в призабойной зоне будет находиться вода, давление закачки снизится. После этого отключается дожимной насос 2, а задвижки 19, 27 и 28 закрываются. Открываются задвижки 18, 23, 24. 25 и 26. Запускается дозировочный насос 4, который подает пенообразующие ПАВ из емкости 3 по линии 7 в линию подачи воды 5. Поток воды с ПАВ по линии 5 и поток газа по линии 6 поступают в смеситель 14, из которого пузырьковая водогазовая смесь по первой перепускной линии 15 и линии 8 идет в скважину 9.
В дальнейшем, при росте давления на буфере скважины 9, открываются задвижки 27 и 28, закрывается задвижка 15, включается насос 2 и производится закачка предварительно подготовленной в смесителе 14 водогазовой смеси с использованием динамического диспергатора 13 и дожимного насоса 2 под высоким давлением через нагнетательную скважину 9 в пласт, как уже было описано ранее.
Нестационарные режимы фильтрации, реализуемые таким образом при водогазовом воздействии на пласт, способствуют росту коэффициента охвата пласта воздействием благодаря изменению направлений фильтрационных потоков, что приводит к еще большему увеличению коэффициента нефтеотдачи.
Таким образом, предложенное техническое решение позволяет существенно повысить эффективность закачки водогазовой смеси путем интенсивного диспергирования смеси и снижения вредного влияния газа на характеристику дожимного насоса при водогазовом воздействии на пласт, а также расширить функциональные возможности системы путем обеспечения различных нестационарных режимов закачки воды, газа и водогазовой смеси в пласт по сравнению с известными изобретениями.
Формула изобретения
1. Система для водогазового воздействия на пласт, содержащая силовой насос, дожимной многоступенчатый лопастной насос, емкость с пенообразующими ПАВ, дозировочный насос, а также линию подачи воды, линию подачи газа, линию подачи ПАВ и линию закачки водогазовой смеси в нагнетательную скважину, причем на линии подачи газа установлен нагнетатель газа, отличающаяся тем, что дожимной насос снабжен расположенным на входе динамическим диспергатором водогазовой смеси, при этом перед динамическим диспергатором установлен смеситель воды и газа для предварительного формирования структуры смеси, причем между входом в динамический диспергатор и выходом дожимного насоса установлена первая перепускная линия, при этом система снабжена второй перепускной линией, соединяющей линию подачи воды и первую перепускную линию, а также третьей перепускной линией, соединяющей линию подачи газа и первую перепускную линию, причем на первой, второй и третьей перепускных линиях установлены задвижки.
2. Система по п.1, отличающаяся тем, что между дожимным насосом и электродвигателем установлена герметичная магнитная муфта для передачи крутящего момента.
3. Система по п.1, отличающаяся тем, что динамический диспергатор содержит шнек с возможностью вращения и неподвижную лопаточную решетку на периферии шнека, при этом направление установки лопаток решетки противоположно направлению установки лопастей шнека.
4. Система по п.3, отличающаяся тем, что динамический диспергатор и дожимной насос выполнены в виде единого модуля, при этом шнек диспергатора установлен на валу насоса.
5. Система по п.3, отличающаяся тем, что лопатки неподвижной решетки диспергатора выполнены в виде винтовой нарезки.
6. Система по п.1, отличающаяся тем, что смеситель воды и газа для предварительного формирования структуры смеси выполнен в виде пористого фильтра, имеющего форму полого цилиндра, при этом линия подачи воды сообщена с внутренней полостью цилиндра пористого фильтра, а линия подачи газа сообщена с внешней поверхностью полого цилиндра пористого фильтра.
7. Система по п.6, отличающаяся тем, что внутренний диаметр полого цилиндра пористого фильтра меньше внутреннего диаметра линии подачи воды.
8. Система по п.1, отличающаяся тем, что дожимной насос состоит из не менее чем двух пакетов ступеней, причем номинальная подача ступеней предыдущего пакета больше, чем номинальная подача ступеней последующего пакета.
РИСУНКИ
MM4A – Досрочное прекращение действия патента СССР или патента Российской Федерации на изобретение из-за неуплаты в установленный срок пошлины за поддержание патента в силе
Дата прекращения действия патента: 20.04.2009
Извещение опубликовано: 20.06.2010 БИ: 17/2010
|
|