|
|
(21), (22) Заявка: 2006105976/03, 26.02.2006
(24) Дата начала отсчета срока действия патента:
26.02.2006
(46) Опубликовано: 27.01.2008
(56) Список документов, цитированных в отчете о поиске:
RU 43277 U1, 10.01.2005. RU 15195 U1, 27.09.2000. RU 15196 U1, 27.09.2000. RU 2145444 C1, 10.02.2000. DE 3546530 A1, 21.05.1987.
Адрес для переписки:
191015, Санкт-Петербург, ул. Кавалергардская, 42, ГУП “Водоканал Санкт-Петербурга”, директору Департамента интеллектуальной собственности и стандартизации Ю.А. Трухину
|
(72) Автор(ы):
Трухин Юрий Александрович (RU), Курганов Юрий Анатольевич (RU), Мурашев Сергей Владимирович (RU)
(73) Патентообладатель(и):
Государственное Унитарное Предприятие “Водоканал Санкт-Петербурга” (RU)
|
(54) ЗАПОРНОЕ УСТРОЙСТВО ЛЮКА СМОТРОВОГО КОЛОДЦА
(57) Реферат:
Изобретение относится преимущественно к запирающим устройствам крышек люков колодцев инженерных сооружений, в частности к запирающим устройствам с элементами, позволяющими установить отпирание их посторонними лицами. Задачей изобретения является создание запорного устройства, преимущественно крышки люка смотрового колодца, обеспечивающего контроль попытки несанкционированного вскрытия такого устройства (попытки доступа в колодец). Технический результат – расширение функциональных возможностей устройства, улучшение удобства эксплуатации. Поставленная задача достигается тем, что запорное устройство крышки люка смотрового колодца, содержащее установленные в отверстии основания крышки люка поворотный стержень, имеющий захватный элемент на верхнем конце и запорный элемент со стороны опорной поверхности основания крышки, имеет сигнальный элемент, устанавливаемый в отверстие основания, и блокирующий доступ к захватному элементу. Захватный элемент выполнен под охватываемую головку под ключ, а сигнальный элемент – в виде пластины по форме, ответной форме отверстия основания, с диаметрально расположенной относительно поворотной оси на расстоянии, равном размеру под ключ, гребенкой зубьев с Г-образными выступами на концах, охватывающие захватный элемент снизу, при этом поворотный стержень имеет регулировочную шайбу для обеспечения зазора для захода и фиксации выступов зубьев. Сигнальный элемент может быть выполнен из цветной пластмассы, на пластине с внешней стороны нанесен индивидуальный номер. 1 з.п. ф-лы, 3 ил.
Изобретение относится преимущественно к запирающим устройствам крышек люков колодцев инженерных сооружений, в частности к запирающим устройствам с элементами, позволяющими установить отпирание их посторонними лицами.
В настоящее время, в связи с угрозой терроризма, возникла необходимость оснащения крышек люков колодцев инженерных коммуникаций запорными устройствами, обеспечивающими гарантированное обнаружение попыток доступа посторонних лиц в смотровые колодцы и камеры.
Доступ к городским подземным коммуникациям практически свободен через уличные колодцы с не запирающимися крышками. Заявителю неизвестны запорные устройства крышек люков смотровых колодцев, обеспечивающие гарантированное обнаружение попыток вскрытия таких устройств. Известные запорные устройства крышек люков смотровых колодцев не имеют средств контроля, обеспечивающих обнаружение попытки несанкционированного вскрытия.
Известно запорное устройство крышки люка смотрового колодца, из описания к патенту RU 2044837, опубликованного 1995.09.27, содержащее выполненное в виде прикрепленных к приливам на нижней поверхности крышки с возможностью угловых перемещений в плоскости приливов пустотелых конусных упоров, равнорасположенных по длине окружности крышки и контактирующих с нижней кромкой опорного выступа корпуса люка смотрового колодца, и имеющих на удаленной от опорного выступа корпуса наружной конусной боковой поверхности криволинейную площадку, а в крышке люка на диаметральной оси, проходящей через приливы, ближе к центру крышки выполнены резьбовые отверстия, в которые установлены контактирующие с криволинейными площадками упоров болты, головки которых размещены в расточках на наружной поверхности крышки.
Недостатком является сложность конструкции, а также невозможность обеспечить контроль вскрытия.
Известно запорное устройство люка смотрового колодца с крышкой по патенту RU 2133796, опубликованного 1999.07.27, содержащий корпус со сквозными отверстиями в боковой стенке, с опорным пояском, опорной подошвой и выемками, крышку со сквозными отверстиями и выступающими консолями, взаимодействующими с выемками корпуса. Сквозные отверстия крышки и корпуса снабжены опорно-поворотными осями с рычагами, взаимодействующими при повороте по крайней мере с одной из опорно-поворотных осей, геометрические оси которых пересекаются в пространстве, ограниченном крышкой и корпусом. Опорно-поворотная ось крышки выполнена в виде изогнутого рычага с запирающей щелью-прорезью для взаимодействия с опорно-поворотной осью корпуса, изогнутый рычаг может быть выполнен либо заодно, либо отдельной деталью, закрепляемой неподвижно относительно опорно-поворотной оси.
Недостатком является сложность конструкции, а также невозможность обеспечить контроль вскрытия.
Наиболее близким по технической сущности к предлагаемой полезной модели является запорное устройство крышки люка смотрового колодца, описанное в патенте на полезную модель «Люк смотрового колодца» RU 43277, опубликованном 2005.01.10, бюл №1. Запорное устройство представляет собой установленный в отверстии основания крышки люка поворотный стержень, имеющий захватный элемент на верхнем конце и запорный элемент со стороны опорной поверхности основания крышки, взаимодействующий с опорным выступом горловины люка. При этом запорное устройство расположено таким образом, что захватный элемент утоплен в основании крышки.
Недостатком является невозможность обеспечить контроль доступа к запорному приспособлению. Затруднена эксплуатация в зимних условиях и в межсезонье, ввиду возможной забивки грязью и замерзанию отверстия в крышке.
Указанные недостатки устранены в предлагаемом изобретении.
Задачей изобретения является создание запорного устройства, преимущественно крышки люка смотрового колодца, обеспечивающего контроль попытки несанкционированного вскрытия такого устройства (попытки доступа в колодец).
Технический результат – расширение функциональных возможностей устройства, улучшение удобства эксплуатации.
Поставленная задача достигается тем, что запорное устройство крышки люка смотрового колодца, содержащее установленные в отверстии основания крышки люка поворотный стержень, имеющий захватный элемент на верхнем конце и запорный элемент со стороны опорной поверхности основания крышки, имеет сигнальный элемент, устанавливаемый в отверстие основания и блокирующий доступ к захватному элементу.
Захватный элемент при этом выполнен под охватываемую головку под ключ, сигнальный элемент при этом выполнен в виде пластины по форме, ответной форме отверстия основания, с диаметрально расположенной относительно поворотной оси на расстоянии, равном размеру под ключ, гребенкой зубьев с Г-образными выступами на концах, охватывающие захватный элемент снизу, поворотный стержень при этом имеет регулировочную шайбу для обеспечения зазора для захода и фиксации выступов зубьев.
Вариантом исполнения является выполнение сигнального элемента из цветной пластмассы и нанесение на пластине с внешней стороны индивидуального номера.
Совокупность заявляемых признаков заявителю неизвестна из области техники, поэтому данное техническое решение отвечает критерию “новизна”.
Существенными отличиями устройства являются:
1) наличие сигнального элемента в отверстии основания крышки и блокирующего доступ к захватному элементу;
2) выполнение захватного элемента под охватываемую головку под ключ и сигнального элемента, блокирующего доступ к захватному элементу, в виде пластины по форме, ответной форме отверстия основания, с диаметрально расположенной относительно поворотной оси на расстоянии, равном размеру под ключ, гребенкой зубьев с Г-образными выступами на концах, охватывающие захватный элемент снизу, при этом поворотный стержень имеет регулировочную шайбу для обеспечения зазора для захода и фиксации выступов зубьев;
3) выполнение сигнального элемента из цветной пластмассы с уникальным номером.
За счет признака 1 обеспечивается исключение сокрытия факта несанкционированного доступа в смотровые колодцы и одновременно обеспечивается защита от заполнения грязью отверстия в основании крышки, что обеспечивает удобство и надежность эксплуатации.
За счет признака 2 обеспечивается надежное пломбирование запорного устройства. При установке сигнального элемента на захватный элемент в отверстии основания и вхождении Г- образных выступов в зазор между захватным элементом и поверхностями полок зубьев сигнальный элемент невозможно извлечь из отверстия в обратном направлении без разрушения. Кроме того, выполнение сигнального элемента ответным по форме отверстию обеспечивает защиту от проникновения грязи (дополнительно выполняет функцию пробки) к элементам запорного устройства.
Совместное применение отличительных признаков позволяет обеспечить возможность контроля доступа к запорному устройству и удобство эксплуатации.
Предлагаемое изобретение иллюстрируется чертежами:
фиг.1 – запорное устройство в сборе;
фиг.2, 3 – вариант исполнения сигнального элемента.
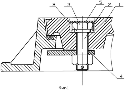
На фиг.1 показано запорное устройство люка смотрового колодца, содержащее установленные в отверстии основания крышки люка 1 поворотный стержень 2, имеющий захватный элемент 3, выполненный, например, под охватываемую головку под ключ, запорный элемент 4, сигнальный элемент 5, выполненный, например, в виде круглой пластины под отверстие (фиг.2) с гребенкой зубьев 6 (фиг.2), расположенной по диаметру окружности, равному размеру под ключ «S» гребенкой зубьев. Количество зубьев может соответствовать, а может не соответствовать количеству граней многоугольника головки под ключ. При этом минимальное количество зубьев будет соответствовать двум, а максимальное шести.
На фиг.2, 3 показан сигнальный элемент с гребенкой зубьев 6 с Г-образными выступами 7, расположенными на расстоянии от пластины, равном высоте головки под ключ. На фиг. 1 показана регулировочная шайба 7 для обеспечения зазора между головкой и основанием крышки люка.
Устройство работает следующим образом.
Поворотный стержень 2, установленный в отверстии крышки люка 1, с помощью взаимодействия ключа с захватным элементом, например шестигранного (на фиг. не показан), поворачивают на 30-90 градусов, например, до взаимодействия запорного элемента 4 с упорным выступом корпуса смотрового колодца. В ответное отверстие в крышке люка устанавливается сигнальный элемент 5, который выступами зубьев фиксируется на головке захватного элемента, входя в зазор между основанием крышки люка и головкой. Запорное устройство закрыто. В процессе эксплуатации обеспечивается контроль доступа по целостности сигнального элемента 5, который, например, имеет цвет, отличный от крышки, например красный. При попытке доступа сигнальный элемент разрушается, т.к. выполнен, например, из пластмассы Полиэтилен 21008-75, ГОСТ 16338-85. При необходимости вскрытия сигнальный элемент разбивается ударом, например, лома.
Запорное устройство не требует дополнительного крепления к основанию крышки люка. Предлагаемое решение дает возможность использовать уже имеющиеся в наличии крышки люков, например выполненные в соответствии с ГОСТ 3634-99.
Формула изобретения
1. Запорное устройство крышки люка смотрового колодца, содержащее установленные в отверстии основания крышки люка поворотный стержень, имеющий захватный элемент на верхнем конце и запорный элемент со стороны опорной поверхности основания крышки, отличающееся тем, что дополнительно введен сигнальный элемент, устанавливаемый в отверстие основания и блокирующий доступ к захватному элементу, при этом захватный элемент выполнен под охватываемую головку под ключ, а сигнальный элемент выполнен в виде пластины по форме, ответной форме отверстия основания, с диаметрально расположенной относительно поворотной оси на расстоянии, равном размеру под ключ, гребенкой зубьев с Г-образными выступами на концах, охватывающими захватный элемент снизу, при этом поворотный стержень имеет регулировочную шайбу для обеспечения зазора для захода и фиксации выступов зубьев.
2. Запорное устройство крышки люка смотрового колодца по п.1, отличающееся тем, что сигнальный элемент выполнен из цветной пластмассы, а на пластине с внешней стороны нанесен индивидуальный номер.
РИСУНКИ
|
|