|
|
(21), (22) Заявка: 2006104366/03, 13.02.2006
(24) Дата начала отсчета срока действия патента:
13.02.2006
(46) Опубликовано: 27.01.2008
(56) Список документов, цитированных в отчете о поиске:
МИХЕЕВ П.А. Рыбозащитные сооружения и устройства. – М.: Рома, 2000, с.298, рис.8.10. RU 2144107 C1, 10.01.2000. SU 1122772 А, 07.11.1984. SU 1585449 A1, 15.08.1990. SU 1006590 A, 23.03.1983. SU 282153 A, 19.01.1971.
Адрес для переписки:
346412, Ростовская обл., г. Новочеркасск, пер. Комсомольский, 25а, кв.1, А.А. Чистякову
|
(72) Автор(ы):
Чистяков Александр Анатольевич (RU), Шкура Виктор Николаевич (RU), Михеев Павел Александрович (RU), Шкура Владимир Николаевич (RU), Алымов Сергей Иванович (UA)
(73) Патентообладатель(и):
Федеральное государственное образовательное учреждение высшего профессионального образования “Новочеркасская государственная мелиоративная академия” ФГОУ ВПО (НГМА) (RU)
|
(54) РЫБОПОДЪЕМНИК ДЛЯ ОТВОДА МОЛОДИ РЫБЫ
(57) Реферат:
Изобретение относится к гидротехническому строительству, а именно к рыбозащитным устройствам в составе водозаборных сооружений. Рыбоподъемник включает рыбоподъемный тракт, соединяющий нижний и верхний бьефы гидротехнического сооружения и состоящий из подъемных шахт, расположенных ступенчато с увеличением отметки дна каждой вышерасположенной подъемной шахты в сторону верхнего бьефа, входной оголовок в виде лотка, примыкающего к подъемной шахте, сопрягающейся с нижним бьефом и включающей рабочую камеру, соединяющуюся посредством переливной перегородки с адаптационной камерой, средство для подъема молоди рыбы в виде перфорированных трубопроводов, уложенных на дне рабочей камеры и соединенных с источником рабочей среды. Выпускные отверстия перфорированных трубопроводов ориентированы во внутреннее пространство рабочей камеры, водоприемное отверстие которой снабжено расположенным выше него потокоформирующим элементом, поверхность которого, обращенная в сторону нижнего бьефа, выполнена под углом к водоприемному отверстию и с наклоном в сторону нижнего бьефа. Подъемные шахты, кроме подъемной шахты, сопрягающейся с нижним бьефом, соединены между собой через водоприемное отверстие, примыкающее к адаптационной камере нижерасположенной подъемной шахты. Источник рабочей среды снабжен насосом и гидродинамическим кавитационным аппаратом с воздухоподводящим патрубком. Напорная линия насоса соединена с входной частью гидродинамического кавитационного аппарата, выполненной в виде конфузора, соединяющегося с проточной камерой гидродинамического кавитационного аппарата, в которой соосно с ней установлено тело кавитации, концевая часть которого обращена в сторону диффузора выходной части гидродинамического кавитационного аппарата, соединенной подводящим трубопроводом с перфорированными трубопроводами рабочих камер, а воздухоподводящий патрубок соединен с начальной частью конфузора. Изобретение обеспечивает повышение эффективности работы рыбоподъемника. 5 з.п. ф-лы, 10 ил.
Изобретение относится к гидротехническому строительству, а именно к рыбозащитным устройствам и сооружениям, устраиваемым в составе водозаборных сооружений.
Известен рыбоподъемник [1], включающий рыбоподъемный тракт соединяющий нижний и верхний бьефы гидротехнического сооружения, состоящий из подъемных шахт, расположенных последовательно друг за другом, средство для подъема рыбы в виде перфорированных трубопроводов, уложенных на дне рабочей камеры и соединенных с источником рабочей среды, при этом выпускные отверстия перфорированных трубопроводов ориентированы во внутреннее пространство рабочей камеры.
Недостатком устройства является сложность его конструкции.
Известен рыбоход [2], включающий рыбоподъемный тракт, соединяющий нижний и верхний бьефы гидротехнического сооружения, состоящий из подъемных шахт, расположенных ступенчато друг за другом, средство для подъема рыбы в виде перфорированных трубопроводов, уложенных на дне рабочей камеры и соединенных с источником рабочей среды, при этом выпускные отверстия перфорированных трубопроводов ориентированы во внутреннее пространство рабочей камеры.
Недостатком устройства является сложность его конструкции.
Известен рыбоподъемник [3], включающий рыбоподъемный тракт, соединяющий нижний и верхний бьефы гидротехнического сооружения, состоящий из подъемной шахты, и средство для подъема рыбы.
Недостатком устройства является сложность его конструкции.
Известен рыбоход [4], включающий рыбоподъемный тракт соединяющий нижний и верхний бьефы гидротехнического сооружения, состоящий из подъемных шахт, расположенных ступенчато друг за другом, средство для подъема рыбы в виде перфорированных трубопроводов, уложенных на дне рабочей камеры и соединенных с источником рабочей среды, при этом выпускные отверстия перфорированных трубопроводов ориентированы во внутреннее пространство рабочей камеры.
Недостатком устройства является сложность его конструкции.
Известен рыбоход [5], включающий рыбоподъемный тракт, соединяющий нижний и верхний бьефы гидротехнического сооружения, состоящий из подъемных шахт, расположенных последовательно дуг за другом, средство для подъема рыбы в виде перфорированных трубопроводов, уложенных на дне рабочей камеры и соединенных с источником рабочей среды, при этом выпускные отверстия перфорированных трубопроводов ориентированы во внутреннее пространство рабочей камеры.
Недостатком устройства является сложность его конструкции.
Известен рыбоподъемник [6], включающий рыбоподъемный тракт, соединяющий нижний и верхний бьефы гидротехнического сооружения, состоящий из подъемной шахты, средство для подъема рыбы в виде эжектора, соединенного с источником рабочей среды, при этом выпускное отверстие эжектора ориентировано во внутреннее пространство рабочей камеры. Недостатком устройства является сложность его конструкции. Известен рыбоподъемник [7], включающий рыбоподъемный тракт соединяющий нижний и верхний бьефы гидротехнического сооружения, состоящий из подъемной шахты, средство для подъема рыбы в виде перфорированных трубопроводов, уложенных на дне рабочей камеры и соединенных с источником рабочей среды, при этом выпускные отверстия перфорированных трубопроводов ориентированы во внутреннее пространство рабочей камеры. Недостатком устройства является сложность его конструкции. Известен рыбоподъемник [8], включающий рыбоподъемный тракт соединяющий нижний и верхний бьефы гидротехнического сооружения, состоящий из подъемных шахт, расположенных последовательно дуг за другом, средство для подъема рыбы в виде шнека.
Недостатком устройства является сложность его конструкции.
Известен рыбоподъемник [9], включающий рыбоподъемный тракт, соединяющий нижний и верхний бьефы гидротехнического сооружения, состоящий из подъемных шахт, расположенных ступенчато дуг за другом, средство для подъема рыбы в виде перфорированных трубопроводов, расположенных в рабочей камере и соединенных с источником рабочей среды, при этом выпускные отверстия перфорированных трубопроводов ориентированы во внутреннее пространство рабочей камеры.
Недостатком устройства является сложность его конструкции.
Известен рыбоподъемник [10], включающий рыбоподъемный тракт, соединяющий нижний и верхний бьефы гидротехнического сооружения, состоящий из подъемных шахт, расположенных ступенчато дуг за другом, средство для подъема рыбы в виде перфорированных трубопроводов, расположенных в рабочей камере и соединенных с источником рабочей среды, при этом выпускные отверстия перфорированных трубопроводов ориентированы во внутреннее пространство рабочей камеры.
Недостатком устройства является сложность его конструкции.
Известен рыбоподъемник [11], включающий рыбоподъемный тракт, соединяющий нижний и верхний бьефы гидротехнического сооружения, состоящий из подъемных шахт, расположенных ступенчато дуг за другом, средство для подъема рыбы в виде перфорированных трубопроводов, расположенных в рабочей камере и соединенных с источником рабочей среды, при этом выпускные отверстия перфорированных трубопроводов ориентированы во внутреннее пространство рабочей камеры.
Недостатком устройства является сложность его конструкции.
Известен рыбоподъемник [12], включающий рыбоподъемный тракт, соединяющий нижний и верхний бьефы гидротехнического сооружения, состоящий из подъемных шахт, расположенных ступенчато дуг за другом, средство для подъема рыбы в виде перфорированных трубопроводов, расположенных в рабочей камере и соединенных с источником рабочей среды, при этом выпускные отверстия перфорированных трубопроводов ориентированы во внутреннее пространство рабочей камеры.
Недостатком устройства является сложность его конструкции.
Известен рыбоподъемник [13], включающий рыбоподъемный тракт, соединяющий нижний и верхний бьефы гидротехнического сооружения, состоящий из подъемных шахт, расположенных ступенчато дуг за другом, средство для подъема рыбы в виде перфорированных трубопроводов, расположенных в рабочей камере и соединенных с источником рабочей среды, при этом выпускные отверстия перфорированных трубопроводов ориентированы во внутреннее пространство рабочей камеры.
Недостатком устройства является сложность его конструкции.
Известен рыбоподъемник [14], включающий рыбоподъемный тракт, соединяющий нижний и верхний бьефы гидротехнического сооружения, состоящий из подъемной шахты, средство для подъема рыбы в виде перфорированных трубопроводов, соединенных с источником рабочей среды, при этом выпускные отверстия перфорированных трубопроводов ориентированы во внутреннее пространство рабочей камеры.
Недостатком устройства является сложность его конструкции.
Известен рыбоподъемник [15], включающий рыбоподъемный тракт, соединяющий нижний и верхний бьефы гидротехнического сооружения, состоящий из подъемной шахты, средство для подъема рыбы в виде насоса, компрессора и эжектора, соединенных с источниками рабочей среды, при этом выпускное отверстие эжектора ориентировано во внутреннее пространство рабочей камеры.
Недостатком устройства является сложность его конструкции.
Известен рыбоподъемник [16], включающий рыбоподъемный тракт, соединяющий нижний и верхний бьефы гидротехнического сооружения, состоящий из подъемной шахты, средство для подъема рыбы в виде перфорированных трубопроводов, уложенных на дне рабочей камеры и соединенных с источником рабочей среды, при этом выпускные отверстия перфорированных трубопроводов ориентированы во внутреннее пространство рабочей камеры.
Недостатком устройства является сложность его конструкции и низкий кпд подъема молоди рыбы.
Известен рыбоподъемник [17], включающий рыбоподъемный тракт в виде рыбозаградительного экрана из водовоздушной завесы, средство для подъема рыбы в виде перфорированных трубопроводов, уложенных на дне рабочей камеры и соединенных с источником рабочей среды, при этом выпускные отверстия перфорированных трубопроводов ориентированы во внутреннее пространство рабочей камеры.
Недостатком устройства является сложность его конструкции и низкий кпд подъема молоди рыбы.
Наиболее близким по технической сущности и достигаемому результату является рыбоподъемник [18], включающий рыбоподъемный тракт, соединяющий нижний и верхний бьефы гидротехнического сооружения, состоящий из подъемных шахт, расположенных ступенчато с увеличением отметки дна каждой вышерасположенной подъемной шахты в сторону верхнего бьефа, входной оголовок в виде лотка примыкающего к подъемной шахте, сопрягающейся с нижним бьефом, при этом подъемная шахта включает рабочую камеру, соединяющуюся посредством переливной перегородки с адаптационной камерой, средство для подъема молоди рыбы в виде перфорированных трубопроводов, уложенных на дне рабочей камеры и соединенных с источником рабочей среды, при этом выпускные отверстия перфорированных трубопроводов ориентированы во внутреннее пространство рабочей камеры, причем водоприемное отверстие рабочей камеры снабжено потокоформирующим элементом, расположенным выше него, при этом поверхность потокоформирующего элемента, обращенная в сторону нижнего бьефа, выполнена под углом к водоприемному отверстию и с наклоном в сторону нижнего бьефа, причем подъемные шахты, кроме подъемной шахты, сопрягающейся с нижним бьефом, соединяются между собой через водоприемное отверстие, примыкающее к адаптационной камере нижерасположенной подъемной шахты.
Недостатком устройства является низкий кпд подъема молоди рыбы.
Целью изобретения является повышение эффективности работы.
Сущность изобретения заключается в следующем.
По п.1 формулы изобретения. Выполнение источника рабочей среды, снабженного насосом и гидродинамическим кавитационным аппаратом с воздухоподводящим патрубком, позволяет формировать напорный водовоздушный двухфазный расход, характеризующийся заданным диаметром пузырьков воздуха. Кроме того, при выпуске этого расхода в виде водовоздушных гидравлических струй в рабочую камеру, они благодаря высокому уровню кинетической энергии, позволяют повысить кпд подъема молоди рыбы на 15-25%, в том числе и за счет своей высокой эжекционной способности. Компоновка, когда напорная линия насоса соединена с входной частью гидродинамического кавитационного аппарата, выполненной в виде конфузора, соединяющегося с проточной камерой гидродинамического кавитационного аппарата, в которой соосно с ней установлено тело кавитации, концевая часть которого обращена в сторону диффузора выходной части гидродинамического кавитационного аппарата, соединенной подводящим трубопроводом с перфорированными трубопроводами рабочих камер, причем воздухоподводящий патрубок соединен с начальной частью конфузора, в полной степени соответствует технологическому процессу формирования водовоздушного расхода.
По п.2 формулы изобретения. Вариант, когда выпускные отверстия перфорированных трубопроводов снабжены струеформирующими насадками, позволяет улучшить условия для формирования как начальных участков водовоздушных гидравлических струй, так и общей их структуры.
По п.3 формулы изобретения. Вариант, когда верхняя кромка водоприемного отверстия и нижняя кромка потокоформирующего элемента выполнены с закруглением и плавно сопрягаются друг с другом, образуя безотрывный обтекаемый контур, улучшает условия подхода потока и не травмирует молодь рыбы.
По п.4 формулы изобретения. Вариант, когда входной оголовок рыбоподъемного тракта расположен в концевой части сетного полотна рыбозащитного сооружения, позволяет эффективно отводить молодь рыбы в водоем, отметка поверхности воды в котором выше, чем отметка уровня воды в подводящем канале рыбозащитного сооружения.
По п.5 формулы изобретения. Вариант, когда входной оголовок рыбоподъемного тракта расположен в концевой части мусорорыбоотводного лотка, размещенного ниже, по течению, перфорированного трубопровода, формирующего рыбозаградительный экран в виде воздушно-пузырьковой завесы, также позволяет эффективно отводить молодь рыбы в водоем, отметка поверхности воды в котором выше, чем отметка уровня воды в подводящем канале рыбозащитного сооружения.
По п.6 формулы изобретения. Вариант, когда рыбоподъемный тракт выполнен спиралевидной формы, при этом вышерасположенные витки спирали расположены над нижерасположенными витками спирали, позволяет получить его рациональную компоновку, что в минимальной степени затрагивает проблему отторжения земельных ресурсов.
Решение поставленной задачи достигается путем создания новой конструкции рыбоподъемника сооружения. Графический материал, иллюстрирующий предлагаемое изобретение, представлен на следующих фигурах:
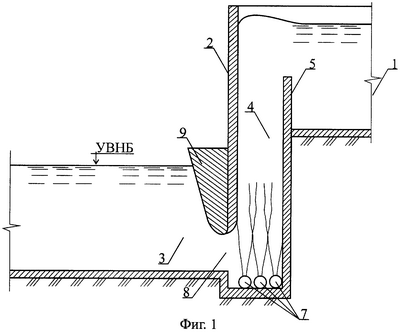
фиг.1 – входной оголовок, фрагмент продольного разреза;
фиг.2 – рабочая камера, перфорированные трубопроводы;
фиг.3 – то же, вариант с насадками;
фиг.4 – гидродинамический кавитационный аппарат, продольный разрез;
фиг.5 – входной оголовок рыбоподъемного тракта расположен в концевой части мусорорыбоотводного лотка, размещенного ниже, по течению, перфорированного трубопровода, формирующего рыбозаградительный экран в виде воздушно-пузырьковой завесы;
фиг.6 – входной оголовок рыбоподъемного тракта расположен в концевой части сетного полотна рыбозащитного сооружения;
фиг.7 – рыбоподъемный тракт, продольный разрез;
фиг.8 – рыбоподъемный тракт выполнен спиралевидной формы;
фиг.9 – то же, вариант, продольный разрез;
фиг.10 – то же, план.
Рыбоподъемник для отвода молоди рыбы включает рыбоподъемный тракт 1, соединяющий нижний и верхний бьефы гидротехнического сооружения, состоящий из подъемных шахт 2, расположенных ступенчато с увеличением отметки дна каждой вышерасположенной подъемной шахты 2 в сторону верхнего бьефа, входной оголовок 3 в виде лотка примыкающего к подъемной шахте 2, сопрягающейся с нижним бьефом, при этом подъемная шахта 2 включает рабочую камеру 4, соединяющуюся посредством переливной перегородки 5 с адаптационной камерой 6, средство для подъема молоди рыбы в виде перфорированных трубопроводов 7, уложенных на дне рабочей камеры 4 и соединенных с источником рабочей среды, при этом выпускные отверстия перфорированных трубопроводов 7 ориентированы во внутреннее пространство рабочей камеры 4, причем водоприемное отверстие 8 рабочей камеры 4 снабжено потокоформирующим элементом 9, расположенным выше него, при этом поверхность потокоформирующего элемента 9, обращенная в сторону нижнего бьефа, выполнена под углом к водоприемному отверстию 9 и с наклоном в сторону нижнего бьефа, причем подъемные шахты 2, кроме подъемной шахты 2 сопрягающейся с нижним бьефом, соединяются между собой через водоприемное отверстие 8, примыкающее к адаптационной камере 6 нижерасположенной подъемной шахты 2.
Источник рабочей среды снабжен насосом 10 и гидродинамическим кавитационным аппаратом 11 с воздухоподводящим патрубком 12, при этом напорная линия насоса 10 соединена с входной частью гидродинамического кавитационного аппарата 11, выполненной в виде конфузора 13, соединяющегося с проточной камерой 14 гидродинамического кавитационного аппарата 11, в которой соосно с ней установлено тело кавитации 15, концевая часть которого обращена в сторону диффузора 16 выходной части гидродинамического кавитационного аппарата 11, соединенной подводящим трубопроводом 17 с перфорированными трубопроводами 7 рабочих камер 4, причем воздухоподводящий патрубок 12 соединен с начальной частью конфузора 13.
Помимо того, выпускные отверстия перфорированных трубопроводов 7 могут быть снабжены струеформирующими насадками 18.
Вместе с тем, верхняя кромка водоприемного отверстия 8 и нижняя кромка потокоформирующего элемента 9 могут быть выполнены с закруглением и плавно сопрягаются друг с другом, образуя безотрывный обтекаемый контур.
Кроме того, входной оголовок 3 рыбоподъемного тракта 1 может быть расположен в концевой части сетного полотна 19 рыбозащитного сооружения.
Помимо того, входной оголовок 3 рыбоподъемного тракта 1 может быть расположен в концевой части мусорорыбоотводного лотка 20, размещенного ниже, по течению, перфорированного трубопровода 21, формирующего рыбозаградительный экран в виде воздушно-пузырьковой завесы.
Вместе с тем, рыбоподъемный тракт 1 может быть выполнен спиралевидной формы, при этом вышерасположенные витки спирали расположены над нижерасположенными витками спирали.
Рыбоподъемник для отвода молоди рыбы работает следующим образом.
Молодь рыбы, отведенная от сетного полотна 19 или от рыбозаградительного экрана, формируемого перфорированным трубопроводом 21 и мусорорыбоотводным лотком 20, концентрируется в заданном месте рыбозащитного сооружения (фиг.5, 6). Проходя створ входного оголовка 3, молодь рыбы попадает в зону влияния всасывающего факела водоприемного отверстия 8 и оказывается внутри рабочей камеры 4 подъемной шахты 2 (фиг.2).
Благодаря подаче водовоздушного потока в перфорированные трубопроводы 7, из их выпускных отверстий формируются гидравлические водовоздушные струи, ориентированные вертикально вверх. Гидравлические водовоздушные струи активно эжектируют окружающие их водные массы, вовлекая в восходящие потоки молодь рыбы (активную и пассивную), которая транспортируется вверх. В верхней части рабочей камеры 4 подъемной шахты 2, расход воды с содержащейся в нем молодью рыбы переливается через переливную перегородку 5 и попадает в адаптационную камеру 6. Дальнейшая технология подъема молоди рыбы аналогичная вышеописанной, позволяет транспортировать молодь рыбы по рыбоподъемному тракту 1 в верхний бьеф (водоем или рыбоотвод).
Выполнение источника рабочей среды, снабженного насосом 10 и гидродинамическим кавитационным аппаратом 11 с воздухоподводящим патрубком 12, позволяет формировать напорный водовоздушный двухфазный расход, характеризующийся заданным диаметром пузырьков воздуха. Кроме того, при выпуске этого расхода в виде водовоздушных гидравлических струй в рабочую камеру 4, они благодаря высокому уровню кинетической энергии, позволяют повысить кпд подъема молоди рыбы на 15-25%, в том числе и за счет своей высокой эжекционной способности. Компоновка, когда напорная линия насоса 10 соединена с входной частью гидродинамического кавитационного аппарата 11, выполненной в виде конфузора 13, соединяющегося с проточной камерой 14 гидродинамического кавитационного аппарата 11, в которой соосно с ней установлено тело кавитации 15, концевая часть которого обращена в сторону диффузора 16 выходной части гидродинамического кавитационного аппарата 11, соединенной подводящим трубопроводом 17 с перфорированными трубопроводами 7 рабочих камер 4, причем воздухоподводящий патрубок 12 соединен с начальной частью конфузора 13, в полной степени соответствует технологическому процессу формирования водовоздушного расхода.
Вариант, когда выпускные отверстия перфорированных трубопроводов 7 снабжены струеформирующими насадками 18, позволяет улучшить условия для формирования как начальных участков водовоздушных гидравлических струй, так и общей их структуры.
Вариант, когда верхняя кромка водоприемного отверстия 8 и нижняя кромка потокоформирующего элемента 9 выполнены с закруглением и плавно сопрягаются друг с другом, образуя безотрывный обтекаемый контур, улучшает условия подхода потока и не травмирует молодь рыбы.
Вариант, когда входной оголовок 3 рыбоподъемного тракта 1 расположен в концевой части сетного полотна 19 рыбозащитного сооружения, позволяет эффективно отводить молодь рыбы в водоем, отметка поверхности воды в котором выше, чем отметка уровня воды в подводящем канале рыбозащитного сооружения (фиг.6).
Вариант, когда входной оголовок 3 рыбоподъемного тракта 1 расположен в концевой части мусорорыбоотводного лотка 20, размещенного ниже, по течению, перфорированного трубопровода 21, формирующего рыбозаградительный экран в виде воздушно-пузырьковой завесы, также позволяет эффективно отводить молодь рыбы в водоем, отметка поверхности воды в котором выше, чем отметка уровня воды в подводящем канале рыбозащитного сооружения (фиг.5).
Вариант, когда рыбоподъемный тракт 1 выполнен спиралевидной формы, при этом вышерасположенные витки спирали расположены над нижерасположенными витками спирали, позволяет получить его рациональную компоновку, что в минимальной степени затрагивает проблему отторжения земельных ресурсов.
Предлагаемая конструкция рыбоподъемника позволяет повысить эффективность подъема молоди рыбы.
Источники информации
1. А.С. СССР (SU) №282153. “Рыбоподъемник”. Опубл. Б.И. №29, 1970.09.14. Авторы: Клименко Н.И., Давыдов В.Н.
2. А.С. СССР (SU) №293918. “Рыбоход”. Опубл. Б.И. №6, 1971.01.26. Автор: Быков П.П.
3. А.С. СССР (SU) №1006590. “Рыбоподъемник”. Опубл. Б.И. №11, 1983.03.23. Автор: Зюзьгин Н.И.
4. А.С. СССР (SU) №1060750. “Рыбоход”. Опубл. Б.И. №46, 1983.12.15. Авторы: Авдонькин А.Ф., Шаталов И.М.
5. Патент РФ (RU) №2245420. “Рыбоход”. Опубл. Б.И. №3, 2005.01.27. Автор: Чистяков А.А.
6. А.С. СССР (SU) №1153003. “Рыбопропускное устройство”. Опубл. Б.И. №16, 1985.04. 30. Авторы: Киселев-Цецхладзе В.Н., Малеванчик Б.С., Муравенко Т.А.
7. А.С. СССР (SU) №1585449. “Рыбоподъемник”. Опубл. Б.И. №30, 1990.09.15. Авторы: Аникин B.C., Барутенко А.С., Зевакин П.А.
8. А.С. СССР (SU) №1640282. “Рыбоподъемник”. Опубл. Б.И. №13, 1991.04.07. Авторы: Михеев П.А., Новойдарский А.В., Боровской В.П., Шелестова Н.А.
9. Патент РФ (RU) №2130990. “Рыбоход для пропуска рыбы из нижнего бьефа гидроузла в верхний”. Опубл. 1999.05.27. Авторы: Введенский О.Г., Полянин А.Я.
10. Патент РФ (RU) №2130991. “Способ привлечения и перевода рыб из нижнего бьефа гидроузла в верхний”. Опубл. 1999.05.27. Авторы: Введенский О.Г.
11. Патент РФ (RU) №2178480. “Конструкция насосно-эжекторной установки для транспортировки жидкости с первого участка на второй, выше расположенный участок”. Опубл. 2002.01.20. Авторы: Введенский О.Г., Полянин А.Я.
12. Патент РФ (RU) №2179265. “Способ транспортировки жидкости с первого участка на второй, выше расположенный участок”. Опубл. 2002.02.10. Авторы: Введенский О.Г.
13. Патент РФ (RU) №2236501. “Способ пропуска рыбы через рыбоходный тракт рыбохода и рыбоход его осуществляющий”. Опубл. 2004.09.20. Автор: Чистяков А.А.
14. А.С. СССР (SU) №1122772. “Рыбоподъемник”. Опубл. Б.И. №41, 1984.11.07. Авторы: Лысов К.И., Лысов Л.К.
15. А.С. СССР (SU) №964258. “Способ транспортирования рыбы струйным аппаратом”. Опубл. Б.И. №37, 1982.10.07. Авторы: Козлов Д.А., Шаталов И.М.
16. А.С. СССР (SU) №789062. “Рыбоподъемное устройство”. Опубл. Б.И. №47, 1980.12.23. Автор: Петрашкевич В.В.
17. Патент РФ (RU) №2144107. “Способ гидродинамической микропузырьковой рыбозащиты водозаборов и устройство для его осуществления”. Опубл. 2000.01.10. Авторы: Булгаков Б.Б., Булгаков А.Б., Банцевич З.Л., Преснов Г.В., Романцов В.П.
18. Михеев П.А. Рыбозащитные сооружения и устройства. М.: Изд-во “Рома”, 2000. – 405 с. (рис.8.10, стр.298).
Формула изобретения
1. Рыбоподъемник для отвода молоди рыбы, включающий рыбоподъемный тракт, соединяющий нижний и верхний бьефы гидротехнического сооружения и состоящий из подъемных шахт, расположенных ступенчато с увеличением отметки дна каждой вышерасположенной подъемной шахты в сторону верхнего бьефа, входной оголовок в виде лотка, примыкающего к подъемной шахте, сопрягающейся с нижним бьефом, при этом подъемная шахта включает рабочую камеру, соединяющуюся посредством переливной перегородки с адаптационной камерой, средство для подъема молоди рыбы в виде перфорированных трубопроводов, уложенных на дне рабочей камеры и соединенных с источником рабочей среды, при этом выпускные отверстия перфорированных трубопроводов ориентированы во внутреннее пространство рабочей камеры, причем водоприемное отверстие рабочей камеры снабжено потокоформирующим элементом, расположенным выше него, при этом поверхность потокоформирующего элемента, обращенная в сторону нижнего бьефа, выполнена под углом к водоприемному отверстию и с наклоном в сторону нижнего бьефа, причем подъемные шахты, кроме подъемной шахты, сопрягающейся с нижним бьефом, соединены между собой через водоприемное отверстие, примыкающее к адаптационной камере нижерасположенной подъемной шахты, отличающийся тем, что источник рабочей среды снабжен насосом и гидродинамическим кавитационным аппаратом с воздухоподводящим патрубком, при этом напорная линия насоса соединена с входной частью гидродинамического кавитационного аппарата, выполненной в виде конфузора, соединяющегося с проточной камерой гидродинамического кавитационного аппарата, в которой соосно с ней установлено тело кавитации, концевая часть которого обращена в сторону диффузора выходной части гидродинамического кавитационного аппарата, соединенной подводящим трубопроводом с перфорированными трубопроводами рабочих камер, причем воздухоподводящий патрубок соединен с начальной частью конфузора.
2. Рыбоподъемник по п.1, отличающийся тем, что выпускные отверстия перфорированных трубопроводов снабжены струеформирующими насадками.
3. Рыбоподъемник по п.1 или 2, отличающийся тем, что верхняя кромка водоприемного отверстия и нижняя кромка потокоформирующего элемента выполнены с закруглением и плавно сопрягаются друг с другом, образуя безотрывный обтекаемый контур.
4. Рыбоподъемник по п.1 или 2, отличающийся тем, что входной оголовок рыбоподъемного тракта расположен в концевой части сетного полотна рыбозащитного сооружения.
5. Рыбоподъемник по п.1 или 2, отличающийся тем, что входной оголовок рыбоподъемного тракта расположен в концевой части мусорорыбоотводного лотка, размещенного ниже по течению перфорированного трубопровода, формирующего рыбозаградительный экран в виде воздушно-пузырьковой завесы.
6. Рыбоподъемник по п.1 или 2, отличающийся тем, что рыбоподъемный тракт выполнен спиралевидной формы, при этом вышерасположенные витки спирали расположены над нижерасположенными витками спирали.
РИСУНКИ
MM4A – Досрочное прекращение действия патента СССР или патента Российской Федерации на изобретение из-за неуплаты в установленный срок пошлины за поддержание патента в силе
Дата прекращения действия патента: 14.02.2008
Извещение опубликовано: 27.12.2009 БИ: 36/2009
|
|