|
|
(21), (22) Заявка: 2006111365/02, 07.04.2006
(24) Дата начала отсчета срока действия патента:
07.04.2006
(46) Опубликовано: 27.01.2008
(56) Список документов, цитированных в отчете о поиске:
RU 2007463 C1, 15.02.1994. RU 2001112107 А, 10.02.2003. US 3834895 А, 10.09.1974. JP 06-212228 А, 02.08.1994.
Адрес для переписки:
117461, Москва, ул. Каховка, 33, корп.1, кв.53, Ю.А.Дербишеру
|
(72) Автор(ы):
Леонтьев Игорь Анатольевич (RU), Лысов Георгий Васильевич (RU), Степанов Юрий Дмитриевич (RU), Черномырдин Виталий Викторович (RU), Клямко Андрей Станиславович (RU)
(73) Патентообладатель(и):
ООО “ТВИНН” (RU)
|
(54) ПЛАЗМЕННАЯ ПЕЧЬ ДЛЯ ПРЯМОГО ВОССТАНОВЛЕНИЯ МЕТАЛЛОВ
(57) Реферат:
Изобретение относится к бескоксовой металлургии, в частности к производству заготовок посредством восстановления оксидов металлов из металлосодержащего оксидного сырья в плазмохимических реакторах. В плазменной печи электродами являются полый катод, установленный на центральной оси с возможностью перемещения, и совмещенный с устройством сбора анод, а магнитное поле в объеме рабочей камеры создано магнитной системой. Печь снабжена средством подачи СВЧ-энергии в рабочую камеру. Устройство ввода шихты выполнено в виде охлаждаемой внутренней электропроводной трубы, размещенной в полости катода с зазором и изолированной от него электрически. Средство подачи СВЧ-энергии выполнено в виде коаксиально – волноводного перехода, состоящего из прямоугольного волновода, ось и широкая стенка которого перпендикулярны оси устройства, и образующих коаксиальную линию катода и внешней трубы, размещенной на крышке рабочей камеры снаружи катода с зазором и изолированной от него электрически. Причем в этом зазоре установлен завихритель газового потока, в одной из стенок волновода установлен патрубок ввода восстановительного газа, а магнитная система – вокруг внешней трубы. Внутренняя труба является вторым анодом. В условиях поддержания СВЧ-разряда под торцом катода и в зазоре между ним и внутренней трубой в сильном осевом магнитном поле электрическая дуга, возбужденная в этом зазоре, выходит из зазора, движется по торцу катода и разогревает его равномерно по всей поверхности. Это облегчает запуск основной дуги, позволяет поддерживать диффузный характер дуги и обеспечить снижение эрозии катода и повышение производительности устройства за счет увеличения периодов работы между заменами или процедурами наращивания катода. 8 з.п. ф-лы, 2 ил.
Область техники.
Изобретение относится к бескоксовой металлургии, в частности к производству заготовок посредством восстановления оксидов металлов из металлосодержащего оксидного сырья, такого как дисперсные руды, рудные концентраты, металлсодержащие оксидные отходы и частично восстановленные руды, газообразными и дисперсными восстановителями в плазмохимических реакторах, основная доля энергии в которые вводится с помощью дугового разряда.
Уровень техники.
Устройства для прямого восстановления металлов на основе дуговых разрядов описаны в известной технической литературе (“Электрические промышленные печи. Дуговые печи и установки специального нагрева”. /Под ред. Свенчанского А.Д. – М. Энергоиздат, 1981 г., с.251, 247). Обычно устройство содержит ванну расплава со средствами сбора металла и шлака, средства подачи исходного сырья и плазмообразующего газа, соленоид и расположенный на центральной оси рабочий электрод, выполненный из графита или вольфрама. В ряде случаев через полость рабочего электрода, установленного обычно в верхней части устройства, подают исходный материал и плазмообразующий газ и он является катодом дугового плазмотрона, роль анода выполняет ванна расплава металла, находящаяся на поде печи.
Общим недостатком этих устройств является наличие расходуемого электрода – катода, что требует остановки процесса для замены катода. Даже в том случае, когда электрод не заменяют, а наращивают и перемещают в рабочую зону посредством предусмотренных для этого устройств (патенты РФ №№1781306 и 2007463), технологический процесс остается прерывистым из-за необходимости отсоединения от центрального электрода – катода средств подачи рудного сырья на время установки резервного электрода и очистки элементов устройства, а конечный материал загрязняется продуктами эрозии катода. Кроме того, практически невозможно обеспечить стабильно равномерное пребывание обрабатываемого материала в дуговой области из-за значительного размера зеркала ванны расплава и хаотического перемещения по рабочей поверхности электрода контрагированного дугового пятна вследствие относительно низкой температуры торца катода. При этом велики затраты энергии на нагрев газовой среды, значительная часть энергии которой безвозвратно теряется, несмотря на попытки ее повторного использования (“Развитие бескоксовой металлургии”. /Под ред. Тулина Н.А., Майера К. – М.: Металлургия, 1987 г., пат России №2037524).
Замена в устройстве сбора металла графитовой или керамической ванны с подовым электродом на металлический охлаждаемый кристаллизатор (Пат. Великобритании №1054162) устраняет загрязнение металла материалом подового электрода, но не решает проблемы загрязнения и повышенного расхода центрального электрода – катода.
В самых различных плазменных технологиях, основанных на реализации неравновесных эффектов, объемности разряда и управляемости основными плазменными характеристиками в отсутствие расходуемых в технологическом процессе электродов может быть полезно использована СВЧ-плазма (напр. Пат РФ №№1602376, 2149521, 2225684). Недостатки устройств, основанных на СВЧ плазмохимических технологиях, связаны с низкой производительностью оборудования вследствие малости вводимой в разряд энергии.
Ближайшим прототипом предлагаемого изобретения является плазменная печь для прямого восстановления металлов, содержащая охлаждаемую рабочую камеру с крышкой и устройством сбора готового продукта, питатель шихты, устройство ввода шихты и средство ввода восстановительного газа в рабочую камеру, полый катод, установленный на центральной оси с возможностью перемещения, причем анод совмещен с устройством сбора, и магнитную систему (пат. РФ №2007463).
В этом устройстве шихту и восстановительный газ вводят через полость катода; при этом износ катода (обычно – графитового) определяется в основном двумя факторами: химическим – вследствие частичного восстановления руды за счет материала электрода и тепловым – за счет испарения материала катода вследствие его неравномерного нагрева ионным током дуги на катод. Одновременно имеет место процесс сужения полости катода вследствие осаждения на нем углерода, образовавшегося в результате пиролиза при использовании в качестве восстановительного газа углеводородов. На начальной стадии периода расплавления, когда дуга горит на холодный металл, возникают частые обрывы дуг (А.В.Смирнов. Управление перемещением электродов в дуговой печи в экстремальных ситуациях. Электрометаллургия, 2001, №6, с.21).
Сущность изобретения.
Техническая задача, решаемая предлагаемым устройством, заключается в увеличении производительности печи, снижении себестоимости продукции и повышении стабильности работы печи.
Технический результат заключается в снижении эрозии катода и облегчении режима запуска.
Указанный результат достигается благодаря тому, что в печь введено средство подачи СВЧ-энергии в рабочую камеру и устройство ввода шихты выполнено в виде охлаждаемой внутренней электропроводной трубы, размещенной в полости катода с зазором и изолированной от него электрически.
При этом средство ввода СВЧ-энергии выполнено в виде коаксиально – волноводного перехода, состоящего из прямоугольного волновода, ось и широкая стенка которого перпендикулярны оси устройства, и внешней трубы, размещенной на крышке рабочей камеры снаружи катода с зазором и изолированной от него электрически, причем в этом зазоре установлен завихритель газового потока, магнитная система – вокруг внешней трубы и в одной из стенок волновода размещен патрубок ввода восстановительного газа. Катод и внешняя труба образуют коаксиальную линию.
Кроме того, в зазоре между катодом и внутренней трубой введены диэлектрические крепежные кольца, на коаксиально – волноводном переходе установлен СВЧ-дроссель, отделенный от центрального электрода диэлектрическим изолятором, внутренняя труба является дополнительным (вторым) анодом, питатель шихты подключен к внутренней трубе через изолятор, вокруг устройства сбора продукта установлена дополнительная магнитная система, в боковой стенке рабочей камеры установлено устройство инициирования СВЧ-разряда, печь снабжена устройством наращивания и/или перемещения катода, а нижний конец внутренней трубы заглублен относительно нижнего торца катода.
Выполненные нами теоретические и экспериментальные исследования показали, что в условиях поддержания СВЧ-разряда под торцом катода и в зазоре между ним и внутренней трубой – вторым анодом в сильном осевом магнитном поле электрическая дуга, возбужденная в этом зазоре, выходит из этого зазора и движется по торцу катода. В результате торец катода разогревается, не наблюдается явно выраженной привязки дуги и обеспечивается диффузный режим горения дуги.
Используемые термины.
Плазменная печь – устройство, содержащее два или более электродов, между которыми в среде плазмообразующего газа возбуждают электрический разряд, управляемый газо- или магнитодинамическими методами, плазму которого используют для нагрева газа, плавления и восстановления рудного сырья.
Питатель – устройство, обычно содержащее бункер с исходным рудным сырьем и средство его подачи с заданной скоростью.
Устройство сбора готового продукта – устройство, выполняемое обычно в виде подины или кристаллизатора.
Подина – обычно охлаждаемый металлический ковш, содержащий защитную керамическую футеровку, отверстия для выпуска металла и шлака; между футеровкой и металлом ковша может быть введена графитовая кладка. Обычно один из электродов печи (анод) встроен в подину.
Кристаллизатор – устройство восстановления рудного сырья и сбора продукта – металла, в котором расплавленный металл охлаждают до твердого состояния с получением сляба. В случае образования шлака кристаллизатор снабжают отверстием для его вывода.
Сляб – полуфабрикат, представляющий собой металлическую заготовку прямоугольного поперечного сечения с большим отношением ширины к высоте, подготовленную для дальнейшей переработки, например, прокатки, ковки и т.д.
Шихта – смесь, состоящая из рудного сырья (руда, концентрат), легирующих и рафинирующих добавок.
Рудное, железорудное сырье – минеральное или техногенное сырье, содержащее один или более окислов, например, железа различной валентности.
Коаксиально – волноводный переход – устройство преобразования СВЧ-волны коаксиальной линии в СВЧ-волну, распространяющуюся в волноводе, и наоборот. Обычно состоит из коаксиальной линии, выполненной в виде внешнего и внутреннего проводников, и расположенного перпендикулярно к ее оси прямоугольного волновода. Конфигурация полей СВЧ-волны, возбуждаемой прямоугольным волноводом в коаксиальной линии, определяется соотношением поперечных размеров ее проводников и ориентацией стенок волновода относительно ее оси. Для предотвращения СВЧ-излучения в окружающее пространство со стороны перехода, противоположной коаксиальной линии, ее проводники должны быть замкнуты на расстоянии, близком четверти длины волны, а при необходимости обеспечить электрическую изоляцию между ними – должно быть установлено устройство, имитирующее такое замыкание – СВЧ-дроссель, или в зазоре между проводниками должен быть размещен диэлектрический поглощающий материал.
Описание чертежей.
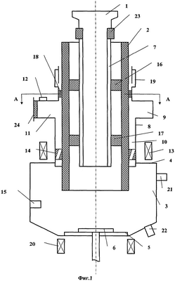
На фиг.1 схематически представлено продольное сечение предпочтительного варианта устройства.
На фиг.2 представлено поперечное сечение устройства.
Устройство содержит питатель 1 шихты, катод 2, рабочую камеру 3 с крышкой 4 и устройством сбора 5 готового продукта в виде подины, анод 6, внутреннюю металлическую охлаждаемую трубу 7, внешнюю металлическую трубу 8, коаксиально-волноводный переход 9 с коаксиальной частью 10 и прямоугольным волноводом 11, патрубок ввода восстановительного газа 12, соленоид 13, завихритель газового потока 14, устройство 15 инициирования СВЧ-разряда, крепежные диэлектрические изоляторы 16, 17 и 18, СВЧ-дроссель 19, дополнительную магнитную систему – соленоид 20, патрубки вывода отработанного газа 21, отверстия выпуска готового продукта 22, изолирующий диэлектрический изолятор 23, диэлектрическое окно 24.
Нижний конец внутренней трубы 7 заглублен относительно нижнего торца катода 2, а верхний ее конец через изолятор 22 подключен к питателю 1. Анод 6 печи совмещен с устройством сбора 5, внутренняя труба 7 является дополнительным (вторым) анодом. Внешняя труба 8 закреплена на крышке 4 рабочей камеры 3 и вместе с катодом 2 образует коаксиальную линию, верхним концом подключенную к коаксиально-волноводному переходу 9. Ось волновода 11 и его широкая стенка перпендикулярны оси устройства, патрубок ввода 12 восстановительного газа размещен в одной из стенок волновода 11. Соленоид 13 окружает охлаждаемую внешнюю трубу 8 над рабочей камерой 3. На этом же участке в зазоре между полым электродом 2 и внешней трубой 8 установлен диэлектрический завихритель газового потока 14, одновременно выполняющий роль фиксатора этого зазора. Те же роли фиксаторов зазоров выполняют изоляторы: 16 – в верхней части, 17 – в нижней части зазора между катодом 2 и трубой 7, 18 – между электродом 2 и дросселем 19. Дроссель 19 предотвращает СВЧ-излучение в окружающее пространство и может иметь конструкцию, не обязательно такую, которая представлена здесь. Например, в зазор между катодом 2 и продолжением внешней трубы над волноводом 11 может быть помещен диэлектрический поглощающий СВЧ-энергию материал.
В стенке 4 камеры 3 помещено обычно применяемое устройство инициирования СВЧ-разряда 15, выполненное в виде металлического штыря, кратковременно вводимого в камеру 3. Инициирование СВЧ-разряда может быть выполнено и иным способом (например, кратковременным касанием катодом 2 анода 6 при пониженном напряжении между ними, использованием пускового плазмотрона, высокочастотным пробоем и т.д.). В одной из стенок камеры 3 (в данном случае в боковой) установлены патрубки 21 вывода отработанного газа, а под камерой 3 – второй соленоид 20. Окно 24 герметизирует печь.
Осуществление изобретения.
Устройство работает следующим образом. На электродах устанавливают штатные значения электрических потенциалов: на катоде 2 – отрицательный, на внутренней трубе 7 – промежуточный между нулевым потенциалом первого анода 6 и потенциалом электрода 2 (возможность такого задания потенциала на трубе 7 обеспечена электрической изолированностью ее от других электродов печи). На устройстве сбора 5 и аноде 6 размещают насыпку шихты и подают восстановительный газ в область нижнего торца катода 2. Часть восстановительного газа может подаваться через трубу 7 вместе с шихтой. Охлаждающую жидкость покачивают между наружной и внутренней стенками трубы 7.
В камеру 3 подводят СВЧ-энергию, устройством 15 инициирования разряда возбуждают СВЧ-разряд и вспомогательную дугу между катодом 2 и трубой 7 (дополнительным анодом). В представленном здесь предпочтительном варианте средство подачи СВЧ-энергии в камеру 3 выполнено в виде коаксиально-волноводного перехода 9, состоящего из прямоугольного волновода 11 и коаксиальной линии 10, образованной катодом 2 и внешней трубой 8, закрепленной на камере 3. Однако подача СВЧ-энергии в камеру 3 может быть осуществлена и другими средствами, например, прямоугольным волноводом, подключенным сбоку к стенке камеры 3 (пат. РФ №1602376), или узлами ввода СВЧ-энергии, подключенными непосредственно к крышке и/или днищу камеры 3 (пат. РФ №2143794). Во всех указанных вариантах обеспечивается главное условие реализуемости заявленного технического результата – создание плазмы СВЧ-разряда под нижним торцом катода 2.
Плазма СВЧ-разряда и вспомогательной дуги, распространяясь в сторону анода 6, частично восстанавливает насыпку сырья на нем и расплавляет ее. Плазма вспомогательной дуги заполняет все пространство между электродами и гарантирует надежное возбуждение дуги основного разряда. После этого через внутреннюю трубу 7 шихту от питателя 1 подают в рабочую камеру 3.
Восстановленный металл либо сливают через отверстие 22 при использовании подины, либо охлаждают и вытягивают в случае использования кристаллизатора.
Используемый в предлагаемом изобретении физический эффект, заключающийся в диффузном характере горения дуги, при котором токоотбор осуществляется равномерно со всей поверхности торца катода 2 при плотности тока, существенно меньшей, чем в прототипе, оказался возможным благодаря тому, что в осевом магнитном поле соленоида 13 вспомогательная дуга выходит из зазора между катодом 2 и вторым анодом 7 под нижний торец катода 2 и в присутствии СВЧ-разряда разогревает его равномерно по всей поверхности. При известности самой возможности создания диффузного режима горения дуги с помощью вспомогательной дуги (А.С. СССР №534891) надежно зажечь и вывести вспомогательную дугу под торец катода 2 удалось лишь с помощью СВЧ-разряда. Равномерности разогрева торца катода 2 содействует циркуляция газа, создаваемая завихрителем 14.
Кроме того, СВЧ-разряд в прикатодной области основной дуги стабилизирует ее, так как даже при возможных перескоках дуги, наблюдаемых в известных устройствах, заполняющая эту область плазма СВЧ-разряда не допускает прекращения тока с обрывом основной дуги.
Для обеспечения электрической изоляции выходной патрубок питателя 1 может быть введен в трубу 7 с зазором, но механическое соединение их через изолятор 23 фиксирует их взаимное положение.
В предложенном устройстве расход катода 2 уменьшен многократно по сравнению с прототипом и это резко увеличило время его непрерывной работы, однако катод 2 необходимо перемещать в сторону камеры 3, пусть и значительно медленнее, чем в прототипе, а по мере приближения верхнего торца катода 2 к дросселю заменять его или наращивать. Учитывая большой осевой размер устройства и, соответственно, большую длину остающейся части катода 2, целесообразно его не заменять, а наращивать резервным электродом с помощью устройства, например, аналогичного прототипу. В этом случае питатель должен иметь поперечные размеры, меньшие диаметра полости катода 2, и устройство перемещения (на чертеже не показано) в рабочем положении подсоединено к электроду 2. Трубопровод (не показан), подающий шихту в питатель 1 отсоединяют от него, а шланги системы охлаждения (не показаны) отсоединяют от трубы 7 и отводят в сторону, фиксатором (не показан) зажимают катод 2, подсоединяют резервный электрод к катоду 2, например, посредством предназначенной для этого резьбы на их концах, отсоединяют устройство перемещения от катода 2 и подсоединяют его к резервному электроду, освобождают катод 2 от фиксатора, возвращают на место подводящий трубопровод и шланги системы охлаждения и продолжают процесс.
Дополнительная магнитная система 20 усиливает магнитное поле, которое вращает дугу и расплав металла на платформе 5, повышая эффективность взаимодействия шихты с восстановительным газом и однородность готового продукта.
Заглубление внутренней трубы 7 относительно нижнего торца катода 2 предотвращает перескок основной дуги на трубу 7 и ее разрушение, а величина заглубления определяется режимом работы печи.
Таким образом, возбуждение СВЧ-разряда обеспечило выведение под торец катода 2 вспомогательной дуги, образованной разрядом между ним и размещенным в его полости дополнительным анодом 7, и позволило облегчить запуск устройства. Кроме того, в плазме СВЧ-разряда вспомогательная и основная дуги приобрели устойчивость, что обеспечило стабильность работы печи, а поддержание диффузного характера дуги обеспечило снижение эрозии катода 2 и повышение производительности устройства за счет увеличения периодов работы между заменами или процедурами наращивания катода.
При этом создание устойчивого диффузного плазменного образования улучшает процесс восстановления, повышая общую производительность печи и снижая себестоимость продукции.
Формула изобретения
1. Плазменная печь для прямого восстановления металлов, содержащая охлаждаемую рабочую камеру с крышкой и устройством сбора готового продукта, питатель шихты, устройство ввода шихты и средство ввода восстановительного газа в рабочую камеру, полый катод, установленный на центральной оси печи с возможностью его перемещения, анод, совмещенный с устройством сбора, и магнитную систему, отличающаяся тем, что она снабжена средством подачи СВЧ-энергии в рабочую камеру, устройство ввода шихты выполнено в виде охлаждаемой внутренней электропроводной трубы, размещенной в полости катода с зазором и изолированной от него электрически.
2. Плазменная печь по п.1, отличающаяся тем, что средство подачи СВЧ-энергии выполнено в виде коаксиально-волноводного перехода, состоящего из прямоугольного волновода, ось и широкая стенка которого перпендикулярны оси печи, и образующих коаксиальную линию катода и внешней трубы, размещенной на крышке рабочей камеры снаружи катода с зазором и изолированной от него электрически, причем в этом зазоре установлен завихритель газового потока, в одной из стенок волновода установлен патрубок ввода восстановительного газа, а магнитная система – вокруг внешней трубы.
3. Плазменная печь по п.2, отличающаяся тем, что на внешней трубе над коаксиально-волноводным переходом установлен СВЧ-дроссель, отделенный от катода диэлектрическим изолятором.
4. Плазменная печь по п.1, отличающаяся тем, что внутренняя труба является дополнительным анодом.
5. Плазменная печь по п.1, отличающаяся тем, что питатель шихты подключен к внутренней трубе через изолятор.
6. Плазменная печь по п.1, отличающаяся тем, что в боковой стенке рабочей камеры установлено устройство инициирования СВЧ-разряда.
7. Плазменная печь по п.1, отличающаяся тем, что вокруг устройства сбора или под ним установлена дополнительная магнитная система.
8. Плазменная печь по п.1, отличающаяся тем, что она снабжена устройством наращивания и/или перемещения катода.
9. Плазменная печь по любому из пп.1-8, отличающаяся тем, что нижний конец внутренней трубы заглублен относительно нижнего торца катода и в зазор между ним и внутренней трубой введены диэлектрические крепежные кольца.
РИСУНКИ
|
|