|
(21), (22) Заявка: 2005123121/15, 20.07.2005
(24) Дата начала отсчета срока действия патента:
20.07.2005
(43) Дата публикации заявки: 27.01.2007
(46) Опубликовано: 27.01.2008
(56) Список документов, цитированных в отчете о поиске:
SU 1638111 A1, 30.03.1991. RU 2244209 C1, 10.01.2005. RU 2220297 C1, 27.12.2003. SU 1321688 A1, 07.07.1987. DE 3632309 A1, 02.04.1987. SU 1797941 A1, 28.02.1993. Краткая Российская энциклопедия. – М.: Большая Российская энциклопедия: ООО «Издательский дом «ОНИКС 21 век», 2004, т.2, с.137, 1 столб.
Адрес для переписки:
600000, г.Владимир, ул. Горького, 87, ВлГУ, патентный отдел
|
(72) Автор(ы):
Оленев Евгений Александрович (RU), Сушкова Людмила Тихоновна (RU)
(73) Патентообладатель(и):
Владимирский государственный университет (ВлГУ) (RU)
|
(54) СПОСОБ ВАКУУМНОЙ ДЕАЭРАЦИИ ВОДЫ
(57) Реферат:
Изобретение относится к очистке воды от газов и может быть применено для удаления хлора из водопроводной воды. Способ вакуумной деаэрации воды заключается в вакуумировании пространства над уровнем деаэрируемой воды, которое чередуют с прерыванием, в течение которого производят смену верхних и нижних слоев воды за счет их конвективного тока, причем перед притоком в сосуд воду подогревают до температуры деаэрированной воды, а приток осуществляют на поверхность последней. При этом пространство над уровнем деаэрируемой воды дезинфицируют влажным насыщенным паром. Конвективный ток осуществляют за счет градиентов плотности и температуры воды. Технический результат – упрощение конструкции аппаратуры, повышение качества очистки воды, а также снижение энергетических затрат в процессе эксплуатации. 7 з.п. ф-лы, 1 ил.
Изобретение относится к очистке воды от газов и может быть применено для удаления хлора из водопроводной воды.
Известен способ деаэрации воды при давлении ниже атмосферного путем подачи в деаэратор двух потоков воды с различными температурами и использования пара, образующегося вследствие вскипания горячей воды при ее деаэрации в зоне пониженного давления [1].
Недостатками такого способа являются большие энергозатраты и сложность конструкции аппаратуры, реализующей способ.
Известен способ очистки воды от сероводорода путем деаэрации под вакуумом, соответствующим точке кипения обрабатываемой воды, с последующей утилизацией сероводорода [2].
Недостаткам этого способа также являются большие энергозатраты и сложность конструкции аппаратуры.
Прототипом является способ вакуумной деаэрации воды, включающий вакуумирование в сосуде пространства над уровнем деаэрируемой воды, причем вакуумирование чередуют с прерыванием, в течение которого производят встряхивание жидкости [3].
Недостатком прототипа является увеличение энергозатрат, которые необходимы для встряхивания жидкости, и усложнение конструкции устройства, реализующего способ, поскольку для встряхивания необходимо иметь привод.
Кроме того, если в качестве жидкости используется вода, из которой путем вакуумной деаэрации удаляется хлор, то попадающие вместе с воздухом в пространство над деаэрированной водой бактерии начинают размножаться, в результате чего будет происходить загрязнение сосуда и, в конечном счете, воды.
Задачей изобретения является устранение указанных недостатков, а именно снижение энергопотребления и повышение качества очистки воды, а также уменьшение степени бактериального загрязнения деаэрированной воды.
Задача решается тем, что в способе вакуумной деаэрации воды, включающем вакуумирование в сосуде пространства над уровнем деаэрируемой воды, причем вакуумирование чередуют с прерыванием, в течение прерывания производят смену верхних и нижних слоев воды за счет их конвективного тока, причем перед притоком в сосуд воду подогревают до температуры деаэрированной воды, а приток осуществляют на поверхность последней.
Конвективный ток осуществляют за счет градиента плотности воды. Конвективный ток осуществляют за счет градиента температуры воды. Конвективный ток осуществляют за счет градиентов плотности и температуры воды. Увеличение уровня производят небольшими порциями в виде капель. В течение прерывания дезинфицируют пространство над уровнем деаэрируемой воды. Дезинфицирование производят паром. Пар делают влажным насыщенным.
Из уровня техники не выявлены решения, имеющие признаки, совпадающие с отличительными признаками заявленного изобретения и оказывающие такое же, как и они, влияние на технический результат, состоящий в снижении энергопотребления и повышении качества очистки воды, а также в уменьшении степени бактериального загрязнения деаэрированной воды.
Сущность изобретения отражают операции:
– вакуумирование в сосуде пространства над уровнем деаэрируемой воды чередуют с прерыванием;
– в течение прерывания производят смену верхних и нижних слоев жидкости за счет их конвективного тока;
– перед притоком в сосуд воду подогревают до температуры деаэрированной воды;
– приток воды в сосуд осуществляют на поверхность деаэрируемой воды;
– конвективный ток осуществляют за счет градиента плотности воды;
– конвективный ток осуществляют за счет градиента температуры воды;
– конвективный ток осуществляют за счет градиентов плотности и температуры воды;
– увеличение уровня производят небольшими порциями в виде капель;
– в течение прерывания дезинфицируют пространство над уровнем деаэрируемой воды;
– дезинфицирование производят паром;
– пар делают влажным насыщенным.
Указанные операции позволяют достичь следующих преимуществ по сравнению с прототипом.
Чередование прерывания и вакуумирования пространства в сосуде над уровнем деаэрируемой воды позволяет снизить энергию, затрачиваемую на вакуумирование. В процессе прерывания удаляемые из воды газы постепенно накапливаются в пространстве над деаэрируемой водой, несколько повышая давление в нем, после чего снова поводят вакуумирование. Такой режим работы оказывается более выгодным с энергетической точки зрения и практически не влияет на время деаэрации.
Проведение в течение прерывания смены верхних и нижних слоев воды за счет их конвективного тока позволяет без дополнительных энергетических затрат приблизить к пространству вакуумирования нижние, насыщенные газами слои и, наоборот, отдалить от этого пространства ненасыщенные уже верхние слои воды. В результате этого повышается степень деаэрации во всем объеме воды.
Подогревание перед притоком в сосуд воды до температуры деаэрированной воды в сосуде не позволяет свежим слоям, насыщенным газами, удалиться от пространства вакуумирования, в результате чего степень очистки воды повышается. В противном случае холодные более плотные свежие слои воды, насыщенные газами, опустились бы на дно сосуда и ухудшили бы деаэрацию нижних слоев воды.
Выведение притока воды в сосуд на поверхность деаэрируемой воды не позволяет неочищенной от газов воде смешиваться с деаэрированными нижними слоями воды, что также улучшает качество очистки.
Осуществление конвективного тока за счет градиента плотности воды снижает энергозатраты, поскольку плотность воды можно изменять посредством удаления из нее газов, т.е. одновременно с вакуумированием. Кроме того, изменяя величину этого градиента и его протяженность относительно уровня воды, можно изменять скорость перемещения слоев воды на определенном расстоянии.
Осуществление конвективного тока за счет градиента температуры воды также снижает энергозатраты, поскольку температуру воды можно изменять путем охлаждения в процессе испарения паров воды, причем чем ближе температура воды к точке кипения (при пониженном давлении), тем интенсивнее происходит испарение и понижение температуры на поверхности воды.
Осуществление конвективного тока за счет градиентов плотности и температуры воды позволяет увеличить градиент плотности, в результате чего увеличивается скорость и степень деаэрации.
Увеличение уровня небольшими порциями в виде капель в сосуд не нарушает процесс конвективного тока слоев воды, в результате чего качество очистки воды не ухудшается при подпитке сосуда свежей водой.
Дезинфицирование пространства над уровнем деаэрируемой воды в течение прерывания вакуумирования не позволяет размножаться в нем бактериям, которые загрязняют деаэрируемую воду, что улучшает качество очистки воды.
Проведение дезинфицирование паром упрощает конструкцию аппаратуры, сокращает время дезинфекции, поскольку она выполняется в процессе деаэрации, а также не позволяет веществам, с помощью которых проводится дезинфекция, попадать в очищенную воду. В результате этого повышается качество очистки воды.
Выполнение дезинфекции влажным насыщенным паром позволяет качественнее осуществлять дезинфекцию. Так, например, если из воды деаэрируется хлор, то при его попадании в частички воды, находящиеся в паре, и растворении в них, образуется хлорная вода, которая помимо хлора содержит соляную и хлорноватистую кислоты (Cl2+Н2О=HCl+HClO). После дезинфекции пар удаляется из пространства над деаэрируемой водой в процессе вакуумирования.
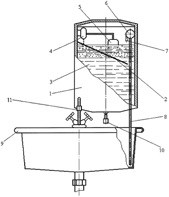
Изобретение поясняется чертежом.
На чертеже изображена схема устройства, реализующего способ.
Устройство содержит накопительную емкость 1 с закрепленными на стенке и размещенными напротив друг друга наклонным желобом 2, погруженным в деаэрируемую воду 3, и краном 4, соединенным с регулятором уровня 5 (поплавком) воды. Внутри емкости расположен вакуумный насос 6 с патрубком 7 и выпускной трубкой 8, опущенной в раковину 9, над которой размещена водоразборная арматура 10, 11 соответственно для очищенной и неочищенной воды.
Работает устройство для вакуумной деаэрации воды следующим образом.
Хлорированную водопроводную воду через кран 4 небольшими порциями (каплями) подают по наклонному желобу 2 в накопительную емкость 1. После того как уровень воды достигнет определенного значения, при котором поплавок 5 закрывает кран, включают насос 6 и вакуумируют пространство в сосуде над уровнем воды 3. Воздух, находящийся в емкости над поверхностью воды, через патрубок 7, насос 6 и трубку 8 удаляется наружу. После создания пониженного давления над поверхностью жидкости выключают насос, при этом растворенные в верхних слоях воды газы в частности хлор, начнут выходить из указанных слоев и скапливаться в пространстве над поверхностью воды. Чем ближе температура воды к ее точке кипения при пониженном давлении, тем интенсивнее происходит испарение.
Дезинфицируют указанное пространство посредством хлора, который выделяется из воды в процессе деаэрации и, растворяясь в частичках воды пара, образует хлорную воду. В результате этого бактерии, которые могут попасть в пространство сосуда, погибают. Заметим, что если деаэрируемая вода изначально не содержит хлора, то его можно предварительно ввести в нее, чтобы не позволять размножаться бактериям внутри емкости 1 и не ухудшать тем самым качество деаэрированной воды.
По мере выхода газов из верхних слоев воды, ее плотность в этих слоях увеличивается. Одновременно происходит увеличение плотности воды и из-за понижения температуры на ее поверхности в результате испарения. В результате этого более плотные верхние слои воды за счет градиента плотности начинают опускаться вниз, а нижние (с растворенными в них газами) менее плотные – подниматься вверх, ближе к пространству с пониженным давлением. Заметим, что если в процессе деаэрации подаваемая через кран 5 свежая вода будет очень холодной, то она может сразу опуститься на дно, не освободившись от растворенных в ней газов, в результате чего ухудшится качество находящейся в сосуде деаэрированной воды. Поэтому, если поступающая вода очень холодная, то ее предварительно подогревают до температуры деаэрированной воды.
Из поднявшихся вверх нижних слоев воды газы начнут выходить в пространство над поверхностью воды, в результате чего давление в нем начнет возрастать. Включают насос 6 и снова вакуумируют это пространство, повторяя описанный процесс деаэрации до тех пор, пока все слои воды не очистятся от газов.
После этого открывают водоразборную арматуру 10 для отбора из емкости 1 очищенной от хлора воды, предварительно создав в пространстве над ее поверхностью атмосферное давление, например, путем включения насоса 6 в режим нагнетания воздуха или открыв в стенке емкости, сообщающейся с атмосферой отверстие (не показано). После понижения уровня воды в сосуде восстанавливают его исходный уровень и повторяют процесс деаэрации. Заметим, что если уровень воды в сосуде из-за неисправности крана 5 значительно возрастет, то вода через патрубок 7, работающий насос 6 и трубку 8 будет сливаться в раковину 9, а оттуда – в канализацию. В случае, когда для каких-нибудь целей можно использовать неочищенную от хлора воду, то ее употребляют из водоразборной арматуры 11.
Внедрение изобретения позволит создать для качественной очистки водопроводной воды от хлора и других газов простую аппаратуру, которая потребляет мало энергии и проста по конструкции.
Источники информации
1. А.с. №914505, G02F, 1/20, F22D, 1/30, 1982 – аналог.
2. А.с. №916413, G02F, 1/20, 1982 – аналог.
3. А.с. SU 1797941, В01D, 19/00, 1993 – прототип.
Формула изобретения
1. Способ вакуумной деаэрации воды, включающий вакуумирование в сосуде пространства над уровнем деаэрируемой воды, причем вакуумирование чередуют с прерыванием, отличающийся тем, что в течение прерывания производят смену верхних и нижних слоев воды за счет их конвективного тока, причем перед притоком в сосуд воду подогревают до температуры деаэрированной воды, а приток осуществляют на поверхность последней.
2. Способ по п.1, отличающийся тем, что конвективный ток осуществляют за счет градиента плотности воды.
3. Способ по п.1, отличающийся тем, что конвективный ток осуществляют за счет градиента температуры воды.
4. Способ по п.1, отличающийся тем, что конвективный ток осуществляют за счет градиентов плотности и температуры воды.
5. Способ по п.1, отличающийся тем, что увеличение уровня производят небольшими порциями в виде капель.
6. Способ по п.1, отличающийся тем, что в течение прерывания дезинфицируют пространство над уровнем деаэрируемой воды.
7. Способ по п.6, отличающийся тем, что дезинфицирование производят паром.
8. Способ по п.6, отличающийся тем, что пар делают влажным насыщенным.
РИСУНКИ
MM4A – Досрочное прекращение действия патента СССР или патента Российской Федерации на изобретение из-за неуплаты в установленный срок пошлины за поддержание патента в силе
Дата прекращения действия патента: 21.07.2007
Извещение опубликовано: 10.03.2009 БИ: 07/2009
|