|
|
(21), (22) Заявка: 2006120769/12, 13.06.2006
(24) Дата начала отсчета срока действия патента:
13.06.2006
(46) Опубликовано: 27.01.2008
(56) Список документов, цитированных в отчете о поиске:
SU 400502 А, 18.01.1974. SU 80194 A, 01.10.1960. SU 1812141 A1, 30.04.1993. US 6907669 B1, 21.06.2005. GB 1099225 A, 17.01.1968. FR 961044 A, 28.04.1950. WO 88/02312 A1, 07.04.1988.
Адрес для переписки:
302019, г.Орел, ул. Ген. Родина, 69, ОрелГАУ
|
(72) Автор(ы):
Родимцев Сергей Александрович (RU)
(73) Патентообладатель(и):
Федеральное государственное учреждение высшего профессионального образования “Орловский государственный аграрный университет” (ФГОУ ВПО ОрелГАУ) (RU)
|
(54) ЦИРКУЛЬ
(57) Реферат:
Изобретение относится к чертежным приборам, а именно к приборам для вычерчивания дуг окружностей, и может быть использовано при раскрое листового металла. Циркуль содержит направляющую, опорную и чертежную ножки. Направляющая выполнена из стального прутка с загнутым концом в виде опорной ножки, а чертежная ножка образована выступающим со стороны опорной ножки, параллельным ей и направленным в ту же сторону свободным концом отрезка прутка, навитого на направляющую. Обеспечиваются упрощение конструкции циркуля и увеличение его долговечности. 1 ил.
Изобретение относится к чертежным приборам, а именно к приборам для вычерчивания дуг окружностей, и может быть использовано при раскрое листового металла.
Известен циркуль (А.с.№400502, 1973), содержащий направляющую треугольного сечения, а также опорную и карандашную ножки, с фиксацией фигурной пластинчатой пружиной, установленной на направляющей.
Недостатками такого устройства являются его многодетальность, относительная сложность изготовления отдельных оригинальных элементов (головки ножек, фигурная пластинчатая пружина), недостаточная прочность направляющей рейки.
Задачей изобретения является упрощение конструкции циркуля и увеличение его долговечности.
Указанная задача решена тем, что в циркуле, содержащем направляющую, опорную и чертежную ножки, согласно изобретению направляющая выполнена из стального прутка с загнутым концом в виде опорной ножки. Чертежная ножка образована выступающим со стороны опорной ножки, параллельным ей и направленным в ту же сторону свободным концом отрезка прутка, навитого на направляющую.
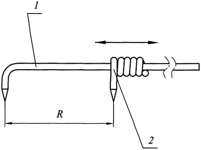
На чертеже показан общий вид циркуля.
Предлагаемый циркуль содержит направляющую 1, один из концов которой загнут под углом 90°, остро заточен и представляет собой опорную ножку. На направляющей 1 с возможностью перемещения установлена чертежная ножка 2, образованная свободным концом отрезка прутка, навитого на направляющей 1. Расстояние между ножками изменяют путем передвижения по направляющей 1 чертежной ножки 2. Фиксация чертежной ножки 2 относительно направляющей 1 осуществляется за счет сил трения между витками навивки чертежной ножки 2 и направляющей 1. Необходимая жесткость конструкции обеспечивается размерами поперечного сечения прутков.
Предлагаемый циркуль может быть легко и быстро изготовлен из подручных материалов и с успехом использоваться при раскрое листового металла для получения заготовок любого размера.
Формула изобретения
Циркуль, содержащий направляющую, опорную и чертежную ножки, отличающийся тем, что направляющая выполнена из стального прутка с загнутым концом в виде опорной ножки, а чертежная ножка образована выступающим со стороны опорной ножки, параллельным ей и направленным в ту же сторону свободным концом отрезка прутка, навитого на направляющую.
РИСУНКИ
MM4A – Досрочное прекращение действия патента СССР или патента Российской Федерации на изобретение из-за неуплаты в установленный срок пошлины за поддержание патента в силе
Дата прекращения действия патента: 14.06.2008
Извещение опубликовано: 20.02.2010 БИ: 05/2010
|
|