|
|
(21), (22) Заявка: 2006113271/02, 19.04.2006
(24) Дата начала отсчета срока действия патента:
19.04.2006
(46) Опубликовано: 27.01.2008
(56) Список документов, цитированных в отчете о поиске:
НАВРОЦКИЙ Г.А. Кузнечно-штамповочные автоматы. – М.: Машиностроение, 1965, с.112-114, рис.71. SU 610600 A1, 15.06.1978. SU 435044 A1, 05.07.1974. GB 1084473 A, 20.09.1967.
Адрес для переписки:
103735, Москва, ул. Ильинка, 5/2, ООО “Союзпатент”, пат.пов. Ю.В.Облову, рег.№ 905
|
(72) Автор(ы):
ЧАНГ Юн-Тэ (TW)
(73) Патентообладатель(и):
ФВУ КУАНГ ЭНТЕРПРАЙСИЗ КО., ЛТД. (TW)
|
(54) КОВОЧНАЯ МАШИНА, СОДЕРЖАЩАЯ РОЛИКИ МЕЖДУ ОПОРОЙ И ПОЛЗУНОМ УЗЛА ПУАНСОНА
(57) Реферат:
Изобретение относится к области обработки металлов давлением и может быть использовано в ковочных машинах, предназначенных для изготовления крепежных деталей. Ковочная машина содержит опору с нижней и двумя боковыми стенками. К боковым стенкам прикреплены две разметочные плиты. Нижняя стенка, боковые стенки и разметочные плиты образуют приемное пространство, в котором с возможностью скольжения установлен ползун узла пуансона. На разметочных плитах вблизи переднего конца опоры установлены два первых роликовых устройства, которые содержат первые ролики. На верхних частях боковых стенок вблизи заднего конца опоры смонтированы два вторых роликовых устройства, содержащих вторые ролики. Ползун имеет левую и правую нижние боковые поверхности, контактирующие с первыми роликами, и левый и правый верхние фланцы. Упомянутые фланцы размещены с возможностью скольжения на разметочных плитах для контакта со вторыми роликами. В результате обеспечивается повышение точности ковки и улучшение качества полученных изделий. 12 з.п. ф-лы, 16 ил.
Изобретение относится к ковочной машине, а более конкретно – к ковочной машине, содержащей ролики между опорой и ползуном узла пуансона.
Крепежные детали, такие как винты и гайки, обычно изготавливают посредством подачи проволочного материала в ковочную машину. В ковочных машинах проволочный материал распрямляют и режут на заготовки, которые транспортируют в узел матрицы, а узел пуансона заставляют двигаться к узлу матрицы для проведения серии операций ковки, чтобы выковать заготовки.
На фиг.1 показано, что обычная ковочная машина 1 содержит опору 11, имеющую приемное пространство 111, два роликовых устройства 12, расположенные соответственно на левой и правой сторонах приемного пространства 111, и узел 13 пуансона, установленный с возможностью скольжения в приемном пространстве 111. Каждое роликовое устройство 12 содержит множество роликов 121 в контакте с узлом 13 пуансона, так что узел 13 пуансона может плавно скользить посредством роликов 121, вследствие чего можно избежать выработки фрикционного тепла во время скольжения узла 13 пуансона.
Поскольку ковочная машина 1 предназначена для изготовления большого количества изделий за 1 мин, узел 13 пуансона должен работать с большой скоростью. Вместе с тем, поскольку роликовые устройства 12 установлены лишь спереди обеих сторон опоры 11 и спереди узла 13 пуансона, движение качения во время движения скольжения узла 13 пуансона происходят только спереди него, а задняя сторона узла 13 пуансона подвешена без опоры в приемном пространстве 111. Кроме того, поскольку длина узла 13 пуансона от места, где он контактирует с роликами 121 до его заднего конца вдвое превышает длину от этого места до его переднего конца, который собран с множеством пробивочных головок (не показаны), в случае, если узел 13 пуансона претерпевает небольшой наклон, его задний конец будет вибрировать, что приводит к отклонению положения и уменьшенной стабильности пробивочных головок. В результате, когда узел 13 пуансона движется вперед, чтобы осуществить ковку, в частности, чтобы прижать пробивочные головки переднего конца к узлу 14 матрицы, узел 13 пуансона будет осуществлять косой удар по узлу 14 матрицы, тем самым негативно влияя на точность операции ковки и качество изделий. Следовательно, желательно дальнейшее усовершенствование в связи со скольжением узла пуансона.
Поэтому основная задача настоящего изобретения состоит в том, чтобы разработать ковочную машину с усовершенствованиями, которые помогут преодолеть вышеупомянутые недостатки известного уровня техники.
В соответствии с настоящим изобретением ковочная машина содержит опору с нижней стенкой, две боковых стенки, проходящие вверх от левой и правой сторон нижней стенки, и две разметочные плиты, прикрепленные к боковым стенкам, соответственно. Каждая из боковых стенок имеет нижнюю часть, к которой крепится соответствующая одна из разметочных плит, и верхнюю часть, проходящую над нижней частью. Нижняя стенка, боковые стенки и разметочные плиты совместно ограничивают приемное пространство.
Ковочная машина также содержит два первых роликовых устройства, соответственно установленных на разметочных плитах вблизи переднего конца опоры и имеющих первые ролики, выступающие из разметочных плит, соответственно, два вторых роликовых устройства, соответственно установленных на верхних частях опоры и имеющих вторые ролики, выступающие из верхних частей плит, соответственно, и узел пуансона, содержащий ползун, установленный с возможностью скольжения внутри приемного пространства. Ползун имеет левую и правую нижние боковые поверхности, соответственно контактирующие с первыми роликами, и левый и правый верхние фланцы, соответственно проходящие над левой и правой нижними боковыми поверхностями и посаженные с возможностью скольжения поверх разметочных плит для контакта со вторыми роликами.
Другие признаки и преимущества настоящего изобретения станут очевидными в нижеследующем подробном описании предпочтительных вариантов выполнения, приводимом со ссылками на прилагаемые чертежи, на которых показано:
фиг.1 – вид в плане известного технического решения;
фиг.2 – вид в перспективе с пространственным разделением деталей в соответствии с первым предпочтительным вариантом выполнения настоящего изобретения;
фиг.3 – вид в плане в соответствии с первым предпочтительным вариантом выполнения;
фиг.4 – вертикальная проекция в соответствии с первым предпочтительным вариантом выполнения;
фиг.5 вид в перспективе с пространственным разделением деталей первого роликового устройства в соответствии с первым предпочтительным вариантом выполнения;
фиг.6 – вид в плане, иллюстрирующий первое роликовое устройство согласно первому предпочтительному варианту выполнения;
фиг.7 – вертикальное сечение первого роликового устройства в соответствии с первым предпочтительным вариантом выполнения;
фиг.8 – вид в перспективе с пространственным разделением деталей второго роликового устройства в соответствии с первым предпочтительным вариантом выполнения;
фиг.9 – вид в плане второго роликового устройства в соответствии с первым предпочтительным вариантом выполнения;
фиг.10 – вертикальное сечение второго роликового устройства в соответствии с первым предпочтительным вариантом выполнения;
фиг.11 – вид в перспективе с пространственным разделением деталей второго роликового устройства в соответствии со вторым предпочтительным вариантом выполнения настоящего изобретения;
фиг.12 – вид в плане второго роликового устройства в соответствии со вторым предпочтительным вариантом выполнения;
фиг.13 – вертикальное сечение второго роликового устройства в соответствии со вторым предпочтительным вариантом выполнения;
фиг.14 – вид в перспективе с пространственным разделением деталей второго роликового устройства согласно третьему предпочтительному варианту выполнения;
фиг.15 – вид в плане второго роликового устройства согласно третьему предпочтительному варианту выполнения;
фиг.16 – вертикальное сечение второго роликового устройства в соответствии с третьим предпочтительным вариантом выполнения.
Перед подробным описанием настоящего изобретения следует отметить, что сходные элементы обозначены одинаковыми позициями по всему описанию.
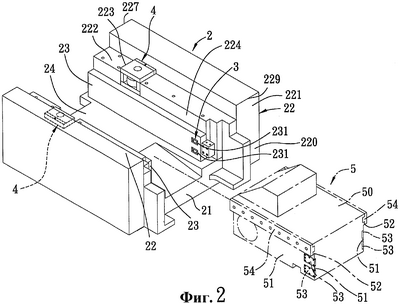
Обращаясь к фиг.2-4, отмечаем, что ковочная машина в соответствии с настоящим изобретением содержит опору 2, два первых роликовых устройства 3, два вторых роликовых устройства 4 и узел 5 пуансона.
Опора 2 содержит нижнюю стенку 21, две боковых стенки 22, проходящие соответственно от левой и правой сторон нижней стенки 21, и две продольные разметочные плиты 23, установленные соответственно на боковых стенках 22 и простирающиеся в направлении спереди назад. Нижняя стенка 21, боковые стенки 22 и разметочные плиты 23 совместно ограничивают приемное пространство 24. Каждая боковая стенка 22 имеет нижнюю часть 220, к которой крепится соответствующая одна из разметочных плит 23, и верхнюю часть 221. Верхняя часть 221 выполнена ступенчатой и поэтому имеет плечевую поверхность 222, проходящую горизонтально и продольно над верхним концом соответствующей разметочной плиты 23. Внутренняя поверхность 224 боковой стенки проходит вертикально вниз от плечевой поверхности 222 боковой стенки к верхнему концу соответствующей разметочной плиты 23 и обращена к приемному пространству 24. В верхней части 221 вблизи заднего конца 227 опоры 2 сформирована полость 223, открывающаяся на плечевой поверхности 222 боковой стенки и на внутренней поверхности 224 боковой стенки. Каждая разметочная плита 23 имеет верхнее и нижнее сквозные отверстия 231 вблизи переднего конца 229 опоры 2.
Обращаясь к фиг.5-7 и рассматривая их совместно с фиг.2, следует отметить, что каждое сквозное отверстие 231 в каждой разметочной плите 23 имеет внутреннюю малую часть 233 отверстия, внешнюю большую часть 234 отверстия и плечико 235, выполненное внутри сквозного отверстия 231 между большой и малыми частями 234 и 233 отверстия. Первые роликовые устройства 3 установлены в соответствующих разметочных плитах 23 на левой и правой сторонах узла 5 пуансона. Каждое первое роликовое устройство 3 содержит два блока 31 первых роликов, установленных соответственно внутри двух сквозных отверстий 231 в соответствующих разметочных плитах 23. Каждый блок 31 первого ролика имеет держатель 311 первого ролика, первый ролик 312, расположенный внутри держателя 311 первого ролика и выступающий из держателя 311 первого ролика, чтобы обеспечить выступание в приемное пространство 24, ось 313 первого ролика, поддерживающую с возможностью вращения первый ролик 312 внутри держателя 311 первого ролика, первую прокладку 314, расположенную между соответствующей разметочной плитой 23 и боковой стенкой 22, регулировочные винты 315, завинчиваемые в первую прокладку 314 через разметочную плиту 23, пружины 316, расположенные между держателем 311 первого ролика и плечиком 235 внутри сквозного отверстия 231, и крепежный винт 317, заходящий в разметочную плиту 23, упираясь в первую прокладку 314.
Держатель 311 первого ролика имеет наклонную поверхность 318 держателя, которая расположена вблизи первой прокладки 314 и которая наклонена наружу. Кроме того, первая прокладка 314 имеет дополняющую наклонную поверхность 319 прокладки в контакте с наклонной поверхностью 318 держателя. Каждая пружина 316 обеспечивает отклоняющую силу, которая отклоняет держатель 311 первого ролика к первой прокладке 314. Первая прокладка 314 может двигаться вперед или назад при вращении регулировочных винтов 315 и взаимодействует с пружинами 316, способствуя перемещению держателя 311 первого ролика наружу или внутрь. Когда крепежный винт 317 затянут, он упирается в прокладку 314 и делает ее неподвижной.
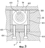
Обращаясь к фиг.8-10 и рассматривая их совместно с фиг.2, следует отметить, что каждое второе роликовое устройство 4 содержит блок 41 второго ролика, имеющий держатель 411 второго ролика, установленный внутри полости 223 соответствующей боковой стенки 22. Верхняя часть 221 боковой стенки 22 также имеет полостную сцепляемую часть 228 стенки, проходящую на одной стороне держателя 411 второго ролика напротив ползуна 50. Блок 41 второго ролика также имеет вторую прокладку 415, вставленную между полостной сцепляемой частью 228 стенки и держателем 411 второго ролика, второй ролик 412, расположенный с возможностью вращения внутри держателя 411 второго ролика и выступающий из держателя 411 второго ролика, чтобы обеспечить выступание в приемное пространство 24, ось 413 второго ролика, прикрепленную к держателю 411 второго ролика для поддержания с возможностью вращения второго ролика 412 внутри держателя 411 второго ролика, и два крепежных болта 414, проходящие сквозь полостную сцепляемую часть 228 стенки и вторую прокладку 415 и ввинчиваемые в держатель 411 второго ролика для обеспечения расположения держателя 411 второго ролика внутри полости 223. Поверх плечевой поверхности 222 боковой стенки и держателя 411 второго ролика расположена крышка 42, которая выступает в приемное пространство 24, проходя над узлом 5 пуансона. Крышка 42 крепится к плечевой поверхности 222 боковой стенки с помощью множества стопорных винтов 43.
На фиг.2, 7 и 10 показано, что узел 5 пуансона имеет ползун 50, установленный с возможностью скольжения внутри приемного пространства 24 для движения вперед или назад. Ползун 50 имеет левую и правую нижние боковые поверхности 51, соответственно расположенные напротив разметочных плит 23, левый и правый верхние фланцы 52, которые выступают наружу над соответствующими левой и правой нижними боковыми поверхностями 51 и посаженные с возможностью скольжения на верхние концы разметочных плит, соответственно, две пары первых стальных пластин 53, каждая пара которых располагается поверх частей одной из левой и правой нижних боковых поверхностей 51, и две вторые боковые стальные пластины 54, покрывающие внешние поверхности соответствующих левого и правого верхних фланцев 52. Каждый из левого и правого верхних фланцев 52 выполнен с возможностью скольжения между соответствующей разметочной плитой 23 и соответствующей крышкой 42.
Когда ползун 50 приводится в движение вперед и назад, первые стальные пластины 53 оказываются в скользящем контакте с соответствующими первыми роликами 312, а вторые стальные пластины 54 оказываются в скользящем контакте с соответствующими вторыми роликами 412. Благодаря беззазорному скользящему контакту с первыми и вторыми роликами 312, 412 как около переднего, так и около заднего концов опоры 2, ползун 50 может плавно и стабильно скользить в пределах приемного пространства 24.
На фиг.11-13 представлен второй предпочтительный вариант выполнения настоящего изобретения. Второе роликовое устройство 4 может содержать блок 44 второго ролика. Блок 44 второго ролика отличается от блока 41 второго ролика, выполненного в соответствии с первым предпочтительным вариантом выполнения тем, что имеет держатель 441 второго ролика, вторую прокладку 481 и стопорную пластину 482.
Держатель 441 второго ролика имеет боковую стенку 442 держателя, обращенную к полостной сцепляемой части 228 стенки, имеющейся в боковой стенке 22. Боковая стенка 442 держателя имеет паз 443 скольжения, который проходит в направлении от верхнего конца держателя 441 второго ролика, и наклонную поверхность 444, обращенную к пазу 443 скольжения. Вторая прокладка 481 вставлена в паз 443 скольжения и имеет одну сторону 488, находящуюся в контакте с полостной сцепляемой частью 228 стенки, и другую сторону 487, расположенную напротив стороны 488 и контактирующую с наклонной поверхностью 444 боковой стенки 442 держателя. Сторона 487 второй прокладки 481 наклонена относительно стороны 488 и полостной сцепляемой части 228 стенки. Вторая прокладка 481 выполнена с возможностью скольжения по наклонной поверхности 444 и вдоль паза 443 скольжения, перемещая держатель 441 второго ролика в направлении, по существу, перпендикулярном полостной сцепляемой части 228 стенки, так что держатель 441 второго ролика может двигаться по направлению к ползуну 50 или от него (см. фиг.2).
Стопорная пластина 482 крепится к верхнему концу держателя 441 второго ролика над второй прокладкой 481 посредством винтов 489, чтобы застопорить вторую прокладку 481 в пазу 443 скольжения. Сквозь стопорную пластину 482 проходит регулировочный винт 483, ввинчиваемый во вторую прокладку 481. Сквозь полостную сцепляемую часть 228 стенки проходят два крепежных болта 484, ввинчиваемые во вторую прокладку 481 и боковую стенку 442 держателя. С каждым крепежным болтом 484 соединен отклоняющий элемент для отклонения держателя 441 второго ролика с целью перемещения в направлении к полостной сцепляемой части 228 стенки или в направлении от ползуна 50. Каждый крепежный болт 484 имеет головку 4841, выступающую наружу из полостной сцепляемой части 228 стенки. Отклоняющий элемент в этом предпочтительном варианте выполнения содержит три пружинные шайбы 485, расположенные вокруг каждого крепежного болта 484 между головкой 4841 и полостной сцепляемой частью 228 стенки.
Когда регулировочный винт 483 поворачивают относительно стопорной пластины 482, вторая прокладка 481 может двигаться вверх или вниз. Когда вторая прокладка 481 движется вверх, держатель 441 второго ролика подталкивается к ползуну 50, так что обеспечивается возможность регулирования положения второго ролика 412. Когда вторая прокладка 481 движется вниз, держатель 441 второго ролика движется обратно, подвергаясь отклоняющему воздействию пружинных шайб 485, в направлении от ползуна 50.
На фиг.14-16 представлен третий предпочтительный вариант выполнения настоящего изобретения, можно использовать верхнюю и нижнюю части 491 и 492 прокладки вместо второй прокладки 481 согласно второму предпочтительному варианту выполнения, можно использовать верхнюю и нижнюю части 494 и 495 паза вместо паза 443 скольжения согласно второму предпочтительному варианту выполнения и можно использовать верхнюю и нижнюю части 496, 497 поверхности вместо наклонной поверхности 444 во втором предпочтительном варианте выполнения.
Каждая из верхней и нижней частей 491 и 492 прокладки вставляется в одну из верхней и нижней частей 494 и 495 паза и имеет две противоположные стороны, соответственно контактирующие с полосной сцепляемой частью 228 стенки и одной из верхней и нижней частей 496, 497 поверхности. Одна наклонная сторона 498 верхней части 491 прокладки контактирует с верхней частью 496 поверхности, тогда как одна наклонная сторона 499 нижней части 492 прокладки контактирует с нижней частью 497 поверхности. Верхняя и нижняя части 496, 497 поверхности наклонены в двух разных направлениях таким образом, что верхняя часть 494 паза сужается вниз, а нижняя часть 495 паза сужается вверх. Точно так же, верхняя часть 491 прокладки сужается вниз, а нижняя часть 492 прокладки сужается вверх. Регулировочный винт 493 проходит сквозь верхнюю часть 491 прокладки и вставляется в нижнюю часть 492 прокладки. Когда поворачивают регулировочный винт 493, нижняя часть 492 прокладки может двигаться вверх или вниз, так что держатель 441 второго ролика может двигаться к ползуну 50 или от него.
Благодаря использованию первого и второго роликовых устройств 3 и 4, которые предусмотрены соответственно около переднего и заднего концов 229, 227 опоры 2, ползун узла 5 пуансона может стабильно скользить без отклонения положения, тем самым обеспечивая работу узла 5 пуансона с высокой скоростью и гарантируя при этом изготовление высококачественных изделий.
Формула изобретения
1. Ковочная машина, содержащая опору (2) с нижней стенкой (21) и двумя боковыми стенками (22), проходящими вверх от нижней стенки (21), две разметочные плиты (23), прикрепленные соответственно к боковым стенкам (22), два первых роликовых устройства (3) и узел (5) пуансона с ползуном (50), причем каждая из боковых стенок (22) имеет нижнюю часть (220), к которой крепится соответствующая разметочная плита (23), и верхнюю часть (221), проходящую над нижней частью (220), нижняя стенка (21), боковые стенки (22) и разметочные плиты (23) совместно ограничивают приемное пространство (24), два первых роликовых устройства (3) соответственно установлены на разметочных плитах (23) вблизи переднего конца (229) опоры и содержат первые ролики (312), выступающие из соответствующих разметочных плит (23), а ползун (50) узла (5) пуансона установлен с возможностью скольжения внутри приемного пространства (24) и контактирует с первыми роликами (312), отличающаяся тем, что содержит два вторых роликовых устройства (4), установленных на верхних частях (221) соответствующих боковых стенок (22) вблизи заднего конца (227) опоры (2) и содержащих вторые ролики (412), выступающие из соответствующих верхних частей (221), а ползун (50) имеет левую и правую нижние боковые поверхности (51), контактирующие соответственно с первыми роликами (312), и левый и правый верхние фланцы (52), проходящие соответственно над упомянутыми левой и правой нижними боковыми поверхностями и расположенные с возможностью скольжения поверх разметочных плит (23) для контакта со вторыми роликами (412).
2. Машина по п.1, отличающаяся тем, что на каждой из нижних боковых поверхностей (51) ползуна расположена первая стальная пластина (53), находящаяся в контакте с соответствующим одним из первых роликов (312).
3. Машина по п.1, отличающаяся тем, что на каждом из фланцев (52) расположена вторая стальная пластина (54), находящаяся в контакте с соответствующим одним из вторых роликов (412).
4. Машина по п.1, отличающаяся тем, что верхняя часть (221) каждой из боковых стенок (22) имеет полость (223), каждое из двух вторых роликовых устройств (4) содержит держатель (411, 441) второго ролика, расположенный внутри полости (223) и удерживающий соответствующий один из вторых роликов (412).
5. Машина по п.4, отличающаяся тем, что верхняя часть (221) каждой из боковых стенок (22) выполнена ступенчатой и имеет плечевую поверхность (222) боковой стенки, проходящую горизонтально и продольно над упомянутым верхним концом соответствующей одной из разметочных плит (23), а внутренняя поверхность (224) боковой стенки проходит, по существу, вертикально вниз от плечевой поверхности (222) боковой стенки и обращена к ползуну (50).
6. Машина по п.4, отличающаяся тем, что верхняя часть (221) каждой из боковых стенок (22) имеет полостную сцепляемую часть (228) стенки, расположенную с одной стороны держателя (411, 441) второго ролика напротив ползуна (50), причем каждое из вторых роликовых устройств (4) содержит вторую прокладку (415, 481, 491, 492), вставленную между полостной сцепляемой частью (228) боковой стенки и держателем (411, 441) второго ролика.
7. Машина по п.6, отличающаяся тем, что держатель (441) второго ролика имеет боковую стенку (442) держателя, обращенную к полостной сцепляемой части (228) боковой стенки и имеющую наклонную поверхность (444, 496, 497), вторая прокладка (481, 491, 492) расположена между полостной сцепляемой частью (228) стенки и наклонной поверхностью (444, 496, 497) и имеет две противоположные стороны, одна из которых предназначена для контакта с полостной сцепляемой частью (228) стенки, а другая для контакта с наклонной поверхностью (444, 496, 497), причем упомянутая вторая прокладка (481, 491, 492) выполнена с возможностью скольжения по наклонной поверхности (444, 496, 497) для перемещения держателя (441) второго ролика в направлении, по существу, перпендикулярном полостной сцепляемой части (228) боковой стенки.
8. Машина по п.7, отличающаяся тем, что боковая стенка (442) держателя выполнена с пазом (443, 494, 495) скольжения, расположенным напротив полостной сцепляемой части (228) боковой стенки, причем наклонная поверхность (444, 496, 497) выполнена в упомянутом пазу (443, 494, 495) скольжения, а вторая прокладка (481, 491, 492) вставлена в паз (443, 494, 495) скольжения.
9. Машина по п.8, отличающаяся тем, что каждое роликовое устройство (4) содержит регулировочный винт (483, 493), выполненный с возможностью введения во вторую прокладку (481, 491, 492) для линейного перемещения второй прокладки (481, 491, 492) внутри паза (443, 494, 495) скольжения.
10. Машина по п.7, отличающаяся тем, что каждое роликовое устройство (4) содержит отклоняющий элемент (485), который выполнен с возможностью отклонения упомянутого держателя (441) второго ролика для обеспечения его движения в направлении к полостной сцепляемой части (228) боковой стенки.
11. Машина по п.10, отличающаяся тем, что каждое роликовое устройство (4) содержит крепежный болт (484), проходящий сквозь полостную сцепляемую часть (228) стенки и выполненный с возможностью ввинчивания в держатель (441) второго ролика, причем упомянутый крепежный болт (484) имеет головку (4841), выступающую наружу из полостной сцепляемой части (228) стенки, а упомянутый отклоняющий элемент снабжен множеством пружинных шайб (485), расположенных вокруг крепежного болта (484) между его головкой (4841) и полостной сцепляемой частью (228) боковой стенки.
12. Машина по п.8, отличающаяся тем, что наклонная поверхность выполнена в виде верхней части (496) поверхности и нижней части (497) поверхности, причем упомянутые верхняя и нижняя части (496, 497) поверхности наклонены в двух разных направлениях, паз скольжения выполнен в виде верхней части (494) паза, которая имеет верхнюю часть (496) поверхности, суженную вниз, и нижней части (495) паза, которая имеет нижнюю часть (497) поверхности, суженную вверх, а упомянутая вторая прокладка разделена на верхнюю и нижнюю части (491, 492) прокладки, которые выполнены с возможностью введения соответственно в верхнюю и нижнюю части (494, 495) паза, при этом верхняя часть (491) прокладки выполнена суженной вниз, а нижняя часть (492) суженной вверх.
13. Машина по п.12, отличающаяся тем, что каждое роликовое устройство (4) содержит регулировочный винт (493), проходящий сквозь верхнюю часть (491) прокладки и ввинчиваемый в нижнюю часть (492) прокладки.
РИСУНКИ
|
|