|
|
(21), (22) Заявка: 2006115993/12, 10.05.2006
(24) Дата начала отсчета срока действия патента:
10.05.2006
(46) Опубликовано: 27.01.2008
(56) Список документов, цитированных в отчете о поиске:
RU 2228224 С2, 10.05.2004. RU 2228800 С2, 20.05.2004. RU 2196541C1, 20.01.2003. RU 2174051 C1, 27.09.2001. GB 2155554 A, 25.09.1985. GB 2147483 А, 15.05.1985. FR 2529103 А2, 30.12.1983. DE 343810 А, 18.10.1984.
Адрес для переписки:
346428, Ростовская обл., г. Новочеркасск, ул. им. Ф. Энгельса, 42, кв.9, О.Н.Моисееву
|
(72) Автор(ы):
Моисеев Олег Николаевич (RU)
(73) Патентообладатель(и):
Моисеев Олег Николаевич (RU)
|
(54) УСТРОЙСТВО, ОБРАЗУЮЩЕЕ И РАССЕИВАЮЩЕЕ АЭРОЗОЛЬ
(57) Реферат:
Изобретение относится к сельскому хозяйству, ветеринарной медицине и санитарии, конкретно к устройствам и приспособлениям, преобразующим нужного состава раствор в частицы аэродинамической системы при обработках животных и помещений аэрозолями. Сущность предлагаемого изобретения заключается в том, что в устройстве коническая шестерня вала электродигателя приводит во вращение через такие же шестерни промежуточные валы. Верхний и нижний валы имеют эксцентрики, кулачки которых перемещают штоки поршней со скосом головок. Нижний вал выжимает из цилиндра в смеситель раствор, поступающий в него при нижнем положении поршня из емкости. Верхний вал снабжен эксцентриком с двумя или несколькими одинакового размера кулачками, смещающими дважды или несколько раз за один поворот вала в 360° шток и поршень верхнего цилиндра, выжимающего через отверстие внизу в смеситель сжатый воздух, превращающий поступающий сюда раствор в частицы аэродинамической системы, рассеиваемые вращающимся вокруг вертикальной оси устройством. Техническим результатом изобретения является широкое применение при обработках животных в небольших помещениях фермерских и индивидуальных хозяйств. 1 ил.
Изобретение относится к сельскому хозяйству, ветеринарной медицине и санитарии, конкретно к устройствам и приспособлениям, преобразующим лекарственный, дезинфицирующий или другого назначения раствор в частицы аэродинамической системы закрытого помещения при обработках животных и помещений.
По патенту РФ №2255815, м. кл. В 05 В 9/04, 2005 г., известно устройство, имеющее электродвигатель с верхним малооборотистым и нижним высокооборотистым валом, несущим крыльчатку-ветродуйку, обеспечивающую рассеивание растворов из двух емкостей по горизонту ступенчато или касательно-ступенчато, что обеспечивается шарнирным соединением емкостей с устройством.
Цель изобретения – создание устройства, обеспечивающего превращение раствора нужного состава в частицы аэродинамической системы помещения при обработках животных и помещений аэрозолями.
Поставленная цель достигается тем, что в устройстве, образующем и рассеивающем аэрозоль, содержащем электродвигатель редукторного типа, коническая шестерня вала электродвигателя установлена с возможностью приведения во вращение через такие же шестерни промежуточные валы, при этом верхний и нижний валы имеют эксцентрики, кулачки которых размещены с возможностью перемещения штоков поршней со скосом головок, нижний вал обеспечивает выжимание из цилиндра в смеситель раствора, поступающего в него при нижнем положении поршня через отверстие из емкости, а верхний вал снабжен эксцентриком с двумя или несколькими одинакового размера кулачками, смещающими дважды или несколько раз за один поворот в 360° вала шток и поршень верхнего цилиндра, выжимающего через отверстие внизу в смеситель сжатый воздух, превращающий поступающий сюда раствор в частицы аэродинамической системы, рассеиваемые вращающимся вокруг вертикальной оси устройством.
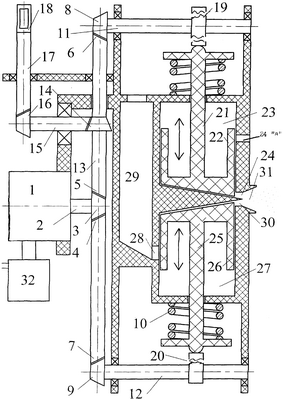
Устройство схематично изображено на чертеже.
Оно имеет редукторного типа электродвигатель 1 с валом 2, снабженным конической шестерней 3, находящейся в постоянном зацеплении с такими же шестернями 4, 5, 6, 7, 8, 9 валов 11, 12, 13. Вал 13 несет коническую шестерню 14, соединенную с такой же шестерней вала 16, несущей на другом конце шестерню 16, соединенную с такой же шестерней вала 17 со скобой 18 на свободном конце.
Верхний вал 11 снабжен эксцентриком с двумя или несколькими одинаковыми кулачками 19, нижний вал 12 – с одним кулачком 20.
Кулачки 19 поочередно взаимодействуют с полушаровидным концом штока 21 поршня 22, находящегося в цилиндре 23, имеющего внизу отверстие 24 в смеситель и отверстие 24 “а” в цилиндре.
Кулачок 20 взаимодействует с полушаровидным концом штока 26 поршня 26, находящегося в цилиндре 27, имеющего отверстие 28 из емкости 29 и отверстие 30 в смеситель 31 с соплом.
Позицией 10 обозначены пружины штоков, 32 – пульт управления.
Работа: устройство скобой 16 вала 17 подвешивается к потолку в центре помещения, через верхнее отверстие (не обозначено) заменяют емкость 29 раствором нужного состава, задают пульту 32 программу (длительность, время окончания работы и др.), загоняют в помещение животных, включают его и устройство в работу. При этом начинает вращаться вал 2 электродвигателя 1. Его шестерня 3 через шестерни 4, 5, 6, 7, 6, 9, 14, 16 вращает валы 13, 11, 12, 15, 17 и все устройство на скобе 18 вокруг вертикальной оси.
Вал 11 вращает эксцентрик с двумя или несколькими одинаковыми кулачками 19. При этом они поочередно нажимают на полушаровидный конец штока 21 и смещают вниз поршень 22, выжимающий под давлением воздух через отверстие 24 в смеситель 31 с соплом. При смещении кулачка под воздействием пружины 10 шток и поршень 22 поднимаются вверх, при этом в полость цилиндра через отверстие 24 засасывается немного раствора, который служит в некоторой степени смазочным материалом, а через отверстие 24 “а” – остальной воздух.
Вал 12 вращает эксцентрик с одним кулачком 20. Он оказывает давление на подпружиненный шток 25 и смещает вверх поршень 26, выжимающий раствор из цилиндра 27 через отверстие 30 в смеситель 31, куда поступает и сжатый воздух, выбрасывающий его мелкие частицы в воздух помещения. При смещении под воздействием пружины 10 поршня 26 в крайнее нижнее положение в полость цилиндра 27 из емкости 29 через отверстие 28 попадает раствор.
После того как поступивший в смеситель раствор превратится в частицы, они выбрасываются через сопло и рассеиваются вращающимся вокруг вертикальной оси устройством.
Считаем, что предлагаемое устройство найдет широкое применение при обработках животных и помещений фермерских и индивидуальных хозяйств.
Формула изобретения
Устройство, образующее и рассеивающее аэрозоль, содержащее электродвигатель редукторного типа, отличающееся тем, что коническая шестерня вала электродвигателя установлена с возможностью приведения во вращение через такие же шестерни промежуточные валы, при этом верхний и нижний валы имеют эксцентрики, кулачки которых размещены с возможностью перемещения штоков поршней со скосом головок, нижний вал обеспечивает выжимание из цилиндра в смеситель раствор, поступающий в него при нижнем положении поршня из емкости, верхний вал снабжен эксцентриком с двумя или несколькими одинакового размера кулачками, смещающими дважды или несколько раз за один поворот вала в 360° шток и поршень верхнего цилиндра, выжимающего через отверстие внизу в смеситель сжатый воздух, превращающий поступающий сюда раствор в частицы аэродинамической системы, рассеиваемые вращающимся вокруг вертикальной оси устройством.
РИСУНКИ
|
|