|
| На основании пункта 3 статьи 13 Патентного закона Российской Федерации от 23 сентября 1992 г. № 3517-I патентообладатель обязуется передать исключительное право на изобретение (уступить патент) на условиях, соответствующих установившейся практике, лицу, первому изъявившему такое желание и уведомившему об этом патентообладателя и федеральный орган исполнительной власти по интеллектуальной собственности, – гражданину РФ или российскому юридическому лицу. |
|
(21), (22) Заявка: 2006111622/15, 11.04.2006
(24) Дата начала отсчета срока действия патента:
11.04.2006
(46) Опубликовано: 27.01.2008
(56) Список документов, цитированных в отчете о поиске:
Адрес для переписки:
123458, Москва, ул. Твардовского, 11, кв.92, О.С.Кочетову
|
(72) Автор(ы):
Кочетов Олег Савельевич (RU), Кочетова Мария Олеговна (RU), Кочетов Сергей Савельевич (RU), Кочетов Сергей Сергеевич (RU)
(73) Патентообладатель(и):
Кочетов Олег Савельевич (RU)
|
(54) ПЫЛЕУЛАВЛИВАЮЩИЙ АГРЕГАТ С ОБЪЕМНЫМ ФИЛЬТРУЮЩИМ ЭЛЕМЕНТОМ
(57) Реферат:
Изобретение относится к технике пылеулавливания и может применяться в машиностроительной, деревообрабатывающей, легкой, пищевой и других отраслях промышленности для аспирации технологического оборудования и эффективной очистки воздуха от мелкодисперсной пыли и стружки. Агрегат содержит фильтрующий элемент объемного типа в виде фильтровального мешка, циклонный элемент, контейнер для сбора и транспортирования пыли. Фильтрующий элемент закреплен своим открытым торцем на корпусе циклонного элемента с завихрителем улиточного типа и патрубком, внутри которого размещена коническая гильза, обращенная своим меньшим диаметром в сторону основания, а второй торец фильтрующего элемента наглухо закрыт крышкой. Циклонный элемент установлен на, по крайней мере, одной опоре, соединенной с основанием, на котором расположен контейнер для сбора и транспортирования пыли. На крышке смонтировано устройство регенерации. Технический результат: повышение эффективности очистки, снижение гидравлического сопротивления и сохранение во времени требуемой производительности. 1 з.п. ф-лы, 2 ил.
Изобретение относится к технике пылеулавливания и может применяться в машиностроительной, деревообрабатывающей, легкой, пищевой и других отраслях промышленности для аспирации технологического оборудования и очистки воздуха от мелкодисперсной пыли и стружки с эффективностью, достаточной для его рециркуляции.
Наиболее близким техническим решением к заявляемому объекту является пылеулавливающий аппарат по патенту РФ №2256510, кл. В04С 9/00 от 15.06.2004 г., содержащий корпус, периферийный ввод газового потока, фильтрующий элемент и бункер для сбора пыли (прототип).
Недостатками прототипа являются низкая эффективность пылеулавливания, высокое гидравлическое сопротивление и быстрое падение производительности.
Технический результат – повышение эффективности очистки, снижение гидравлического сопротивления и сохранение во времени требуемой производительности.
Это достигается тем, что в пылеулавливающем агрегате, содержащем корпус, периферийный ввод газового потока, фильтрующий элемент, бункер для сбора пыли и патрубок для выхода очищенного воздуха, фильтрующий элемент выполнен объемного типа, например, в виде фильтровального мешка, закрепленного своим открытым торцем на корпусе циклонного элемента с завихрителем улиточного типа и патрубком, внутри которого размещена коническая гильза, обращенная своим меньшим диаметром в сторону основания, а второй торец фильтрующего элемента наглухо закрыт крышкой, причем циклонный элемент установлен на, по крайней мере, одной опоре, соединенной с основанием, на котором расположен контейнер для сбора и транспортирования пыли, соединенный с патрубком посредством герметичного замка, причем на крышке смонтировано устройство регенерации.
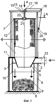
На фиг.1 представлен общий вид пылеулавливающего агрегата, на фиг.2 – вид А на фиг.1.
Пылеулавливающий агрегат содержит фильтрующий элемент 1 объемного типа, например фильтровальный мешок, закрепленный своим открытым торцем на корпусе циклонного элемента 2 с завихрителем 3 улиточного типа и патрубком 4, внутри которого размещена коническая гильза 5, обращенная своим меньшим диаметром в сторону основания 6. Второй торец фильтрующего элемента 1 наглухо закрыт крышкой 7. Циклонный элемент 2 установлен на, по крайней мере, одной опоре 8, соединенной с основанием 6, на котором расположен контейнер 9 для сбора и транспортирования пыли, соединенный с патрубком 4 посредством герметичного замка 10.
Пылеулавливающий агрегат снабжен устройством регенерации в виде механизма встряхивания, который состоит из установленных на перегородке 11, по крайней мере, двух стоек 12, соединенных между собой, по крайней мере, двумя пластинами 13, в которых выполнено отверстие 14, соосное фильтрующему элементу 1. В крышке 7 фильтрующего элемента 1, соосно ему, закреплены одним из своих концов пружина 15 и одним из своих концов тросик 16, проходящий внутри пружины, через отверстие 14 в пластинах 13. Тросик 16 перекинут через блоки 17 и 18, закрепленные на пластинах 13, а на другом его конце жестко связан с ним шариком 19, входящий в режиме фильтрации в прорезь крючка 20. Для крепления на крышке 7 пружины 15 и тросика 16 могут быть использованы соосно расположенные фильтрующему элементу 1 болт 21 с гайкой 22. Жесткость пружины 15 подбирается таким образом, чтобы частота затухающих колебаний движущихся масс, расположенных на крышке 7, обеспечивала наименьший декремент затухания колебаний движущихся масс.
Пылеулавливающий агрегат работает следующим образом.
Пылеулавливающий агрегат входным патрубком 23 подключается к системе аспирации оборудования. Запыленный воздух, отсасываемый из зоны пылевыделения вентилятором (на чертеже не показан), поступает в циклонный элемент 2 с завихрителем 3 улиточного типа, где приобретает вращательное движение, что приводит к центробежной сепарации улавливаемой пыли, которая нисходящим винтовым пристенным потоком и под действием силы тяжести выводится из циклонного элемента в контейнер для сбора пыли 9. Затем циклонный вихрь меняет свое осевое направление движения на противоположное и проходит через коническую гильзу 5 в фильтрующий элемент 1, в котором происходит окончательная очистка воздуха.
Устройство регенерации работает за счет перемещения крышки 7, прикрепленной к верхнему торцу фильтрующего элемента 1, которая перемещается при освобождении тросика 16 с крючка 20. В рабочем состоянии (фильтрации) крышка 7 удерживается в верхнем положении посредством натяжения тросика 16, зацепленного за крючок 20, и давлением фильтрующегося воздуха, при этом фильтрующий элемент 1 натянут. При встряхивании пыли с фильтрующего элемента 1 тросик 16 снимают с крючка 20; при этом крышка 7, прикрепленная к верхнему торцу фильтрующего элемента 1, под тяжестью собственной массы опускается на пружине 15. Под действием пружины 15 крышка 7 совершает колебательное движение в резонансном режиме, натягивая и опуская фильтрующий элемент 1, в результате чего пыль стряхивается с его внутренней поверхности, падает вниз и собирается в контейнере 9, откуда удаляется пневмотранспортом или вручную.
Пылеулавливающие агрегаты предназначены для отсоса и очистки воздуха от мелкодисперсной пыли и стружки.
Формула изобретения
1. Пылеулавливающий агрегат, содержащий фильтрующий элемент объемного типа в виде фильтровального мешка, циклонный элемент, контейнер для сбора и транспортирования пыли, расположенный на основании, отличающийся тем, что фильтрующий элемент закреплен своим открытым торцем на корпусе циклонного элемента, имеющего завихритель улиточного типа и патрубок, внутри которого размещена коническая гильза, обращенная своим меньшим диаметром в сторону основания, а второй торец фильтрующего элемента наглухо закрыт крышкой, при этом циклонный элемент установлен, по крайней мере, на одной опоре, соединенной с основанием, а контейнер для сбора и транспортирования пыли соединен с патрубком циклонного элемента посредством герметичного замка, причем на крышке фильтрующего элемента смонтировано устройство регенерации.
2. Пылеулавливающий агрегат по п.1, отличающийся тем, что устройство регенерации выполнено в виде механизма встряхивания, который состоит из установленных на перегородке, по крайней мере, двух стоек, соединенных между собой, по крайней мере, двумя пластинами, в которых выполнено отверстие, соосное фильтрующему элементу, а в крышке фильтрующего элемента, соосно ему, закреплены одним из своих концов пружина и одним из своих концов тросик, проходящий внутри пружины и через отверстие в пластинах, причем тросик перекинут через блоки, закрепленные на пластинах, а на другом его конце расположен жестко связанный с ним шарик, входящий в режиме фильтрации в прорезь крючка, а для крепления на крышке пружины и тросика используют соосно расположенные фильтрующему элементу болт с гайкой.
РИСУНКИ
|
|