|
|
(21), (22) Заявка: 2006104102/15, 13.02.2006
(24) Дата начала отсчета срока действия патента:
13.02.2006
(43) Дата публикации заявки: 27.08.2007
(46) Опубликовано: 27.01.2008
(56) Список документов, цитированных в отчете о поиске:
RU 2194569 C1, 20.12.2002. SU 604772 A1, 30.04.1978. US 4514285 A, 30.04.1985. ВИХМАН Г.Л., КРУГЛОВ С.А., Основы конструирования аппаратов и машин нефтеперерабатывающих заводов, Москва, Машиностроение, 1978, сс.206-220, 290-293.
Адрес для переписки:
603005, г.Нижний Новгород, ул. Октябрьская, 25, ГОУ ДПО “Нижегородский научно-информационный центр”, директору И.А. Коршунову
|
(72) Автор(ы):
Генкин Михаил Владимирович (RU), Киселевич Петр Викторович (RU)
(73) Патентообладатель(и):
Открытое акционерное общество “Пропан-Бутановая Компания” (RU)
|
(54) РЕАКТОРНО-РЕГЕНЕРАЦИОННЫЙ БЛОК УСТАНОВКИ ДЛЯ ПЕРЕРАБОТКИ ГАЗООБРАЗНЫХ УГЛЕВОДОРОДОВ
(57) Реферат:
Изобретение относится к области химического и нефтехимического аппаратостроения, а именно к установкам переработки углеводородов, и может быть использовано для пиролиза метана. Реакторно-регенерационный блок установки для переработки газообразных углеводородов работает следующим образом. В реактор 1 подают потоки газообразных углеводородов и нагретой твердой дисперсной фазы. Между этими потоками в реакторе 1 осуществляется тепловой тип взаимодействия. Отработанная твердая дисперсная фаза после выхода из реактора 1, проходя через дозатор 2, через патрубок 4 ввода твердой дисперсной фазы попадает в регенератор 3. В регенераторе 3 за счет высокой температуры частиц твердой дисперсной фазы происходит возгорание горючей газовоздушной смеси, подаваемой в регенератор 3 через патрубок 5 ввода горючей газовоздушной смеси, причем центрами горения являются сами частицы твердой дисперсной фазы. Так как скорости газовоздушной смеси существенно превышают скорости витания частиц, в регенераторе 3 реализуется режим “пневмотраспортного” течения твердой дисперсной фазы. В это время происходит сгорание слоя углерода на частицах твердой дисперсной фазы. Регенерированная твердая дисперсная фаза и газообразные продукты сгорания на выходе из регенератора 3 попадают в сепаратор 6. После разделения в сепараторе 6 продукты сгорания выводятся из системы через патрубок 7 вывода продуктов сгорания, а регенерированная твердая дисперсная фаза через патрубок 8 вывода регенерированной твердой дисперсной фазы возвращается в реактор 1. Результат изобретения: упрощение конструкции реакторно-регенерационного блока и снижение энергозатрат. 1 з.п. ф-лы, 1 ил.
Изобретение относится к области химического и нефтехимического аппаратостроения, а именно к установкам переработки углеводородов, и может быть использовано для пиролиза метана.
Известен реакционный блок для переработки углеводородного сырья, описанный в способе организации непрерывного движения катализатора в процессах переработки углеводородного сырья [RU 2177022, C10G 15/08, 2001.12.20], включающий установленные друг под другом и соединенные катализаторопроводами бункер, реактор, шлюзовое устройство, питатель и пневмотранспортную линию, регенерационный блок, включающий установленные друг под другом и соединенные катализаторопроводами бункер, регенератор, работающий под давлением ниже, чем в реакторе, шлюзовое устройство, питатель и пневмотранспортную линию, соединяющую питатель регенерационного блока с бункером реакционного блока. При этом шлюзовые устройства реакционного и регенерационного блоков постоянно открыты для пропуска движущейся массы катализатора, а в катализаторопровод регенерационного блока, соединяющий шлюзовое устройство с питателем, дополнительно подают инертный газ противотоком движению катализатора, при этом дополнительно подают инертный газ в питатель регенерационного блока для поддержания давления, достаточного для обеспечения пневмотранспорта катализатора из питателя регенерационного блока в бункер реакционного блока с заданным расходом.
Недостатком известного устройства является сложность реакторно-регенерационного блока из-за наличия пневмотранспортных линий, кроме того их рабочие газы снижают тепловую эффективность аппарата.
Наиболее близким по совокупности признаков и достигаемому эффекту к предлагаемому реакторно-регенерационному блоку установки для переработки газообразных углеводородов является реакторно-регенерационный блок установки для переработки газообразных углеводородов, описанный в патенте RU 2194569 (B01J 19/00, 2002), включающий последовательно соединенные вертикальные реактор и регенератор с патрубками для ввода и вывода катализатора и продуктов, наклонный катализаторопровод в форме трубы, дозатор пневмоподъемника, выполненный в виде вертикального цилиндрического корпуса с крышкой и днищем, снабженного патрубками для ввода катализатора и вторичного воздуха, патрубком и гильзой для подачи первичного воздуха и пневмостволом, расположенными коаксиально внутри корпуса дозатора и не доходящими до его днища.
Недостатком реакторно-регенерационного блока является сложность конструкции из-за наличия пневмотранспортных линий.
Задача, решаемая предлагаемым изобретением, направлена на усовершенствование реакторно-регенерационного блока установки для переработки газообразных углеводородов.
Технический результат от использования предлагаемого изобретения – упрощение конструкции реакторно-регенерационного блока и снижение энергозатрат.
Указанный технический результат достигается тем, что в реакторно-регенерационном блоке установки для переработки газообразных углеводородов, содержащем реактор, дозатор, регенератор и сепаратор, последние соединены последовательно, причем дозатор снабжен патрубками для ввода и вывода твердой дисперсной фазы, регенератор выполнен в виде пневмоствола и снабжен патрубками для ввода твердой дисперсной фазы и горючей газовоздушной смеси, а сепаратор – патрубком вывода продуктов сгорания и патрубком вывода регенерированной твердой дисперсной фазы, который соединен с реактором. Пневмоствол выполняют в виде пустотелой трубы.
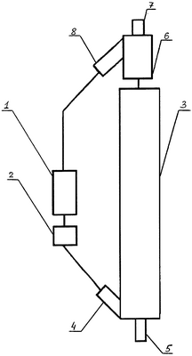
Предлагаемое изобретение схематически изображено на чертеже.
Реакторно-регенерационный блок установки для переработки газообразных углеводородов содержит последовательно соединенные реактор 1, дозатор 2, снабженный патрубками для ввода и вывода твердой дисперсной фазы (не показаны), регенератор 3 с патрубком 4 ввода твердой дисперсной фазы и патрубком 5 ввода горючей газовоздушной смеси, сепаратор 6, снабженный патрубком 7 вывода продуктов сгорания и патрубком 8 вывода регенерированной твердой дисперсной фазы. Регенератор 3 выполнен в виде пневмоствола. Патрубок 8 вывода регенерированной твердой дисперсной фазы соединен с реактором 1.
Реакторно-регенерационный блок установки для переработки газообразных углеводородов работает следующим образом.
В реактор 1 подают потоки газообразных углеводородов и нагретой твердой дисперсной фазы. Между этими потоками в реакторе 1 осуществляется тепловой тип взаимодействия. Отработанная твердая дисперсная фаза, представляющая собой, например, частицы, поверхность которых покрыта слоем углерода, после выхода из реактора 1, проходя через дозатор 2, через патрубок 4 ввода твердой дисперсной фазы, попадает в регенератор 3. В регенераторе 3 за счет высокой температуры частиц твердой дисперсной фазы происходит возгорание горючей газовоздушной смеси, подаваемой в регенератор 3 через патрубок 5 ввода горючей газовоздушной смеси, причем центрами горения являются сами частицы твердой дисперсной фазы. Так как скорости газовоздушной смеси существенно превышают скорости витания частиц, в регенераторе 3 реализуется режим “пневмотраспортного” течения твердой дисперсной фазы. В это время происходит сгорание слоя углерода на частицах твердой дисперсной фазы. Регенерированная твердая дисперсная фаза и газообразные продукты сгорания на выходе из регенератора 3 попадают в сепаратор 6. После разделения в сепараторе 6 продукты сгорания выводятся из системы через патрубок 7 вывода продуктов сгорания, а регенерированная твердая дисперсная фаза через патрубок 8 вывода регенерированной твердой дисперсной фазы возвращается в реактор 1.
В качестве реактора используют любой реактор, обеспечивающий, например, тепловой, тип взаимодействия между потоками газообразных углеводородов и твердой дисперсной фазы.
В качестве дозатора используют любой известный тип дозатора, применяемого в устройствах переработки углеводородного сырья. Регенератор изготавливают из трубы, например, стальной. В качестве сепаратора используют любой известный тип сепаратора, обеспечивающий разделение потоков продуктов сгорания и твердой дисперсной фазы.
Таким образом, по сравнению с прототипом, предлагаемый реакторно-регенерационный блок установки для переработки газообразных углеводородов имеет более простую конструкцию за счет того, что регенератор выполнен в виде пневмоствола и поэтому отсутствует необходимость снабжения устройства отдельным блоком регенерации, что упрощает конструкцию реакторно-регенерационного блока и приводит к экономии энергии.
Формула изобретения
1. Реакторно-регенерационный блок установки для переработки газообразных углеводородов, содержащий реактор, дозатор, регенератор и сепаратор, отличающийся тем, что они соединены последовательно, причем дозатор снабжен патрубками для ввода и вывода твердой дисперсной фазы, регенератор выполнен в виде пневмоствола и снабжен патрубками для ввода твердой дисперсной фазы и горючей газо-воздушной смеси, а сепаратор – патрубком вывода продуктов сгорания и патрубком вывода регенерированной твердой дисперсной фазы, который соединен с реактором.
2. Реакторно-регенерационный блок установки для переработки газообразных углеводородов по п.1, отличающийся тем, что пневмоствол выполнен в виде пустотелой трубы.
РИСУНКИ
MM4A – Досрочное прекращение действия патента СССР или патента Российской Федерации на изобретение из-за неуплаты в установленный срок пошлины за поддержание патента в силе
Дата прекращения действия патента: 14.02.2008
Извещение опубликовано: 20.11.2009 БИ: 32/2009
NF4A – Восстановление действия патента СССР или патента Российской Федерации на изобретение
Дата, с которой действие патента восстановлено: 27.11.2009
Извещение опубликовано: 27.11.2009 БИ: 33/2009
|
|