|
|
(21), (22) Заявка: 2006103572/12, 07.02.2006
(24) Дата начала отсчета срока действия патента:
07.02.2006
(30) Конвенционный приоритет:
08.02.2005 (пп.1-16) CH 00193/05
(43) Дата публикации заявки: 20.08.2007
(46) Опубликовано: 27.01.2008
(56) Список документов, цитированных в отчете о поиске:
US 2004029834 A1, 12.02.2004. GB 2408920 A1, 15.06.2005. US 4715274 A1, 29.12.1987. RU 2167526 C2, 27.05.2001. SU 1386264 A1, 07.04.1988.
Адрес для переписки:
129010, Москва, ул. Б.Спасская, 25, стр.3, ООО “Юридическая фирма Городисский и Партнеры”, пат.пов. С.А.Дорофееву
|
(72) Автор(ы):
ФРИДЖЕРИ Патрицио (CH)
(73) Патентообладатель(и):
САЭКО АйПиАр ЛИМИТЕД (IE)
|
(54) УСТРОЙСТВО ДЛЯ ПРИГОТОВЛЕНИЯ МОЛОЧНОЙ ПЕНЫ И/ИЛИ ДЛЯ ПОДОГРЕВА МОЛОКА
(57) Реферат:
Изобретение относится к устройству для приготовления молочной пены и/или для подогрева молока. Канал для подвода пара через сопло выходит в канал для подвода молока. Канал для подвода молока выходит в смесительный канал. Часть деталей, контактирующих с молоком, снабжены гидрофобной и олеофобной поверхностью, образованной наночастицами. Наночастицы частично состоят из серебра или его соединений. Устройство может применяется вместе с кофеваркой для варки эспрессо или в кофеварке для варки эспрессо. Кофеварка для варки эспрессо может содержать устройство для приготовления молочной пены и/или подогрева молока. Техническим результатом является повышение удобства пользования пенообразователя. 2 н. и 14 з.п. ф-лы, 2 ил.
Изобретение касается устройства для приготовления молочной пены и/или для подогрева молока согласно ограничительной части пункта 1 формулы изобретения, которое в дальнейшем коротко называется «пенообразующий аппарат» или «пенообразователь для молока».
Для получения молочной пены известны самые различные варианты выполнения так называемых пенообразователей для молока или образующих эмульсию устройств. Эти пенообразователи для молока или соответственно образующие эмульсию устройства имеют, как правило, канал для подвода пара, который выходит во всасывающую камеру. Всасывающая камера со своей стороны соединена с каналом для подвода молока и каналом для подвода воздуха. Благодаря потоку пара во всасывающей камере создается разрежение, которое способствует тому, что молоко по каналу подвода молока и воздух по каналу для подвода воздуха засасываются во всасывающую камеру. Получающаяся смесь из пара, воздуха и молока поступает в последовательно подключенную камеру для образования эмульсии в виде турбулентного потока, так что возникает однородная молочная пена. Молочная пена, приготавливаемая с помощью пенообразователя для молока, может использоваться, например, для приготовления капуччино или молока с небольшим количеством кофе. С помощью пенообразователя для молока можно наряду с приготовлением молочной пены также и подогревать молоко.
Из ЕР 0195750 А1 известно устройство для образования эмульсии, названное устройством для получения молочной пены. Оно имеет сопло, которое соединено с устройством, в котором получается пар. Сопло установлено в трубчатой конструкции, которая тангенциально выходит в цилиндрическую камеру для образования эмульсии. Камера для образования эмульсии снабжена на нижней стороне выпускным отверстием. Внутри трубчатой конструкции образуется всасывающая камера, в которой в верхнюю часть выходит канал для подвода воздуха, в нижнюю часть выходит канал для подвода молока. При подводе пара во всасывающей камере создается разрежение, которое способствует засасыванию молока и воздуха. Смесь из воды, пара, воздуха и молока тангенциально поступает в камеру для образования эмульсии, в которой она приобретает вид турбулентного потока, требуемого для процесса образования эмульсии и который должен способствовать конденсации пара. Через выпускное отверстие приготовленная эмульсия выпускается из аппарата.
Недостатком, присущим такому устройству, является то, что оно быстро загрязняется, не микробицидно, так что остатки молока, остающиеся в пенообразователе после каждого процесса приготовления пены, находятся под воздействием бактерий, что в итоге ведет к рискам для здоровья. Для устранения этого необходимо подвергать устройство после каждого приготовления молочной пены основательной очистке.
Далее, из US 4949631 известно устройство для взбивания пены из молока, которое имеет инжектор, снабженный на своей наружной стороне слоем с низкими адгезионными свойствами, например тефлоном®, содержащий внутреннее сопло и внешнее сопло с направляющей гильзой, причем внутреннее сопло и направляющая гильза как на своей внутренней поверхности, так и на своей наружной поверхности покрыты тефлоном®.
Недостаток этого устройства состоит в том, что нанесение тефлонового покрытия на неплоские тела представляется сложным, требует затрат и таким образом дорого, кроме того, тефлоновое покрытие не микробицидно.
Наконец, из US 2004/0029834 A1 известно изделие, в частности емкость, имеющая микробицидное покрытие, которое по меньшей мере частично состоит из органически модифицированной неорганической матрицы, содержащей коллоид серебра. Нанесение покрытия может заключаться в следующем, на поверхность наносят массу для покрытия, которая содержит а) определенные производные кремневодорода и b) соединения серебра, и затем с помощью нагрева и/или облучения получают коллоид серебра.
Недостатком такого имеющего микробицидное покрытие изделия является то, что нанесение микробицидного покрытия сложно, требует затрат и поэтому дорого. Далее производные кремневодорода хотя и гидрофобны, но не олеофобны, так что все равно пенообразователь для молока после каждого использования требовал бы основательной чистки.
Задачей изобретения является создание пенообразователя для молока, который бы не имел названных недостатков.
Поставленная задача в устройстве для приготовления молочной пены и/или подогрева молока, с пенообразующим аппаратом, имеющим канал для подвода пара, канал для подвода воздуха, канал для подвода молока и выпускное отверстие, согласно изобретению решается тем, что по меньшей мере, часть деталей, контактирующих с молоком, и/или полости снабжены как гидрофобной, так и олеофобной поверхностью, образованной наночастицами, наночастицы состоят частично из серебра или соединений из серебра; и канал для подвода пара через сопло выходит в канал для подвода молока пенообразующего аппарата, и канал для подвода молока выходит в смесительный канал, причем сопло, канал для подвода молока, выпускное отверстие и смесительный канал снабжены поверхностью, образованной наночастицами.
Наночастицы введены в поверхность.
Наночастицы нанесены на поверхность в форме покрытия.
Наночастицы имеют с поверхностью химическую или физическую связь.
Устройство содержит также емкость для молока.
Пенообразующий аппарат и/или емкость для молока имеют средство для фиксации пенообразующего аппарата на емкости для молока.
Пенообразующий аппарат снабжен отводом, идущим в направлении донной части емкости для молока, в котором расположен канал для подвода молока и чей дальний конец снабжен входным отверстием, соединенным с каналом для молока.
Отвод в области входного отверстия снабжен, по меньшей мере, одной радиальной выемкой.
Пенообразующий аппарат состоит из нескольких деталей, и отдельные детали могут соединяться друг с другом с помощью штекерного или защелкивающегося соединения.
Канал для подвода молока после отделения отдельных частей, по меньшей мере, частично доступен.
Пенообразующий аппарат имеет первую цилиндрическую выемку, которая соединена с каналом для подвода пара.
Пенообразующий аппарат имеет вторую цилиндрическую выемку, которая соединена с выпускным устройством или которая его образует.
Пенообразующий аппарат имеет стыковочный элемент, который снабжен двумя цилиндрическими выступами, которые выполнены для присоединения к первой и второй выемкам, причем к одному выступу может быть присоединен трубопровод для подвода пара, и причем ко второму выступу может быть присоединен выпускной трубопровод.
Пенообразующий аппарат имеет открытый в окружающую среду канал, выходящий в канал для подвода молока, который может быть закрыт с помощью клапана.
Устройство согласно изобретению может применяться вместе с кофеваркой для варки эспрессо или оно может применяться в кофеварке для варки эспрессо.
Предметом изобретения является также кофеварка для варки эспрессо с устройством для приготовления молочной пены и/или подогрева молока согласно изобретению.
Под «наночастицами» здесь понимаются частицы с размером от 10-10 до 10-7 м, предпочтительно около 10-8 м.
Благодаря тому, что, по меньшей мере, часть деталей и/или полостей пенообразующего аппарата, вступающих в контакт с молоком, снабжена как гидрофобной, так и олеофобной поверхностью, образованной наночастицами, опасность загрязнения может быть значительно уменьшена. При этом подобного рода поверхности просто чистить.
Благодаря тому, что названные наночастицы состоят частично из серебра или соединений серебра, обеспечивается длительная микробицидность обработанных поверхностей.
За счет выполнения пенообразователя для молока согласно признаку с) пункта 1 формулы изобретения и покрытия перечисленных там частей обеспечивается, что все основные части пенообразователя для молока выполнены гидрофобными, олеофобными и микробицидными.
Предпочтительные примеры выполнения устройства приведены в зависимых пунктах 2-16 формулы изобретения.
Ниже с помощью чертежей более подробно описывается пример выполнения предложенного устройства. При этом показывают:
фиг.1 – продольный разрез устройства для приготовления молочной пены и подогрева молока;
фиг.2 – схематическое изображение увеличенного выреза по фиг.1.
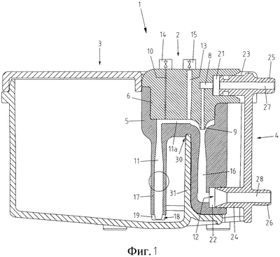
Устройство для приготовления молочной пены и для подогрева молока в целом обозначено позицией 1. Устройство содержит, по существу, пенообразующий аппарат 2, емкость 3 для молока и стыковочный элемент 4. Пенообразующий аппарат 2 состоит из нижней части 5 и закрепляемой на ней с помощью штекерного соединения верхней части 6. Нижняя часть 5 плотно соединена с верхней частью 6, при этом предусмотренные для этой цели уплотнения подробно не показаны. Пенообразующий аппарат 2 снабжен каналом 8 для подвода пара, каналом 10 для подвода воздуха, каналом 11 для подвода молока, выпускным отверстием 12, а также каналом 13 для спуска воздуха. Горизонтально идущий участок молочного канала 11 снабжен позицией 11а. Канал 8 для подвода пара имеет на конце сопло 9. Как канал 10 для подвода воздуха, так и канал 13 для спуска воздуха снабжены клапанами 14, 15, с помощью которых каждый канал 10, 13 может быть закрыт или соединен с окружающей средой. Пенообразующий аппарат 2 снабжен имеющим вид хобота отводом 17, идущим в направлении донной части емкости 3 для молока, в котором расположен канал 11 для подвода молока и чей дальний конец снабжен входным отверстием 18, соединяющимся с каналом 11 для подвода молока. Отвод 17 в области входного отверстия 18 по обеим сторонам снабжен радиальными выемками 19, которые способствуют поступлению молока из емкости 3 для молока в отвод 17. У входа канала 8 для подвода пара в пенообразующем аппарате выполнена цилиндрическая выемка 21. Выпускное отверстие 12 тоже выходит в цилиндрическую выемку 22. Стыковочный элемент 4 снабжен двумя цилиндрическими выступами 23, 24, расстояние между которыми соответствует расстоянию между обеими выемками 21, 22 и внешний диаметр которых согласован с диаметром соответствующих выемок 21, 22 для того, чтобы сделать возможным плотное штекерное соединение между каждым выступом 23, 24 и соответствующей выемкой 21, 22. Оба цилиндрических выступа 23, 24 через отверстия 27, 28 соединены с присоединительными патрубками 25, 26. При этом верхний присоединительный патрубок 25 служит для подсоединения шланга, ведущего к источнику пара (не показан), в то время как нижний присоединительный патрубок 26 предусмотрен для присоединения шланга, ведущего к выпускному отверстию для напитка (не показано).
Пенообразующий аппарат 2 снабжен пазом 30 для зажимной фиксации на части стенки 31 емкости 3 для молока, снабженной выемкой. Для того чтобы отделить пенообразующий аппарат 2 от емкости 3 для молока, сначала путем бокового снятия отделяется стыковочный элемент 4. После этого пенообразующий аппарат 2 может быть снят вверх с емкости 3 для молока.
Для уменьшения опасности загрязнения, в частности частей и полостей пенообразующего аппарата 2, контактирующих с молоком, канал 8 для подвода пара, канал 10 для подвода воздуха, канал 11, 11а для подвода молока, выпускное отверстие 12, канал 13 для спуска воздуха, а также сопло 9 снабжены гидрофобным и олеофобным слоем, образованным наночастицами. Предпочтительно, по меньшей мере, часть наночастиц состоит из серебра или соединений серебра. Имеется также возможность структурирования и/или введения ионов серебра в слой. Серебро имеет основное преимущество, заключающееся в том, что оказывает антимикробное воздействие и способствует торможению роста, соответственно уничтожению микробов и бактерий, что имеет решающее значение в отношении желаемых гигиенических свойств устройства, в частности частей и поверхностей, вступающих в контакт с молоком. Такой нанодисперсный слой рассчитан так, чтобы получить очень большую поверхность, за счет чего введенное серебро может оптимально проявить свой эффект. Предпочтительно, как емкость 3 для молока, стыковочный элемент 4, так и шланг, ведущий от стыковочного элемента к выходному отверстию для напитка (не показан), снабжены подобного рода слоем, образованным наночастицами. Слой наносится с помощью заполнения каналов, подлежащих покрытию, или с помощью погружения в ванну тел, подлежащих покрытию.
Основной принцип действия подобного рода устройства уже известен, ниже дается только краткое пояснение относительно обоих режимов его работы. Для приготовления молочной пены открывается клапан 14, расположенный на входе канала 10 для подачи воздуха, в это же время закрывается клапан 15, расположенный на входе канала 13 для спуска воздуха. Теперь по каналу 8 для подвода пара осуществляется подача пара, который через сопло 9 поступает в канал 16 для молока. Поток пара создает в области сопла 9 разрежение, которое ведет к тому, что, с одной стороны, через отвод 17 осуществляется засасывание молока в канал 11 для подвода молока и, с другой стороны, воздух по каналу 10 для подвода воздуха поступает в горизонтально идущий участок 11а канала 11 для подвода молока. Поступающий через канал 10 для подвода воздуха поток воздуха смешивается с потоком молока. После сопла 9 молоко смешивается с паром, который при этом сразу же конденсируется. Благодаря конденсации пара в области сопла 9 поддерживается всасывающий эффект. Смесь из воздуха, молока и пара, и соответственно воды поступает в смесительный канал 16, в котором создается однородная молочная пена, которая через выпускное отверстие 12 выпускается из пенообразующего аппарата 2 и через отверстие 28 в цилиндрическом выступе 24 стыковочного элемента 4 поступает в присоединительный патрубок 24, из которого она через не показанное более подробно средство может поступать в выпускное отверстие для напитка.
Для нагрева или подогрева молока закрываются как клапан 14, расположенный на входе канала 10 для подвода воздуха, так и клапан 15, расположенный на входе канала 13 для спуска воздуха. После этого снова по каналу 8 для подвода пара осуществляется подвод пара, который через сопло 9 поступает в смесительный канал 16. Разрежение, создаваемое поступающим паром в области сопла 9, ведет к тому, что в канал 11 для подвода молока через отвод 17 засасывается молоко, однако в этом случае не происходит поступления воздуха через канал 10 для подвода воздуха в горизонтально идущий участок 11а канала 11 для подвода молока. Таким образом быстро и просто осуществляется подогрев молока.
Для надежного опорожнения частей, отверстий и каналов 11, 11а, 12, 16, 28, по которым поступало молоко, после каждого процесса приготовления пены или подогрева молока, после каждого режима работы открывается клапан 15, расположенный на входе канала 13 для спуска воздуха.
Несмотря на относительную нечувствительность устройства к загрязнению, оно должно подвергаться регулярной чистке. Это может осуществляться с помощью программы промывки, при которой, по меньшей мере, критические в плане загрязнения части, отверстия и каналы 11, 11а, 12, 16, 28 промываются горячей водой. Другой вариант заключается в том, что стыковочный элемент 4 вручную снимается с пенообразующего аппарата 2, и пенообразующий аппарат 2 снимается с емкости 3 для молока. После этого верхняя часть 6 пенообразующего аппарата 2 может быть снята с нижней части 5, благодаря чему становятся доступны критические в плане загрязнения внутренние части пенообразующего аппарата 2 такие, как, в частности, горизонтальный участок 11а канала для подвода молока, а также сопло 9. Названные части могут быть потом вымыты, например, в посудомоечной машине. Так как все каналы снабжены гидрофобной и олеофобной поверхностью, образованной наночастицами, на них вряд ли могут скапливаться загрязняющие частицы и оставаться остатки молока. Во всяком случае, конструкционные элементы устройства, главным образом пенообрузующий аппарат 2, емкость 3 для молока, а также стыковочный элемент 4, очень просто очищаются. Следует отметить, что критические в плане загрязнения части, в частности внутренняя сторона емкости 3 для молока, канал 11, 11а для подвода молока и смесительный канал 16 пенообразующего аппарата 2, отверстие 28 присоединительного элемента 4, идущее через присоединительный патрубок 26 могут быть вымыты очень просто, так как в названных каналах, трубопроводах и отверстиях не могут собираться какие-либо заметные остатки молока.
На фиг.2 показан увеличенный разрез из фиг.1, на котором схематически и не в масштабе показано нанесение покрытия на отвод 17. Как показано, стенка канала 11 для подвода молока, расположенная на внутренней стороне отвода, снабжена покрытием 32, которое состоит из большего количества наночастиц 33. Частицы, образующие наночастицы, имеют размер порядка от 10-10 до 10-7 м, преимущественно около 10-8 м. Разумеется, что частицы такого порядка величины не могут быть изображены. Поэтому на этом чертеже как сам слой, так и частицы представлены только схематически. Вместо нанесения слоя, образованного наночастицами, наночастицы могут быть введены в поверхность соответствующей детали конструкции.
Нанесение наночастиц осуществляется самым простым образом, в ванне для погружения, с помощью набрызгивания или заливкой. Определяющие параметры, такие как скорость погружения, длительность обработки и скорость извлечения, специалист может определить с помощью простого опыта.
Подлежащая использованию смесь состоит преимущественным образом из:
(a) материала основы, образующей наночастицы;
(b) первой присадки с олеофобными свойствами;
(c) второй присадки с гидрофобными свойствами; и
(d) серебра или соединений серебра.
Затем покрытая слоем деталь нагревается до температуры от 80 до 140°С, при этом происходит полимеризация нанопокрытия, оно отверждается, темперируется и прочно соединяется с деталью.
Формула изобретения
1. Устройство для приготовления молочной пены и/или подогрева молока, с пенообразующим аппаратом (2), имеющим канал (8) для подвода пара, канал (10) для подвода воздуха, канал (11) для подвода молока, и выпускное отверстие (12), отличающееся тем, что, по меньшей мере, часть деталей, контактирующих с молоком, и/или полости снабжены гидрофобной и олеофобной поверхностью, образованной наночастицами (33), наночастицы (33) состоят частично из серебра или соединений из серебра, канал (8) для подвода пара через сопло (9) выходит в канал (11) для подвода молока пенообразующего аппарата (2), и канал (11) для подвода молока выходит в смесительный канал (16), причем сопло (9), канал (11) для подвода молока, выпускное отверстие (12) и смесительный канал (16) снабжены поверхностью, образованной наночастицами (33).
2. Устройство по п.1, отличающееся тем, что наночастицы (33) введены в поверхность.
3. Устройство по п.1, отличающееся тем, что наночастицы (33) нанесены на поверхность в форме покрытия (32).
4. Устройство по п.1, отличающееся тем, что наночастицы (33) имеют с поверхностью химическую или физическую связь.
5. Устройство по любому из пп.1-4, отличающееся тем, что устройство содержит емкость (3) для молока.
6. Устройство по п.5, отличающееся тем, что пенообразующий аппарат (2) и/или емкость (3) для молока имеют средство (30, 31) для фиксации пенообразующего аппарата (2) на емкости (3) для молока.
7. Устройство по п.5, отличающееся тем, что пенообразующий аппарат (2) снабжен отводом (17), направленным к донной части емкости (3) для молока, в котором расположен канал (11) для подвода молока, и дальний конец которого снабжен входным отверстием (18), соединенным с каналом (11) для молока.
8. Устройство по п.7, отличающееся тем, что отвод (17) в области входного отверстия (18) снабжен, по меньшей мере, одной радиальной выемкой (19).
9. Устройство по п.1, отличающееся тем, что пенообразующий аппарат (2) состоит из нескольких деталей, и отдельные детали (4, 5, 6) соединены друг с другом с помощью штекерного или защелкивающегося соединения.
10. Устройство по п.9, отличающееся тем, что канал (11) для подвода молока после отделения отдельных частей (4, 5, 6), по меньшей мере, частично доступен.
11. Устройство по п.1, отличающееся тем, что пенообразующий аппарат (2) имеет первую цилиндрическую выемку (21), которая соединена с каналом (8) для подвода пара.
12. Устройство по п.11, отличающееся тем, что пенообразующий аппарат (2) имеет вторую цилиндрическую выемку (22), которая соединена с выпускным устройством (12) или образует его.
13. Устройство по п.11 или 12, отличающееся тем, что пенообразующий аппарат (2) имеет стыковочный элемент (4), который снабжен двумя цилиндрическими выступами (23, 24), которые выполнены для присоединения к первой и второй выемкам (21, 22), причем к одному выступу (23) присоединен трубопровод для подвода пара, а к другому выступу (24) присоединен выпускной трубопровод.
14. Устройство по п.1, отличающее тем, что пенообразующий аппарат (2) имеет открытый в окружающую среду канал (13), выходящий в канал (11) для подвода молока, который закрыт с помощью клапана (15).
15. Устройство по п.1, отличающееся тем, что оно используется вместе с кофеваркой для варки эспрессо или в кофеварке для варки эспрессо.
16. Кофеварка для варки эспрессо, содержащая устройство для приготовления молочной пены и/или подогрева молока, выполненное по п.1.
РИСУНКИ
|
|