|
|
(21), (22) Заявка: 2005134157/15, 03.11.2005
(24) Дата начала отсчета срока действия патента:
03.11.2005
(46) Опубликовано: 27.01.2008
(56) Список документов, цитированных в отчете о поиске:
RU 2075994 C1, 27.03.1997. RU 2110482 C1, 10.05.1998. RU 2262374 C1, 20.10.2005. WO 00/21635 A, 20.04.2000. US 4246119 A, 20.01.1981.
Адрес для переписки:
432027, г.Ульяновск, Северный Венец, 32, ГОУ ВПО “Ульяновский государственный технический университет”, проректору по научной работе
|
(72) Автор(ы):
Худяков Анатолий Васильевич (RU), Сухотина Екатерина Анатольевна (RU)
(73) Патентообладатель(и):
Государственное образовательное учреждение высшего профессионального образования “Ульяновский государственный технический университет” (RU)
|
(54) УСТРОЙСТВО СКОРОГО ФИЛЬТРА-СОРБЕНТА ДЛЯ ВОДООЧИСТКИ
(57) Реферат:
Изобретение относится к устройствам скорых фильтров-сорбентов для очистки сточных, питьевой, хозяйственной вод от взвесей, излишних и вредных растворенных примесей в промышленности, сельском хозяйстве, в быту. Устройство содержит сорбент из цеолита и колонки с электродами, разграничивающими слои сорбента в колонках, где положительный полюс подключен к первому от корпуса колонки электроду, к третьему, и т.д. ко всем нечетным по номерам электродам, а отрицательный полюс подключен ко второму, четвертому и т.д. ко всем четным по номерам электродам. Устройство содержит одну или несколько соединенных между собой параллельно колонок со смесью активированного угля или сульфоугля и цеолита и подключенные к ним последовательно одну или несколько соединенных между собой параллельно колонок с электродами, где первую половину зазора между стенкой корпуса колонки и первым электродом заполняет слой сорбента из цеолита, далее следует разделительная перегородка в виде сетки из диэлектрического материала, а вторую половину этого зазора заполняет слой сорбента из амфотерных материалов, далее слои указанных сорбентов из цеолита и амфотерных материалов чередуются, начиная с амфотерных материалов, при этом слои между электродами имеют толщину 0,02-0,20 м, а электроды подключены к выпрямителю с постоянным напряжением 5-220 В. Технический эффект – увеличение сорбционной способности цеолита, увеличение времени непрерывной эксплуатации установки без отключения ее на очистку от загрязнений и примесей, увеличение устойчивой сорбирующей способности сорбента в колонке и пропускной способности колонки. 2 ил., 1 табл.
Изобретение относится к устройствам скорых фильтров-сорбентов для очистки сточных, питьевой, хозяйственной вод от взвесей, излишних и вредных растворенных примесей в промышленности, сельском хозяйстве, в быту.
Известны устройства скорых фильтров-сорбентов, включающих протяженные по длине емкости, через которые пропускают воду, заполненные фильтрующими материалами, сорбирующими растворенные в воде примеси: кварцевый песок (SiO2), глауконит (зеленый песок – силикат с непрерывными слоями тетраэдров SiO4), ряд алюмосиликатов: цеолиты – силикаты с непрерывным трехмерным каркасом из тетраэдров (Si,Al)O4 в кристаллических структурах и сравнительно большими расстояниями между узлами решетки, монтмориллонит m{Mg3[Si4O10]·[OH]2}·р{[(Al, Fe3)Si4O10]·[ОН]2}·nH2О; бейделит Al2[Si4О10]·[OH]2nH2О; нонтронит m{Mg3[Si4O10]·[OH]2}·p{(Fe, Al)2[Si4O10]·[ОН]2}·nH2О; каолинит (аноксит) Al4[Si4O10]·[OH]8 галлуазит Al4[Si4O10]·[OH]8·4H2O; тальк Mg3[Si4O10]·[OH]2; пирофиллит Al2[Si4O10]·[OH]2 (с.30), антрацит, керамзит, сульфоуголь, активированный уголь, полимерные материалы [Абрамов Н.Н. Водоснабжение. M., «Стройиздат», 1982, с.151-283, 304-318, 323-328].
Недостатком известных устройств – аналогов скорых фильтров-сорбентов для водоочистки является низкая сорбционная активность применяемых для очистки воды сорбентов, большие геометрические размеры скорых фильтров-сорбентов, высокая стоимость, недостаточно большая пропускная способность.
Наиболее близким техническим решением того же назначения к заявляемому устройству по совокупности существенных признаков и максимально достижимому положительному эффекту и потому признанным за прототип к предлагаемому техническому решению является устройство скорого фильтра-сорбента для водоочистки, содержащее сорбент из цеолита и колонки с электродами, разграничивающими слои сорбента в колонках, где положительный плюс подключен к первому от корпуса колонки электроду, к третьему и т.д. ко всем нечетным по номерам электродам, а отрицательный полюс подключен ко второму, четвертому и т.д. ко всем четным по номерам электродам [RU 2075994, B01D 15/00, 27.03/1997, 7 с.].
Недостатками устройства – прототипа являются относительно быстрое по времени заполнение цеолитовой колонки загрязнениями, которые увеличивают электрическую проводимость слоя цеолита, тем самым уменьшают сорбирующую способность цеолита, уменьшают устойчивость пропускной способности цеолитовой колонки, относительная высокая стоимость устройства.
Технический результат предлагаемого изобретения – существенное увеличение времени непрерывной эксплуатации установки без отключения ее на очистку от загрязнений и примесей, существенное увеличение устойчивой сорбирующей способности сорбента в колонке, устойчивой пропускной способности колонки, уменьшение стоимости устройства.
Указанный технический результат при осуществлении изобретения достигается тем, что устройство скорого фильтра-сорбента для водоочистки содержит сорбент из цеолита и колонки с электродами, разграничивающими слои сорбента в колонках, где положительный полюс подключен к первому от корпуса колонки электроду, к третьему и т.д. ко всем нечетным по номерам электродам, а отрицательный полюс подключен ко второму, четвертому и т.д. ко всем четным по номерам электродам, одну или несколько соединенных между собой параллельно колонок со смесью активированного угля или сульфоугля и цеолита и подключенные к ним последовательно одну или несколько соединенных между собой параллельно колонок с электродами, где первую половину зазора между стенкой корпуса колонки и первым электродом заполняет слой сорбента из цеолита, далее следует разделительная перегородка в виде сетки из диэлектрического материала, а вторую половину этого зазора заполняет слой сорбента из амфотерных материалов, далее слои указанных сорбентов из цеолита и амфотерных материалов чередуются, начиная с амфотерных материалов, при этом слои между электродами имеют толщину 0,02-0,20 м, а электроды подключены к выпрямителю с постоянным напряжением 5-220 В.
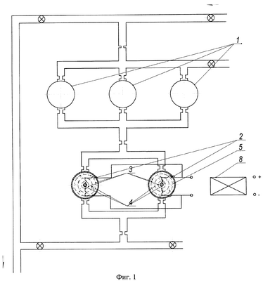
Сущность изобретения поясняется чертежами: на фиг.1 показан один из возможных вариантов блок-схемы устройства, которое содержит три соединенные между собой параллельно колонки 1, заполненные смесью активированного угля или сульфоугля и цеолита и подключенные к ним последовательно две соединенные между собой параллельно колонки 2 (фиг.2) с электродами 3 и 4, разграничивающими слои сорбента в колонках, где положительный полюс подключен к первому от корпуса колонки электроду, к третьему и т.д. ко всем нечетным по номерам электродам, а отрицательный полюс подключен ко второму, четвертому и.т.д. ко всем четным по номерам электродам, где первую половину зазора между стенкой корпуса колонки и первым электродом заполняет слой сорбента из цеолита 5, далее следует разделительная перегородка в виде сетки из диэлектрического материала 6, а вторую половину этого зазора заполняет слой сорбента из амфотерных материалов 7, далее слои указанных сорбентов из цеолита и амфотерных материалов чередуются, начиная с амфотерных материалов, при этом слои между электродами имеют толщину 0,02-0,20 м, а электроды подключены к выпрямителю 8 с постоянным напряжением 5-220 В.
Пример. Устройство скорого фильтра-сорбента состоит из пяти колонок – емкостей стали-20 внутренним диаметром 280 мм, высотой 1200 мм, толщиной оболочки 10 мм, первые три из которых 1 подсоединены к магистральной системе водоснабжения параллельно друг другу и заполнены смесью на 50 об.% активированного угля Бау-А и на 50 об.% гранул природного цеолита Холинского месторождения размерами 0,001-0,0025 м, соединенных между собой параллельно двух других колонок 2 с электродами 3 и 4, разграничивающими слои сорбента в колонках, где положительный полюс подключен к первому от корпуса колонки электроду, к третьему и т.д. ко всем нечетным по номерам электродам, а отрицательный полюс подключен ко второму, четвертому и т.д. ко всем четным по номерам электродам, где первую половину зазора между стенкой корпуса колонки и первым электродом заполняет слой сорбента из гранул природного цеолита 5 Холинского месторождения размерами 0,001-0,0025 м, далее следует разделительная перегородка – сетка 6 из диэлектрического материала – полиэтилена с величиной ячеек 0,001 м, а вторую половину этого зазора заполняет слой сорбента из амфотерных материалов 7, состоящий из смеси гранул монтмориллонита (50 об.%) и талька (50 об.%) размерами 0,001-0,0025 м, далее слои указанных сорбентов из цеолита и амфотерных материалов чередуются, начиная с амфотерных материалов, при этом слои между электродами имеют толщину 0,02 м, а электроды подключены к выпрямителю 8 с постоянным напряжением 50 В.
В таблице приведены данные о степени очистки воды, полученные на данной полезной модели по примеру 1, в сравнении с очисткой той же воды на устройстве-прототипе без электрического напряжения и с напряжением. Примеси в воду были введены искусственно.
| Таблица. |
| Характеристики очистки воды |
| |
|
Концентрация загрязнений до и после очистки, мг/л |
Норма |
| № п/п |
Показатели |
До очистки |
Без электрического напряжения |
С электрическим напряжением на электродах 220 В по устройству – прототипу |
По заявленному устройству с напряжением на электродах 50 В |
| 1 |
2 |
3 |
4 |
5 |
6 |
7 |
| 1. |
По биохимическим потребностям кислорода |
700 |
80 |
8 |
4 |
– |
| 2. |
Азот |
50 |
2,0 |
0,2 |
0,1 |
– |
| 3. |
Фосфор |
50 |
2,2 |
0,2 |
0,1 |
– |
| 4. |
Жесткость общая |
15 |
4,0 |
0,5 |
0,2 |
7 |
| 5. |
Нитраты |
10 |
2,5 |
1,0 |
0,5 |
7 |
| 6. |
Нитриты |
10 |
3,0 |
1,0 |
0,4 |
7 |
| 7. |
Хлориды |
3000 |
350,0 |
300,0 |
110 |
350,0 |
| 8. |
Сульфаты |
3000 |
350,0 |
300,0 |
120 |
500 |
| 9. |
Медь |
10 |
0,2 |
0,01 |
0,001 |
1,0 |
| 10. |
Свинец |
5,0 |
не обн. |
не обн. |
не обн. |
– |
| 11. |
Ртуть |
5,0 |
не обн. |
не обн. |
не обн. |
– |
| 12. |
Стронций-88 |
30,0 |
6,2 |
1,0 |
0,2 |
8,5 |
Использование предлагаемого устройства позволяет более чем на порядок увеличивать время непрерывной эксплуатации установки без отключения ее на очистку от загрязнений и примесей, примерно в два раза понижать количество растворенных в воде примесей при напряжении на электродах в 4 раза меньшем, чем на электродах в устройстве-прототипе, что свидетельствует о действенности основного технического результата предлагаемой полезной модели – существенного увеличения сорбционной способности цеолита.
Таким образом, изложенные данные свидетельствуют о выполнении при использовании заявленного изобретения следующей совокупности условий:
– средство, воплощающее заявленное устройство при его осуществлении, предназначено для использовании в промышленности, а именно в фильтрах-сорбентах для очистки воды от всего спектра веществ вредных или излишних для растительных и живых биологических объектов;
– для заявленного устройства в том виде, как оно охарактеризовано в независимом пункте изложенной формулы изобретения, подтверждена возможность его осуществления с помощью описанных в заявке или известных до даты приоритета средств и методов.
Следовательно, заявленное изобретение соответствует условию «промышленная применимость».
Формула изобретения
Устройство скорого фильтра-сорбента для водоочистки, содержащее сорбент из цеолита и колонки с электродами, разграничивающими слои сорбента в колонках, где положительный полюс подключен к первому от корпуса колонки электроду, к третьему, и т.д. ко всем нечетным по номерам электродам, а отрицательный полюс подключен ко второму, четвертому и т.д. ко всем четным по номерам электродам, отличающееся тем, что устройство содержит одну или несколько соединенных между собой параллельно колонок со смесью активированного угля или сульфоугля и цеолита и подключенные к ним последовательно одну или несколько соединенных между собой параллельно колонок с электродами, где первую половину зазора между стенкой корпуса колонки и первым электродом заполняет слой сорбента из цеолита, далее следует разделительная перегородка в виде сетки из диэлектрического материала, а вторую половину этого зазора заполняет слой сорбента из амфотерных материалов, далее слои указанных сорбентов из цеолита и амфотерных материалов чередуются, начиная с амфотерных материалов, при этом слои между электродами имеют толщину 0,02-0,20 м, а электроды подключены к выпрямителю с постоянным напряжением 5-220 В.
РИСУНКИ
MM4A – Досрочное прекращение действия патента СССР или патента Российской Федерации на изобретение из-за неуплаты в установленный срок пошлины за поддержание патента в силе
Дата прекращения действия патента: 04.11.2007
Извещение опубликовано: 27.06.2009 БИ: 18/2009
NF4A – Восстановление действия патента СССР или патента Российской Федерации на изобретение
Дата, с которой действие патента восстановлено: 27.06.2010
Извещение опубликовано: 27.06.2010 БИ: 18/2010
|
|