|
|
(21), (22) Заявка: 2006138202/14, 31.10.2006
(24) Дата начала отсчета срока действия патента:
31.10.2006
(46) Опубликовано: 27.01.2008
(56) Список документов, цитированных в отчете о поиске:
RU 2212902 C1, 27.09.2003. WO 9716216, 09.05.1997. US 6299581, 09.10.2001. US 6431171, 13.08.2002. РОМАНОВ А.И. Медицина сна, М., Слово, 1998, стр.97-184. SHELLOK F.G. Dinamic MR imaging of the pharyngeal airway in patient with obstructive Sleep apnea: comments on the technique. AJR Am. J. Roentgenol, 1993, 160:2:311-314.
Адрес для переписки:
121359, Москва, ул. Маршала Тимошенко, 21, УНМЦ, патентное бюро, А.Н. Евтухову
|
(72) Автор(ы):
Романов Александр Иванович (RU)
(73) Патентообладатель(и):
Федеральное государственное учреждение “Центр реабилитации” Управления делами Президента Российской Федерации (RU)
|
(54) СПОСОБ ЛЕЧЕНИЯ ХРАПА
(57) Реферат:
Изобретение относится к области медицины, а именно к лечению нарушений сна. Во время сна пациента на электромиограмме регистрируют эпизоды активации подбородочных мышц и после пятого эпизода активации подают удвоенное давление воздуха по сравнению с установленным перед сном. Способ расширяет арсенал средств для лечения храпа. 1 ил.
Предложенное изобретение относится к медицине и может быть использовано при лечении нарушений сна, вызванных синдромом повышенной резистентности верхних дыхательных путей.
В способе-аналоге [1] выполняют полисомнологическое исследование больного, включая регистрацию подбородочной ЭМГ, но без создания сигнала управления лечебным процессом. В качестве прототипа [2] выбран способ лечения апноэ сна (Миронов С.П., Романов А.И., Григорьев А.И. и др.). В прототипе переключение избыточного давления осуществляют при подходе к больному и по субъективным оценкам дежурного медперсонала. При этом нарушается фаза сна, а также исключается объективный процесс автоматизации подачи повышенного давления под маску больного при сильном храпе.
В предложенном изобретении решена задача повышения эффективности лечения путем объективизации состояния спящего больного и бесшумным включением удвоенного давления воздуха под маской во время храпа.
Указанная задача решена тем, что включают селектор импульсов и выполняют селекцию импульсов активации подбородочной ЭМГ, а после пятого эпизода активации автоматически подают под маску больного удвоенное давление в сравнении с установленным перед сном по субъективному ощущению.
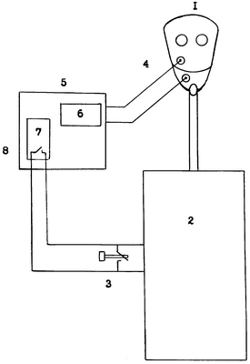
Способ поясняется с помощью чертежа. Под маску 1 больному, как и в прототипе [2], подают воздух под давлением от микропроцессора 2, имеющего контактор 3 для ручного включения подачи удвоенного давления под маску 1 больного. Сигнал от подбородочных ЭМГ – электродов 4 подают на вход блока управления 5, включающего селектор импульсов 6, схема которого может быть спроектирована на базе данных [3], счетчика импульсов 7, опубликованного в [4] со стандартным релейным элементом 8, который включают параллельно контактору 3.
Больного готовят ко сну согласно действий прототипа [2], то есть по субъективным ощущениям устанавливают давление под маской 1. Во время сна наблюдают появление храпа, который сопровождается фиксируемыми на ЭМГ – электродах 4 электрическими импульсами активации подбородочной ЭМГ больного. Включают блок управления 5. Сигнал с электродов 4 через селектор импульсов 6 подают на счетчик 7. Не выполняют дополнительных регулировок и не тревожат сон больного. Автоматически, после пятого, зафиксированного счетчиком 7 эпизода активизации подробной ЭМГ, замыкают релейный элемент 8 и вызывают переключение микрокомпрессора 2 на подачу под маску 1 больного удвоенного давления.
После подачи больному давления удвоенной величины в сравнении с установленным по субъективному ощущению перед засыпанием, наблюдают исчезновение храпа и повышение глубины сна.
К утру проявляется стойкий лечебный эффект и улучшается общее состояние больного, сон которого не потревожен манипуляциями, ранее выполняемыми в прототипе.
Пример 1. Больной С., 42 года, рост 172 см, вес 85 кг. Синдром повышенной резистентности верхних дыхательных путей. Сильно храпит во сне. При лечении по данному способу, перед сном, больному С. закрепляют ЭМГ – электроды 4, одевают маску 1, включают микрокомпрессор 2 и, как в прототипе, по субъективному ощущению устанавливают под маской 1 избыточное давление 3 см вод. ст. Ночью наблюдают тревожный сон больного С., сопровождающийся сильным храпом. Включают блок управления 5 при разомкнутом контакторе 3 ручного управления. Импульсы активации подбородочной ЭМГ от электродов 4 поступает в селектор 6 и от неге в счетчик 7. После наблюдения пяти эпизодов активация подбородочной ЭМГ автоматически замыкают релейный элемент 8, включенный параллельно контактору 3 управления микрокомпрессором 2.
Указанное число – пять эпизодов активации подбородочной ЭМГ найдено авторами опытным путем – соответствует стойко наступившему состоянию сна больного, при котором храп может продолжаться длительное время и требуется терапевтическое воздействие.
Непосредственно больному С., после включения на диапазон удвоенного давления микропроцессора 2, под маску 1 подают давление воздуха, равное 6 см вод. ст. Через 20 мин прекращается храп больного С. и он засыпает глубокий сном. Перед включением лечебной коррекции медперсонал не подходил и не тревожил сон больного. Состояние при утреннем пробуждении – удовлетворительно.
Пример 2. Больной М., 53 лет. Наблюдается плохой сон, храп. Подготовлен ко сну. Давление воздуха под маской 1 равно 2 см вод. ст. Засыпает. Во сне – сильный храп. Включают блок управления 5. После пяти эпизодов активации подбородочной ЭМГ автоматически переключается на более высокий диапазон микрокомпрессор 2. Давление под маской 1 увеличивается в 2 раза и становится равным 4 см вод. ст. Улучшается сон. Через 15 мин исчезает храп. Утром больной М. чувствует себя хорошо.
Предложенный способ позволяет:
1. Достигнуть высокой эффективности лечения нарушений сна, вызванных синдромом повышения резистентности дыхательных путей.
2. Повысить комфортность состояния больного во время сна.
Источники информации
1. Под общей редакцией С.П. Миронова. Организация сомнологического центра. Управление, бюджет, методология. М. – 1977.
2. Патент РФ №2212904. Кл. А61М 16/00.
3. Дорф Р., Бишоп Р. Современные системы управления. М. – 2002.
4. Цифровые и аналоговые микросхемы. Справочник. М. – 1990.
Формула изобретения
Способ лечения храпа, включающий подачу под маску спящего больного избыточного давления воздуха, отличающийся тем, что на электромиорамме регистрируют эпизоды активации подбородочных мышц и после пятого эпизода активации подают удвоенное давление воздуха по сравнению с установленным перед сном.
РИСУНКИ
|
|