|
|
(21), (22) Заявка: 2006118420/12, 26.05.2006
(24) Дата начала отсчета срока действия патента:
26.05.2006
(46) Опубликовано: 27.01.2008
(56) Список документов, цитированных в отчете о поиске:
SU 1793860 A3, 07.02.1993. US 1825558 A, 29.09.1931. US 1825557 A, 29.09.1931. US 2667143 A, 26.01.1954. SU 1358861 A1, 15.12.1987.
Адрес для переписки:
350044, г.Краснодар, ул. Калинина, 13, КГАУ, ПИО
|
(72) Автор(ы):
Игнатенко Яна Александровна (RU), Лабетиков Вадим Михайлович (RU), Комлацкий Василий Иванович (RU)
(73) Патентообладатель(и):
Федеральное государственное образовательное учреждение высшего профессионального образования Кубанский государственный аграрный университет (RU)
|
(54) ФЕРМА ДЛЯ КРОЛИКОВ
(57) Реферат:
Изобретение относится к области любительского и промышленного кролиководства и предназначено для внутреннего содержания и разведения животных. Ферма для кроликов в виде каркаса с крышей содержит установленные поярусно клеточные батареи и навозный канал. Крыша каркаса установлена под углом 20-30° к горизонтали и имеет утеплитель. Батареи клеток расположены продольно относительно каркаса и на расстоянии от него, соизмеримом с шириной клеток. Передняя часть каркаса имеет проем, снабженный подвижными щитами, установленными друг за другом, один из которых выполнен из жесткого материала, причем над и под этим щитом имеются щели. Другой щит выполнен из эластичного материала и короче по длине, закреплен перед щитом из жесткого материала и между ним и крышей имеется щель. Батареи клеток имеют расстояние между собой и полом, соизмеримое с высотой клеток. Щели предназначены для поступления воздуха. Улучшаются условия содержания животных за счет приближения к естественному микроклимату в любой сезон года. 3 ил.
Изобретение относится к области любительского кролиководства и промышленного кролиководства и предназначено для внутреннего содержания и разведения животных.
Известна также клеточная батарея для содержания животных, недостатком которой является неприспособленность к зимнему и летнему открытому содержанию животных.
Известна двухъярусная мини-ферма (свидетельство на полезную модель №38439, А01K 1/02, 2004 год), содержащая подставку, на которой разъемно установлен каркас с крышей, выполненный из двух половин для порядной и разъемной установки верхнего и нижнего ярусов с сетчатыми стенками, сообщенные между собой конусообразные течки, расположенные под ярусами и прикрепленные к их нижним основаниям, причем течка нижнего яруса вставлена в сборник отходов, установленный под подставкой, вытяжную вентиляцию, выполненную в виде трубопровода, сообщающего внутреннюю полость конусообразной течки верхнего яруса с атмосферой, каждый ярус снабжен ионизатором, а на наружных сетчатых стенках ярусов подвижно установлены шторки.
Недостатком данного устройства является то, что животные в этих клетках подвержены сквознякам.
Наиболее близкой по конструкции к заявленной является двухъярусная клетка для кроликов (см. авт. св. СССР №1793860, А01K 1/02, 1993 г.), включающая каркас с крышей, расположенные в нем клетки для маток и гнезда для молодняка, кормушки и поилки, установленные в клетки.
Клетки рассчитаны на наружное содержание животных в щедах, не имеющих стен и состоящих из рядов клеток, накрытых общей крышей.
Техническим решением задачи является улучшение условий содержания животных за счет приближения к естественному микроклимату в любой сезон года.
Поставленная задача достигается тем, что в ферме для кроликов в виде каркаса с крышей, содержащей установленные поярусно клеточные батареи и навозный канал, согласно изобретению, крыша каркаса установлена под углом 20-30° к горизонтали и имеет утеплитель, а батареи клеток расположены продольно относительно каркаса и на расстоянии от него, соизмеримом с шириной клеток, при этом передняя часть каркаса имеет проем, снабженный подвижными щитами, установленными друг за другом, один из которых выполнен из жесткого материала, причем над и под этим щитом имеются щели, а другой щит выполнен из эластичного материала и короче по длине, закреплен перед щитом из жесткого материала и между ним и крышей имеется щель, при этом батареи клеток имеют расстояние между собой и полом, соизмеримое с высотой клеток, а щели предназначены для поступления воздух.
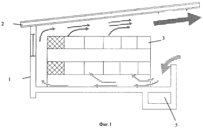
Сущность изобретения поясняется чертежами, где на фиг.1 – поперечное сечение полуоткрытого помещения для клеточных батарей (стрелками представлена схема воздушных потоков в летний период); на фиг.2 – план полуоткрытого помещения (вид сверху); на фиг.3 – поперечное сечение полуоткрытого помещения для клеточных батарей (стрелками представлена схема воздушных потоков в зимний период).
Ферма для кроликов содержит каркас 1 в виде кирпичной кладки с крышей 2. Под крышей 2 установлены продольно зданию батареи клеток 3. Крыша 2 выполнена из волнистых асбоцементных листов или другого кровельного материала с теплоизоляцией, на деревянной обрешетке и уклон кровли составляет 12%, редко 7-16% согласно промышленным стандартам. Пол в помещении выполнен в виде бетонной подготовки с цементной стяжкой без дополнительной теплоизоляции. Передняя часть каркаса, имеющая проем 4, ориентирована на юг. Внутри под проемом расположен навозный канал 5, над которым пол выполнен в виде щелевого перекрытия. В проеме каркаса щит 6 из фанеры или металлического листа в деревянной рамке навешивают вверху на шарнирах, что позволяет полностью или частично закрыть проем в стене каркаса (зимний вариант). Когда проем закрыт полностью, над щитом 6 и под ним должны оставаться щели (вверху – ширина 5-6 см, внизу – небольшая щель) для того, чтобы воздухообмен не прекращался. Перед щитом 6, выполняющим роль вентиляционного клапана у проема для поддержания микроклимата, расположен щит 7 из пленочного материала, подвешенный вертикально на расстоянии 1,8 м от проема (между щитом 6 и крышей 2 оставляют щель в 5-6 см).
Для защиты от ветра и солнца желательна посадка озеленения. Окна расположены на северной стороне. Во всем помещении предусмотрен источник искусственного освещения.
В ферме для кроликов микроклимат создается следующим образом.
Движение воздушных потоков в полуоткрытом помещении определяется по закономерностям гравитационной вентиляции. Траектории потоков приточного и вытяжного отработанного воздуха указаны для летнего и зимнего периода. В летний период воздух может беспрепятственно двигаться в обоих направлениях через открытую часть стены, обмен происходит на основе принципа вытеснения. Зимой и в переходный период воздухообмен ограничивается щитом 6, установленным на расстоянии 1,8 м от проема 4 в стене каркаса, а также тем, что проем 4закрывают с помощью подвесного щита 5.
Даже в полностью закрытом помещении между щитом 6 и крышей 2 остается щель шириной 5-6 см для выпуска отработанного воздуха. Приточный воздух поступает через щель между нижним краем подвесного щита 6 и стеной, а затем под пленочный щит 7. В зимний и переходные периоды вентиляции в открытом помещении работает по принципу приточной вентиляции, как и в случае принудительной вентиляции животноводческих помещений. Толщина стрелок на фиг.1 и 3 указывает количество приточного и вытяжного воздуха, проветривание помещения ухудшается по мере удаления от проема 4.
Физический процесс теплообмена происходит путем конвекции, радиации (лучистого теплообмена) и проведения тепла. Этим последним путем может проходить теплообмен между помещением и наружным воздухом, а также между помещением и граничащим с ним грунтом.
Из всех упомянутых выше технических способов поддержания микроклимата в полуоткрытых помещениях используется только вентиляция и изменение ее уровня. В предлагаемом техническом решении создается естественная вентиляция за счет управления величины поперечного сечения потоков приточного и вытяжного воздуха, что обеспечивает оптимальный микроклимат для содержания кроликов.
Формула изобретения
Ферма для кроликов в виде каркаса с крышей, содержащая установленные поярусно клеточные батареи и навозный канал, отличающаяся тем, что крыша каркаса установлена под углом 20-30° к горизонтали и имеет утеплитель, а батареи клеток расположены продольно относительно каркаса и на расстоянии от него, соизмеримом с шириной клеток, при этом передняя часть каркаса имеет проем, снабженный подвижными щитами, установленными друг за другом, один из которых выполнен из жесткого материала, причем над и под этим щитом имеются щели, а другой щит выполнен из эластичного материала и короче по длине, закреплен перед щитом из жесткого материала и между ним и крышей имеется щель, при этом батареи клеток имеют расстояние между собой и полом, соизмеримое с высотой клеток, а щели предназначены для поступления воздуха.
РИСУНКИ
MM4A – Досрочное прекращение действия патента СССР или патента Российской Федерации на изобретение из-за неуплаты в установленный срок пошлины за поддержание патента в силе
Дата прекращения действия патента: 27.05.2008
Извещение опубликовано: 10.01.2010 БИ: 01/2010
|
|