|
|
(21), (22) Заявка: 2006127226/12, 26.07.2006
(24) Дата начала отсчета срока действия патента:
26.07.2006
(46) Опубликовано: 27.01.2008
(56) Список документов, цитированных в отчете о поиске:
SU 1123583 А, 15.11.1984. SU 759068 А, 10.09.1980. SU 235453 А, 03.06.1969. SU 238928 А, 22.07.1969. RU 2053633 С1, 10.02.1996.
Адрес для переписки:
400059, г.Волгоград, ГСП, ул. Изоляторная, 2, кв.89, А.М. Салдаеву
|
(72) Автор(ы):
Салдаев Александр Макарович (RU), Петров Николай Юрьевич (RU)
(73) Патентообладатель(и):
Федеральное государственное образовательное учреждение высшего профессионального образования “Волгоградская государственная сельскохозяйственная академия” (RU)
|
(54) ВАЛКООБРАЗОВАТЕЛЬ ПЛОДОВ БАХЧЕВЫХ КУЛЬТУР
(57) Реферат:
Изобретение относится к сельскохозяйственному машиностроению, в частности к устройствам для уборки плодов бахчевых культур. Валкообразователь выполнен в виде навешенной впереди трактора рамы, установленной под углом к направлению движения трактора боковины, опирающейся на самоустанавливающееся колесо, и рабочего органа для смещения плодов в боковом направлении. Боковина снабжена плетеотрывными прутками, а рабочий орган для смещения плодов в боковом направлении выполнен в виде снабженного приводом полого вальца, размещенного посредством цапф, подшипниковых опор и кронштейнов впереди боковины. Ведущая цапфа полого вальца кинематически связана с самоустанавливающимся колесом, размещенным сзади боковины, соединенной с рамой шарнирно и снабженной возможностью перевода в транспортное положение. Повышается производительность и качество уборки. 9 з.п. ф-лы, 5 ил.
Изобретение относится к сельскохозяйственному машиностроению, в частности к бахчеуборочной технике для формирования в валки плодов бахчевых культур для последующей раздельной выборки товарных плодов и некондиции.
Известен подборщик корнеплодов, содержащий раму, несущую кулачковый питатель и связанные с механизмом привода грабельный захват и боковые погребающие щитки с нижними рабочими кромками, в котором, с целью повышения эффективности работы подборщика, каждый из боковых подгребающих щитков снабжен двумя установленными в его нижней зоне шнеками, имеющими встречное направление вращения и расположенными параллельно нижней кромке щитка (SU, авторское свидетельство №1240383 А1, кл. А01D 51/00, 30.06.1986, Бюл. №24).
К недостаткам описанного подборщика применительно к решаемой нами технической проблеме – образование валка из хаотически размещенных на поверхности бахчевого поля плодов для последующей механизированной уборки – относятся как механическое повреждение плодов витками приводных шнеков (их острыми кромками), так и несогласованность окружных и поступательной скоростей движения подборщика.
Более привлекательным с точки зрения получения целых плодов при образовании валков является валкообразователь плодов бахчевых культур, содержащий транспортное средство, угловую раму с шарнирно прикрепленными к ней секциями рабочих органов, выполненных в виде косо поставленных плодосвигающих планок, связанных с опорными катками, установленными сзади плодосдвигающих планок, плодосвигающее устройство, установленное перед передними колесами транспортного средства, в котором валкообразователь снабжен прикатывающим катком, симметрично расположенным относительно осевой линии транспортного средства и шарнирно закрепленным на угловой раме, а плодосдвигающее устройство, установленное перед передними колесами транспортного средства, выполнено в виде прямого клина; прикатывающий каток установлен за транспортным средством и подпружинен относительно угловой рамы (RU, патент №2111643 С1, М.кл. А01D 45/00, 27.05.1998).
К недостаткам описанного валкообразователя относятся высокая материалоемкость конструкции (более 550 кг на 1 метр ширины захвата), сложность конструкции, высокая повреждаемость плодов и низкая производительность, несмотря на наличие секции рабочих органов (3), сдвигаемые плоды заклиниваются ими в понижениях рельефа местности, а плоды травмируются. Многократные боковые перемещения плодов приводят к потере товарного вида плодов даже для толстокорых сортов.
Заслуживает внимание валкообразователь плодов бахчевых культур, содержащий навешенный на движитель рабочий орган треугольной формы, в котором боковины рабочего органа выполнены по дуге, причем нижняя часть дуги смещена вперед относительно ее верхней части (RU, патент №2112351 С1, М.кл. А01D 51/00, 10.06.1998).
К недостаткам описанного валкообразователя, несмотря на его простоту конструкции и низкую материалоемкость (не более 320 кг на 1 метр ширины захвата), относятся ограниченные возможности при транспортных переездах с поля на поле и высокая степень травмирования товарных плодов и некондиции. Это вызвано тем, что при западании плодов в локальные понижения каждый плод в понижении смещается и вдавливается, а не перекатывается.
Наиболее близким аналогом к заявленному объекту относится валкообразователь плодов бахчевых культур, выполненный в виде навешенного впереди трактора угольника, в котором, с целью уменьшения травмирования плодов и предотвращения попадания мелких из них под боковины угольника, рабочая поверхность боковин угольника обхвачена бесконечными ветвями ленточных транспортеров, движущихся в направлении, противоположном движению трактора, а к нижней части боковин прикреплены качающиеся эластичные пальцы (SU, авторское свидетельство №235453, М.кл. А01D 45/00, А01D 51/00, 16.01.1969).
К недостаткам описанного валкообразователя плодов относятся высокая степень травмирования плодов эластичными пальцами (3) и за счет взаимного соударения плодов на ветвях ленточных транспортеров (2). Отсутствие привода ленточных транспортеров (2) ограничивает производительность валкообразователя.
Сущность заявленного изобретения.
Задача, на решение которой направлено заявленное изобретение, – исключение травмирования плодов бахчевых культур при образовании валков для последующей машинной уборки.
Технический результат – повышение производительности и качества уборки на бахчевом поле.
Указанный технический результат достигается тем, что в известном валкообразователе плодов бахчевых культур, содержащем навешенную спереди трактора раму, установленную под углом к направлению движения трактора и опирающуюся на самоустанавливающееся колесо боковину, и рабочий орган для смещения плодов в боковом направлении, согласно изобретению боковина снабжена плетеотрывными прутками, а рабочий орган для смещения плодов в боковом направлении выполнен в виде снабженного приводом полого вальца, размещенного посредством цапф, подшипниковых опор и кронштейнов впереди боковины, при этом ведущая цапфа полого вальца кинематически связана с самоустанавливающимся колесом, размещенным сзади боковины, соединенной с рамой шарнирно и снабженной возможностью перевода в транспортное положение; плетеотрывные прутки размещены на боковине с шагом 0,75-1,25 м; каждый плетеотрывной пруток образован стержнем круглого сечения диаметром 12…20 мм и на боковине смонтирован с возможностью свободного поворота вокруг вертикальной оси и смещения вдоль нее; плетеотрывной пруток имеет фронтальный, рабочий и задний участки; рама имеет П-образную форму и смонтирована с возможностью демонтажа на лонжеронах трактора; удаленный от шарниров рамы конец боковины снабжен Э-образным упругим элементом для отвода плодов; кинематическая цепь привода полого вальца образована первым цепным контуром, размещенным на звездочках, установленных на валу самоустанавливающегося колеса и на приемном валу нижнего конического редуктора, коническими шестернями нижнего конического редуктора, смонтированного на вилке самоустанавливающегося колеса, вертикально установленного в полости втулки вилки самоустанавливающегося колеса полого шлицевого вала, соединяющего выходной вал нижнего конического редуктора и приемный вал верхнего конического редуктора, коническими шестернями верхнего конического редуктора, карданным валом с шарнирами Гука на концах и вторым цепным контуром, размещенным на звездочках, установленных на ведущей цапфе полого вальца и ведомом промежуточном вале; рабочий орган для смещения плодов в боковом направлении выполнен в виде последовательно установленных на боковине полых вальцов, взаимно соединенных ведомой и ведущей цапфами и размещенных ими в подшипниковых опорах в кронштейнах боковины, при этом в месте сопряжения ведущей и ведомой цапф размещена звездочка для их привода; на торцах полых вальцов смонтированы щитки из эластичного материала; привод рабочего органа выполнен в виде кинематической цепи, образованной первым цепным контуром, размещенным на звездочках, установленных на валу самоустанавливающегося колеса и на приемном валу нижнего конического редуктора, коническими шестернями нижнего конического редуктора, смонтированного на вилке самоустанавливающегося колеса, вертикально установленного в полости втулки вилки самоустанавливающегося колеса полого шлицевого вала, соединяющего выходной вал нижнего конического редуктора и приемный вал верхнего конического редуктора, и коническими шестернями верхнего конического редуктора и вторым цепным контуром, установленным на звездочках, смонтированных на конце выходного вала верхнего конического редуктора и ведущей цапфе полого вальца.
Изобретение поясняется чертежами.
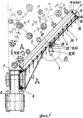
На фиг.1 показан валкообразователь плодов бахчевых культур при выполнении технологического процесса – формирование валка из плодов, вид в плане.
На фиг.2 показан вариант конструктивного исполнения рабочего органа для смещения плодов в боковом направлении при образовании валка из последовательно установленных на боковине полых вальцов и снабженных приводом вращения от самоустанавливающегося опорного колеса, вид в плане.
На фиг.3 – сечение А-А на фиг.1, последовательное размещение полого вальца на боковине в качестве рабочего органа для смещения плодов в боковом направлении и плетеотрывного прутка для удержания плетей в неподвижном состоянии при отделении плодоножки от плода, продольно-вертикальный разрез при выполнении технологического процесса.
На фиг.4 – место Б на фиг.1, самоустанавливающееся колесо с первым и вторым цепными контурами для привода полых вальцов и соосно смонтированные верхний и нижний конические редукторы в качестве звеньев кинематической цепи.
На фиг.5 – сечение В-В на фиг.4, вертикальный разрез конических редукторов, втулки вилки самоустанавливающегося колеса, полого шлицевого вала и валов верхнего и нижнего конического редукторов в кинематической цепи привода полого вальца в качестве плодосдвигающего рабочего органа.
Валкообразователь плодов бахчевых культур (см. фиг.1) содержит раму 1, установленную под углом к направлению движения трактора 2 и опирающуюся на самоустанавливающееся колесо 3 боковину 4, и рабочий орган 5 для смещения плодов в боковом направлении. Валкообразователь выполнен сменным навесным модулем к колесному трактору 2 класса тяги 1, 4. Рама 1 валкообразователя имеет П-образную форму и смонтирована с возможностью демонтажа на лонжеронах трактора 2 посредством средств крепления. Боковина 4 с рамой 1 соединена соосными шарнирами 6. Боковина 4 снабжена возможностью перевода в транспортное положение в продольно-вертикальную плоскость, параллельную продольной плоскости симметрии трактора 2. Боковина 4 (см. фиг.1, 2 и 3) снабжена плетеотрывными прутками 7. Плетеотрывные прутки 7 размещены на боковине 4 с шагом 0,75-1,25 м. Каждый плетеотрывной пруток 7 образован стальным углеродистым стержнем круглого сечения диаметром 12-20 мм. Каждый пруток 7 на боковине 4 смонтирован с возможностью свободного углового перемещения (поворота) вокруг вертикальной оси и вертикального смещения вдоль нее (см. фиг.3). Для этого в боковине 4 вварены втулки 8. В каждой втулке 8 размещена пара подшипников 9 скольжения. На резьбовом конце 10 прутка 7 размещены гайки. Плетеотрывной пруток 7 имеет фронтальный криволинейный участок 11, рабочий прямолинейный участок 12 и задний загнутый участок 13. Описанная конфигурация плетеотрывного прутка 7 обеспечивает прижим плети в верхний слой почвы, ее удержание в зажатом состоянии и перемещение прутка 7 без нависания плетей и налипания почвы.
Рабочий орган 5 для смещения плодов в боковом направлении выполнен в виде полого вальца. Валец образован цилиндром диаметром 240-320 мм. Толщина стенки 2,0-2,8 мм. Материал цилиндра – сталь или дюралюминий. Направление вращения полого вальца при взаимодействии с плодом – против движения агрегата, снизу с поверхности почвы – вверх. Полый валец размещен посредством ведущей цапфы 14, ведомой цапфы 15, подшипниковых опор 16 и кронштейнов 17 впереди боковины 4. Ведущая цапфа 14 полого вальца кинематически связана с самоустанавливающимся колесом 3. Самоустанавливающееся колесо 3 размещено сзади боковины 4 с возможностью переустановки по высоте для изменения зазора “h” между вальцом и поверхностью поля (см. фиг.3). Окружная скорость полого вальца определяется расчетом: Vокр= 1D/2, где 1 – угловая скорость вращения полого вальца, с-1; D – диаметр полого вальца, м. Окружная скорость полого вальца (Vокр) больше поступательной скорости агрегата (Vn) в 1,5-2,5 раза. Это позволяет каждому сдвигаемому плоду в боковом направлении придать вращение с угловой скоростью 2 вокруг ее вертикальной оси и смещать плод в боковом направлении со скоростью V не толкая, не сдвигая или вдавливая, а качением плода перемещать его вдоль полого вальца со скоростью Vотн (см. фиг.2). При этом абсолютная величина этой скорости Vотн больше поступательной скорости Vn трактора 2.
Удаленный конец боковины 4 от шарниров 6 рамы 1 снабжен Э-образным упругим элементом 18. Упругим элементом 18 плоды отводятся от острой кромки полого цилиндра и узлов его привода. Упругий элемент 18 средствами крепления 19 закреплен на правом кронштейне 17 боковины 4 (см. фиг.1 и 2).
Рабочий орган 5 смещения плодов в боковом направлении снабжен приводом вращения. Ведущая цапфа 14 полого вальца кинематически связана с самоустанавливающимся колесом 3. Кинематическая цепь привода полого вальца образована первым цепням контуром 20, коническими шестернями 21 и 22 нижнего конического редуктора 23, полым шлицевым валом 24, коническими шестернями 25 и 26 верхнего конического редуктора 27, карданным валом 28 с шарнирами Гука 29 и 30 на концах и вторым цепным контуром 31.
Самоустанавливающееся колесо 3 размещено на валу 32. Вал 32 посредством подшипниковых опор 33 размещен в вилке 34 (см. фиг.4). Вилка 34 сварными швами соединена с подвижной втулкой 35 (см. фиг.5). Подвижная втулка 35 размещена с возможностью поворота во втулке 36. Втулка 36 сварными швами соединена с кронштейном 37. Кронштейн 37 на боковине 4 размещен с возможностью перестановки по высоте для изменения зазора h между полым вальцом рабочего органа 5 и поверхностью поля (см. фиг.3). На конце вала 32 размещена ведущая звездочка 38 первого цепного контура 20 (втулочно-роликовая цепь с шагом 25,4 мм). Ведомая звездочка 39 первого цепного контура 20 (см. фиг.4 и 5) размещена на ведущем валу 40 нижнего конического редуктора 23. Нижний конический редуктор 23 средствами крепления смонтирован на торце подвижной втулки 35 (см. фиг.5). От ведущего вала 40 через пару конических шестерен 21 и 22 получает вращение вертикальный вал 41 нижнего конического редуктора 23. Его шлицевой хвостовик связан с вертикально установленным полым шлицевым валом 24. Полый шлицевой вал 24 сопряжен со шлицами ведущего вала 42 верхнего конического редуктора 27. Вал 42 посредством шестерен 25 и 26 связан с ведомым валом 43 верхнего конического редуктора 27. Корпус верхнего конического редуктора 27 средствами крепления закреплен на торце втулки 36, соединенной сварными швами с кронштейном 37.
Осевое перемещение подвижной втулки 35 ограничено штифтами 44, размещенными в паре отверстий во втулке 36 (см. фиг.5).
На выходном конце ведомого вала 43 размещен шарнир Гука 29, соединяющий карданным валом 28 другой шарнир Гука 30. Шарнир Гука 30 и карданный вал 28 соединяют с ведомым валом 45 второго цепного контура 31. Ведущая звездочка 46 размещена на ведомом валу 45. Ведомая звездочка 47 зафиксирована клиновой шпонкой на ведущей цапфе 14 полого вальца рабочего органа 5.
Рабочий орган 5 (см. фиг.2) для смещения плодов в боковом направлении может быть выполнен в виде последовательно установленных на боковине 4 полых вальцов 48 и 49 (см. фиг.2). Полые вальцы 48 и 49 взаимно соединены ведущими цапфами 14. На ведущей цапфе 14 полого вальца 48 размещена ведомая звездочка 47. Полые вальцы 48 и 49 размещены ведомыми цапфами 15 в подшипниковых опорах 16 и кронштейнах 17 боковины 4. Ведомая звездочка 47 размещена в месте сопряжения ведущих цапф 14 полых вальцов 48 и 49. На торцах полых вальцов 48 и 49 смонтированы щитки 50 из эластичного материала для отвода сдвигаемых плодов.
Привод рабочего органа 5 выполнен в виде кинематической цепи. Кинематическая цепь во втором варианте конструктивного исполнения рабочего органа 5 образована первым цепным контуром 20, шестернями 21 и 22 нижнего конического редуктора 23, полым шлицевым валом 24, шестернями 25 и 26 верхнего конического редуктора 27 и вторым цепным контуром 31.
Первый цепной контур 20 образован звездочками 38 и 39, размещенными на валах 32 и 40 самоустанавливающегося колеса 3 и на приемном валу 40 нижнего конического редуктора 23. Нижний конический редуктор 23 смонтирован на вилке 34 самоустанавливающегося колеса 3. Втулка 35 вилки 34 самоустанавливающегося колеса 3 размещена в полости втулки 36, размещенной в кронштейне 37. Ведущий 41 и ведомый 42 валы нижнего 23 и верхнего 27 конических редукторов и шлицевой полый вал 24 выполнены соосно втулкам 35 и 36. Полый шлицевой вал 24 соединен с выходным валом 41 нижнего конического редуктора 23 и приемным валом 42 верхнего конического редуктора 27. Второй цепной контур 31 установлен на звездочках 46 и 47, смонтированными на конце выходного вала 43 верхнего конического редуктора 27 и ведущей цапфе 14 полого вальца 48 рабочего органа 5.
Валкообразователь плодов бахчевых культур работает следующим образом.
На краю бахчевого поля гидроприводом боковину 4 с рабочим органом 5, опорным самоустанавливающимся колесом 3 и плетеотрывными прутками 7 приводят в рабочее положение. Включают рабочую передачу трактора 2. Силовой гидроцилиндр гидропривода боковины 4 приводят в плавающее положение. В этом случае копирование рельефа поля боковиной 4 с установленным рабочим органом 5 производится правым передним колесом трактора 2 и самоустанавливающимся колесом 3. Самоустанавливающее колесо 3, кроме функций привода рабочего органа 5, исключает чрезмерное давление плетеотрывных прутков 7 на плети.
При движении трактора 2 по краю бахчевого поля рама 1 через шарниры 6 толкает вперед боковину 4. При перекатывании самоустанавливающего опорного колеса 3 по поверхности бахчевого поля за счет сил сцепления его обода с почвой вал 32 получает привод вращения и передает крутящий момент на ведущую звездочку 38 первого цепного контура 20. Втулочно-роликовой цепью контура 20 приводится в движение ведущий вал 40 со звездочкой 39. Шестернями 21 и 22 крутящий момент передается на полый шлицевой вал 24 без разрыва потока мощности при повороте колеса 3 вместе с вилкой 34 и втулкой 35. Полым шлицевым валом 24 приводятся в движение шестерни 25 и 26 и вал 43. От вала 43 получает вращение карданный вал 28 и ведущий вал 45 со звездочкой 46 второго цепного контура 31. При вращение ведущей цапфы 14 рабочего органа 5 он перемещается снизу от поверхности поля в верх. При встрече плода с поверхностью полого вальца, ему придается вращение. Плод выкатывается из локального понижения на поверхности поля и одновременно качением сдвигается в боковом направлении. Плоды сдвигаются за внутренний срез правого колеса трактора 2. Далее трактор 2 методом седлания движется над валком плодов. При движении боковины 4 над поверхностью поля плетеотрывные прутки 7 наезжают фронтальным участком 11 на плеть, рабочим участком 12 удерживают плеть. При перемещении рабочего органа 5 (см. фиг.3) рабочим участком 12 прутка 7 плети удерживаются в неподвижном положении. Натяжение плетей приводит к отрыву плодоножки от плода. В дальнейшем плод без плетей катится свободно по поверхности бахчевого поля, обеспечивая этим чистоту собираемых плодов.
Таким образом, валкообразователем на высокой скорости производится формирование валка из плодов бахчевых культур при сохранности товарного вида и неповреждения некондиционных плодов.
Формула изобретения
1. Валкообразователь плодов бахчевых культур, выполненный в виде навешенной впереди трактора рамы, установленной под углом к направлению движения трактора боковины, и опирающейся на самоустанавливающееся колесо и рабочего органа для смещения плодов в боковом направлении, отличающийся тем, что боковина снабжена плетеотрывными прутками, а рабочий орган для смещения плодов в боковом направлении выполнен в виде снабженного приводом полого вальца, размещенного посредством цапф, подшипниковых опор и кронштейнов впереди боковины, при этом ведущая цапфа полого вальца кинематически связана с самоустанавливающимся колесом, размещенным сзади боковины, соединенной с рамой шарнирно и снабженной возможностью перевода в транспортное положение.
2. Валкообразователь по п.1, отличающийся тем, что плетеотрывные прутки размещены на боковине с шагом 0,75-1,25 м.
3. Валкообразователь по п.1, отличающийся тем, что каждый плетеотрывной пруток образован стержнем круглого сечения диаметром 12-20 мм и на боковине смонтирован с возможностью свободного поворота вокруг вертикальной оси и смещения вдоль нее.
4. Валкообразователь по п.1, отличающийся тем, что плетеотрывной пруток имеет фронтальный, рабочий и задний участки.
5. Валкообразователь по п.1, отличающийся тем, что рама имеет П-образную форму и смонтирована с возможностью демонтажа на лонжеронах трактора.
6. Валкообразователь по п.1, отличающийся тем, что удаленный от шарниров рамы конец боковины снабжен Э-образным упругим элементом для отвода плодов.
7. Валкообразователь по п.1, отличающийся тем, что кинематическая цепь привода полого вальца образована первым цепным контуром, размещенным на звездочках, установленных на валу самоустанавливающегося колеса и на приемном валу нижнего конического редуктора, коническими шестернями нижнего конического редуктора, смонтированного на вилке самоустанавливающегося колеса, вертикально установленного в полости втулки вилки самоустанавливающегося колеса полого шлицевого вала, соединяющего выходной вал нижнего конического редуктора и приемный вал верхнего конического редуктора, коническими шестернями верхнего конического редуктора, карданным валом с шарнирами Гука на концах и вторым цепным контуром, размещенным на звездочках, установленных на ведущей цапфе полого вальца и ведомом промежуточном вале.
8. Валкообразователь по п.1, отличающийся тем, что рабочий орган для смещения плодов в боковом направлении выполнен в виде последовательно установленных на боковине полых вальцов, взаимно соединенных ведомой и ведущей цапфами и размещенных ими в подшипниковых опорах в кронштейнах боковины, при этом в месте сопряжения ведущей и ведомой цапф размещена звездочка для их привода.
9. Валкообразователь по п.8, отличающийся тем, что на торцах полых вальцев смонтированы щитки из эластичного материала.
10. Валкообразователь по п.8, отличающийся тем, что привод рабочего органа выполнен в виде кинематической цепи, образованного первым цепным контуром, размещенным на звездочках, установленных на валу самоустанавливающегося колеса и на приемном валу нижнего конического редуктора, коническими шестернями нижнего конического редуктора, смонтированного на вилке самоустанавливающегося колеса, вертикально установленного в полости втулки вилки самоустанавливающегося колеса полого шлицевого вала, соединяющего выходной вал нижнего конического редуктора и приемный вал верхнего конического редуктора, коническими шестернями верхнего конического редуктора и вторым цепным контуром, установленным на звездочках, смонтированных на конце выходного вала верхнего конического редуктора и ведущей цапфе полого вальца.
РИСУНКИ
MM4A – Досрочное прекращение действия патента СССР или патента Российской Федерации на изобретение из-за неуплаты в установленный срок пошлины за поддержание патента в силе
Дата прекращения действия патента: 27.07.2008
Извещение опубликовано: 20.03.2010 БИ: 08/2010
|
|