|
(21), (22) Заявка: 2006116427/12, 12.05.2006
(24) Дата начала отсчета срока действия патента:
12.05.2006
(46) Опубликовано: 27.01.2008
(56) Список документов, цитированных в отчете о поиске:
RU 2233048 C1, 27.07.2004. RU 2171020 C1, 27.07.2001. RU 2275772 C1, 10.05.2006. US 5120098 A, 09.06.1992.
Адрес для переписки:
197341, Санкт-Петербург, пр. Королева, 19, кв.42, Л.Ф. Пискуну
|
(72) Автор(ы):
Пискун Леонид Филиппович (RU)
(73) Патентообладатель(и):
Пискун Леонид Филиппович (RU)
|
(54) РУЧНОЕ ОРУДИЕ
(57) Реферат:
Ручное орудие содержит сменные полотна лопаты или вил с упорами для ноги, кронштейн и деревянный черенок. Черенок выполнен цилиндрической формы, а кронштейн – в виде изогнутой трубы с вертикальной и горизонтальной частями. Черенок установлен и закреплен в вертикальной части трубы. Конец горизонтальной части трубы надрезан и развернут в виде фланца для винтового крепления сменных полотен. Кронштейн и полотна выполнены из углеродистой стали. Конструкция ручного орудия исключает дорогостоящие сварные соединения, что позволит использовать принцип многофункциональности орудия: лопата, вилы, траворезка и другие режущие элементы. Исключение неразъемных соединений упрощает разборку и позволяет формировать элементы устройства в траспортные пакеты. 4 ил.
Изобретение предназначено для выполнения различных тяжелых земляных работ а саду и огороде /подъем целины, очистка канав, строительные работы/ в археологических раскопках и геологических партиях.
Известна специальная лопата (US патент № 5120098, кл. А 01 В 1/02, 1992 г.), которая содержит полотно, кронштейн, тулейку и черенок. Полотно, кронштейн и тулейка изготовлены из единой листовой заготовки. Кронштейн имеет коробчатую жесткую форму и выполняет опорную функцию при подъеме пласта. Черенок изогнут вперед и имеет переменную форму. Нижняя часть черенка имеет прямоугольную форму, которая переходит в круглую. Прямоугольная форма черенка увеличивает момент сопротивления черенка и служит мощным рычагом для отрыва пласта.
Однако известная конструкция орудия может быть использована только на тяжелых почвах и на специальных работах.
Известен изогнутый в средней части черенок, используемый для лопаты и для вил, изобретенный дизайнерами шведской фирмы “Норбергс Редскап” и советскими новаторами (см. журнал “Наука и жизнь” №7 и №11, 1989 г., в рубрике “На садовом участке”).
Согласно рекомендациям эргономической биомеханики такие черенки позволяют работать не только мышцами рук, но и более мощными мышцами ног и спины. Однако центральное положение черенка не позволяет приложить осевое усилие ноги при заглублении полотна и тем самым нарушает известное правило рычага: “рычаг находится в равновесии, когда действующие на него силы обратно пропорциональны плечам”. (см. Кикоин И.К. и Кикоин А.К. Физика. Учебное пособие для 8 класса средней школы. М., Изд-во “Просвещение”. 1971., с.174-175, рис.150).
Нарушение правила рычага вызывает потери мышечных усилий на черенке при заглублении полотна лопаты в грунт величиной 2-4 кгс на каждом цикле. Замеры были получены с помощью простейших пружинных весов. Опытным путей было установлено, что на 1 м2 поля необходимо сделать примерно 75 циклов. Следовательно, потери мышечных усилий для работающего на первой операции на 1 м2 поля в зависимости от характера почвы (легкая, тяжелая) будут равны 150…300 кгс.
Известно ручное орудие (RU заявка №2004135705 от 06.12.2004 г.), содержащее полотно лопаты или вил с упорами для ноги, черенок выполнен в виде цилиндрической трубы, которая изогнута с возможностью опоры на ее отогнутую часть ногой и жестко закреплена к полотну, причем черенок и полотна выполнены из нержавеющей стали.
Однако высокая теплопроводность черенка и его большой вес снижают качественные характеристики ручного орудия. Указанное ручное орудие по большинству сходных признаков является прототипом предложенного устройства. В последние пять лет использование известной лопаты (RU патент № 2119732) позволили овладеть искусством рыхления почвы. Например, при перекопке почвы садового участка “плугом”, который применяется при осенней перекопке земли крупными пластами без их оборота, по хронометражу, достигала за час 100 м2. В то время как обычной лопатой можно вскопать за час работы только 10,2 м2. Кроме того, коленчатая конструкция лопаты в стесненных условиях (например, в саду под кроной деревьев и кустов) позволяет работать лопатой сидя на садовой скамеечке, прикладывая усилие.
Ноги под прямым углом к кронштейну.
Однако попытки расширить сферу использования перекопочной садово-огородной лопаты (Лопата А.Л.Пискуна, патент RU №2233048) потерпели неудачу. Например, при перебрасывании смеси гравия с песком кронштейн лопаты не выдерживает действующих боковых нагрузок и требует усиления прочности коленчатой части лопаты.
При перекопке садовых участков с разными почвами (тяжелыми, легкими) в паре с лопатой часто используются вилы. Вилы также применяются при уборке картофеля, моркови и свеклы, поэтому по характеру сходства работ логично в комплекте использовать два однородных предмета: лопата и вилы.
В задачу изобретения входит снижение трудоемкости изготовления орудия, снижение веса и теплопроводности черенка, исключение неразъемных соединений и использование многофункциональности орудия при минимальном наборе предметов.
Существенными признаками изобретения являются:
– деревянный черенок (например, 40 мм, длиной 1100 мм) цилиндрической формы по всей длине;
– укороченная длина трубного кронштейна (например, 330 мм), загнутого под углом 90°, достаточного для размещения подошвы мужской обуви и свободного сгибания ноги в колене при заглублении полотен в почву;
– разъемное винтовое соединение полотен лопаты и вил и трубного кронштейна;
– использование углеродистой стали;
– исключение жестких креплений элементов орудия.
Технический результат от использования устройства:
– простой способ изготовления, сборки и разборки конструкции;
– возможность транспортировки орудия в разобранном виде;
– исключение дорогостоящих сварных соединений;
– максимальное использование унифицированных и стандартных элементов орудия (трубный кронштейн, винты, черенок) с учетом пригодности как для лопаты, так и для вил. У вил образована площадка-упор для ноги, что обеспечивает перекопку почвы вилами.
– использование углеродистой стали существенно снижает стоимости устройства;
– отогнутые упоры для ног создают синтез совковой и штыковой лопаты, позволяют подрезать сорную растительность в зоне легкой досягаемости моторного поля работающим (см. ГОСТ 22269-76 п.2.1);
– деревянный черенок по сравнению с железным черенком исключает быструю передачу тепла от рук работающего. Коэффициент теплопроводности, например, дуба вдоль волокон в 175 раз ниже, чем железа (см. Кошкин Н.И. и Ширкевич М.Г. Справочник по элементарной физике, М., Гос. издательство физико-математической литературы, 1962, с.68, табл. 46).
Достигается это тем, что в ручном орудии, содержащем сменные полотна лопаты или вил с упорами для ноги, кронштейн и деревянный черенок, согласно изобретению черенок выполнен цилиндрической формы, а кронштейн – в виде изогнутой трубы с вертикальной и горизонтальной частями, причем черенок установлен и закреплен в вертикальной части трубы, а конец горизонтальной части трубы надрезан и развернут в виде фланца для винтового крепления сменных полотен, причем кронштейн и полотна выполнены из углеродистой стали.
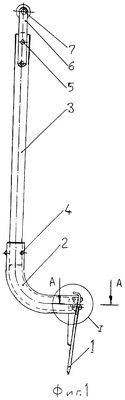
На фиг.1 изображена лопата, вид сбоку; на фиг.2 – то же, вид спереди; на фиг.3 показан узел крепления трубного кронштейна к полотну лопаты; на фиг.4 показано полотно вил с отверстиями для винтового крепления к трубному кронштейну.
Лопата (фиг.1, 2) состоит из полотна 1, например, типа лопаты копательной без тулейки, у которой упоры для ног отогнуты наверх подобно совковой лопате. Полотно лопаты выполнено из углеродистой стали. К полотну 1 под углом 10° (как у садово-огородных лопат) винтовым креплением (фиг.3) закреплен трубчатый кронштейн 2 в виде изогнутой трубы с вертикальной и горизонтальной частями (например, диаметром 40×1,5 мм). Кронштейн выполнен из углеродистой стали. Нижняя горизонтальная часть трубы длиной примерно 180 мм обеспечивает достаточное пространство для размещения мужской подошвы обуви и свободного сгибания ноги в колене при заглублении полотна 1 в почву. В верхнюю часть трубчатого кронштейна 2 плотно входит деревянный черенок 3 и фиксируется тремя шурупами 4. На верхней части черенка 3 двумя винтами 5 закреплены две скобы 6. На скобах 6 с помощью гладкого цилиндрического стержня 7 и винта 8 крепится вращающаяся деревянная ручка 9.
Учитывая, что тяжелые земляные работы выполняются мужчинами, диаметр ручки 9 принят, равный диаметру черенка 40 мм длиной 130 мм. Покупной (по ГОСТ 19596-87) черенок, например, длиной 1100 мм делится по модульному принципу. Если длину ручки принять за единицу, то длина черенка будет равна 910 мм 1_7= 130:910 мм.
Переоборудование лопаты 1 в вилы осуществляется только заменой полотна 1 на полотно вил 10 винтовым креплением (фиг.3, 4) винтами 11.
Для интенсивной работы вилами, например, на легких почвах можно использовать более широкое полотно вил 10 с 4-мя или 5-ю зубьями, изготовленное из углеродистой стали.
Процесс работы с лопатой (вилами), например, на садово-огородных работах.
Перед использованием лопаты (вил) подбирается длина черенка по росту конкретного человека. Верхняя часть трубчатого кронштейна 2 фиксирует тремя шурупами 4 черенок 3 и позволяет легко менять черенок для каждого пользователя. По законам эргономической биомеханики длина черенка с учетом роста конкретного человека должна находится в оптимальной зоне на высоте от плечевой до локтевой точки или на высоте 910… 1590 мм (см. Аруин А.С. и Зациорский В.М. Эргономическая биомеханика, М., Машиностроение, 1989, с. 142).
Устанавливается полотно лопаты 1 под удобным углом наклона 10-12° к вертикали. При этом черенок 3 ставится вертикально, что снижает величину наклона туловища или глубину приседаний работающего (если работать по известной технологии перекопки с подъемом пласта лопатой). После этого правую ногу устанавливают по осевой линии черенка 3 и, наступив подошвой на полотно лопаты 1 и нижнюю горизонтальную часть трубчатого кронштейна 2, заглубляют полотно в грунт. При движении ручки 9 к себе отрывается пласт от монолита. При отрыве пласта ручка проворачивается на стержне 7. Затем перемещают ручку 9 в сторону и с ее помощью полотно 1 с отделенным пластом поворачивают набок и производят возврат полотна 1 и ручки 9 в исходное положение. Так как это не требует выполнена самой тяжелой операции-подъема пласта, то значительно облегчается труд, что позволяет выполнять все операции, держась прямо без наклонов и приседаний, не провоцируя развитие поясничного болевого синдрома /радикулиты, ишиасы и др. (см. Аруин А.С. и Зациорский В.М. Эргономическая биомеханика, М., Машиностроение, 1989, с.99…110).
Кроме того, такой лопатой удобно и легко копать ямки, чистить оросительные канавы и уплотнять боковые части грядок.
Формула изобретения
Ручное орудие, содержащее сменные полотна лопаты или вил с упорами для ноги, кронштейн и деревянный черенок, отличающееся тем, что черенок выполнен цилиндрической формы, а кронштейн – в виде изогнутой трубы с вертикальной и горизонтальной частями, причем черенок установлен и закреплен в вертикальной части трубы, а конец горизонтальной части трубы надрезан и развернут в виде фланца для винтового крепления сменных полотен, причем кронштейн и полотна выполнены из углеродистой стали.
РИСУНКИ
|