|
|
(21), (22) Заявка: 2004124059/09, 07.01.2003
(24) Дата начала отсчета срока действия патента:
07.01.2003
(30) Конвенционный приоритет:
10.12.2002 US 10/316,780
(43) Дата публикации заявки: 27.01.2006
(46) Опубликовано: 20.01.2008
(56) Список документов, цитированных в отчете о поиске:
US 5210632 А, 11.05.1993. RU 2126165 C1, 10.02.1999. RU 2100904 C1, 27.12.1997. ЕР 0935356 А, 11.08.1999.
(85) Дата перевода заявки PCT на национальную фазу:
09.08.2004
(86) Заявка PCT:
US 03/00495 (07.01.2003)
(87) Публикация PCT:
WO 03/061202 (24.07.2003)
Адрес для переписки:
129010, Москва, ул. Б. Спасская, 25, стр.3, ООО “Юридическая фирма Городисский и Партнеры”, пат.пов. Ю.Д.Кузнецову, рег.№ 595
|
(72) Автор(ы):
БЕЙКЕР Кеннет Р. (US), БАТЛЕР Брайан К. (US), УИТЛИ Чарльз Э. III (US)
(73) Патентообладатель(и):
КВЭЛКОММ ИНКОРПОРЕЙТЕД (US)
|
(54) СПОСОБ ИДЕНТИФИКАЦИИ И ТЕКУЩЕГО КОНТРОЛЯ ТРАФИКА ПОВТОРИТЕЛЯ В СИСТЕМЕ С МНОЖЕСТВЕННЫМ ДОСТУПОМ И КОДОВЫМ РАЗДЕЛЕНИЕМ КАНАЛОВ И СИСТЕМА ДЛЯ ЕГО ОСУЩЕСТВЛЕНИЯ
(57) Реферат:
Предлагается устройство и способ для отличия удаленных сообщений, переданных через повторитель, от удаленных сообщений, не переданных через повторитель. Способ заключается в том, что принимают множество передач сигнала, исходящих от множества удаленных станций, причем каждая передача сигнала связана с вызовом, исходящим от одной из множества удаленных станций; обрабатывают множество принятых передач сигнала для идентификации принятых передач, которые включают в себя дискриминант, приложенный повторителем; и обозначают каждую из множества принятых передач сигнала как переданную через повторитель, если принятая передача сигнала включает в себя дискриминант. Технический результат заключается в определении связи через повторитель, осуществлении текущего контроля сетевого трафика, проходящего через повторитель. 12 н. и 53 з.п. ф-лы, 16 ил.
Область техники, к которой относится изобретение
Настоящее изобретение относится к способам и системам для приема и передачи информации между мобильными станциями и базовыми станциями и, в частности, касается способа и системы для определения того, было ли принятое сообщение передано через повторитель.
Уровень техники
Услуги сотовой телефонной связи (сотовые телефоны) в настоящее время приобрели широкое распространение. В некоторых зонах обслуживания стало обязательным, чтобы провайдеры услуг сотовой связи вводили в сеть сотовой телефонной связи такие функции, которые позволяют определить местоположение пользователя сотового телефона. Эти услуги полезны, среди прочего, при экстренных вызовах (служба 911 и т.п.).
При предоставлении указанной услуги возникают трудности в случаях, когда пользователь сотового телефона осуществляет связь с базовой станцией данной соты через повторитель. В этих обстоятельствах система определения положения не может различить, где находится пользователь сотового телефона, поскольку такие системы обычно не идентифицируют сигнал, идущий к пользователю, как принятый от повторителя, а обычные средства определения местоположения пользователя (например, триангуляция с использованием уровня сигнала и других его количественных характеристик) могут дать ошибочный результат из-за прохождения сигнала через повторитель. Например, повторитель обычно увеличивает время распространения сигнала на 4-10 мкс, что может привести к неоднозначности в определении положения. Кроме того, сигналы прямой линии связи, принятые от повторителя, могут оказаться неотличимыми от сигналов прямой линии связи, принятых непосредственно от базовой станции.
Также при некоторых обстоятельствах желательно осуществлять текущий контроль сетевого трафика, особенно трафика, проходящего через повторители. Это позволяет контролировать статистические данные о вызовах в области действия повторителя. Указанную возможность также трудно реализовать, если базовые станции не способны идентифицировать, какие из принятых передач были приняты через повторитель, а какие нет (например, приняты непосредственно от сотового телефона).
Таким образом, существует потребность в простой системе и способе для идентификации того, была ли конкретная передача сотового телефона принята непосредственно от мобильной станции, либо эта передача была принята через повторитель. Необходимо также иметь простую систему, которая действует вместе с сотовыми телефонными системами, включающими в себя возможности управления мощностью. Настоящее изобретение удовлетворяет этим потребностям.
Также имеется потребность в простой системе и способе идентификации того, была ли конкретная передача базовой станции принята непосредственно от этой базовой станции, либо эта передача была принята через повторитель. Также имеется потребность в простой системе, которая действует вместе с системами сотовой телефонной связи, имеющими возможности управления мощностью. Настоящее изобретение удовлетворяет также и этим потребностям.
Сущность изобретения
В свете вышеописанных требований в одном варианте настоящего изобретения раскрывается способ и устройство для текущего контроля удаленного трафика связи. Принимают по меньшей мере одну из множества передач сигнала, причем каждая передача сигнала связана с вызовом, который связан с одной из множества удаленных станций, или со служебной сигнальной информацией, которую передают от базовой станции. Множество принятых передач сигнала обрабатывают для идентификации принятых передач, которые включают в себя дискриминант, приложенный повторителем, и каждую из множества принятых передач сигнала обозначают как переданную через повторитель, если принятая передача сигнала включает в себя дискриминант.
Устройство содержит приемник, сконфигурированный с возможностью приема множества передач сигнала, исходящих из множества удаленных станций, причем каждая из передач сигнала связана с вызовом, исходящим от одной из множества удаленных станций, и процессор, коммуникационно связанный с приемником, причем этот процессор сконфигурирован с возможностью идентификации принятых передач, которые включают в себя дискриминант, приложенный повторителем, и обозначения каждой из множества принятых передач сигнала как переданной через повторитель, если принятая передача сигнала включает в себя дискриминант.
Один вариант настоящего изобретения допускает текущий контроль множества различных характеристик вызова и сигнала, включая среднее и стандартное отклонение количества вызовов, обработанных повторителем за заданный временной интервал (которое обычно меняется в зависимости от времени суток), длительность каждого вызова, обработанного повторителем, количество потерянных вызовов, обработанных повторителем. Кроме того, собранные статистические данные, касающиеся вызовов и обработанные повторителем, можно сравнить с аналогичными статистическими данными для вызовов, которые передают без повторителя (например, сравнить потерянные вызовы, уровень вызова и другие факторы), чтобы оценить эффективность повторителя и понять, выше ли качество обслуживания сектора базовой станцией при использовании повторителя. В настоящем изобретении также раскрыт вариант, в котором выходная мощность сигналов, излучаемых повторителем по обратной линии связи (от удаленной станции или сотового телефона на базовую станцию), остается фактически постоянной. Это позволяет системе управления мощностью работать без дополнительной нагрузки, связанной с компенсацией флуктуаций мощности, вызванных добавлением дискриминанта в повторителе. Это также позволяет уменьшить уровень «помех» от повторителя у других пользователей базовой станции (например, повторитель не снижет чувствительность приемников в базовых станциях путем добавления избыточной мощности приема сверх того, что может добавить обычный повторитель для приемников базовой станции). Кроме того, настоящее изобретение можно использовать с самыми разнообразными сигналами мобильной телефонной связи, в том числе множественного доступа с кодовым разделением каналов (МДКР, CDMA) (IS-95 и новая версия CDMA2000), Ev-DO (иногда высокоскоростной передачи данных (ВПД, HDR)), Ev-DV, широкополосного МДКР (Ш-МДКР, W-CDMA) и глобальной системы мобильной связи (GSM).
В одном варианте настоящего изобретения также разрешено управление повторителями с использованием информации, касающейся того, какие передачи по прямой и обратной линий связи были обработаны каждым повторителем, а также другой информации, такой как местоположение удаленной станции. Например:
(1) Эту информацию можно использовать для изменения усиления в прямой линии связи, увеличивая (или уменьшая) таким образом зону охвата повторителя (зону, обслуживаемую повторителем).
(2) В общем случае, если усиление в прямой линии связи изменяется, аналогичные регулировки должны быть выполнены для усиления в обратной линии связи. Усиление в обратной линии связи можно отрегулировать для компенсации изменений потерь в тракте или изменений усиления в повторителе (например, изменения из-за колебаний температуры). Для управления усилением в обратной линии связи можно также использовать информацию, касающуюся того, какие передачи по прямой и обратной линиям связи и каким повторителем были обработаны, установив баланс между прямой и обратной линиями связи, находящимися в распоряжении удаленных станций в области охвата повторителя. Также можно управлять усилением повторителя для предотвращения появления таких нежелательных эксплуатационных проявлений, как колебания передатчика.
(3) Эту информацию можно использовать для активизации и дезактивизации повторителя на основе, например, того, (а) сколько (либо, есть ли вообще) удаленных станций используют данный повторитель или повторитель, находящийся по соседству с определенным повторителем; (b) правильно ли работает повторитель или (с) требуется ли повторитель только в конкретные интервалы времени в течение суток или недели.
(4) Эту информацию можно использовать для настройки каналов, которые ретранслируются повторителем, включая выбор активных каналов и выбор частот и/или полосы частот выбранных активных каналов. Этот признак может оказаться полезным, например, в случае, когда конкретную частоту трудно использовать. В этой ситуации возможно окажется желательным, чтобы конкретный повторитель (например, повторитель, который обслуживает метрополитен) использовал другую частоту для распределения трафика сообщений.
Краткое описание чертежей
Обратимся теперь к чертежам, на которых одинаковые ссылочные позиции представляют соответствующие части на всех чертежах и где:
Фиг.1 – схема системы сотовой телефонной связи;
Фиг.2А и 2В – блок-схемы, иллюстрирующие примерные этапы обработки, которые можно использовать для практической реализации одного варианта настоящего изобретения;
Фиг.3 – блок-схема известного повторителя;
Фиг.4 – блок-схема одного варианта повторителя согласно настоящему изобретению, в котором используется модуляция задержки;
Фиг.5 – диаграмма, иллюстрирующая один вариант сигнала, передаваемого вторым приемопередатчиком, который показан на фиг.4;
Фиг.6 – схема, иллюстрирующая альтернативный вариант процессора дискриминанта по настоящему изобретению;
Фиг.7 – диаграмма, показывающая примерные сигналы управления, которые обеспечиваются контроллерами усиления;
Фиг.8 – базовая конфигурация повторителя применительно к ориентации относительно удаленной станции, базовой станции и повторителя;
Фиг.9 – схема, иллюстрирующая конфигурацию повторителя, где линия связи от повторителя к базовой станции выполнена через наземную линию, такую как коаксиальный или оптоволоконный кабель;
Фиг.10 – схема, показывающая конфигурацию повторителя, где антенна сервера не является единственной, а использовано множество антенн, рассредоточенных по множеству мест;
Фиг.11 – схема, показывающая один вариант элементов базовой станции, которые отличают сигналы, принятые от удаленной станции через повторитель, от сигналов, принятых непосредственно от базовой станции;
Фиг.12 – схема, иллюстрирующая компьютерную систему, которую можно использовать для реализации процессора и других элементов настоящего изобретения; и
Фиг.13А-13С – схемы, иллюстрирующие вариант настоящего изобретения, в котором передачи по прямой линии связи через повторитель идентифицируют с помощью дискриминанта.
Подробное описание изобретения
В последующем описании варианта осуществления изобретения делаются ссылки на сопроводительные чертежи, которые составляют часть описания и на которых в качестве иллюстрации показан конкретный вариант возможной практической реализации изобретения. Следует понимать, что можно использовать и другие варианты, а также допустимы структурные изменения, не выходящие за рамки объема настоящего изобретения.
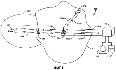
На фиг.1 представлена схема системы 100 сотовой телефонной связи. Система 100 сотовой телефонной связи содержит одну или несколько станций 102 управления и множество базовых станций 104. Базовые станции 104 осуществляют связь с удаленными станциями 112, находящимися в зоне 114 обслуживания базовой станции 104. Удаленные станции 112 могут представлять собой мобильные станции (например, автомобильные телефоны или карманные телефоны) либо стационарные станции. Зона 114 обслуживания обычно описывается в виде географического пространства, представляющего геометрическое место точек, в которых удаленная станция 112 может эффективно поддерживать связь с базовой станцией. Хотя на фиг.1 показано, что зона 114 обслуживания имеет более или менее круглую форму, действительная форма этой зоны диктуется географическими препятствиями и другими факторами. Множество зон 114 обслуживания обычно перекрываются для предоставления услуг глобальной сотовой телефонной связи.
Когда удаленная станция 112 находится в зоне 114 обслуживания, сообщения из центра 102 управления на базовую станцию 104 могут передаваться через прямую линию 106А связи, а от базовой станции 104 на удаленную станцию 112 через прямую линию 110А связи. Сообщения от удаленной станции 112 на базовую станцию 104 передают через линию 110В связи. Эти сообщения передаются в центр 102 управления через обратную линию 106В связи. Некоторые либо все передачи между базовой станцией 104 и станцией 102 управления могут выполняться и через наземную линию 108, если это необходимо. Также сообщения, переданные через прямые линии 106А и 110А связи, обычно модулируются в различных полосах частот или различными способами модуляции, отличными от полос частот и способов модуляции сообщений, передаваемых через обратные линии 110В и 106В связи. Использование отдельных линий связи – прямой и обратной – позволяет обеспечить полнодуплексную связь между центром 102 управления и удаленной станцией 112.
Станция 102 управления соединена линией связи с другими порталами связи, такими как коммутируемая телефонная сеть 116 общего пользования (КТСОП, PSTN) или сеть Интернет 118. Таким образом, пользователю на удаленной станции 112 предоставлен доступ к этим порталам связи через систему 100 сотовой телефонной связи.
Хотя зону охвата сети 100 сотовой телефонной связи можно расширить путем простого добавления дополнительных базовых станций 104 с целью охвата дополнительной географической территории, иногда такой шаг оказывается экономически неоправданным. Во многих случаях, например, территория, которую предполагается охватить, имеет трафик, достаточный лишь для того, чтобы обосновать использование вместо базовой станции 104 повторителя 120. Повторитель 120 принимает передачи как от мобильной станции 126, так и от базовой станции 104, и действует как промежуточное звено между ними, по существу как портал связи типа «коленчатый канал» (“bent pipe”). При использовании повторителя 120 эффективный диапазон базовой станции 104 расширяется, охватывая расширенную зону 128 обслуживания. Повторители 120 могут включать в себя наземные повторители, повторители, развернутые в атмосфере, либо повторители, размещенные на спутниках, находящихся на геосинхронной орбите (GEO), средней околоземной орбите (MEO), низкой околоземной орбите (LEO). Повторители 120 могут также быть стационарными либо мобильными.
Хотя использование повторителей 120 является экономически эффективным способом увеличения дальности связи, этот путь сопряжен с рядом недостатков. Использование большого количества повторителей 120 вместо дополнительных базовых станций 104 предъявляет более высокие требования к базовым станциям 104 применительно к обработке трафика (поскольку базовая станция 104 будет обрабатывать трафик для расширенной зоны 128 обслуживания, что накладывает дополнительный трафик на базовую станцию 104). Использование повторителя 120 также связано с риском ухудшения способности системы определять местоположение удаленной станции 126. Причина этого состоит в том, что, по меньшей мере частично, сигналы, проходящие через повторитель 120, претерпевают задержки, которые отсутствуют в сигналах, переданных непосредственно от удаленной станции 126 на базовую станцию 104. Использование повторителей 120 также связано с риском снижения точности алгоритмов определения местоположения, которые для определения местоположения мобильной станции, по меньшей мере частично, руководствуются значением амплитуды принятого сигнала. Кроме того, некоторые алгоритмы определения местоположения инициализируются, используя оценку местоположения, выводимую из известного местоположения базовой станции 104 (на предварительном предположении, что удаленная станция 112 находится в зоне 114 охвата данной базовой станции). Если же удаленная станция 126 в действительности находится вне зоны 114 охвата базовой станции 104, но при этом внутри зоны 128 охвата повторителя 120, алгоритмы оценки местоположения могут потратить много времени на обеспечение сходимости решения либо вообще не принять никакого решения.
На фиг.2А и 2В представлены блок-схемы, иллюстрирующие этапы примерного процесса обработки, которые можно использовать, чтобы преодолеть вышеупомянутые недостатки системы 100 сотовой телефонной связи. Передача сигнала происходит от удаленной станции 126 на повторитель 120, где она принимается, как показано в блоках 201 и 202. Сигнал обрабатывают с целью включения в него дискриминанта, имеющего сигнатуру, связанную с повторителем 120, как показано в блоке 204. Затем обработанный сигнал передают от повторителя 120 на базовую станцию 104, как показано в блоке 206. Далее сигнал, переданный повторителем 120, принимается базовой станцией 104, как показано в блоке 208. Затем принятый сигнал обрабатывается для идентификации передач, которые включают в себя дискриминант, приложенный повторителем 120, как показано в блоках 210 и 211. В любой данный момент времени базовая станция 104 может принимать множество сигналов, потенциально от одной или нескольких удаленных станций 112, расположенных в ее зоне охвата, и/или от одной или нескольких удаленных станций 126 в зоне 128 охвата повторителя 120. Каждый из множества сигналов анализируют, чтобы определить, включают ли они в себя дискриминант (как показано в блоке 211), и если да, то они обозначаются как переданные через повторитель 120. Поскольку обычно имеется множество базовых станций 104 и более одного повторителя 120, связанного с каждой базовой станцией 104, дискриминант, добавленный к переданному сигналу каждым повторителем 120, может включать в себя конкретную сигнатуру для различения данной передачи как обработанной конкретным повторителем 120. В указанном случае сигнатура анализируется и используется для определения того, с помощью какого повторителя 120 было передано сообщение. Это можно выполнить, например, путем сравнения сигнатуры в принятом сигнале с базой данных или информационным списком, относящимся к сигнатуре, для идентификации повторителя. Сигнатура может содержать частоту (например, частота дискриминанта идентифицирует повторитель), временную компоненту (например, временная диаграмма дискриминанта идентифицирует повторитель) или любую их комбинацию, как подробно изложено ниже. Если принятая передача сигнала включает в себя дискриминант, она обозначается как переданная через повторитель, как показано в блоке 212. Указанные сообщения можно проанализировать для идентификации сигнатуры, как показано в блоке 213. Обмен сообщениями может быть организован для посылки сигнатуры вместе с вызовом, с которым она связана, а также идентификационных характеристик сигнала, так что можно будет идентифицировать определенный повторитель. Например, в одном варианте передачу сообщений направляют в базу данных для идентификации повторителя, которая связывает конкретную сигнатуру с определенным повторителем (в этот момент вызов регистрируется как вызов, обслуживаемый через конкретный повторитель). Могут быть выполнены этапы для соответствующей записи хода выполнения вызова или для соответствующего обслуживания потребностей, связанных с определением местоположения.
Наконец, передачу сигнала, обозначенную как переданную через конкретный повторитель либо все повторители, связывают с контрольной характеристикой, как показано в блоке 214. Контрольная характеристика может включать в себя длину вызова, связанного с обозначенной передачей сигнала, количество вызовов, связанных с обозначенными передачами сигнала, и/или количество потерянных вызовов, связанных с обозначенными передачами сигнала. Исходя из этой информации можно обеспечить текущий контроль потерянных вызовов в зоне обслуживания конкретного повторителя, текущий контроль объема трафика вызовов, который обслуживает повторитель, по сравнению с трафиком вызовов, который обслуживается непосредственно базовой станцией. Операции обработки и обозначения, описанные выше, могут выполняться на базовой станции 104 или на станции 102 управления.
Этап обработки принятого сигнала для включения в него дискриминанта, имеющего сигнатуру, связанную с повторителем (например, этап, описанный применительно к блоку 204 по фиг.2А), может быть выполнен различными путями. Принятый сигнал может быть дополнен и/или модифицирован с помощью дискриминанта. Как более подробно изложено ниже, дискриминант может принимать форму одной или нескольких компонент задержки, которые подлежат альтернативному выбору, либо индивидуально изменяющимся во времени, с тем чтобы суммарная мощность сигналов (и, следовательно, дискриминант) оставалась во времени постоянной (конечно, использование других дискриминантов, например частотно-модулированных (ЧМ, FM) и кодовых дискриминантов, устраняет необходимость выдачи по существу постоянной мощности). Дискриминанты, использующие амплитудную модуляцию (АМ), по определению не имеют постоянную выходную мощность. Такую дискриминацию с модуляцией задержки можно использовать при передаче по прямой линии связи через повторитель 120, по обратной линии связи через повторитель 120 либо при передаче как по прямой, так и по обратной линиям связи.
Дискриминант может также включать в себя сигнатуру. Например, сигнатура дискриминанта может представлять собой задержку для каждой компоненты задержки, период, между которым происходит переключение компонент задержки с одной на другую, либо вклад каждой компоненты задержки в общую мощность сигнала.
Настоящее изобретение не ограничивается вариантами, в которых дискриминант добавляют к сигналу передачи. Вышеизложенное можно также реализовать с помощью системы, в которой повторитель 120 обеспечивает дискриминант путем удаления, а не добавления некоторой характеристики сигнала (например, сигнал, поступающий непосредственно от удаленных станций 112, может включать в себя модуляцию, задержку или другую информацию, которая удаляется повторителем 120 перед передачей). Однако даже в этом случае сигнал, проходящий через повторитель 120, дополняется дискриминантом (правда теперь дискриминант представляет собой отсутствие модуляции, которую, как ожидается, имеют другие принятые сигналы).
Дискриминант может принимать множество различных форм. В одном варианте дискриминант представляет собой код. Код может быть добавлен к базовому сигналу или информации (например, путем приема и демодуляции сигнала, принятого в повторителе 120 от удаленной станции 126, добавления указанного кода, повторной модуляции и передачи сигнала с добавленным кодом на базовую станцию 104) либо может быть добавлен не к демодулированному сигналу, а к самому модулированному сигналу. В другом варианте дискриминант содержит внутриполосный тональный сигнал.
В еще одном варианте дискриминант представляет собой модуляцию, которая применяется к сигналу, принятому на повторителе 120 от удаленной станции 126, без демодуляции принятого сигнала. Модуляция может представлять собой амплитудную модуляцию (АМ) (например, небольшие изменения в амплитуде несущей обратной линии связи), фазовую модуляцию, частотную модуляцию (ЧМ, FM) (например, небольшие изменения в частоте несущей обратной линии связи), импульсную модуляцию, модуляцию задержки (МЗ, DM) либо любую комбинацию указанных способов модуляции. Примеры способов модуляции, подходящих для применения к передачам с расширенным спектром, обсуждаются в работе Marvin K. Simon и др. «Spread Spectrum Communications Handbook», (исправленная редакция 1994, ISBN 0-07-057629-7), стр.11-12, содержание которой включено сюда по ссылке.
На фиг.3 представлена блок-схема известного повторителя 120. Повторитель 120 включает в себя донорную антенну 302 для приема сигналов, усилитель 308 для усиления сигналов, принятых донорной антенной 302, и серверную антенну 304 для передачи (или ретрансляции) сигналов, принятых повторителем 120. Также второй усилитель 306 усиливает сигналы, принятые серверной антенной 304, и подает усиленные сигналы на донорную антенну 302. Повторитель 120 может также содержать множество антенн и/или множество усилителей для приема, усиления и передачи сигналов прямой линии 122А, 124А связи и обратной линии 214В, 122В связи по отдельности.
На фиг.4 представлена блок-схема одного варианта повторителя 400 по настоящему изобретению. В показанном варианте повторитель 400 содержит серверную антенну 304, коммуникационно связанную с приемопередатчиком 424. Приемопередатчик 424 включает в себя приемник для приема одной или нескольких передач (каждая из которых обычно связана с вызовом, либо исходящим, либо направленным на одну из удаленных станций, воспринимаемых серверной антенной 304) и передатчик для передачи информации, поступающей от второго коммуникационно связанного приемопередатчика. В показанном варианте приемопередатчик 424 включает в себя дуплексер (антенный переключатель) 404 для преобразования симплексных передач в дуплексные передачи и усилитель 418 для усиления сигнала, поступающего от второго приемопередатчика 426. Вышеизложенное можно также реализовать с помощью отдельных передающей и приемной антенн, причем в этом случае дуплексеры 404, 416 могут быть опущены.
Используемое здесь выражение «коммуникационно связанный» относится к связи между системными элементами, при которой можно передавать информацию от одного элемента к другому независимо от того, передается ли такая информация непосредственно либо через другие системные элементы.
Первый приемопередатчик 424 коммуникационно связан с процессором 422 дискриминанта. Процессор дискриминанта получает принятый сигнал и обрабатывает этот сигнал, чтобы включить в него дискриминант, имеющий сигнатуру, связанную с упомянутым повторителем. Процессор 422 дискриминанта коммуникационно связан со вторым приемопередатчиком 426. Второй приемопередатчик 426 включает в себя приемник и передатчик; при этом он получает сигнал от процессора 422 дискриминанта и передает этот сигнал через донорную антенну 302. Второй приемопередатчик 426 также принимает сигналы, воспринимаемые донорной антенной 302, и доставляет принятые сигналы на первый приемопередатчик 424 для передачи через серверную антенну 304.
Входной сигнал процессора 422 дискриминанта избирательно подается к первому элементу 410 задержки и второму элементу 408 задержки через переключатель 420, а затем к объединителю 412. Объединитель 412 также получает и суммирует входной сигнал, идущий к процессору 422 дискриминанта, через прямой тракт 406 сигнала, выдавая таким образом на выходе объединителя входной сигнал, поступающий в процессор дискриминанта (через прямой тракт 406 сигнала), и входной сигнал, задержанный либо на 1, либо на 2 секунд.
Выход объединителя 412 коммуникационно связан со вторым приемопередатчиком 426. Затем поданный сигнал усиливается усилителем 414 во втором приемопередатчике 426 и подается на донорную антенну 302 для передачи.
На фиг.5 представлена диаграмма, иллюстрирующая один вариант сигнала, передаваемого вторым приемопередатчиком 426, который показан на фиг.4. По горизонтальной оси отложено время, причем в вариантах, в которых используются способы множественного доступа с кодовым разделением каналов (МДКР), это время может быть представлено элементарными посылками. Переданный сигнал включает в себя прямую компоненту 502 (передаваемую через прямой тракт 406 сигнала), а также вторую компоненту, которая выбирается переключателем 420, и может представлять собой либо первую 504, либо вторую 506 компоненту с модулированной задержкой. В одном варианте первая 504 и вторая 506 компоненты с модулированной задержкой альтернативно выбираются для предоставления сигнатуры повторителя 120, чтобы показать таким образом не только то, что сигнал был передан через повторитель 120, но также идентифицировать повторитель, который был включен в процесс данной передачи.
Таким образом, используя дискретизацию с последующей задержкой на несколько элементарных посылок всего пакета по обратной линии связи от повторителя, присутствие задержанного сигнала можно использовать для того, чтобы отметить данный трафик как трафик повторителя. Как описано ниже, этот задержанный сигнал может быть изменен отличительным образом, чтобы разрешить идентификацию на приемнике станции сотовой связи (CSR) и не спутать его с естественными компонентами многолучевого распространения. Этот сигнал обратной линии связи и его возмущение можно отследить в схемах слежения за отдельными лучами, имеющихся в приемнике CSR, и/или в поисковых схемах.
Обычно системы 100 сотовой телефонной связи включают в себя элементы, позволяющие станции (станциям) 102 управления или базовой станции (станциям) 104 управлять мощностью передачи удаленных станций 112. Такие подсистемы управления мощностью не позволяют удаленным станциям 112, которые расположены вблизи конкретной базовой станции 104, подавлять сигналы, поступающие от других удаленных станций, которые находятся дальше от этой базовой станции. Хотя вышеупомянутый способ модуляции задержки обеспечивает эффективный дискриминант с сигнатурой, позволяющей определить повторитель 120, последующее переключение между компонентами задержки может вызвать проблемы для подсистемы управления мощностью. Следовательно, стоит избегать резкого переключения межу компонентами 1 и 2 задержки.
На фиг.6 представлена диаграмма, иллюстрирующая альтернативный вариант процессора 422 по настоящему изобретению. В этом варианте процессор 422 дискриминанта включает в себя первый усилитель 602 и второй усилитель 610, коммуникационно связанные для приема входного сигнала от приемопередатчика 424. Первый усилитель 602 и второй усилитель 610 находятся под управлением контроллеров 604 и 612 усиления соответственно, так что обеспечивается плавный переход между каждой составляющей, вносимой элементами задержки в общий переданный сигнал. Выход каждого управляемого усилителя 602, 610 коммуникационно связан с элементами 410 и 408 задержки. Выходы элементов 410 и 408 задержки коммуникационно связаны с объединителем 412, который объединяет сигналы от каждого элемента задержки с входным сигналом, поступающим через прямой тракт 406, для создания выходного сигнала, который подается на второй приемопередатчик 426 для возможной передачи через донорную антенну 302. Выходной сигнал (и, следовательно, мощность сигнала, передаваемого вторым приемопередатчиком 426) постепенно переходит от одной из компонент 1 и 2 задержки к другой.
Коэффициенты усиления усилителей 602 и 610 (и, следовательно, вклад входного сигнала после обработки в каждом из элементов задержки) могут быть настроены контроллерами 604 и 612 многими способами, пока адекватно регулируется выходная мощность сигнала, обеспечиваемого вторым приемопередатчиком 426.
На фиг.7 представлена диаграмма, демонстрирующая примерные сигналы управления, обеспечиваемые контроллерами 604 и 612 усиления. В иллюстративном примере коэффициенты усиления обоих усилителей 602 и 610 регулируются в соответствии с сигналами 702 и 704 управления, имеющими пилообразную или треугольную форму. Один из сигналов управления (например, сигнал 704 управления) сдвинут по фазе на 180 градусов (или радиан) относительно другого. В результате сумма задержанных выходных сигналов двух усилителей 602 и 610 оказывается по существу постоянной, и, следовательно, выходной сигнал объединителя 412, а значит и второго приемопередатчика 426, также оказывается по существу постоянным.
При использовании выше описанного постепенного перехода компоненты задержки (такие как компоненты, которые раскрыты на фиг.5) плавно переходят от одного временного сдвига с задержкой к другому (например, компонента задержки с временным сдвигом 1 начнет исчезать с началом появления компоненты задержки с временным сдвигом 2). Кроме того, к разрешению ряда сложных ситуаций резкие переходы будут приводить к включению системы управления мощностью в системе 100 сотовой телефонной связи, что также облегчает базовой станции 104 отслеживать сигнал дискриминанта и его сигнатуру.
Термин «по существу», используемый в этом контексте, относится к мере постоянства, которое потребуется для того, чтобы не создавать недопустимые изменения мощности, которые неблагоприятно сказываются на рабочих характеристиках системы управления мощностью в системе 100 сотовой телефонной связи. Далее на фиг.4 и 5 две компоненты задержки ( 1 и 2) были использованы для иллюстрации принципов настоящего изобретения. Настоящее изобретение можно также реализовать, используя одну или несколько компонент задержки (например, 1, 2… n) при необходимости. Если используется не модуляция задержки, а ЧМ модуляция, то выходная мощность обратной линии связи будет по существу постоянной, без управления усилителями 602 и 610 с помощью сигналов типа тех, что показаны на фиг.7.
На фиг.8-10 представлены диаграммы, иллюстрирующие конфигурации повторителя 120, которые можно использовать вместе с настоящим изобретением. На фиг.8 представлена конфигурация базового повторителя 120 применительно к ориентации относительно удаленной станции 126, базовой станции 104 и повторителя 120. В варианте, показанном на фиг.8, донорная антенна 302 направлена на базовую станцию 104 (или множество базовых станций), в то время как серверная антенна 304 направлена обычно на удаленную станцию 126.
На фиг.9 представлена диаграмма, иллюстрирующая конфигурацию повторителя, в которой линия связи от повторителя 120 к базовой станции 104 выполнена через наземную линию 802, такую как коаксиальный или оптоволоконный кабель.
На фиг.10 представлена диаграмма, иллюстрирующая конфигурацию повторителя, в которой серверная антенна 902 не является единственной, а имеется множество антенн 902А, 902В, рассредоточенных по множеству мест. Например, антенны 902А, 902В могут быть размещены на разных этажах здания или вдоль тоннеля метрополитена. Соединение, идущее обратно к базовой станции 104, может быть реализовано через наземную линию связи (как показано на фиг.9) или линию радиосвязи (или оптическую линию связи), как показано на фиг.8.
На фиг.11 показан один вариант базовой станции 104, элементы которой отличают сигналы, принятые от удаленной станции 126 через повторитель 120, от сигналов, принятых непосредственно от удаленной станции 112. Базовая станция 104 включает в себя первый приемопередатчик 1102, содержащий приемник и передатчик для приема и передачи сигналов от/на любую из удаленных станций 112, 126 или повторитель 120. Базовая станция 104 также включает в себя процессор 1104, коммуникационно связанный с приемопередатчиком 1102, и второй приемопередатчик 1106, коммуникационно связанный с процессором 1104. Второй приемопередатчик 1106 также включает в себя приемник и передатчик.
Процессор 1104 идентифицирует принятые передачи, некоторые из которых включают в себя дискриминант, приложенный повторителем, и обозначает такие принятые передачи сигнала как переданные через повторитель 120. Процессор 1104 также связывает обозначенную характеристику сигнала с одной или несколькими из вышеописанных контрольных характеристик. Процессор 1104 может представлять собой специализированный процессор, специализированные аппаратные средства или их комбинацию, включающую в себя как программные, так и аппаратные модули.
На фиг.12 представлена диаграмма, иллюстрирующая компьютерную систему 1200, которую можно использовать для реализации процессора 1104 и других элементов настоящего изобретения. Компьютерная система 1200 содержит компьютер 1202, включающий в себя компьютерный процессор 1204 и память, такую как память с произвольной выборкой (RAM) 1206. Компьютер 1202 может быть оперативно подключен к дисплею 1222, который представляет изображения, к примеру, окна пользователю на графическом интерфейсе 1218В пользователя. Компьютер 1202 может также быть подключен к другим устройствам, таким как клавиатура 1214, мышь 1216, принтер и так далее. С компьютером 1202 можно использовать любую комбинацию из вышеперечисленных компонент либо любое количество иных компонент, периферийных и прочих устройств.
В общем случае компьютер 1202 работает под управлением операционной системы (ОС, OS) 1208, хранящейся в памяти 1206, и взаимодействует с пользователем, принимая входные данные и команды и представляя результаты через модуль 1218А графического интерфейса пользователя (ГИП, GUI). Хотя модуль 1218А ГИП изображен в виде отдельного модуля, команды, выполняющие функции ГИП, могут находиться или быть распределены в операционной системе 1208, компьютерной программе 1210 либо реализованы с помощью специализированной памяти и процессоров. Компьютер 1202 также реализует компилятор 1212, позволяющий оттранслировать прикладную программу 1210, записанную на языке программирования, таком как COBOL, C++, FORTRAN, либо другом языке, в код, считываемый процессором 1204. После своего завершения приложение 1210 обращается к памяти 1206 и манипулирует данными, хранящимися в памяти 1206 компьютера 1202, используя взаимосвязи и логику, созданную с использованием компилятора 1212. Компьютер 1202 также, но не обязательно, содержит внешнее устройство, такое как модем, спутниковую линию связи, карту Ethernet либо другое устройство для связи с другими компьютерами.
В одном варианте команды, реализующие операционную систему 1208, компьютерная программа 1210 и компилятор 1212 материально воплощены в считываемом компьютером носителе информации, например, запоминающем устройстве 1220 данных, которое может включать в себя одно или несколько фиксированных или съемных запоминающих устройств для данных, таких как накопитель 1224 на гибком диске, накопитель на жестком диске, накопитель на компакт-диске (CD-ROM), накопитель на ленте и т.д. Кроме того, операционная система 1208 и компьютерная программа 1210 содержат команды, которые при их считывании и выполнении компьютером 1202, заставляют компьютер 1202 выполнять этапы, необходимые для реализации и/или использования настоящего изобретения. Компьютерная программа 1210 и/или операционные команды также могут быть материально воплощены в памяти 1206 и/или устройствах 1230 передачи данных, создавая тем самым компьютерный программный продукт или промышленное изделие согласно изобретению. Предполагается, что как таковые термины «промышленное изделие», «запоминающее устройство для хранения программ» и «компьютерный программный продукт», которые здесь используются, охватывают компьютерную программу, доступную с любого считываемого компьютером устройства или носителя информации.
Вышеописанные способы и системы можно также применить для идентификации передач по прямой линии связи (от базовой станции на удаленную станцию), которые передаются также через повторитель.
На фиг.13А-13С представлены блок-схемы, описывающие примерные этапы, которые можно использовать для идентификации передач по прямой линии связи. Исходящий вызов (например, от пользователя коммутируемой телефонной сети 116 общего пользования (КТСОП) или сети 118 Интернет, либо службы пейджинговой связи) или обратное сообщение в ответ на вызов, исходящий от удаленной станции 112, передается базовой станцией 104, как показано в блоке 1302. Если удаленная станция находится в зоне 114 охвата базовой станции 104 (например, расположена так, как показано на фиг.1 для удаленной станции 112), то сигнал, переданный по прямой линии связи, может быть непосредственно принят на удаленной станции, как показано в блоке 1310. Однако в том случае, если удаленная станция находится вне зоны 114 охвата базовой станции 104 (например, расположена так, как показано на фиг.1 для удаленной станции 126), то сигнал, переданный по прямой линии связи, принимается повторителем 120 для передачи на удаленную станцию, как показано в блоке 1304. Когда удаленная станция проходит рядом, она может принять сообщения по прямой линии связи от нескольких базовых станций, некоторые из которых были переданы через повторитель, а другие переданы непосредственно от базовой станции без использования повторителя.
Если сигнал прямой линии связи передан на удаленную станцию 126 через повторитель 120, то повторитель обрабатывает принятый сигнал прямой линии связи, чтобы включить в него дискриминант прямой линии связи, связанный с повторителем 120, и передает обработанный принятый сигнал вместе с дискриминантом прямой линии связи на удаленную станцию 126, как показано в блоках 1306 и 1308. Удаленная станция 126 принимает передачу по прямой линии связи вместе с дискриминантом прямой линии связи и обрабатывает принятые передачи, чтобы идентифицировать те принятые передачи, которые включают в себя дискриминант прямой линии связи. Это показано в блоках 1310 и 1312.
На фиг.13В представлена блок-схема, иллюстрирующая примерные этапы, которые можно использовать для оценки того, был ли принятый сигнал прямой линии связи передан через повторитель, и при необходимости идентифицировать этот повторитель. В данном варианте такая оценка выполняется автономно удаленной станцией 126. Обратимся к фиг.13В, на которой в случае, если принятая передача сигнала по прямой линии связи включает в себя дискриминант прямой линии связи, то принятая передача сигнала обозначается как переданная через повторитель. Это показано в блоках 1314 и 1316. При необходимости сигнатуру дискриминанта прямой линии связи можно использовать для определения не только того, что сигнал прямой линии связи был передан через повторитель 120, но и для идентификации того, какой повторитель добавил данный дискриминант, как показано в блоке 1318. Также при необходимости удаленная станция 126 может хранить информацию, относящуюся к приему сообщений через данный повторитель. Эту информацию можно использовать, например, для помощи удаленной станции 126 в определении ее местоположения, для определения качества обслуживания либо для иных целей.
На фиг.13С представлена блок-схема, иллюстрирующая дополнительные примерные этапы, которые можно использовать для оценки того, был ли принятый сигнал прямой линии связи передан через повторитель, а при необходимости – для идентификации этого повторителя. В данном варианте указанная оценка выполняется на базовой станции. Обратимся к фиг.13С, на которой удаленная станция 126 передает сообщение, имеющее дискриминант прямой линии связи, на базовую станцию 104. В одном случае сообщение передается непосредственно на базовую станцию 104 без помощи повторителя 120. В этом случае сообщение принимается и обрабатывается, как было описано ранее, для идентификации передач, которые включают в себя дискриминант прямой линии связи, как показано в блоках 1328 и 1330. В другом случае сообщение передается на базовую станцию 104 через повторитель 120. Этот повторитель, как правило, окажется тем же повторителем, который передал сообщение по прямой линии связи на удаленную станцию 126, но возможно и не тем же, так как удаленная станция 126 в течение интервала между передачами возможно ушла из зоны, обслуживаемой одним повторителем, и перешла в зону, обслуживаемую другим повторителем. Повторитель 120 может просто направить принятую передачу сигнала на базовую станцию 104 либо может добавить дискриминант обратной линии связи к принятому сигналу, как показано в блоке 1324. В этом случае базовая станция 104 примет сообщение, имеющее дискриминант как прямой, так и обратной линии связи, и, следовательно, сможет определить, что сообщение было передано через первый повторитель по прямой линии связи и через второй повторитель по обратной линии связи.
Заметим, что повторители 120 выполнены с возможностью одновременно использовать первый «водяной знак» или другой дискриминант (например, ЧМ) для прямой линии связи, при одновременном использовании второго дискриминанта (например, AM) для обратной линии связи. Это позволяет удаленным станциям 112/126 и базовым станциям 104 одновременно (и независимо) определять, когда они приняли сигнал через повторитель 120.
Заслуживает внимания то, что применение конкретных дискриминантов для сигнала прямой линии связи, проходящего через повторитель 120, может быть обнаружено как удаленной станцией 126, так и базовой станцией 104 без использования конкретного дискриминанта обратной линии связи. Аналогичным образом, конкретные дискриминанты для сигнала обратной линии связи, проходящего через повторитель 120, могут быть обнаружены как базовой станцией 104, так и удаленной станцией 126 без использования конкретного дискриминанта прямой линии связи. Например, системы 100 сотовой телефонной связи обычно включают в себя элементы, позволяющие станции (станциям) 102 управления или базовой станции (станциям) 104 управлять мощностью передачи удаленных станций 112 или 126. Как правило, это выполняется путем измерения уровня или качества принятого сигнала от удаленной станции 112 или 126 и регулировки мощности передатчика удаленной станции посредством битов управления мощностью в прямой линии связи.
В одном варианте объект, управляющий мощностью удаленной станции 112 (базовая станция 104 или станция 102 управления), распознает дискриминант, приложенный повторителем (например, в виде мощности, модулированной по амплитуде, от повторителя), с помощью характеристических изменений амплитуды в сигнале обратной линии связи. После идентификации повторителя на контроллере (104 и/или 102) естественным ответом системы станет противодействие флуктуациям мощности приема путем посылки соответствующих настроек для управления мощностью по прямой линии связи. Даже если определено, что сигнал пришел от повторителя 120, удаленной станции дается команда изменить уровень мощности (например, путем передачи битов управления мощностью). Затем удаленная станция получает доступ к этой информации, чтобы определить, что сообщение, переданное по прямой линии связи, было передано через повторитель 120. Такое определение может выполняться автономно или с использованием дополнительной информации от других системных элементов. Например, дискриминант АМ, добавленный повторителем 120 в прямой линии связи, может включать в себя конкретную частоту колебаний, которая может быть надежно привязана к дискриминанту, добавленному повторителем, а не замирание или иное явление при передаче (которые по своей природе обычно имеют более стохастический характер).
В другом варианте контроллеры (104 и/или 102) идентифицируют передачу по обратной линии связи, как принятую через повторитель (возможно также с идентификацией этого повторителя). Однако, поскольку было определено, что сигнал поступил от повторителя 120, удаленной станции 112 не будет дана команда на изменение уровня мощности (например, не будут переданы биты управления мощностью). Это предотвращает ненужное изменение мощности передатчика удаленной станции 112.
Вышеописанную способность удаленной станции 126 и базовой станции 104 к обнаружению дискриминантов, добавляемых повторителем 120 прямой линии связи, без использования конкретного дискриминанта обратной линии связи (или способность как базовой станции 104, так и удаленной станции 126 обнаруживать конкретные дискриминанты, приложенные к сигналу обратной линии связи, проходящему через повторитель 120, без использования конкретного дискриминанта прямой линии связи) можно использовать с дискриминантами других типов (например, не связанными с управлением мощностью). Например, если повторитель 120 настраивает частоту несущей в прямой линии связи (например, обеспечивая небольшой сдвиг по частоте), приемник в мобильной станции (МС, MS) 126 будет это отслеживать. Эта возможность (которую используют, например, для отслеживания доплеровских сдвигов) имеется во многих существующих блоках МС 126. Этот полученный частотный сдвиг обеспечивает МС 126 дискриминантом для идентификации повторителя 120.
МС 126 или 112 включает в себя гетеродин (Г, LO) приемника и Г передатчика, который работает на частоте, базирующейся на частоте Г приемника. Так как приемник МС 126 отслеживает частотные сдвиги, поступающие от повторителя 120, эти сдвиги появятся в передатчике МС 126. Таким образом, дискриминант вводится в обратную линию связи и может быть обнаружен в приемнике базовой станции 104.
Специалистам в данной области техники очевидны многие модификации, которые можно предложить для данной конфигурации, оставаясь в рамках объема настоящего изобретения. Например, специалистам в данной области техники очевидно, что с настоящим изобретением можно использовать любую комбинацию вышеописанных компонент либо любое количество других компонент, периферийных и иных устройств. Кроме того, раскрытые здесь способы и процедуры применимы к повторителям, используемым в системах связи многих типов, в том числе других системах связи типа «один к одному» (например, системы связи «базовая станция – мобильная станция» или «мобильная станция – мобильная станция», магистральная или немагистральная системы связи, используемые, например, полицией, службами скорой медицинской помощи и пожарной охраны), а также в системах типа «один – множество», в которых используются, например, повторители-ретрансляторы (например, повторители цифрового телевещания или цифрового аудиовещания).
Заключение
Данный раздел заключает описание, включающее в себя предпочтительные варианты осуществления настоящего изобретения. Вышеизложенное описание предпочтительного варианта осуществления изобретения представлено в иллюстративных и описательных целях. Оно не претендует на исчерпывающее описание или ограничение изобретения со сведением его к раскрытой здесь конкретной форме. В свете вышеизложенных принципов возможно множество модификаций и вариантов.
Предполагается, что объем изобретения ограничен не этим подробным описанием, а исключительно прилагаемой формулой изобретения. Приведенные выше описание, примеры и данные дают полное описание процесса изготовления и использования устройства и способа согласно изобретению. Поскольку можно выполнить множество вариантов изобретения, оставаясь в рамках его объема, собственно изобретение содержится в прилагаемой формуле изобретения.
Формула изобретения
1. Способ контроля трафика связи, заключающийся в том, что
принимают множество передач сигнала, причем каждая передача сигнала связана с вызовом, который связан с одной из множества удаленных станций,
обрабатывают множество принятых передач сигнала для идентификации принятых передач, которые включают в себя дискриминант, приложенный повторителем,
обозначают каждую из множества принятых передач сигнала как переданную через повторитель, если принятая передача сигнала включает в себя дискриминант, и
связывают обозначенную передачу сигнала с контрольной характеристикой, причем контрольную характеристику выбирают из группы, содержащей
длину вызова, связанного с обозначенными передачами сигнала,
количество вызовов, связанных с обозначенными передачами сигнала,
количество потерянных вызовов, связанных с обозначенными передачами сигнала,
время начала вызова, связанное с обозначенной передачей сигнала,
частоту кадровых ошибок (ЧОК), связанную с обозначенной передачей сигнала,
мощность приема, связанную с обозначенной передачей сигнала, и
тип вызова, связанный с обозначенной передачей сигнала.
2. Способ контроля трафика связи, заключающийся в том, что
принимают, по меньшей мере, одну из множества передач сигнала, причем каждая передача сигнала связана с вызовом, который связан с одной из множества удаленных станций,
обрабатывают множество принятых передач сигнала для идентификации принятых передач, которые включают в себя дискриминант, приложенный повторителем, и
обозначают каждую из множества принятых передач сигнала как переданную через повторитель, если принятая передача сигнала включает в себя дискриминант, причем при обозначении каждой из множества принятых передач сигнала как переданной через повторитель, если принятая передача сигнала включает в себя дискриминант, обозначают каждую из множества принятых передач сигнала как переданную через повторитель, если принятая передача сигнала включает в себя дискриминант и дискриминант включает в себя сигнатуру, связанную с повторителем,
обрабатывают множество передач сигнала для идентификации принятых передач, которые включают в себя дискриминант, приложенный вторым повторителем, и
обозначают каждую из множества принятых передач сигнала как переданную через второй повторитель, если принятая передача сигнала включает в себя дискриминант и дискриминант включает в себя вторую сигнатуру, связанную со вторым повторителем.
3. Способ по п.2, отличающийся тем, что дискриминант содержит частотную модуляцию, примененную к передаче сигнала.
4. Способ по п.2, отличающийся тем, что дискриминант содержит амплитудную модуляцию, примененную к передаче сигнала.
5. Способ по п.2, отличающийся тем, что дискриминант содержит внутриполосный тональный сигнал.
6. Способ по п.2, отличающийся тем, что дискриминант содержит информацию по управлению мощностью, принятую на удаленной станции.
7. Способ контроля трафика связи, заключающийся в том, что принимают, по меньшей мере, одну из множества передач сигнала, причем каждая передача сигнала связана с вызовом, который связан с одной из множества удаленных станций,
обрабатывают множество принятых передач сигнала для идентификации принятых передач, которые включают в себя дискриминант, приложенный повторителем,
обозначают каждую из множества принятых передач сигнала как переданную через повторитель, если принятая передача сигнала включает в себя дискриминант, причем дискриминант включает в себя первую компоненту передачи сигнала с модулированной задержкой и, кроме того, дискриминант дополнительно включает в себя вторую компоненту передачи сигнала с задержкой.
8. Способ по п.7, отличающийся тем, что первая компонента с модулированной задержкой и вторая компонента с модулированной задержкой включают в себя каждая изменяющуюся во времени характеристику.
9. Способ по п.8, отличающийся тем, что изменяющейся во времени характеристикой является мощность.
10. Способ по п.9, отличающийся тем, что сумма мощности первой компоненты с модулированной задержкой и мощности второй компоненты с модулированной задержкой является, по существу, постоянной.
11. Способ по п.7, отличающийся тем, что множество передач сигнала являются передачами по обратной линии связи, а дискриминант содержит дискриминант обратной линии связи.
12. Способ по п.11, отличающийся тем, что множество передач сигнала принимают на базовой станции.
13. Способ по п.7, отличающийся тем, что множество передач сигнала являются передачами по прямой линии связи, а дискриминант содержит дискриминант прямой линии связи.
14. Способ по п.13, отличающийся тем, что множество передач сигнала принимают на удаленной станции.
15. Способ по п.14, отличающийся тем, что при обозначении каждой из множества принятых передач сигнала как переданной через повторитель, если принятая передача сигнала включает в себя дискриминант,
передают сигнал, имеющий дискриминант прямой линии связи, на базовую станцию, и
обрабатывают сигнал, имеющий дискриминант прямой линии связи, на базовой станции для идентификации принятых передач, которые включают в себя дискриминант прямой линии связи.
16. Способ по п.15, отличающийся тем, что дополнительно
принимают в повторителе сообщение, имеющее дискриминант прямой линии связи,
обрабатывают принятое сообщение для включения в него дискриминанта обратной линий связи,
передают обработанное сообщение, имеющее дискриминант прямой линии связи и дискриминант обратной линий связи, на базовую станцию, и
обрабатывают сигнал, имеющий дискриминант прямой линии связи и дискриминант обратной линий связи, для идентификации принятых передач, имеющих дискриминант прямой линии связи и дискриминант обратной линий связи.
17. Способ по п.7, отличающийся тем, что дополнительно
управляют по меньшей мере одним набором параметров, связанных с повторителем, на основе того, передается ли множество принятых передач сигнала через повторитель.
18. Способ по п.17, отличающийся тем, что по меньшей мере один из набора параметров выбирают из группы, содержащей
усиление прямой линии связи повторителя,
усиление обратной линий связи повторителя,
активизацию повторителя,
дезактивизацию повторителя,
частоту прямой линии связи повторителя,
полосу пропускания прямой линии связи повторителя,
частоту обратной линии связи повторителя,
полосу пропускания обратной линий связи повторителя, и
каналы ретрансляции повторителя.
19. Устройство для идентификации сообщений, переданных через повторитель, содержащее
приемник, сконфигурированный с возможностью приема множества передач сигнала, причем каждая передача сигнала связана с вызовом, исходящим от или направленным к одной из множества удаленных станций, и
процессор, коммуникационно связанный с приемником, причем процессор сконфигурирован с возможностью идентификации принятых передач, которые включают в себя дискриминант, приложенный повторителем, и обозначения каждой из множества принятых передач сигнала как переданной через повторитель, если принятая передача сигнала включает в себя дискриминант,
причем процессор дополнительно связывает обозначенную передачу сигнала с контрольной характеристикой, а контрольная характеристика выбрана из группы, содержащей
длину вызова, связанного с обозначенными передачами сигнала,
количество вызовов, связанных с обозначенными передачами сигнала,
количество потерянных вызовов, связанных с обозначенными передачами сигнала,
время начала вызова, связанное с обозначенной передачей сигнала,
частоту кадровых ошибок (ЧКО), связанную с обозначенной передачей сигнала,
мощность приема, связанную с обозначенной передачей сигнала, и
тип вызова, связанный с обозначенной передачей сигнала.
20. Устройство по п.19, отличающееся тем, что процессор сконфигурирован с возможностью обозначения каждой из множества принятых передач сигнала как переданной через повторитель, если принятая передача сигнала включает в себя дискриминант, и дискриминант включает в себя сигнатуру, связанную с повторителем.
21. Устройство по п.20, отличающееся тем, что дискриминант содержит частотную модуляцию, примененную к передаче сигнала от удаленной станции.
22. Устройство для идентификации сообщений, переданных через повторитель, содержащее
приемник, сконфигурированный с возможностью приема множества передач сигнала, причем каждая передача сигнала связана с вызовом, исходящим от или направленным к одной из множества удаленных станций, и
процессор, коммуникационно связанный с приемником, причем процессор сконфигурирован с возможностью идентификации принятых передач, которые включают в себя дискриминант, приложенный повторителем, и обозначения каждой из множества принятых передач сигнала как переданной через повторитель, если принятая передача сигнала включает в себя дискриминант,
причем дискриминант включает в себя первую компоненту передачи сигнала с модулированной задержкой и, кроме того, дискриминант дополнительно включает в себя вторую компоненту передачи сигнала с модулированной задержкой.
23. Устройство по п.22, отличающееся тем, что первая компонента с модулированной задержкой и вторая компонента с модулированной задержкой включают в себя каждая изменяющуюся во времени характеристику.
24. Устройство по п.23, отличающееся тем, что изменяющейся во времени характеристикой является мощность.
25. Устройство по п.24, отличающееся тем, что сумма мощности первой компоненты с модулированной задержкой и мощности второй компоненты с модулированной задержкой, по существу, является постоянной.
26. Устройство по п.22, отличающееся тем, что множество передач сигнала являются передачами по обратной линии связи, а дискриминант содержит дискриминант обратной линии связи.
27. Устройство по п.26, отличающееся тем, что множество передач сигнала принимают на базовой станции.
28. Устройство по п.22, отличающееся тем, что множество передач сигнала являются передачами по прямой линии связи, а дискриминант содержит дискриминант прямой линии связи.
29. Устройство по п.28, отличающееся тем, что множество передач сигнала принимают на удаленной станции.
30. Устройство для идентификации сообщений, переданных через повторитель, содержащее
средство для приема множества передач сигнала, причем каждая передача сигнала связана с вызовом, связанным с одной из множества удаленных станций,
средство для обработки множества принятых передач сигнала для идентификации принятых передач, которые включают в себя дискриминант, приложенный повторителем,
средство для обозначения каждой из множества принятых передач сигнала как переданной через повторитель, если принятая передача сигнала включает в себя дискриминант, и
средство для связывания обозначенной передачи сигнала с контрольной характеристикой,
причем контрольная характеристика выбрана из группы, содержащей
длину вызова, связанного с обозначенными передачами сигнала,
количество вызовов, связанных с обозначенными передачами сигнала,
количество потерянных вызовов, связанных с обозначенными передачами сигнала,
время начала вызова, связанное с обозначенной передачей сигнала,
частоту кадровых ошибок (ЧКО), связанную с обозначенной передачей сигнала,
мощность приема, связанную с обозначенной передачей сигнала, и
тип вызова, связанный с обозначенной передачей сигнала.
31. Устройство для идентификации сообщений, переданных через повторитель, содержащее
средство для приема, по меньшей мере, одной из множества передач сигнала, причем каждая передача сигнала связана с вызовом, связанным с одной из множества удаленных станций,
средство для обработки множества принятых передач сигнала для идентификации принятых передач, которые включают в себя дискриминант, приложенный повторителем, и
средство для обозначения каждой из множества принятых передач сигнала как переданной через повторитель, если принятая передача сигнала включает в себя дискриминант, причем средство для обозначения каждой из множества принятых передач сигнала как переданной через повторитель, если принятая передача сигнала включает в себя дискриминант, содержит
средство для обозначения каждой из множества принятых передач сигнала как переданной через повторитель, если принятая передача сигнала включает в себя дискриминант и дискриминант включает в себя сигнатуру, связанную с повторителем,
средство для обработки множества передач сигнала для идентификации принятых передач, которые включают в себя дискриминант, приложенный вторым повторителем, и
средство для обозначения каждой из множества принятых передач сигнала как переданной через второй повторитель, если принятая передача сигнала включает в себя дискриминант и дискриминант включает в себя вторую сигнатуру, связанную со вторым повторителем.
32. Устройство по п.31, отличающееся тем, что дискриминант содержит частотную модуляцию, примененную к передаче сигнала от удаленной станции.
33. Устройство для идентификации сообщений, переданных через повторитель, содержащее
средство для приема, по меньшей мере, одной из множества передач сигнала, причем каждая передача сигнала связана с вызовом, связанным с одной из множества удаленных станций,
средство для обработки множества принятых передач сигнала для идентификации принятых передач, которые включают в себя дискриминант, приложенный повторителем, и
средство для обозначения каждой из множества принятых передач сигнала как переданной через повторитель, если принятая передача сигнала включает в себя дискриминант,
причем дискриминант включает в себя первую компоненту передачи сигнала с модулированной задержкой и, кроме того, дискриминант дополнительно включает в себя вторую компоненту передачи сигнала с задержкой.
34. Устройство по п.33, отличающееся тем, что первая компонента с модулированной задержкой и вторая компонента с модулированной задержкой включают в себя каждая изменяющуюся во времени характеристику.
35. Устройство по п.34, отличающееся тем, что изменяющейся во времени характеристикой является мощность.
36. Устройство по п.35, отличающееся тем, что сумма мощности первой компоненты с модулированной задержкой и мощности второй компоненты с модулированной задержкой, по существу, является постоянной.
37. Устройство по п.33, отличающееся тем, что множество передач сигнала являются передачами по обратной линии связи, а дискриминант содержит дискриминант обратной линии связи.
38. Устройство по п.33, отличающееся тем, что множество передач сигнала принимаются на базовой станции.
39. Устройство по п.38, отличающееся тем, что множество передач сигнала являются передачами по прямой линии связи, а дискриминант содержит дискриминант прямой линии связи.
40. Устройство по п.33, отличающееся тем, что множество передач сигнала принимают на удаленной станции.
41. Устройство по п.40, отличающееся тем, что средство для обозначения каждой из множества принятых передач сигнала как переданной через повторитель, если принятая передача сигнала включает в себя дискриминант, содержит
средство для передачи сигнала, имеющего дискриминант прямой линии связи, на базовую станцию, и
средство для обработки сигнала, имеющего дискриминант прямой линии связи, на базовой станции для идентификации принятых передач, которые включают в себя дискриминант прямой линии связи.
42. Устройство по п.40, отличающееся тем, что дополнительно содержит
средство для приема в повторителе сообщения, имеющего дискриминант прямой линии связи,
средство для обработки принятого сообщения для включения в него дискриминанта обратной линий связи,
средство для передачи обработанного сообщения, имеющего дискриминант прямой линии связи и дискриминант обратной линий связи, на базовую станцию, и
средство для обработки сигнала, имеющего дискриминант прямой линии связи и дискриминант обратной линий связи, для идентификации принятых передач, имеющих дискриминант прямой линии связи и дискриминант обратной линий связи.
43. Запоминающее устройство для хранения программ, считываемое компьютером, материально осуществляющее, по меньшей мере, одну программу, состоящую из команд, выполняемых компьютером, для реализации этапов способа, которые отличают сообщения, переданные через повторитель, от удаленных сообщений, не переданных через повторитель, причем способ заключается в том, что
принимают множество передач сигнала от множества удаленных станций, причем каждая передача сигнала связана с вызовом, который связан с одной из множества удаленных станций,
обрабатывают множество принятых передач сигнала для идентификации принятых передач, которые включают в себя дискриминант, приложенный повторителем, и
обозначают каждую из множества принятых передач сигнала как переданную через повторитель, если принятая передача сигнала включает в себя дискриминант,
причем дискриминант включает в себя первую компоненту передачи сигнала с модулированной задержкой и, кроме того, дискриминант дополнительно включает в себя вторую компоненту передачи сигнала с задержкой.
44. Способ различения сообщений, переданных через повторитель и сообщений, не переданных через повторитель, заключающийся в том, что
принимают в повторителе передачу сигнала,
обрабатывают принятый сигнал для включения в него дискриминанта, имеющего сигнатуру, связанную с повторителем, причем при обработке принятого сигнала для включения в него дискриминанта, имеющего сигнатуру, связанную с повторителем, дополняют передачу сигнала первой компонентой передачи сигнала с модулированной задержкой и дополняют передачу сигнала второй компонентой передачи сигнала с модулированной задержкой, и
передают обработанный принятый сигнал.
45. Способ по п.44, отличающийся тем, что обработанный принятый сигнал передают на базовую станцию.
46. Способ по п.44, отличающийся тем, что обработанный принятый сигнал передают на удаленную станцию.
47. Способ по п.44, отличающийся тем, что при обработке принятого сигнала для включения в него дискриминанта, имеющего сигнатуру, связанную с повторителем,
дополняют принятый сигнал дискриминантом.
48. Способ по п.44, отличающийся тем, что при обработке принятого сигнала для включения в него дискриминанта, имеющего сигнатуру, связанную с повторителем,
модифицируют сигнал в соответствии с дискриминантом.
49. Способ по п.44, отличающийся тем, что при обработке принятого сигнала для включения в него дискриминанта, имеющего сигнатуру, связанную с повторителем,
дополняют передачу сигнала компонентой передачи сигнала, задержанной на временной интервал, альтернативно выбранный из первой временной задержки и второй временной задержки.
50. Способ по п.44, отличающийся тем, что при обработке принятого сигнала для включения в него дискриминанта, имеющего сигнатуру, связанную с повторителем,
дополняют передачу сигнала первой компонентой передачи сигнала, задержанной на первую временную задержку,
дополняют передачу сигнала второй компонентой передачи сигнала, задержанной на вторую временную задержку,
причем сумма мощности первой компоненты передачи сигнала и второй компоненты передачи сигнала является постоянной во времени.
51. Способ по п.50, отличающийся тем, что мощность первой компоненты передачи сигнала и мощность второй компоненты передачи сигнала являются индивидуально переменными во времени.
52. Способ по п.44, отличающийся тем, что повторитель содержит повторитель цифрового телевещания или повторитель цифрового аудиовещания.
53. Устройство для различения сообщений, переданных через повторитель и сообщений, не переданных через повторитель, содержащее
средство для приема в повторителе передачи сигнала,
средство для обработки принятого сигнала для включения в него дискриминанта, имеющего сигнатуру, связанную с повторителем, причем средство для обработки принятого сигнала для включения в него дискриминанта, имеющего сигнатуру, связанную с повторителем, содержит средство для дополнения передачи сигнала первой компонентой передачи сигнала с модулированной задержкой и средство для дополнения передачи сигнала второй компонентой передачи сигнала с модулированной задержкой, и
средство для передачи обработанного принятого сигнала.
54. Устройство по п.53, отличающееся тем, что средство для обработки принятого сигнала для включения в него дискриминанта, имеющего сигнатуру, связанную с повторителем, содержит
средство для дополнения принятого сигнала дискриминантом.
55. Устройство по п.53, отличающееся тем, что средство для обработки принятого сигнала для включения в него дискриминанта, имеющего сигнатуру, связанную с повторителем, содержит
средство для модификации сигнала в соответствии с дискриминантом.
56. Устройство по п.53, отличающееся тем, что средство для обработки принятого сигнала для включения в него дискриминанта, имеющего сигнатуру, связанную с повторителем, содержит
средство для дополнения передачи сигнала первым частотно-модулированным дискриминантом.
57. Устройство по п.53, отличающееся тем, что средство для обработки принятого сигнала для включения в него дискриминанта, имеющего сигнатуру, связанную с повторителем, содержит
средство для дополнения передачи сигнала компонентой передачи сигнала, задержанной на временной интервал, альтернативно выбранный из первой временной задержки и второй временной задержки.
58. Устройство по п.53, отличающееся тем, что средство для обработки принятого сигнала для включения в него дискриминанта, имеющего сигнатуру, связанную с повторителем, содержит
средство для дополнения передачи сигнала первой компонентой передачи сигнала, задержанной на первую временную задержку,
средство для дополнения передачи сигнала второй компонентой передачи сигнала, задержанной на вторую временную задержку,
причем сумма мощности первой компоненты передачи сигнала и второй компоненты передачи сигнала является постоянной во времени.
59. Устройство по п.58, отличающееся тем, что мощность первой компоненты передачи сигнала и мощность второй компоненты передачи сигнала являются индивидуально переменными во времени.
60. Повторитель для передачи сообщений, различаемых как переданные повторителем, содержащий
приемник для приема передачи сигнала,
процессор дискриминанта, коммуникационно соединенный с приемником, для дополнения принятой передачи сигнала дискриминантом, имеющим сигнатуру, связанную с повторителем,
передатчик, коммуникационно соединенный с процессором дискриминанта, для передачи дополненного принятого сигнала,
причем процессор дискриминанта содержит
первый элемент задержки, коммуникационно соединенный с приемником,
объединитель, коммуникационно соединенный с элементом задержки и передатчиком, для объединения задержанной передачи сигнала от элемента задержки с принятой передачей сигнала, и
второй элемент задержки, коммуникационно соединенный с приемником через переключатель и с объединителем.
61. Повторитель по п.60, отличающийся тем, что дискриминант является частотно-модулированным дискриминантом.
62. Повторитель по п.60, отличающийся тем, что процессор дискриминанта содержит
контроллер усиления, коммуникационно соединенный с приемником, для обеспечения первой принятой передачи сигнала с переменным усилением и второй принятой передачи сигнала с переменным усилением,
первый элемент задержки, коммуникационно соединенный с контроллером усиления, и
второй элемент задержки, коммуникационно соединенный с контроллером усиления.
63. Повторитель по п.62, отличающийся тем, что контроллер усиления управляет выходным сигналом процессора дискриминанта таким образом, что сумма мощности выходного сигнала первого элемента задержки и выходного сигнала второго элемента задержки, по существу, является постоянной.
64. Повторитель по п.62, отличающийся тем, что контроллер усиления содержит
первый усилитель, имеющий переменный коэффициент усиления, коммуникационно соединенный с приемником и первым элементом задержки,
второй усилитель, имеющий переменный коэффициент усиления, коммуникационно соединенный с приемником и вторым элементом задержки.
65. Повторитель по п.64, отличающийся тем, что дополнительно содержит сумматор, коммуникационно соединенный с первым элементом задержки, вторым элементом задержки и приемником.
РИСУНКИ
|
|