|
|
(21), (22) Заявка: 2006110207/09, 24.09.2004
(24) Дата начала отсчета срока действия патента:
24.09.2004
(30) Конвенционный приоритет:
30.09.2003 KR 10-2003-0070434
(46) Опубликовано: 20.01.2008
(56) Список документов, цитированных в отчете о поиске:
RU 98100104 А, 10.01.2000. WO 03079593 A1, 25.09.2003. WO 9858496 A2, 23.12.1998. US 2002159422, 31.10.2002.
(85) Дата перевода заявки PCT на национальную фазу:
29.03.2006
(86) Заявка PCT:
KR 2004/002490 (24.09.2004)
(87) Публикация PCT:
WO 2005/032004 (07.04.2005)
Адрес для переписки:
129010, Москва, ул. Б. Спасская, 25, стр.3, ООО “Юридическая фирма Городисский и Партнеры”, пат.пов. Ю.Д.Кузнецову, рег.№ 595
|
(72) Автор(ы):
ЧО Янг-Квон (KR), РО Дзунг-Мин (KR), ЛИ Хиеон-Воо (KR), ЙООН Сеок-Хиун (KR), ПАРК Донг-Сеек (KR), СУХ Чанг-Хо (KR), ЧАЕ Чан-Биунг (KR), ДЗЕОНГ Су-Рионг (KR)
(73) Патентообладатель(и):
САМСУНГ ЭЛЕКТРОНИКС КО., ЛТД. (KR)
|
(54) УСТРОЙСТВО И СПОСОБ ПРИЕМА/ПЕРЕДАЧИ ПИЛОТ-СИГНАЛА ПО ВОСХОДЯЩЕЙ ЛИНИИ СВЯЗИ В СИСТЕМЕ СВЯЗИ С ИСПОЛЬЗОВАНИЕМ СХЕМЫ МНОЖЕСТВЕННОГО ДОСТУПА С ОРТОГОНАЛЬНЫМ РАЗДЕЛЕНИЕМ ЧАСТОТ
(57) Реферат:
Изобретение относится к системам связи. Технический результат заключается в усовершенствовании передачи/приема пилот-сигналов по восходящей линии связи. Раскрыты устройство и способ передачи опорного сигнала в системе связи множественного доступа с ортогональным разделением частот (OFDMA), в которой общая полоса частот разделена на множество полос поднесущих. Мультиплексор с временным разделением выполняет мультиплексирование с временным разделением так, чтобы опорный сигнал был передан для первой длительности в предопределенном количестве полос поднесущих из множества полос поднесущих, а сигнал, отличный от опорного сигнала, был передан для второй длительности, отличной от первой длительности. Передатчик передает мультиплексированные с разделением по времени сигналы полос поднесущих. 12 н. и 14 з.п. ф-лы, 13 ил.
Область техники, к которой относится изобретение
Данное изобретение, в целом, относится к системе связи, использующей схему множественного доступа и, в частности, к устройству и способу приема/передачи пилот-сигналов в системе связи, использующей схему множественного доступа с ортогональным разделением частот (OFDMA).
Описание предшествующего уровня техники
Эволюция систем мобильной связи, таких как lx Усовершенствованная Изменяющаяся (lxEV) система связи и система связи высокоскоростного пакетного доступа по нисходящей линии связи (HSDPA) в значительной степени внесла свой вклад в открытие эпохи беспроводных служб мультимедиа. В результате чего терминал абонента (абонентский терминал) (SS) может получить доступ к сети Интернет и принять желаемую службу, даже находясь в движении.
Исследования и продолжающая разработка системы мобильной связи четвертого поколения (4G) проводятся, принимая во внимание и программное обеспечение для разработки различного содержимого и аппаратные средства для разработки схемы беспроводного доступа, имеющей высокую эффективность использования спектра для обеспечения лучшего качества обслуживания (QoS).
Далее будет сделано описание аппаратных средств, которые рассматриваются в системе мобильной связи четвертого поколения (4G).
В беспроводной связи высокоскоростная высококачественная передача данных, в целом, зависит от среды канала. Среда канала беспроводной связи часто изменяется из-за аддитивного белого гауссовского шума (AWGN), изменения в мощности принятого сигнала, вызванного замиранием, экранирования, доплеровских эффектов, вызванных перемещением терминала абонента и частым изменением скорости терминала абонента, помех от других пользователей и многолучевых сигналов. Поэтому для обеспечения высокоскоростной услуги беспроводной пакетной передачи данных требуется новая усовершенствованная схема, способная к адаптивному совладанию с изменениями в среде канала в дополнение к схеме, обеспеченной в существующей системе беспроводной связи.
Обычная схема беспроводного доступа, которая была частично внедрена в систему мобильной связи и, как ожидают, будет активно использоваться в системе мобильной связи четвертого поколения (4G), включает в себя такие схемы адаптации линии связи, как схема адаптивной модуляции и кодирования (AMC) и схема гибридного автоматического запроса на повторную передачу (HARQ).
Схема адаптивной модуляции и кодирования (AMC) адаптивно использует схему модуляции/демодуляции и схему кодирования, в зависимости от замираний в беспроводной линии передачи для того, чтобы максимально использовать пропускную способность беспроводной линии передачи. Схема гибридного автоматического запроса на повторную передачу (HARQ) запрашивает повторную передачу принятых поврежденных пакетных данных на физическом уровне для минимизации временной задержки передачи, посредством этого улучшая качество обслуживания (QoS).
Использование схемы адаптивной модуляции и кодирования (AMC) и схемы гибридного автоматического запроса на повторную передачу (HARQ) вносит свой вклад в замечательное усовершенствование производительности всей системы. Для использования такой схемы адаптации линии связи, как схема адаптивной модуляции и кодирования (AMC), приемник должен непрерывно измерять состояние линии связи между передатчиком и приемником. Для того чтобы приемник измерил состояние линии связи, передатчик должен передать опорный сигнал, на основании которого приемник может измерить состояние линии связи. Пилот-сигнал обычно используется в качестве опорного сигнала.
Учитывая состояние линии связи, были предложены схема адаптивной модуляции и кодирования (AMC) и схема гибридного автоматического запроса на повторную передачу (HARQ). Таким образом, схема адаптивной модуляции и кодирования (AMC) и схема гибридного автоматического запроса на повторную передачу (HARQ) применимы в соответствии с результатом измерения пилот-сигнала между передатчиком и приемником. Однако система мобильной связи четвертого поколения (4G) активно выполняет передачу данных по восходящей линии связи, а также передача данных по восходящей линии связи нуждается в схеме адаптации линии связи с учетом состояния линии связи. Соответственно, существует потребность в схеме передачи опорного сигнала с использованием схемы адаптации восходящей линии связи.
Сущность изобретения
Следовательно, цель данного изобретения заключается в том, чтобы обеспечить устройство и способ приема/передачи пилот-сигналов по восходящей линии связи в системе связи, использующей схему множественного доступа.
Другая цель данного изобретения заключается в том, чтобы обеспечить устройство и способ приема/передачи пилот-сигналов по восходящей линии связи для передачи по выделенному каналу в системе связи, использующей схему множественного доступа.
Другая цель данного изобретения заключается в том, чтобы обеспечить устройство и способ приема/передачи пилот-сигналов по восходящей линии связи для передачи по совместно используемому каналу в системе связи, использующей схему множественного доступа.
Согласно первому аспекту данного изобретения, обеспечивается устройство для передачи опорного сигнала в системе связи множественного доступа с ортогональным разделением частот (OFDMA), в которой общая полоса частот разделена на множество полос поднесущих, устройство включает в себя мультиплексор с временным разделением для выполнения мультиплексирования с разделением по времени так, чтобы опорный сигнал был передан для первой длительности в предопределенном количестве полос поднесущих из множества полос поднесущих, а сигнал, отличный от опорного сигнала, был передан для второй длительности, отличной от первой длительности, и передатчик для передачи мультиплексированных с разделением по времени сигналов полос поднесущих.
Согласно второму аспекту данного изобретения, обеспечивается устройство для приема опорного сигнала в системе связи множественного доступа с ортогональным разделением частот (OFDMA), в которой общая полоса частот разделена на множество полос поднесущих, устройство включает в себя: первый мультиплексор с кодовым разделением для расширения спектра опорного сигнала, передаваемого через одну или несколько полос поднесущих из множества полос поднесущих, для первой длительности, в предопределенном количестве полос поднесущих среди множества полос поднесущих, с использованием первого кода, и расширения спектра сигнала, отличного от опорного сигнала, передаваемого через полосы поднесущих, отличные от полос поднесущих, через которые передается опорный сигнал, из числа множества полос поднесущих, используя второй код; второй мультиплексор с кодовым разделением для расширения спектра сигнала, отличного от опорного сигнала, передаваемого через предопределенное количество полос поднесущих для второй длительности, отличной от первой длительности, используя второй код; мультиплексор с временным разделением для выполнения временного разделения так, чтобы сигнал с выхода первого мультиплексора с кодовым разделением был передан для первой длительности, а сигнал с выхода второго мультиплексора с кодовым разделением был передан для второй длительности; и передатчик для передачи мультиплексированных с разделением по времени сигналов полос поднесущих.
Согласно третьему аспекту данного изобретения, обеспечивается устройство для передачи опорного сигнала в системе связи множественного доступа с ортогональным разделением частот (OFDMA), в которой общая полоса частот разделена на множество полос поднесущих, устройство включает в себя: приемник для выполнения процесса приема сигнала; селектор поднесущих для выделения (отделения) предопределенного количества сигналов полос поднесущих из множества полос поднесущих из принятого сигнала; и демультиплексор с временным разделением для выполнения демультиплексирования с временным разделением так, чтобы выделенные сигналы полос поднесущих для первой длительности выводились в качестве опорного сигнала, а выделенные сигналы полосы поднесущих для второй длительности, отличной от первой длительности, выводились в качестве сигнала, отличного от опорного сигнала.
Согласно четвертому аспекту данного изобретения, обеспечивается устройство для приема опорного сигнала в системе связи множественного доступа с ортогональным разделением частот (OFDMA), в которой общая полоса частот разделена на множество полос поднесущих, устройство включает в себя: приемник для выполнения процесса приема сигнала, селектор поднесущих для выделения предопределенного количества сигналов полос поднесущих из множества полос поднесущих из принятого сигнала, демультиплексор с временным разделением для вывода выделенных сигналов полос поднесущих на первый демультиплексор с кодовым разделением для первой длительности, и вывода выделенных сигналов полос поднесущих на второй демультиплексор с кодовым разделением для второй длительности, отличной от первой длительности, первый демультиплексор с кодовым разделением для сужения спектра сигнала, принятого через одну или несколько полос поднесущих из предопределенного количества полос поднесущих, используя первый код, и сужение спектра сигнала, принятого через полосы поднесущих, отличные от полос поднесущих, через которые был принят опорный сигнал среди предопределенного количества полос поднесущих, используя второй код, и второй демультиплексор с кодовым разделением для сужения спектра сигнала, принятого через предопределенное количество полос поднесущих, используя второй код.
Согласно пятому аспекту данного изобретения, обеспечивается способ передачи опорного сигнала в системе связи множественного доступа с ортогональным разделением частот (OFDMA), в которой общая полоса частот разделена на множество полос поднесущих, способ включает в себя выполнение мультиплексирования с временным разделением так, чтобы опорный сигнал был передан для первой длительности в предопределенном количестве полос поднесущих из множества полос поднесущих, а сигнал, отличный от опорного сигнала, был передан для второй длительности, отличной от первой длительности; и передачу мультиплексированных с разделением по времени сигналов полос поднесущих.
Согласно шестому аспекту данного изобретения, обеспечивается способ приема опорного сигнала в системе связи множественного доступа с ортогональным разделением частот (OFDMA), в которой общая полоса частот разделена на множество полос поднесущих, способ включает в себя выполнение мультиплексирования с временным разделением так, что опорный сигнал и сигнал, отличный от опорного сигнала, подвергаются мультиплексированию с кодовым разделением для первой длительности в предопределенном количестве полос поднесущих из множества полос поднесущих, а сигнал, отличный от опорного сигнала, подвергается мультиплексированию с кодовым разделением для второй длительности, отличной от первой длительности; и передачу мультиплексированных с разделением по времени сигналов полос поднесущих.
Согласно седьмому аспекту данного изобретения, обеспечивается способ передачи опорного сигнала в системе связи множественного доступа с ортогональным разделением частот (OFDMA), в которой общая полоса частот разделена на множество полос поднесущих, способ включает в себя выполнение процесса приема сигнала и выделения предопределенного количества сигналов полос поднесущих из множества полос поднесущих из принятого сигнала; и выполнение демультиплексирования с временным разделением так, чтобы выделенные сигналы полос поднесущих для первой длительности были выведены в качестве опорного сигнала, а выделенные сигналы полос поднесущих для второй длительности, отличной от первой длительности, были выведены в качестве сигнала, отличного от опорного сигнала.
Согласно восьмому аспекту данного изобретения обеспечивается способ передачи опорного сигнала в системе связи множественного доступа с ортогональным разделением частот (OFDMA), в которой общая полоса частот разделена на множество полос поднесущих, способ включает в себя выполнение процесса приема сигнала и выделения предопределенного количества сигналов полос поднесущих из множества полос поднесущих из принятого сигнала; и выполнение демультиплексирования с временным разделением так, чтобы опорный сигнал и сигнал, отличный от опорного сигнала, были выведены посредством демультиплексирования с кодовым разделением выделенных сигналов полос поднесущих для первой длительности, а сигнал, отличный от опорного сигнала, был выведен посредством демультиплексирования с кодовым разделением выделенных сигналов полос поднесущих для второй длительности, отличной от первой длительности.
Краткое описание чертежей
Вышеупомянутые и другие цели, особенности и преимущества данного изобретения станут более очевидными из следующего подробного описания, взятого совместно с сопроводительными чертежами, на которых изображено следующее:
фиг.1 – график, схематично иллюстрирующий предоставление ресурсов частоты восходящей линии связи в системе связи множественного доступа с ортогональным разделением частот (OFDMA), к которой применимы варианты осуществления данного изобретения;
фиг.2 – график, схематично иллюстрирующий структуру передачи пилот-сигнала по восходящей линии связи, согласно первому варианту осуществления данного изобретения;
фиг.3 – блок-схема, иллюстрирующая внутреннюю структуру устройства для передачи пилот-сигналов по восходящей линии связи, согласно первому варианту осуществления данного изобретения;
фиг.4 – блок-схема, иллюстрирующая внутреннюю структуру устройства для приема пилот-сигналов по восходящей линии связи, согласно первому варианту осуществления данного изобретения;
фиг.5 – график, схематично иллюстрирующий структуру передачи пилот-сигнала по восходящей линии связи, согласно второму варианту осуществления данного изобретения;
фиг.6 – блок-схема, иллюстрирующая внутреннюю структуру устройства для передачи пилот-сигналов по восходящей линии связи, согласно второму варианту осуществления данного изобретения;
фиг.7 – блок-схема, иллюстрирующая внутреннюю структуру устройства для приема пилот-сигналов по восходящей линии связи, согласно второму варианту осуществления данного изобретения;
фиг.8 – график, схематично иллюстрирующий структуру передачи пилот-сигнала по восходящей линии связи, согласно третьему варианту осуществления данного изобретения;
фиг.9 – блок-схема, иллюстрирующая внутреннюю структуру устройства для передачи пилот-сигналов по восходящей линии связи, согласно третьему варианту осуществления данного изобретения;
фиг.10 – блок-схема, иллюстрирующая внутреннюю структуру устройства для приема пилот-сигналов по восходящей линии связи, согласно третьему варианту осуществления данного изобретения;
фиг.11 – график, схематично иллюстрирующий структуру передачи пилот-сигнала по восходящей линии связи, согласно четвертому варианту осуществления данного изобретения;
фиг.12 – блок-схема, иллюстрирующая внутреннюю структуру устройства для передачи пилот-сигналов по восходящей линии связи, согласно четвертому варианту осуществления данного изобретения; и
фиг.13 – блок-схема, иллюстрирующая внутреннюю структуру устройства для приема пилот-сигналов по восходящей линии связи, согласно четвертому варианту осуществления данного изобретения.
Подробное описание предпочтительного варианта осуществления
Далее, со ссылкой на прилагаемые чертежи, будут подробно описаны несколько предпочтительных вариантов осуществления данного изобретения. В следующем описании подробное описание общеизвестных функций (функциональных средств) и конфигураций, включенных в данный документ, было опущено для краткости.
Данное изобретение предлагает схему приема/передачи пилот-сигнала для адаптации восходящей линии связи в системе связи, использующей схему множественного доступа, например схему множественного доступа с ортогональным разделением частот (OFDMA) (система связи OFDMA), схему множественного доступа, основанную на схеме мультиплексирования с ортогональным частотным разделением сигналов (OFDM). Пилот-сигнал используется в качестве опорного сигнала для адаптации восходящей линии связи. Термин «адаптация линии связи» относится к операции управления для адаптивного управления операцией приема/передачи, согласно состоянию линии связи, посредством использования схемы адаптации линии связи, такой как схема адаптивной модуляции и кодирования (AMC).
Фиг.1 – график, схематично иллюстрирующий предоставление (назначение) частотных ресурсов восходящей линии связи в системе связи множественного доступа с ортогональным разделением частот (OFDMA), к которой применимы варианты осуществления данного изобретения. Ссылаясь на фиг.1, в связи с тем, что система связи множественного доступа с ортогональным разделением частот (OFDMA) представляет собой систему связи, основанную на схеме мультиплексирования с ортогональным частотным разделением сигналов (OFDM), то общая полоса пропускания разделена на множество полос поднесущих. Для удобства описание данного изобретения будет сделано в отношении информационного канала (канала трафика) среди каналов восходящей линии связи. Несомненно, предложенная в данном изобретении схема приема/передачи пилот-сигнала по восходящей линии связи также может быть применима к другим каналам восходящей линии связи, отличным от канала трафика. Канал трафика может быть разделен на выделенный канал трафика и совместно используемый канал трафика. В целом, услуга передачи данных в реальном времени, таких как речевая информация, которая является восприимчивой к задержке передачи, передается по выделенному каналу трафика, в то время как услуга передачи данных не в реальном времени, таких как пакетные данные, которая невосприимчива к задержке передачи, передается по совместно используемому каналу трафика.
На фиг.1 предполагается, что общее количество поднесущих, доступных в системе связи множественного доступа с ортогональным разделением частот (OFDMA) – NT, и все NT поднесущих предоставлены только каналу трафика. Кроме того, предполагается, что среди NT поднесущих, ND поднесущих предоставлены выделенному каналу, то есть выделенному каналу трафика, и остальные NS поднесущих предоставлены совместно используемому каналу, то есть совместно используемому каналу трафика (NT=ND+NS). ND поднесущих, предоставленных выделенному каналу трафика, и NS поднесущих, предоставленных совместно используемому каналу трафика, могут быть разделены на подканалы (каналы поднесущей), каждый из которых включает в себя предопределенное количество поднесущих. Термин подканал (канал поднесущей) относится к каналу, включающему в себя одну или несколько поднесущих, и один подканал может включать в себя одну поднесущую или две и более поднесущих.
Фиг.2 – график, схематично иллюстрирующий структуру передачи пилот-сигнала по восходящей линии связи, согласно первому варианту осуществления данного изобретения. В структуре передачи пилот-сигнала по восходящей линии связи, проиллюстрированной на фиг.2, система связи множественного доступа с ортогональным разделением частот (OFDMA) предоставляет (назначает) подканал, включающий в себя ND поднесущих (Nd ND) передатчику, например, терминалу абонента (SS), в качестве выделенного канала трафика. Таким образом, первый вариант осуществления данного изобретения предлагает схему приема/передачи пилот-сигнала по восходящей линии связи для случая, в котором выделенный канал трафика предоставлен терминалу абонента. Как иллюстрировано на фиг.2, пилот-сигналы передаются по восходящей линии связи в течение времени tp в периоды tp+ td. В течение времени tp через все ND поднесущих передается только пилот-сигнал. Для удобства поднесущие, через которые передается пилот-сигнал, называются «пилот-поднесущие», а поднесущие, через которые передаются сигналы данных, называются «поднесущие данных». Поэтому непроизводительные затраты на пилот-сигнал в выделенном канале трафика, включающем в себя ND поднесущих, определяются как
В системе связи множественного доступа с ортогональным разделением частот (OFDMA) один кадр включает в себя множество символов OFDM, а каждый из символов OFDM включает в себя множество символов. В данном документе термин «символ» относится к сигналу, передаваемому через каждую из поднесущих, составляющих один символ OFDM, а в случае, изображенном на фиг.1, один символ OFDM включает в себя NT символов. На фиг.2, для времени tp, все ND символов передают пилот-сигнал, и в этом случае, для времени tp, сигналы, отличные от пилот-сигнала, не могут быть переданы. Для удобства, символ, через который передается пилот-сигнал, называется «пилот-символ», а символ, через который передается сигнал данных, называется «символ данных».
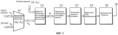
Фиг.3 – блок-схема, иллюстрирующая внутреннюю структуру устройства для передачи пилот-сигналов по восходящей линии связи, согласно первому варианту осуществления данного изобретения. Перед описанием фиг.3, предполагается, что система связи множественного доступа с ортогональным разделением частот (OFDMA) передает пилот-сигналы посредством способа, описанного в связи с фиг.2. На фиг.2, в связи с тем, что Nd поднесущих предоставляются конкретному передатчику, например, терминалу абонента, в качестве выделенного канала трафика, пилот-сигнал или сигнал данных передается через Nd поднесущих. Кроме того, на фиг.2, в связи с тем, что период, за который передается пилот-сигнал, равен tp+ td, а время передачи пилот-сигнала равно tp, только пилот-сигнал передается через Nd поднесущих для времени tp, и только сигнал данных передается через Nd поднесущих для времени td, за исключением времени tp в периоды tp+ td.
Что касается фиг.3, то мультиплексор 311 с временным разделением (TDM) принимает сигналы Nd пилот-поднесущих Nd и сигналы Nd поднесущих данных, мультиплексор с временным разделением (TDM) мультиплексирует принятые сигналы Nd пилот-поднесущих и сигналы ND поднесущих данных, согласно способу передачи пилот-сигнала по восходящей линии связи, описанному в связи с фиг.2, и выводит мультиплексированные с разделением по времени сигналы на модуль 313 М-точечного обратного быстрого преобразования Фурье (IFFT).
Модуль 313 обратного быстрого преобразования Фурье (IFFT) принимает сигналы Nd поднесущих, выходящие из мультиплексора 311 с временным разделением, также принимает сигналы (М-Nd) поднесущих, выполняет обратное быстрое преобразование Фурье (IFFT) принятых сигналов и выводит обработанные обратным быстрым преобразованием Фурье (IFFT) сигналы на параллельно-последовательный (P/S) преобразователь 315. Как описано выше, пилот-сигналы или сигналы данных передаются через Nd поднесущих, а нулевые данные передаются через (М-Nd) поднесущих. Причиной для передачи нулевых данных через (М-Nd) поднесущих является то, что сигналы поднесущих, отличных от Nd поднесущих, не связаны с выделенным каналом трафика. Случай, когда нулевые данные передаются через (М-Nd) поднесущих, соответствует случаю, когда сигналы передаются только через Nd поднесущих и никакие отдельные сигналы не передаются через оставшиеся (М-Nd) поднесущих. В устройстве передачи пилот-сигнала по восходящей линии связи, в случае, если присутствует сигнал, который должен быть передан через (М-Nd) поднесущих, отличных от Nd поднесущих, то сигнал передается через поднесущие, соответствующие уровню сигнала среди (М-Nd) поднесущих, а нулевые данные передаются только через оставшиеся поднесущие. Конечно, если уровень передачи сигнала настолько высок, что можно использовать все (М-Nd) поднесущих, то сигнал передается через (М-Nd) поднесущих.
Параллельно-последовательный преобразователь 315 преобразовывает в последовательное представление сигнал, выводимый модулем 313 обратного быстрого преобразования Фурье (IFFT), и выводит преобразованный в последовательное представление сигнал на блок 317 вставки защитного интервала. Блок 317 вставки защитного интервала вставляет сигнал защитного интервала в сигнал, выходящий из параллельно-последовательного преобразователя 315, и выводит сигнал со вставленным защитным интервалом на цифроаналоговый (D/A) преобразователь 319. Защитный интервал вставляется для устранения помех между предыдущим символом OFDM, переданным за предыдущее время символа OFDM, и текущим символом OFDM, который будет передан в текущее время символа OFDM в системе связи OFDM. Сигнал защитного интервала вставляется по циклической префиксной схеме или циклической постфиксной схеме. В циклической префиксной схеме предопределенное количество последних выборок символа OFDM во временной области копируются и вставляются в допустимый символ OFDM, а в циклической постфиксной схеме предопределенное количество первых выборок символа OFDM во временной области копируются и вставляются в допустимый символ OFDM.
Цифроаналоговый преобразователь 319 выполняет преобразование в аналоговое представление сигнала, выходящего из блока 317 вставки защитного интервала, и выводит преобразованный в аналоговое представление сигнал на радиочастотный (RF) процессор 321. Радиочастотный (RF; РЧ) процессор 321, включающий в себя фильтр и модуль препроцессора, выполняет РЧ-обработку сигнала, выходящего из цифроаналогового преобразователя 319 так, чтобы сигнал мог быть фактически передан по воздуху, и передает РЧ-обработанный сигнал по воздуху через антенну.
Фиг.4 – блок-схема, иллюстрирующая внутреннюю структуру устройства для приема пилот-сигналов по восходящей линии связи, согласно первому варианту осуществления данного изобретения. Устройство приема пилот-сигналов по восходящей линии связи, проиллюстрированное на фиг.4, соответствует устройству передачи пилот-сигнала по восходящей линии связи, проиллюстрированному на фиг.3. Сигнал, передающийся устройством передачи пилот-сигнала по восходящей линии связи, принимается через антенну устройства приема пилот-сигнала по восходящей линии связи приемника или базовой станции, принимаемый сигнал испытывает влияние многолучевого канала и имеет шумовой компонент. Принятый через антенну сигнал вводится на радиочастотный (RF) процессор 411, и радиочастотный (RF) процессор 411 преобразовывает с понижением частоты сигнал, принятый через антенну, в сигнал промежуточной частоты (IF) и выводит сигнал промежуточной частоты (IF) на аналого-цифровой (A/D) преобразователь 413. Аналого-цифровой преобразователь 413 выполняет преобразование в цифровое представление аналогового сигнала, выходящего из радиочастотного (RF) процессора 411, и выводит преобразованный в цифровое представление сигнал на блок 415 исключения защитного интервала.
Блок 415 исключения защитного интервала исключает сигнал защитного интервала из преобразованного в цифровое представление сигнала, выходящего из аналого-цифрового преобразователя 413, и выводит сигнал с исключенным защитным интервалом на последовательно-параллельный преобразователь 417. Последовательно-параллельный преобразователь 417 выполняет преобразование в параллельное представление последовательного сигнала, выходящего из блока 415 исключения защитного интервала, и выводит преобразованный в параллельное представление сигнал на модуль 419 быстрого преобразования Фурье (FFT). Модуль 419 быстрого преобразования Фурье (FFT) выполняет М-точечное быстрое преобразование Фурье (FFT) сигнала, выходящего из последовательно-параллельного преобразователя 417, и выводит обработанный быстрым преобразованием Фурье (FFT) сигнал на селектор 421 поднесущих. Селектор 421 поднесущих выделяет Nd поднесущих, используемых в качестве выделенного канала трафика из сигналов М поднесущих, выходящих из модуля 419 быстрого преобразования Фурье (FFT), и выводит выделенные сигналы на демультиплексор 423 с временным разделением (TDD). Демультиплексор 423 с временным разделением демультиплексирует с временным разделением сигналы, выводимые из селектора 421 поднесущих, согласно способу передачи пилот-сигнала по восходящей линии связи, описанному в связи с фиг.2, и выводит демультиплексированные с разделением по времени сигналы в качестве пилот-сигналов и сигналов данных.
Фиг.5 – график, схематично иллюстрирующий структуру передачи пилот-сигнала по восходящей линии связи, согласно второму варианту осуществления данного изобретения. В структуре передачи пилот-сигнала по восходящей линии связи, проиллюстрированной на фиг.5, система связи множественного доступа с ортогональным разделением частот (OFDMA) предоставляет (назначает) подканал, включающий в себя Nd поднесущих (Nd ND) конкретному передатчику, например терминалу абонента (абонентскому терминалу), в качестве выделенного канала трафика. Таким образом, второй вариант осуществления данного изобретения также предлагает схему приема/передачи пилот-сигнала по восходящей линии связи для случая, когда выделенный канал трафика предоставляется терминалу абонента. Однако в отличие от первого варианта осуществления, который передает пилот-сигнал через все Nd поднесущих для времени tp, второй вариант осуществления передает пилот-сигнал через предопределенное количество поднесущих, например, через одну поднесущую, а сигнал данных – через (Nd-1) поднесущих для времени tp. Для того чтобы передать пилот-сигнал и сигнал данных одновременно для времени tp, второй вариант осуществления ортогонально расширяет спектр пилот-сигнала и сигнала данных, используя разные ортогональные коды или коды расширения спектра. Таким образом, для времени tp пилот-сигнал и сигнал данных подвергаются мультиплексированию с кодовым разделением в частотной области. Длина ортогональных кодов используется для мультиплексирования с кодовым разделением, или ортогонального расширения спектра, пилот-сигнала, а сигнал данных является Nd. Таким образом, второй вариант осуществления отдельно задает ортогональные коды, используемые для пилот-поднесущих, и ортогональные коды, используемые для поднесущих данных в частотной области таким образом, чтобы сигнал данных мог быть передан в течение длительности, за которую передается пилот-сигнал, таким образом максимизируя эффективность передачи. Другими словами, несмотря на то, что первый вариант осуществления передает только пилот-сигнал через все Nd поднесущих для времени tp для того, чтобы непроизводительные затраты на пилот-сигнал в выделенном канале трафика, включающем в себя Nd поднесущих, определялись как второй вариант осуществления передает пилот-сигнал через одну поднесущую, а сигнал данных через (Nd-1) поднесущих для времени tp, для того, чтобы непроизводительные затраты на пилот-сигнал были намного меньше, чем 
Фиг.6 – блок-схема, иллюстрирующая внутреннюю структуру устройства для передачи пилот-сигналов по восходящей линии связи, согласно второму варианту осуществления данного изобретения. Перед тем как будет сделано описание Фиг.6, предполагается, что система связи множественного доступа с ортогональным разделением частот (OFDMA) передает пилот-сигналы способом, описанным в связи с фиг.5. На фиг.5, в связи с тем, что Nd поднесущих предоставляются конкретному передатчику, например терминалу абонента, в качестве выделенного канала трафика, пилот-сигнал или сигнал данных передается через Nd поднесущих. Кроме того, на фиг.5, в связи с тем, что период, в который передается пилот-сигнал, равен tp+ td, а время передачи пилот-сигнала равно tp, то пилот-сигнал передается через одну поднесущую из числа Nd поднесущих, а сигнал данных передается через (Nd-1) поднесущих для времени tp, и лишь только сигнал данных передается через Nd поднесущих для длительности передачи td, исключая время tp, в периоды tp+ td
Что касается фиг.6, то сигнал одной пилот-поднесущей и сигналы (Nd-1) поднесущих данных вводятся на мультиплексор 611 с кодовым разделением (CDM), а сигналы Nd поднесущих данных вводятся на мультиплексор 613 с кодовым разделением. Мультиплексор 611 с кодовым разделением ортогонально расширяет спектр сигнала одной пилот-поднесущей и сигналов в (Nd-1) поднесущих данных, используя предопределенные ортогональные коды, и выводит сигналы с расширенным спектром на последовательно-параллельный преобразователь 615. Мультиплексор 613 с кодовым разделением ортогонально расширяет спектр сигналов Nd поднесущих данных, используя предопределенные ортогональные коды, и выводит сигналы с расширенным спектром на последовательно-параллельный преобразователь 617.
Последовательно-параллельный преобразователь 615 выполняет преобразование в параллельное представление сигнала, выходящего из мультиплексора 611 с кодовым разделением, и выводит преобразованные в параллельное представление сигналы на мультиплексор 619 с временным разделением. А также последовательно-параллельный преобразователь 617 выполняет преобразование в параллельное представление сигнала, выходящего из мультиплексора 613 с кодовым разделением, и выводит преобразованные в параллельное представление сигналы на мультиплексор 619 с временным разделением. Мультиплексор 619 с временным разделением мультиплексирует с временным разделением сигналы, выходящие из последовательно-параллельных преобразователей 615 и 617, согласно способу передачи пилот-сигнала по восходящей линии связи, описанному в связи с фиг.5, и выводит мультиплексированные с разделением по времени сигналы на модуль 621 M-точечного обратного быстрого преобразования Фурье. Модуль 621 обратного быстрого преобразования Фурье (IFFT) принимает сигналы Nd поднесущих, выходящие из мультиплексора 619 с временным разделением, а также принимает сигналы (М-Nd) поднесущих, выполняет обратное быстрое преобразование Фурье (IFFT) принятых сигналов и выводит обработанные обратным быстрым преобразованием Фурье (IFFT) сигналы на параллельно-последовательный (P/S) преобразователь 623. Как описано выше, пилот-сигналы или сигналы данных передаются через Nd поднесущих, а нулевые данные передаются через (М-Nd) поднесущих. Причина для передачи нулевых данных через (М-Nd) поднесущих подобна описанной в связи с фиг.3, таким образом, ее подробное описание будет опущено.
Параллельно-последовательный преобразователь 623 выполняет преобразование в последующее представление сигналов, выходящих из модуля 621 обратного быстрого преобразования Фурье (IFFT), и выводит преобразованный в последовательное представление сигнал на блок 625 вставки защитного интервала. Блок 625 вставки защитного интервала вставляет сигнал защитного интервала в сигнал, выходящий от параллельно-последовательного преобразователя 623, и выводит сигнал со вставленным защитным интервалом на цифроаналоговый преобразователь 627. Цифроаналоговый преобразователь 627 выполняет преобразование в аналогичное представление сигнала, выходящего из блока 625 вставки защитного интервала, и выводит преобразованный в аналоговое представление сигнал на радиочастотный (RF) процессор 629. Радиочастотный (RF) процессор 629, включающий в себя фильтр и препроцессор, выполняет РЧ-обработку сигнала, выходящего из цифроаналогового преобразователя 627 так, чтобы сигнал мог быть фактически передан по воздуху, и передает РЧ-обработанный сигнал по воздуху через передающую антенну.
Фиг.7 – блок-схема, иллюстрирующая внутреннюю структуру устройства для приема пилот-сигналов по восходящей линии связи, согласно второму варианту осуществления данного изобретения. Устройство приема пилот-сигнала по восходящей линии связи, проиллюстрированное на фиг.7, соответствует устройству передачи пилот-сигнала по восходящей линии связи, проиллюстрированному на фиг.6. Сигнал, передающийся устройством передачи пилот-сигнала по восходящей линии связи, принимается через антенну устройства приема пилот-сигнала по восходящей линии связи приемника или базовой станции, принятый сигнал, испытывает воздействие многолучевого канала и имеет шумовой компонент. Принятый через антенну сигнал вводится на радиочастотный (RF) процессор 711, а радиочастотный (RF) процессор 711 преобразовывает с понижением частоты принятый через антенну сигнал в сигнал промежуточной частоты, и выводит сигнал промежуточной частоты (IF) на аналого-цифровой преобразователь 713. Аналого-цифровой преобразователь 713 выполняет преобразование в цифровое представление аналогового сигнала, выходящего из радиочастотного (RF) процессора 711, и выводит преобразованный в цифровое представление сигнал на блок 715 исключения защитного интервала.
Блок 715 исключения защитного интервала исключает сигнал защитного интервала из преобразованного в цифровое представление сигнала, выходящего из аналого-цифрового преобразователя 713, и выводит сигнал с исключенным защитным интервалом на последовательно-параллельный преобразователь 717. Последовательно-параллельный преобразователь 717 выполняет преобразование в параллельное представление последовательного сигнала, выходящего из блока 715 исключения защитного интервала, и выводит преобразованный в параллельное представление сигнал на модуль 719 быстрого преобразования Фурье. Модуль 719 быстрого преобразования Фурье (FFT) выполняет М-точечное быстрое преобразование Фурье (FFT) сигнала, выходящего из последовательно-параллельного преобразователя 717, и выводит обработанный быстрым преобразованием Фурье (FFT) сигнал на селектор 721 поднесущих. Селектор 721 поднесущих выделяет Nd поднесущих, используемых в качестве выделенного информационного канала, из М сигналов поднесущих, выходящих из модуля 719 быстрого преобразования Фурье (FFT), и выводит выделенные сигналы на демультиплексор 723 с временным разделением. Демультиплексор 723 с временным разделением демультиплексирует с разделением по времени сигналы, выходящие из селектора 721 поднесущих, согласно способу передачи пилот-сигнала по восходящей линии связи, описанному в связи с фиг.5, и выводит сигналы поднесущих, принятые для времени tp, на параллельно-последовательный преобразователь 725, а сигналы поднесущих, принятые для времени td – на параллельно-последовательный преобразователь 727.
Параллельно-последовательный преобразователь 725 выполняет преобразование в последовательное представление сигналов поднесущих, выходящих из демультиплексора 723 с временным разделением, и выводит преобразованные в последовательное представление сигналы на демультиплексор 729 с кодовым разделением. Точно так же параллельно-последовательный преобразователь 727 выполняет преобразование в последовательное представление сигналов поднесущих, выходящих из демультиплексора 723 с временным разделением, и выводит преобразованные в последовательное представление сигналы на демультиплексор 731 с кодовым разделением. Демультиплексор 729 с кодовым разделением ортогонально сужает спектр сигнала одной пилот-поднесущей и сигналов (Nd-1) поднесущих данных из числа сигналов, выходящих из параллельно-последовательного преобразователя 725, используя ортогональные коды, отдельно предоставляемые (назначаемые) для этого. Демультиплексор 731 с кодовым разделением ортогонально сужает спектр сигналов Nd поднесущих, выходящих из параллельно-последовательного преобразователя 727, используя предопределенный ортогональный код. Ортогональные коды, используемые в демультиплексорах 729 и 731 с кодовым разделением, идентичны ортогональным кодам, используемым в мультиплексорах 611 и 613 с кодовым разделением устройства передачи пилот-сигнала по восходящей линии связи, изображенного на фиг.6.
Фиг.8 – график, схематично иллюстрирующий структуру передачи пилот-сигнала по восходящей линии связи, согласно третьему варианту осуществления данного изобретения. В структуре передачи пилот-сигнала по восходящей линии связи, проиллюстрированной на Фиг.8, система связи OFDM предоставляет подканал, включающий в себя Nd поднесущих (Nd ND), конкретному передатчику, например, терминалу абонента, в качестве выделенного канала трафика. Таким образом, третий вариант осуществления данного изобретения также предлагает схему приема/передачи пилот-сигнала по восходящей линии связи для случая, когда выделенный канал трафика предоставляется терминалу абонента. Однако, в отличие от первого и второго вариантов осуществления, третий вариант осуществления одновременно передает пилот-сигналы и сигналы данных через соответствующие поднесущие для времени t1, и передает только сигналы данных через все соответствующие поднесущие для времени t2. Чтобы одновременно передать пилот-сигналы и сигналы данных через соответствующие поднесущие для времени t1, третий вариант осуществления выполняет мультиплексирование с кодовым разделением пилот-сигналов и сигналов данных во временной области для времени t1. Как описано выше, коды используемые для ортогонального расширения спектра пилот-сигналов и сигналов данных представляют собой ортогональные коды. Длину ортогональных кодов используемых для пилот-сигналов и сигналов данных представляет L. Таким образом, третий вариант осуществления отдельно устанавливает ортогональные коды, используемые для пилот-поднесущих, и ортогональные коды, используемые для поднесущих данных во временной области для того, чтобы сигнал данных мог быть передан даже в течение длительности, когда передается пилот-сигнал, таким образом, максимизируя эффективность передачи.
Другими словами, третий вариант осуществления одновременно передает пилот-сигналы и сигналы данных через соответствующие поднесущие для времени t1, для того, чтобы непроизводительные издержки на пилот-сигнал в выделенном канале трафика, включающем в себя Nd поднесущих, были намного меньше, чем 
Фиг.9 – блок-схема, иллюстрирующая внутреннюю структуру устройства для передачи пилот-сигналов по восходящей линии связи, согласно третьему варианту осуществления данного изобретения. Перед тем, как будет сделано описание фиг.9, предполагается, что система связи множественного доступа с ортогональным разделением частот (OFDMA) передает пилот-сигналы способом, описанным в связи с фиг.8.
Что касается фиг.9, то сигнал одной пилот-поднесущей и сигналы (Nd-1) поднесущих данных вводятся в мультиплексор 911 с кодовым разделением, а сигналы Nd поднесущих данных вводятся в мультиплексор 913 с кодовым разделением. Мультиплексор 911 с кодовым разделением ортогонально расширяет спектр сигнала одной пилот-поднесущей и сигналов (Nd-1) поднесущих данных, используя предопределенные ортогональные коды, и выводит сигналы с расширенным спектром на мультиплексор 915 с временным разделением. Мультиплексор 913 с кодовым разделением ортогонально расширяет спектр сигналов (Nd) поднесущих данных, используя предопределенный ортогональный код, и выводит сигналы с расширением спектра на мультиплексор 915 с временным разделением.
Мультиплексор 915 с временным разделением мультиплексирует с временным разделением сигналы, выходящие из мультиплексоров 911 и 913 с кодовым разделением, согласно способу передачи пилот-сигнала по восходящей линии связи, описанному в связи с фиг.8, и выводит мультиплексированные с разделением по времени сигналы на модуль 917 М-точечного обратного быстрого преобразования Фурье. Модуль 917 обратного быстрого преобразования Фурье (IFFT) принимает сигналы Nd поднесущих, выходящие из мультиплексора 915 с временным разделением, а также принимает сигналы (М-Nd) поднесущих, выполняет обратное быстрое преобразование Фурье (IFFT) принятых сигналов, и выводит обработанные обратным быстрым преобразованием Фурье (IFFT) сигналы на параллельно-последовательный преобразователь 919. Как описано выше, пилот-сигналы или сигналы данных передаются через Nd поднесущих, а нулевые данные передаются через (М-Nd) поднесущих. Причина для передачи нулевых данных через (М-Nd) поднесущих подобна описанной в связи с фиг.3, таким образом, ее подробное описание будет опущено.
Параллельно-последовательный преобразователь 919 выполняет преобразование в последовательное представление сигналов, выходящих из модуля 917 обратного быстрого преобразования Фурье (IFFT), и выводит преобразованные в последовательное представление сигналы на блок 921 вставки защитного интервала. Блок 921 вставки защитного интервала вставляет сигнал защитного интервала в сигнал, выходящий из параллельно-последовательного преобразователя 919, и выводит сигнал со вставленным защитным интервалом на цифроаналоговый преобразователь 923. Цифроаналоговый преобразователь 923 выполняет преобразование в аналоговое представление сигнала, выходящего из блока 921 вставки защитного интервала, и выводит преобразованный в аналоговое представление сигнал на радиочастотный (RF) процессор 925. Радиочастотный (RF) процессор 925, включающий в себя фильтр и препроцессор, выполняет РЧ-обработку сигнала, выходящего из цифроаналогового преобразователя 923 для того, чтобы сигнал мог быть фактически передан по воздуху, и передает РЧ-обработанный сигнал по воздуху через передающую антенну.
Фиг.10 – блок-схема, иллюстрирующая внутреннюю структуру устройства для приема пилот-сигналов по восходящей линии связи, согласно третьему варианту осуществления данного изобретения. Устройство приема пилот-сигнала по восходящей линии связи, проиллюстрированное на фиг.10, соответствует устройству передачи пилот-сигнала по восходящей линии связи, проиллюстрированному на фиг.9. Сигнал, передающийся устройством передачи пилот-сигнала по восходящей линии связи, принимается через антенну устройства приема пилот-сигнала по восходящей линии связи приемника или базовой станции, принятый сигнал испытывает воздействие многолучевого канала и имеет шумовой компонент. Принятый через антенну сигнал вводится на радиочастотный (RF) процессор 1011, затем радиочастотный (RF) процессор 1011 преобразовывает с понижением частоты принятый через антенну сигнал в сигнал промежуточной частоты, и затем выводит сигнал промежуточной частоты (IF) на аналого-цифровой преобразователь 1013. Аналого-цифровой преобразователь 1013 выполняет преобразование в цифровое представление аналогового сигнала, выходящего из радиочастотного (RF) процессора 1011, и выводит преобразованный в цифровое представление сигнал на блок 1015 исключения защитного интервала.
Блок 1015 исключения защитного интервала исключает сигнал защитного интервала из преобразованного в цифровое представление сигнала, выходящего из аналого-цифрового преобразователя 1013, и выводит сигнал с исключенным защитным интервалом на последовательно-параллельный преобразователь 1017. Последовательно-параллельный преобразователь 1017 выполняет преобразование в параллельное представление последовательного сигнала, выходящего из блока 1015 исключения защитного интервала, и выводит преобразованный в параллельное представление сигнал на модуль 1019 быстрого преобразования Фурье. Модуль 1019 быстрого преобразования Фурье (FFT) выполняет М-точечное быстрое преобразование Фурье (FFT) сигнала, выходящего из последовательно-параллельного преобразователя 1017, и выводит сигнал, обработанный быстрым преобразованием Фурье (FFT), на селектор 1021 поднесущих. Селектор 1021 поднесущих выделяет Nd поднесущих, используемых в качестве выделенного канала трафика из сигналов М поднесущих, выходящих из модуля 1019 быстрого преобразования Фурье (FFT), и выводит выделенные сигналы на демультиплексор 1023 с временным разделением. Демультиплексор 1023 с временным разделением демультиплексирует с временным разделением сигналы, выходящие из селектора 1021 поднесущих, согласно способу передачи пилот-сигнала по восходящей линии связи, описанному в связи с фиг.8, и выводит сигналы поднесущих, принятые для времени t1, на демультиплексор 1025 с кодовым разделением, а сигналы поднесущих, принятые для времени t2, – на демультиплексор 1027 с кодовым разделением.
Демультиплексор 1025 с кодовым разделением ортогонально сужает спектр сигналов, выходящих из демультиплексора 1023 с временным разделением, для времени t1 с ортогональными кодами и выводит сигнал одной пилот-поднесущей и сигналы (Nd-1) поднесущих данных. Подобным образом демультиплексор 1027 с кодовым разделением ортогонально сужает спектр сигналов, выходящих из демультиплексора 1023 с временным разделением для времени t2 с ортогональными кодами и выводит сигналы Nd поднесущих данных. Ортогональные коды, используемые в демультиплексорах 1025 и 1027 с кодовым разделением, идентичны ортогональным кодам, используемым в мультиплексорах 911 и 913 с кодовым разделением из устройства передачи пилот-сигнала по восходящей линии связи, изображенного на фиг.9.
Фиг.11 – график, схематично иллюстрирующий структуру передачи пилот-сигнала по восходящей линии связи, согласно четвертому варианту осуществления данного изобретения. В способе передачи пилот-сигнала по восходящей линии связи, проиллюстрированном на фиг.11, система связи множественного доступа с ортогональным разделением частот (OFDMA) предоставляет подканал, включающий в себя Nd поднесущих (Nd ND), конкретному передатчику, например терминалу абонента, в качестве совместно используемого канала трафика. Таким образом, четвертый вариант осуществления данного изобретения предлагает схему приема/передачи пилот-сигнала по восходящей линии связи для случая, когда совместно используемый канал трафика назначается терминалу абонента. Как проиллюстрировано на фиг.11, пилот-сигнал передается по восходящей линии связи для времени tp в периоды tp+ td.
На фиг.11 предполагается, что используются ортогональные коды, с длиной N1, удовлетворяющей отношению NS=k N1 для конкретного целого числа k. Когда уникальные ортогональные коды с длиной N1 предоставляются (назначаются) соответствующим абонентским терминалам, совместно использующим совместно используемый канал трафика, то каждый из абонентских терминалов ортогонально расширяет спектр пилот-сигнала, используя ортогональный код, уникально предоставленный (назначенный) ему для времени tp, перед передачей. Поэтому, когда используются ортогональные коды с длиной N1, k абонентских терминалов могут одновременно передавать пилот-сигналы для времени tp. Таким образом, если предполагается, что имеется U групп абонентских терминалов, использующих совместно используемый канал трафика, то конкретный абонентский терминал передает пилот-сигнал в периоды [( tp+ td) U].
Например, если предполагается, что NS=800, а N1=16, то 16 абонентских терминалов могут одновременно передавать пилот-сигналы для времени tp. Пилот-сигналы этих 16 абонентских терминалов повторяются 50 раз (k=50) в частотной области, а базовая станция может измерять состояние канала в частотной области, соответствующей 800 поднесущим, используемым в качестве совместно используемого канала трафика. Если предполагается, что существует 4 группы абонентских терминалов, использующих совместно используемый канал трафика (U=4), tp=50 мкс, а td=1 мс, то абонентский терминал, принадлежащий конкретной группе абонентских терминалов, может передавать пилот-сигнал в периоды [( tp+ td) U]=[(50 мкс + 1 мс) 4]=4,2 мс.
Фиг.12 – блок-схема, иллюстрирующая внутреннюю структуру устройства для передачи пилот-сигналов по восходящей линии связи, согласно четвертому варианту осуществления данного изобретения. Перед тем, как будет сделано описание фиг.12, предполагается, что система связи множественного доступа с ортогональным разделением частот (OFDMA) передает пилот-сигналы способом, описанным в связи с фиг.11. Что касается фиг.12, то пилот-сигнал для конкретного терминала абонента вводится в блок 1211 расширения спектра, затем блок 1211 расширения спектра ортогонально расширяет спектр входного пилот-сигнала, используя ортогональный код с длиной N1, уникально предоставленный (назначенный) терминалу абонента, и выводит сигнал с расширенным спектром на последовательно-параллельный преобразователь 1213. Последовательно-параллельный преобразователь 1213 выполняет преобразование в параллельное представление сигнала, выходящего из блока 1211 расширения спектра, и выводит преобразованные в параллельное представление сигналы на распределитель 1215. Распределитель 1215 распределяет сигналы, выходящие из последовательно-параллельного преобразователя 1213, по k ветвям для того, чтобы вывести сигналы к модулю 1217 обратного быстрого преобразования Фурье.
Модуль 1217 обратного быстрого преобразования Фурье (IFFT) принимает сигналы поднесущих, выходящие из распределителя 1215, а также принимает сигналы (M-NS) поднесущих, выполняет обратное быстрое преобразование Фурье (IFFT) принятых сигналов, и выводит обработанные обратным быстрым преобразованием Фурье (IFFT) сигналы на параллельно-последовательный преобразователь 1219. Здесь, нулевые данные передаются через (M-NS) поднесущих. Причиной для передачи нулевых данных через (M-NS) поднесущих является то, что сигналы на поднесущих, отличных от NS поднесущих, не относятся к совместно используемому информационному каналу. Случай, когда нулевые данные передаются через (M-NS) поднесущих, соответствует случаю, когда сигналы передаются только через NS поднесущих и никакие отдельные сигналы не передаются через оставшиеся (M-NS) поднесущих. В устройстве передачи пилот-сигнала по восходящей линии связи, если существует сигнал, подлежащий передаче через (M-NS) поднесущих, отличных от NS поднесущих, то сигнал передается через поднесущие, соответствующие уровню сигнала среди (M-NS) поднесущих, а нулевые данные передаются только через оставшиеся поднесущие. Конечно, если уровень передачи сигнала настолько высок, что могут использоваться все (M-NS) поднесущих, то сигнал передается через (M-NS) поднесущих.
Параллельно-последовательный преобразователь 1219 выполняет преобразование в последовательное представление сигналов, выходящих из модуля 1217 обратного быстрого преобразования Фурье (IFFT), и выводит преобразованный в последовательное представление сигнал на блок 1221 вставки защитного интервала. Блок 1221 вставки защитного интервала вставляет сигнал защитного интервала в сигнал, выходящий из параллельно-последовательного преобразователя 1219, и выводит сигнал со вставленным защитным интервалом на цифроаналоговый преобразователь 1223. Цифроаналоговый преобразователь 1223 выполняет преобразование в аналоговое представление сигнала, выходящего из блока 1221 вставки защитного интервала, и выводит преобразованный в аналоговое представление сигнал на радиочастотный (RF) процессор 1225. Радиочастотный (RF) процессор 1225, включающий в себя фильтр и препроцессор, выполняет РЧ-обработку сигнала, выходящего из цифроаналогового преобразователя 1223 так, чтобы сигнал мог фактически передаваться по воздуху, и передает РЧ-обработанный сигнал по воздуху через передающую антенну.
ФИГ.13 – блок-схема, иллюстрирующая внутреннюю структуру устройства для приема пилот-сигналов по восходящей линии связи, согласно четвертому варианту осуществления данного изобретения. Устройство приема пилот-сигнала по восходящей линии связи, проиллюстрированное на фиг.13, соответствует устройству передачи пилот-сигнала по восходящей линии связи, проиллюстрированному на фиг.12. Сигнал, переданный устройством передачи пилот-сигнала по восходящей линии связи, принимается через антенну устройства приема пилот-сигнала по восходящей линии связи приемника или базовой станции, принимаемый сигнал испытывает влияние многолучевого канала и имеет шумовой компонент. Принятый через антенну сигнал вводится в радиочастотный (RF) процессор 1311, затем радиочастотный (RF) процессор 1311 преобразовывает с понижением частоты принятый через антенну сигнал в сигнал промежуточной частоты, и выводит сигнал промежуточной частоты (IF) на аналого-цифровой преобразователь 1313. Аналого-цифровой преобразователь 1313 выполняет преобразование в цифровое представление аналогового сигнала, выходящего из радиочастотного (RF) процессора 1311, и выводит преобразованный в цифровое представление сигнал на блок 1315 исключения защитного интервала.
Блок 1315 исключения защитного интервала исключает сигнал защитного интервала из преобразованного в цифровое представление сигнала, выходящего из аналого-цифрового преобразователя 1313, и выводит сигнал с исключенным защитным интервалом на последовательно-параллельный преобразователь 1317. Последовательно-параллельный преобразователь 1317 выполняет преобразование в параллельное представление последовательного сигнала, выходящего из блок 1315 исключения защитного интервала, и выводит преобразованный в параллельное представление сигнал на модуль 1319 быстрого преобразования Фурье. Модуль 1319 быстрого преобразования Фурье (FFT) выполняет М-точечное быстрое преобразование Фурье (FFT) сигнала, выходящего из последовательно-параллельного преобразователя 1317, и выводит обработанный быстрым преобразованием Фурье (FFT) сигнал на селектор 1321 поднесущих. Селектор 1321 поднесущих выделяет NS поднесущих, используемых в качестве совместно используемого канала трафика из М сигналов поднесущих, выходящих из модуля 1319 быстрого преобразования Фурье (FFT). Затем, селектор 1321 поднесущих группирует выделенные NS поднесущих в N1 поднесущих, и по отдельности выводит группы N1 поднесущих на параллельно-последовательные преобразователи 1323-1327.
Например, предположим, что селектор 1321 поднесущих сгруппировал Ns поднесущих в k групп N1 поднесущих. В этом случае, селектор 1321 поднесущих выводит первые N1 поднесущих (первую группу N1 поднесущих) на параллельно-последовательный преобразователь 1323, вторые N1 поднесущих (вторую группу N1 поднесущих) на параллельно-последовательный преобразователь 1325, а k-ые N1 поднесущих (k-ую группу N1 поднесущих) на параллельно-последовательный преобразователь 1327.
Параллельно-последовательный преобразователь 1323 выполняет преобразование в последовательное представление первых N1 поднесущих, выходящих из селектора 1321 поднесущих, и выводит преобразованные в последовательное представление поднесущие на блок 1329 сужения спектра. Параллельно-последовательный преобразователь 1325 выполняет преобразование в последовательное представление вторых N1 поднесущих, выходящих из селектора 1321 поднесущих, и выводит преобразованные в последовательное представление поднесущие на блок 1331 сужения спектра. Аналогичным способом параллельно-последовательный преобразователь 1327 выполняет преобразование в последовательное представление k-х N1 поднесущих, выходящих из селектора 1321 поднесущих, и выводит преобразованные в последовательное представление поднесущие на блок 1333 сужения спектра.
Блок 1329 сужения спектра сужает спектр сигнала, выходящего из параллельно-последовательного преобразователя 1323, используя ортогональный код или код сужения спектра, уникально предоставленный терминалу абонента. Выходящий из блока 1329 сужения спектра сигнал становится пилот-сигналом для полосы частот, соответствующей первым N1 поднесущим из числа Ns поднесущих, составляющих совместно используемый канал трафика. Блок 1331 сужения спектра ортогонально сужает спектр сигнала, выходящего из параллельно-последовательного преобразователя 1325, используя ортогональный код, уникально предоставленный терминалу абонента. Выходящий из блока 1331 сужения спектра сигнал становится пилот-сигналом для полосы частот, соответствующей вторым N1 поднесущим из числа Ns поднесущих, составляющих совместно используемый канал трафика. Аналогичным способом блок 1333 сужения спектра ортогонально сужает спектр сигнала, выходящего из параллельно-последовательного преобразователя 1327, используя ортогональный код, уникально предоставленный терминалу абонента. Выходящий из блока 1333 сужения спектра сигнал становится пилот-сигналом для полосы частот, соответствующей последним N1 поднесущим из числа Ns поднесущих, составляющих совместно используемый канал трафика.
Как может быть понято из предшествующего описания, предложенная в данном изобретении схема приема/передачи пилот-сигнала по восходящей линии связи допускает схему адаптации восходящей линии связи в системе связи множественного доступа с ортогональным разделением частот (OFDMA). В предложенной схеме приема/передачи пилот-сигнала по восходящей линии связи, базовая станция может измерять состояние канала терминала абонента для того, чтобы схема адаптации восходящей линии связи, такая как схема адаптивной модуляции и кодирования (AMC), могла быть использована даже для сигналов восходящей линии связи.
В то время как изобретение было показано и описано в отношении определенного предпочтительного варианта его осуществления, специалистам в данной области техники будет понятно, что различные изменения, касающиеся формы и подробностей, могут быть сделаны, не отступая от сущности и объема изобретения, как определено приложенной формулой изобретения.
Формула изобретения
1. Способ передачи опорного сигнала в системе связи множественного доступа с ортогональным разделением частот (OFDMA), в которой общая полоса частот разделена на множество полос поднесущих, включающий в себя этапы, на которых выполняют мультиплексирование с разделением по времени так, чтобы опорный сигнал передавался для первой длительности в предопределенном количестве полос поднесущих из множества полос поднесущих, а сигнал, отличный от опорного сигнала, передавался для второй длительности, отличной от первой длительности; и передают мультиплексированные с разделением по времени сигналы полос поднесущих.
2. Способ по п.1, в котором этап передачи мультиплексированных с разделением по времени сигналов полос поднесущих включает в себя этап, на котором выполняют обратное быстрое преобразование Фурье (IFFT) мультиплексированных с разделением по времени сигналов полос поднесущих и параллельно-последовательное преобразование обработанного обратным быстрым преобразованием Фурье (IFFT) сигнала; вставляют сигнал защитного интервала в сигнал, подвергнутый параллельно-последовательному преобразованию, для устранения помех; выполняют цифроаналоговое преобразование сигнала со вставленным защитным интервалом и преобразовывают сигнал, подвергнутый цифроаналоговому преобразованию, в радиочастотный (RF) сигнал; и передают радиочастотный сигнал.
3. Способ приема опорного сигнала в системе связи множественного доступа с ортогональным разделением частот (OFDMA), в которой общая полоса частот разделена на множество полос поднесущих, включающий в себя этапы, на которых выполняют процесс приема сигнала и выделяют предопределенное количество сигналов полос поднесущих из множества полос поднесущих из принятого сигнала; и выполняют демультиплексирование с временным разделением так, чтобы выделенные сигналы полос поднесущих для первой длительности были выведены в качестве опорного сигнала, а выделенные сигналы полос поднесущих для второй длительности, отличной от первой длительности, были выведены в качестве сигнала, отличного от опорного сигнала.
4. Способ по п.3, в котором этап выполнения процесса приема сигнала включает в себя этапы, на которых принимают радиочастотный (RF) сигнал, преобразовывают радиочастотный (RF) сигнал в основополосный сигнал, и выполняют аналого-цифровое преобразование основополосного сигнала;
исключают сигнал защитного интервала из подвергнутого аналого-цифровому преобразованию сигнала, вставленный для устранения помех; и выполняют последовательно-параллельное преобразование сигнала с исключенным защитным интервалом и выполняют быстрое преобразование Фурье (FFT) подвергнутого преобразованию последовательно-параллельного сигнала.
5. Устройство для передачи опорного сигнала в системе связи множественного доступа с ортогональным разделением частот (OFDMA), в которой общая полоса частот разделена на множество полос поднесущих, включающее в себя мультиплексор с разделением по времени для выполнения мультиплексирования с разделением по времени так, чтобы опорный сигнал передавался для первой длительности в предопределенном количестве полос поднесущих из множества полос поднесущих, а сигнал, отличный от опорного сигнала, передавался для второй длительности, отличной от первой длительности; и передатчик для передачи мультиплексированных с разделением по времени сигналов полос поднесущих.
6. Устройство по п.5, в котором передатчик включает в себя модуль обратного быстрого преобразования Фурье (IFFT) для выполнения обратного быстрого преобразования Фурье (IFFT) мультиплексированных с разделением по времени сигналов полос поднесущих; параллельно-последовательный преобразователь для параллельно-последовательного преобразования обработанного обратным быстрым преобразованием Фурье (IFFT) сигнала; блок вставки защитного интервала для вставки сигнала защитного интервала в подвергнутый параллельно-последовательному преобразованию сигнал для устранения помех; цифроаналоговый преобразователь для цифроаналогового преобразования сигнала со вставленным защитным интервалом; и радиочастотный (RF) процессор для преобразования подвергнутого цифроаналоговому преобразованию сигнала в радиочастотный (RF) сигнал перед передачей.
7. Устройство для приема опорного сигнала в системе связи множественного доступа с ортогональным разделением частот (OFDMA), в которой общая полоса частот разделена на множество полос поднесущих, включающее в себя приемник для выполнения процесса приема сигнала; селектор поднесущих для выделения предопределенного количества сигналов полос поднесущих из множества полос поднесущих из принятого сигнала; и демультиплексор с разделением по времени для выполнения демультиплексирования с разделением по времени так, чтобы выделенные сигналы полос поднесущих были выведены в качестве опорного сигнала для первой длительности, а выделенные сигналы полос поднесущих были выведены в качестве сигнала, отличного от опорного сигнала, для второй длительности, отличной от первой длительности.
8. Устройство по п.7, в котором приемник включает в себя радиочастотный (RF) процессор для приема радиочастотного (RF) сигнала и преобразования радиочастотного (RF) сигнала в основополосный сигнал; аналого-цифровой преобразователь для аналого-цифрового преобразования основополосного сигнала; блок исключения защитного интервала для исключения сигнала защитного интервала из подвергнутого аналого-цифровому преобразованию сигнала, вставленного для устранения помех; и последовательно-параллельный преобразователь для последовательно-параллельного преобразования сигнала с исключенным защитным интервалом; и модуль быстрого преобразования Фурье (FFT) для выполнения быстрого преобразования Фурье (FFT) подвергнутого последовательно-параллельному преобразованию сигнала.
9. Способ передачи опорного сигнала в системе связи множественного доступа с ортогональным разделением частот (OFDMA), в которой общая полоса частот разделена на множество полос поднесущих, включающий в себя этапы, на которых выполняют мультиплексирование с разделением по времени так, чтобы опорный сигнал и сигнал, отличающийся от опорного сигнала, подвергались мультиплексированию с кодовым разделением для первой длительности в предопределенном количестве полос поднесущих из множества полос поднесущих, а сигнал, отличный от опорного сигнала, подвергался мультиплексированию с кодовым разделением для второй длительности, отличной от первой длительности; и передают мультиплексированные с разделением по времени сигналы полос поднесущих.
10. Способ по п.9, в котором этап мультиплексирования с кодовым разделением опорного сигнала и сигнала, отличного от опорного сигнала, для первой длительности включает в себя этапы, на которых расширяют спектр опорного сигнала, передаваемого через одну или несколько полос поднесущих из числа предопределенного количества полос поднесущих для первой длительности, используя первый код; и расширяют спектр сигнала, отличного от опорного сигнала, передаваемого через полосы поднесущих, отличные от полос поднесущих, через которые передается опорный сигнал, из числа предопределенного количества полос поднесущих для первой длительности, используя второй код.
11. Способ по п.9, в котором этап передачи мультиплексированных с разделением по времени сигналов полос поднесущих включает в себя этапы, на которых выполняют обратное быстрое преобразование Фурье (IFFT) мультиплексированных с разделением по времени сигналов полос поднесущих и параллельно-последовательное преобразование обработанного обратным быстрым преобразованием Фурье (IFFT) сигнала; и вставляют сигнал защитного интервала в подвергнутый параллельно-последовательному преобразованию сигнал для устранения помех;
выполняют цифроаналоговое преобразование сигнала со вставленным защитным интервалом и преобразование подвергнутого цифроаналоговому преобразованию сигнала в радиочастотный (RF) сигнал; и передают радиочастотный сигнал.
12. Способ приема опорного сигнала в системе связи множественного доступа с ортогональным разделением частот (OFDMA), в которой общая полоса частот разделена на множество полос поднесущих, включающий в себя этапы, на которых выполняют процесс приема сигнала и выделяют предопределенное количество сигналов полос поднесущих из множества полос поднесущих из принятого сигнала; и выполняют демультиплексирование с разделением по времени так, чтобы опорный сигнал и сигнал, отличный от опорного сигнала, были выведены посредством демультиплексирования с кодовым разделением сигналов выделенных полос поднесущих для первой длительности, а сигнал, отличный от опорного сигнала, был выведен посредством демультиплексирования с кодовым разделением сигналов выделенных полос поднесущих для второй длительности, отличной от первой длительности.
13. Способ по п.12, в котором этап демультиплексирования с кодовым разделением сигналов выделенных полос поднесущих для первой длительности, включает в себя этапы, на которых сужают спектр сигналов, принятых через одну или более полос поднесущих из числа предопределенного количества полос поднесущих для первой длительности, используя первый код; и сужают спектр сигналов, принятых через полосы поднесущих, отличные от полос поднесущих, спектр которых сужен с использованием первого из кода среди предопределенного количества полос поднесущих для первой длительности, используя второй код.
14. Способ по п.12, в котором этап выполнения процесса приема сигнала включает в себя этапы, на которых принимают радиочастотный (RF) сигнал, выполняя преобразование радиочастотного (RF) сигнала в основополосный сигнал, аналого-цифровое преобразование основополосного сигнала; исключают сигнал защитного интервала из подвергнутого аналого-цифровому преобразованию сигнала, вставленный для устранения помех; и выполняют последовательно-параллельное преобразование сигнала с исключенным защитным интервалом и выполняют быстрое преобразование Фурье (FFT) подвергнутого последовательно-параллельному преобразованию сигнала.
15. Устройство для передачи опорного сигнала в системе связи множественного доступа с ортогональным разделением частот (OFDMA), в которой общая полоса частот разделена на множество полос поднесущих, включающее в себя первый мультиплексор с кодовым разделением для расширения спектра опорного сигнала, передаваемого через одну или более полос поднесущих из предопределенного количества полос поднесущих для первой длительности, используя первый код, и расширения спектра сигнала, отличного от опорного сигнала, передаваемого через полосы поднесущих, отличные от полос поднесущих, через которые передается опорный сигнал, из предопределенного количества полос поднесущих, используя второй код;
второй мультиплексор с кодовым разделением для расширения спектра сигнала, отличного от опорного сигнала, передаваемого через предопределенное количество полос поднесущих, для второй длительности, отличной от первой длительности, используя второй код; мультиплексор с временным разделением для выполнения мультиплексирования с временным разделением так, чтобы сигнал, выходящий с первого мультиплексора с кодовым разделением, передавался для первой длительности, а сигнал, выходящий со второго мультиплексора с кодовым разделением, передавался для второй длительности; и передатчик для передачи мультиплексированных с разделением по времени сигналов полос поднесущих.
16. Устройство по п.15, в котором передатчик включает в себя модуль обратного быстрого преобразования Фурье (IFFT) для выполнения обратного быстрого преобразования Фурье (IFFT) мультиплексированных с разделением по времени сигналов полос поднесущих; параллельно-последовательный преобразователь для выполнения параллельно-последовательного преобразования обработанного обратным быстрым преобразованием Фурье (IFFT) сигнала; блок вставки защитного интервала для вставки сигнала защитного интервала в подвергнутый параллельно-последовательному преобразованию сигнал для устранения помех; цифроаналоговый преобразователь для выполнения цифроаналогового преобразования сигнала со вставленным защитным интервалом; и радиочастотный (RF) процессор для выполнения преобразования подвергнутого цифроаналоговому преобразованию сигнала в радиочастотный (RF) сигнал перед передачей.
17. Устройство для приема опорного сигнала в системе связи множественного доступа с ортогональным разделением частот (OFDMA), в которой общая полоса частот разделена на множество полос поднесущих, включающее в себя приемник для выполнения процесса приема сигнала; селектор поднесущих для выделения предопределенного количества сигналов полос поднесущих из множества полос поднесущих из принятого сигнала; демультиплексор с разделением по времени для вывода выделенных сигналов полос поднесущих на первый демультиплексор с кодовым разделением для первой длительности, и вывода выделенных сигналов полос поднесущих на второй демультиплексор с кодовым разделением для второй длительности, отличной от первой длительности; первый демультиплексор с кодовым разделением для сужения спектра сигнала, принимаемого через одну или несколько полос поднесущих из числа предопределенного количества полос поднесущих, используя первый код, и сужения спектра сигнала, принимаемого через полосы поднесущих, отличные от полос поднесущих, через которые принимается опорный сигнал, используя второй код; и второй демультиплексор с кодовым разделением для сужения спектра сигнала, принимаемого через предопределенное количество полос поднесущих, используя второй код.
18. Устройство по п.17, в котором приемник включает в себя радиочастотный (RF) процессор для приема радиочастотного (RF) сигнала и преобразования радиочастотного (RF) сигнала в основополосный сигнал; аналого-цифровой преобразователь для выполнения аналого-цифрового преобразования основополосного сигнала; блок исключения защитного интервала для исключения сигнала защитного интервала из подвергнутого аналого-цифровому преобразованию сигнала, вставленного для устранения помех; последовательно-параллельный преобразователь для выполнения последовательно-параллельного преобразования сигнала с исключенным защитным интервалом; и модуль быстрого преобразования Фурье (FFT) для выполнения быстрого преобразования Фурье (FFT), подвергнутого последовательно-параллельному преобразованию сигнала.
19. Способ передачи опорного сигнала в системе связи множественного доступа с ортогональным разделением частот (OFDMA), в которой общая полоса частот разделена на NT полос поднесущих, включающий в себя этапы, на которых расширяют спектр опорного сигнала, с использованием предопределенного кода для первой длительности в предоставленных NS полосах поднесущих из числа NS полос поднесущих, совместно используемых всеми абонентскими терминалами из NT полос поднесущих; распределяют NS сигналов полос поднесущих после расширения спектра по предопределенному количеству ветвей; и передают NS распределенных сигналов полос поднесущих после расширения спектра.
20. Способ по п.19, в котором этап передачи NS сигналов полос поднесущих после расширения спектра включает в себя этап, на котором выполняют обратное быстрое преобразование Фурье (IFFT) NS сигналов полос поднесущих после расширения спектра, параллельно-последовательное преобразование обработанного обратным быстрым преобразованием Фурье (IFFT) сигнала; вставляют сигнал защитного интервала в подвергнутый параллельно-последовательному преобразованию сигнал для устранения помех; выполняют цифроаналоговое преобразование сигнала со вставленным защитным интервалом и преобразование подвергнутого цифроаналоговому преобразованию сигнала в радиочастотный (RF) сигнал; и передают радиочастотный сигнал.
21. Способ приема опорного сигнала в системе связи множественного доступа с ортогональным разделением частот (OFDMA), в которой общая полоса частот разделена на NТ полос поднесущих, включающий в себя этапы, на которых выполняют процесс приема сигнала, и выделяют предоставленные сигналы Ns полос поднесущих из числа NS полос поднесущих, совместно используемых всеми абонентскими терминалами, из NT полос поднесущих принятого сигнала; и сужают спектр выделенных сигналов Ns полос поднесущих, используя предопределенный код.
22. Способ по п.21, в котором процесс выполнения процесса приема сигнала включает в себя этапы, на которых принимают радиочастотный (RF) сигнал, выполняя преобразование радиочастотного (RF) сигнала в основополосный сигнал, и аналого-цифровое преобразование основополосного сигнала; исключают сигнал защитного интервала из подвергнутого аналого-цифровому преобразованию сигнала, вставленный для устранения помех; и выполняют последовательно-параллельное преобразование сигнала с исключенным защитным интервалом, и выполняют быстрое преобразование Фурье (FFT), подвергнутого последовательно-параллельному преобразованию сигнала.
23. Устройство для передачи опорного сигнала в системе связи множественного доступа с ортогональным разделением частот (OFDMA), в которой общая полоса частот разделена на NT полос поднесущих, включающее в себя блок расширения спектра для расширения спектра опорного сигнала с использованием предопределенного кода для первой длительности в назначенных Ns полосах поднесущих из числа Ns полос поднесущих совместно используемых всеми абонентскими терминалами в NT полосах поднесущих; распределитель для распределения сигналов Ns полос поднесущих после расширения спектра по предопределенному количеству ветвей; и передатчик для передачи распределенных сигналов Ns полос поднесущих после расширения спектра.
24. Устройство по п.23, в котором передатчик включает в себя модуль обратного быстрого преобразования Фурье (IFFT) для выполнения обратного быстрого преобразования Фурье (IFFT) распределенных сигналов NS полос поднесущих после расширения спектра; параллельно-последовательный преобразователь для выполнения параллельно-последовательного преобразования, обработанного обратным быстрым преобразованием Фурье (IFFT) сигнала; блок вставки защитного интервала для вставки сигнала защитного интервала в подвергнутый параллельно-последовательному преобразованию сигнал для устранения помех; цифроаналоговый преобразователь для выполнения цифроаналогового преобразования сигнала со вставленным защитным интервалом; и радиочастотный (RF) процессор для преобразования подвергнутого цифроаналоговому преобразованию сигнала в радиочастотный (RF) сигнал перед передачей.
25. Устройство для приема опорного сигнала в системе связи множественного доступа с ортогональным разделением частот (OFDMA), в которой общая полоса частот разделена на NT полос поднесущих, включающее в себя приемник для выполнения процесса приема сигнала; селектор поднесущих для выделения предоставленных сигналов NS полос поднесущих из числа NS полос поднесущих, совместно используемых всеми абонентскими терминалами в NT полосах поднесущих из принятого сигнала; и блок сужения спектра для сужения спектра выделенных сигналов NS полос поднесущих с использованием предопределенного кода.
26. Устройство по п.25, в котором приемник включает в себя радиочастотный (RF) процессор для приема радиочастотного (RF) сигнала и преобразования радиочастотного (RF) сигнала в основополосный сигнал; аналого-цифровой преобразователь для выполнения аналого-цифрового преобразования основополосного сигнала; блок исключения защитного интервала для исключения сигнала защитного интервала из подвергнутого аналого-цифровому преобразованию сигнала, вставленного для устранения помех; последовательно-параллельный преобразователь для выполнения последовательно-параллельного преобразования сигнала с исключенным защитным интервалом; и модуль быстрого преобразования Фурье (FFT) для выполнения быстрого преобразования Фурье (FFT), подвергнутого последовательно-параллельному преобразованию сигнала.
РИСУНКИ
|
|