|
|
(21), (22) Заявка: 2003104618/09, 17.02.2003
(24) Дата начала отсчета срока действия патента:
16.06.1994
(30) Конвенционный приоритет:
16.06.1993 DE P4319830.9
(43) Дата публикации заявки: 27.08.2004
(46) Опубликовано: 20.01.2008
(56) Список документов, цитированных в отчете о поиске:
SU 1084998 A1, 03.09.1992. WO 9215164 A1, 03.09.1992. US 5103459 A, 07.04.1992. JP 5102943, 23.04.1993.
(62) Номер и дата подачи первоначальной заявки, из которой данная заявка выделена: 95106493 16.06.1994
Адрес для переписки:
129010, Москва, ул. Б. Спасская, 25, стр.3, ООО “Юридическая фирма Городисский и Партнеры”, пат.пов. Ю.Д.Кузнецову, рег.№ 595
|
(72) Автор(ы):
ПАНЦЕР Херберт (DE)
(73) Патентообладатель(и):
КОНИНКЛЕЙКЕ ФИЛИПС ЭЛЕКТРОНИКС Н.В. (NL)
|
(54) СИСТЕМА ПЕРЕДАЧИ МНОЖЕСТВЕННОГО ДОСТУПА С КОДОВЫМ РАЗДЕЛЕНИЕМ КАНАЛОВ
(57) Реферат:
Изобретение относится к системе передачи множественного доступа с кодовым разделением каналов (МДКР). Высокая гибкость системы обеспечивается за счет создания кадровой структуры, причем передаваемая в кадре полезная информация сжимается в пакеты. Передаваемые данные, появляющиеся в кадре, концентрируются в пакете, причем отношение длины кадра к длительности пакета указывает на достигнутую степень сжатия, при этом могут быть реализованы разные и четко ранжированные степени сжатия. Может осуществляться непрерывная передача с очень высокими скоростями передачи данных полезных сигналов, при этом полная длина кадра может использоваться как пакет, но, с другой стороны, в случае данных полезных сигналов с низкой скоростью передачи используется только часть кадра. 4 з.п. ф-лы, 12 ил.
Изобретение относится к системе множественного доступа с кодовым разделением каналов (МДКР), содержащей по меньшей мере передатчик, в котором последовательность данных расширяется кодовой последовательностью, и по меньшей мере приемник, в котором последовательности данных восстанавливаются посредством детектора.
В передающей системе, основанной на множественном доступе с кодовым разделением каналов (МДКР), сигналы различных пользователей одновременно коммутируются в общий диапазон частот и коммутируются с общей несущей частотой.
Системы множественного доступа с кодовым разделением каналов основаны на технологии расширения диапазона частот, т.е. сигнал, подлежащий передаче, расширяется по частотному диапазону, который значительно шире, чем наименьший частотный диапазон, требуемый для передачи сигнала. Расширение диапазона делает системы множественного доступа с кодовым разделением каналов в общем случае весьма помехоустойчивыми.
Для расширения частотного диапазона в системах множественного доступа с кодовым разделением каналов каждый передаваемый бит полезного сигнала умножается на кодовое слово, согласованное между передатчиком и приемником. Для различения битов последовательности полезных данных, подлежащей кодированию, бит кодового слова в общем случае соотносится с элементарной посылкой. Использование подходящих кодовых слов исключает, в принципе, взаимные помехи сигналов индивидуальных пользователей.
Для получения конкретной частоты ошибок в битах при использовании МДКР заданная мощность помех требует мощности сигнала, которая приблизительно пропорциональна частоте следования передаваемых битов. В системах МДКР, в которых индивидуальные пользователи используют различные частоты следования битов полезных сигналов в зависимости от применения, например при передаче кодированных речевых сигналов, факсимильной передаче и т.д., в целях экономного использования частот желательно нагружать передающую систему МДКР только частотньм диапазоном необходимой ширины.
Например, из заявки РСТ WO 92/15164 известна такая передающая система МДКР, в которую введен программируемый генератор тактовых импульсов для получения переменной полосы частот, посредством которого заранее задается тактовая частота следования элементарных посылок каждого выбранного кодового слова. Чем более высокой выбирается частота следования элементарных посылок, тем шире результирующая полоса частот расширенного по спектру переданного сигнала.
Для практических целей тактовые частоты следования элементарных посылок выбираются как целое кратное основной тактовой частоте. Поэтому в предпочтительном варианте выполнения упомянутой заявки на патент полоса частот равна 1,2 МГц или кратна этой величине.
Задачей изобретения является создание системы передачи множественного доступа с кодовым разделением каналов, характеризуемой признаками, изложенными в независимом пункте 1 и обеспечивающими высокую гибкость системы. Эта задача решается за счет создания кадровой структуры, причем передаваемая в кадре полезная информация сжимается в пакеты. Предпочтительные варианты осуществления вышеуказанного объекта охарактеризованы в соответствующих зависимых пунктах.
В соответствии с изобретением передаваемые данные, появляющиеся в кадре, могут быть сконцентрированы в пакете, причем отношение длины кадра к длительности пакета указывает на достигнутую степень сжатия. Таким способом могут быть реализованы разные и четко ранжированные степени сжатия. Как и прежде, может вестись непрерывная передача с очень высокими скоростями передачи данных полезных сигналов; тем самым полная длина кадра может использоваться как пакет, но, с другой стороны, в случае данных полезных сигналов с низкой скоростью передачи используется только часть кадра.
Пакет в кадре характеризуется внутрикадровым начальным моментом t0 и соответствующей длительностью td. Эти параметры могут выбираться так, чтобы зависеть от системы или от канала связи вследствие избирательного расширения спектра, но могут также изменяться в канале связи. Подходящие меры, например управляемое задание начального момента t0 фиксированной станцией или также случайный выбор начального момента t0 для самой передающей станции, могут обеспечить то, что кадры заполняются настолько однородно, насколько это возможно, что обеспечивает сбалансированное экономное использование частот.
В наиболее выгодном варианте выполнения изобретения обеспечивается выбор степени растяжения в зависимости от первоначальной скорости передачи данных полезного сигнала. Можно преобразовать различные скорости передачи битов полезного сигнала в постоянную выходную скорость передачи битов; так называемую частоту следования элементарных посылок.
Когда та же самая информация полезного сигнала должна передаваться в уплотненном пакете, результатом является то, что скорость передачи битов сжатых по времени данных полезного сигнала увеличивается обратно пропорционально отношению длины пакета к длине кадра. Для достижения соответствующей частоты ошибок в битах для этой увеличенной скорости передачи битов в одном из вариантов выполнения изобретения предусматривается увеличение мощности пропорционально степени сжатия.
Таким образом, коэффициенты сжатия могут выбираться или даже устанавливаться переменным образом, в результате чего передаваемая мощность сказывается на длительности пакета.
Характерной особенностью мобильной радиосвязи, основанной на МДКР, является то, что особенно в направлении передачи на неподвижную станцию сигналы, относящиеся к одной и той же скорости передачи битов полезного сигнала, должны приниматься с одной и той же мощностью, а мощность шума соседних ячеек может быть равной только части полной принятой мощности. В канале связи между, например, малыми ячейками и перекрывающими их большими ячейками это условие не может быть удовлетворено, так как достаточная адаптация мощности в малой ячейке и соседство неподвижной станции большой ячейки невозможно из-за значительно более высокой мощности большой ячейки.
Различные операторы будут в общем случае устанавливать свои ячейки радиосвязи некоординированным образом. Это может привести к тому, что границы ячейки одного оператора точно совпадут с позицией неподвижных станций другого оператора. В таком случае будет невозможно осуществить подходящую адаптацию мощности, потому что в каждом случае, по меньшей мере в неподвижной станции мощность шума будет значительно выше мощности полезного сигнала.
Для решения этой проблемы изобретение предлагает выбирать положение t0 начала пакета в зависимости от размера ячейки. Таким образом, области пакетов, в которых работают малые ячейки, могут быть отделены от областей кадров, в которых работают большие ячейки. Помехи из-за различных передаваемых мощностей тогда в значительной степени исключаются. Границы между пакетами могут быть определены с необходимыми безопасными расстояниями, определяемыми для конкретных ситуаций, причем коэффициент графика радиосвязи в различных категориях ячеек (от малой ячейки к большой ячейке и т.д.) является решающим параметром.
Исключительно простое решение обеспечивается в случае, если кадры для всех категорий ячеек синхронизированы, что, однако, может быть гарантировано за счет использования соответствующих устройств (например, центра коммутации мобильных станций, как в системе GSM) и каналов сигнализации.
В случае различных некоординированных операторов будут иметь место недопустимые помехи, так как синхронизацию кадров невозможно предусмотреть заранее. Для решения этой проблемы в изобретении предусматривается определение подходящей и более пригодной для использования временной области в кадре и на ячейку путем измерения распределения напряженности поля в кадре на неподвижной или мобильной станции.
Для такого измерения кадр подразделяется на временные интервалы, к которым относится соответствующее измерение. Затем выбирается такой пакет, который покрывает, например, n последовательных временных интервалов в зависимости от передаваемой информации. Особым вариантом является выделение точно одного временного интервала в каждый момент.
Мобильные системы радиосвязи основаны на дуплексной передаче с направлениями прямой линии связи (от неподвижной станции к мобильной станции) и обратной линии связи (от мобильной станции к неподвижной станции). Два направления передачи могут быть разделены в частотной области (дуплексный режим с частотным разделением – ДЧР) или во временной области (дуплексный режим с временным разделением – ДВР). Услуги передачи данных характеризуются тем, что скорости передачи битов полезного сигнала в двух направлениях могут иметь разные значения (асимметричные линии связи). Некоторые из этих линий косвенным образом принимаются во внимание в МДКР тем, что выбирается адаптивный коэффициент расширения и передача может осуществляться с соответственно адаптированной мощностью. Однако если асимметрия имеет место для всей среды передачи ячейки, например, ввиду того, что диапазон услуг включает в себя распределенные услуги, то различные частотные диапазоны из ресурса радиосвязи должны выделяться двум передающим установкам, например для ДЧР выбирается полоса 500 кГц для обратной линии связи и 4 МГц для прямой линии связи. Так как частотные области в общем случае подчиняются глобальному планированию, которое должно принимать в расчет множество пользователей, такое определение полос не отличается гибкостью.
В другом варианте выполнения изобретение предусматривает разделение направления передачи (прямая линия связи/обратная линия связи) между передатчиком и приемником в функции времени, тогда как элемент времени может быть определен переменным образом для каждого направления передачи.
Если используется разделение во времени (ДВР), каждый отдельный оператор сам определяет, в какой степени он использует свой диапазон частот для двух направлений передачи. Согласно основному принципу возможно, чтобы длина пакета переменным образом адаптировалась в соответствии со средними скоростями передачи битов для двух направлений (причем дополнительно принимается во внимание необходимая частота ошибок в битах).
Эта адаптация не может быть выполнена отдельно для каждой индивидуальной линии связи, так как в противном случае возникает перекрытие и недопустимые помехи либо на стороне неподвижной станции либо на мобильной станции. Это также не является необходимым, так как случайные исключения принимаются во внимание относительно адаптированной мощностью. Перекрытие также может быть недопустимым для соседних ячеек, так как либо соседняя неподвижная станция (если она имеет более высокую мощность передатчика, чем мобильная станция) может создать помехи приему мобильной станции либо прием в неподвижной станции может испытывать помехи на границе ячейки со стороны, расположенной поблизости мобильной станции соседней ячейки. Поэтому необходимо координировать изменение границ для двух направлений соответствующим общим контроллером, как описано выше. Помимо этого имеется также возможность рассматривать соседние ячейки как некоординированные и выполнять децентрализованное измерение, как описано выше.
Уже отмечено, что одна только система МДКР недостаточна для реализации достаточного разделения пользователей во всех случаях. Поэтому изобретение предусматривает дополнительное разделение во временной области. Изобретение предлагает в качестве дополнительной альтернативы временно передавать сообщения в различных частотных областях, например, для выполнения передачи обслуживания.
Путем сжатия данных полезного сигнала по меньшей мере в два пакета с одним и тем же содержимым можно таким путем передавать во временном кадре одну и ту же информацию как в первом диапазоне частот, так и по меньшей мере во втором диапазоне частот последовательно.
Изобретение поясняется ниже на примерах осуществления, показанных на чертежах, на которых представлено следующее:
Фиг.1 – передающая система МДКР, содержащая передатчик и приемник,
Фиг.2а – структура кадра системы МДКР,
Фиг.2в – корреляция между скоростью передачи данных, длительностью пакета и принятой мощностью,
Фиг.3 – распределение пакетов в кадре в малых ячейках и в больших ячейках,
Фиг.4 – ситуация помех с локальным наложением по меньшей мере для двух систем МДКР в одном и том же частотном диапазоне,
Фиг.5 – заполнение кадра пакетами в системе МДКР, имеющей различные взаимно несинхронизированные пользователи,
Фиг.6 – пример применения для случая асинхронной работы (различные скорости данных для прямой линии связи и для обратной линии связи),
Фиг.7 – иллюстрация ситуации с помехами,
Фиг.8 – иллюстрация использования отдельных пакетов для полезного сигнала и пилот-сигнала,
Фиг.9 – иллюстрация использования группы пилот-сигналов, наложенных на полезный сигнал, в случае несинхронизированных ячеек,
Фиг.10 – иллюстрация использования сжатия блоков данных полезного сигнала для создания временных интервалов измерения,
Фиг.11 – использование двух передатчиков для передачи пакетных сигналов в различных частотных диапазонах, когда необходим только один приемник, и
Фиг.12 – использование единственного передатчика для передачи пакетных сигналов в различных частотных диапазонах, когда необходимы два отдельных приемника.
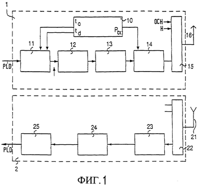
На фиг.1 показана система МДКР, например мобильная система радиосвязи, содержащая передатчик 1 и приемник 2. Передатчик 1 и приемник 2 используют временные кадры FR (фиг.2а), которые подразделены на временные интервалы одинаковой длины (не показаны). В каждом временном интервале передается блок полезных данных. Это заранее предполагает использование данных с блочной структурой или подразделение непрерывного потока полезных данных (например, цифровых речевых сигналов) на блоки данных с одинаковой продолжительностью по времени. В зависимости от скорости передачи данных исходного полезного сигнала (например, речевого сигнала, факсимильных данных, буквенно-цифровых сообщений и т.п.) имеются таким образом блоки данных разной длины, пригодные для передачи в каждом временном интервале передаваемого кадра. Полезный сигнал PLD, подлежащий передаче, подается в цифровом виде на генератор 11 кадров. Поток данных, поступающий на генератор 11 кадров, может быть буферизован блоками в средстве запоминания перед передачей блоков данных на последующий блок 12 расширения. Обработка и буферизация данных блочной структуры вызывает задержки. Чтобы эти задержки не воспринимались в речевых сигналах, в приведенном в качестве примера варианте выполнения длина кадра выбирается равной 10 мс.
Каждый буферизованный блок полезных данных может быть сжат в блок DB данных, имеющий временную длительность td, в соответствии с которой генератор 11 кадров изменяет скорость передачи данных, когда блоки передаются на блок 12 расширения. Эти сжатые блоки DB данных упоминаются ниже как пакет или пакет МДКР, чтобы отличить его от блока полезных данных. Известным образом биты данных пакета расширяются по спектру в блоке 12 расширения путем умножения на многоразрядное кодовое слово, так что при последующей модуляции расширенного сигнала в модуляторе 13 вырабатывается сигнал, имеющий соответственно более широкий частотный диапазон, чем исходный не расширенный сигнал. Этот расширенный сигнал затем подвергается управлению по мощности в каскаде 14 управления мощностью перед объединением с другими каналами ОСН, Н, для получения суммарного сигнала в суммирующем каскаде 15, и передачи посредством антенны 16.
Длительность td пакета во времени, момент t0, относящийся к началу кадра, а также мощность Рtx передатчика, с которой передается пакет, являются заранее заданными величинами для генератора 11 кадров и каскада 14 управления мощностью, полученными от блока 10 управления. Мощность Рtx передатчика управляется так, чтобы в приемнике 2 принималась конкретная принятая мощность Р. Предпочтительно мощность Рtx передатчика должна выбираться так, чтобы принятая мощность Р была пропорциональна выбранной скорости передачи данных передаваемого пакета. Это означает, что если продолжительность td пакета во времени выбрана более короткой, при том же размере блока полезного сигнала, блок 10 управления будет выбирать мощность Рtx передатчика соответственно выше, чтобы гарантировать соответственно более высокую принятую мощность Р (ср. фиг.2в). Обозначениями Р’, t’d и ‘ обозначены соответственно другая принятая мощность, другая выбранная скорость передачи данных и другая продолжительность во времени. В данном примере =8 кб/с и ‘=12 кб/с.
В приемнике 2 смесь сигналов, принятая антенной 21, распределяется по индивидуальным схемам обработки сигналов блоком 22 распределения сигналов. Соответственно для каждого канала приема или абонента предусматривается одна такая схема обработки сигнала. В каждой схеме обработки сигнал сначала демодулируется в демодуляторе 23 и сжимается известным образом в блоке свертки 24. Различение между каналом и абонентом проводится здесь с помощью кодового слова, использованного на передающем конце. В декодере 25 из принятых пакетов восстанавливается первоначальный полезный сигнал PLD.
Необходимым отличительным признаком мобильной системы радиосвязи, основанной на МДКР, является то, что в неподвижной станции сигналы от отдельных абонентов, для одной и той же скорости передачи битов полезных сигналов, в идеале должны приниматься, по существу, с одинаковой мощностью для обеспечения оптимального разделения индивидуальных сигналов. Более того, принятые из соседних ячеек сигналы, которые далее упоминаются как мощность шума, формируют только часть полной принятой мощности. Это условие не может сохраняться в системе радиосвязи МДКР, сформированной большими и малыми ячейками, так как вследствие значительно более высокой мощности передатчика большой ячейки адекватная адаптация мощности в малой ячейке, расположенной по соседству с большой ячейкой, невозможна.
Изобретение может быть использовано для определения в кадре FR по меньшей мере зоны F1 обслуживания для малых ячеек, которые отделены по меньшей мере от зоны F2 обслуживания для больших ячеек (см. фиг.3). Полезные сигналы из больших и малых ячеек затем сжимаются в пакеты так, чтобы передаваться в соответствующих суб-кадрах F1 и F2.
Разделение на пакет малой ячейки и пакет большой ячейки обеспечивает то, что мощность шума, принятая от неподвижной станции малой ячейки, ограничена другими малыми ячейками, а мощность шума, принятая от неподвижной станции большой ячейки, ограничена другими большими ячейками. Пакеты а, в, с малых ячеек передаются на более низкой скорости передачи данных, чем пакеты X, У больших ячеек, тогда как для одинаковых скоростей передачи данных основных полезных сигналов обеспечивается соответственно более длинный период пакета, так что передача пакетов а, в, с малых ячеек требует лишь относительно малой мощности передатчика. В результате мощность шума, принятая из других малых ячеек, также мала, даже если малые ячейки являются ближайшими ячейками. Для абонентов больших ячеек, с другой стороны, может быть надежно выбрана более высокая степень сжатия с более высокой мощностью, так как увеличение большой ячейки обеспечивает эквивалентный коэффициент помехозащищенности в соседних больших ячейках.
Фиг.4 иллюстрирует другую нежелательную шумовую ситуацию, в которой два различных оператора А и В двух независимых систем радиосвязи МДКР, которые должны использовать один и тот же частотный диапазон и разделять абонентов только разными кодами, имеют приемные станции, расположенные некоординированным образом. Наихудшая ситуация может возникнуть, когда оператор В расположил свою неподвижную станцию на границе ячейки радиосвязи оператора А. В результате невозможно выполнить согласование мощности, так как на любой скорости по меньшей мере на неподвижной станции мощность шума, обусловленная другим оператором, значительно выше мощности полезного сигнала ее собственных абонентов. Знак * обозначает помехи, когда сумма мощности I помех намного больше, чем сумма мощности P полезного сигнала, что показывает, что никакое управление невозможно.
Синхронизация всех операторов в случае взаимонезависимых операторов является очень дорогостоящей. Суб-кадр для каждого оператора, отдельного от других операторов, как и описанное выше отделение кадра для малых и больших ячеек, является поэтому не всегда наиболее практичным решением. Без общей синхронизации кадров, тем не менее, появляются помехи, что недопустимо.
Еще в одном варианте выполнения предполагается, что индивидуальные операторы передают свои данные предпочтительно в одинаково длинных, но взаимно независимо выбранных кадрах FR. Предпочтительно, если кадры FR подразделены на равноудаленные временные интервалы, когда каждый оператор работает в пакетном режиме, т.е. использует один или более временных интервалов с соответственно более высокой мощностью передатчика для передачи данных своих абонентов. Намеренно обходятся без использования всей длины кадра. В таком случае в кадре появляются неиспользованные или малоиспользованные области. Путем измерения распределения напряженности поля в кадре каждая неподвижная станция каждого оператора и выборочно также связанные с ней мобильные станции могут найти неиспользованные временные интервалы и выбрать для передачи несколько последовательных свободных временных интервалов в зависимости от объема информации, подлежащей передаче (см. фиг.5). Выбор скорости передачи данных и мощности передатчика делает возможной адаптацию объема данных, подлежащих передаче, к числу доступных временных интервалов. Стрелка AR1 показывает пакет размером в два последовательных временных интервала, а стрелки AR2 и AR3 показывают размер после измерения.
В следующем варианте выполнения различные скорости передачи битов полезных сигналов используются для передачи с неподвижной станции на мобильную станцию (нисходящая линия связи) и с мобильной станции на неподвижную станцию (восходящая линия связи) (асимметричная линия связи). Достаточно большая часть кадра используется для направления передачи, которое требует более высокой скорости передачи полезных данных, а другая часть кадра используется для другого направления. Хотя в этом случае зависимые от времени ограничения суб-кадров предпочтительно дают постоянное значение, возможно в суб-кадрах адаптировать действительно необходимые скорости передачи полезных данных снова через мощность передатчика. Например, согласно фиг.6, на которой пакет d должен иметь более высокую скорость передачи битов полезного сигнала, чем пакеты а, в, с, мощность передатчика для пакета d для нисходящей линии связи выбирается так, что он принимается с соответственно более высокой мощностью приема. Мощности приема пакетов U, V, W, Х для восходящей линии связи, с другой стороны, управляются посредством соответствующих скоростей передачи данных, так что они все принимаются приемником на неподвижной станции с одной и той же мощностью.
Предпочтительно, чтобы разделение на суб-кадры восходящей линии связи и нисходящей линии связи во всей системе МДКР выбиралось одинаковым, иначе это может привести к помеховой ситуации, показанной на фиг.7. Согласно фиг.7 оператор В создает помехи из-за более высокой мощности передатчика, а диапазон Y из указанных диапазонов Х и Y создает помехи из-за близости расположения. При различных длительностях суб-кадров нисходящей линии связи и восходящей линии связи будет происходить перекрывание по времени части суб-кадра нисходящей линии связи ячейки радиосвязи с частью суб-кадра восходящей линии связи другой ячейки радиосвязи. В таком случае неподвижная станция может создавать помехи своей соседней неподвижной станции или мобильным станциям на границе ячейки, осуществляющим передачи с большей мощностью из-за максимального расстояния от их неподвижной станции, и может создавать помехи ближайшей мобильной станции соседней ячейки. Таким образом, также выгодно в этом случае использовать синхронизированное подразделение кадра на множество временных интервалов с измерением напряженности поля перед занятием свободного временного интервала.
В следующем варианте выполнения имеется по меньшей мере несколько передатчиков, работающих с разными частотными диапазонами. Для взаимного различения отдельных ячеек радиосвязи имеется полезный сигнал, предусмотренный в некоторых вариантах выполнения, который передается индивидуальными передатчиками. В таком варианте выполнения в процессе вызова может быть необходимо изменять частотные диапазоны, например:
– если различным категориям ячеек назначены различные частоты и во время вызова должна быть выполнена передача обслуживания, например, с малой ячейки на большую ячейку. В этом случае пилот-сигнал большой ячейки имеет частоту, отличную от частоты пилот-сигнала, используемого только в малой ячейке;
– частотные диапазоны МДКР имеют минимальное значение, например 500 кГц, так как только в данном случае достаточное количество пользователей одновременно могут обеспечить эффективное использование наложения кодов. Для операторов небольших сетей, определенных, например, некоординированным использованием беспроводных учрежденческих телефонных станций с исходящей и входящей связью (из которых обязательно некоторое число телефонных станций может находиться в одном учрежденческом здании), или, в крайнем случае, определенных как простые пользователи беспроводных телефонов, присвоение частотного диапазона каждому оператору неэффективно. Эти операторы будут совместно использовать частотные диапазоны, тогда как должна иметься возможность динамически сменить частотный диапазон на другой, если изменится шумовая ситуация;
– также может иметь место ситуация, в которой желательна передача обслуживания на соседнюю ячейку, но эта ячейка предпочтительно должна иметь отличающуюся частотную область;
– в системе МДКР в общем случае возможно использовать один и тот же частотный диапазон в собственной ячейке станции и в соседних ячейках. Тем не менее, это не имеет силы, если степень расширения становится малой при очень высоких скоростях передачи битов полезных сигналов. В этом случае также необходим динамический переход на другие частоты.
Переход на другую частоту имеет двойное требование:
– действия по измерениям и идентификации, например распознавание возможных соседних станций на основе пилот-сигнала с одновременным измерением напряженности поля или измерение мощности шума в возможной частотной области для передачи обслуживания;
– обмен информацией сигнализации. Может выполняться так называемая прямая передача обслуживания, в которой обмен информацией выполняется уже с новой частотой. Это быстрый переход, так как, начиная с момента перехода, полезные сигналы могут передаваться со скоростью, вдвое большей скорости на предыдущей частоте, а в другом направлении, когда передача обслуживания принимается правильно, завершение реализуется предыдущей (завершающей) линией связи. Характерной особенностью здесь является то, что линия связи существует в течение определенного периода времени с двумя частотами. Преимущество заключается в том, что полезные сигналы теряются (непрерывная передача обслуживания). Вторая возможность заключается в том, что сигнализация может передаваться, насколько это возможно, с прежней частотой. Этот способ менее скоростной, так как мобильные станции и новые ячейки сначала должны быть полностью согласованы, прежде чем сможет быть реализован такой переход. Мобильная станция, кроме приема на новой частоте, должна также передавать сигнал на этой новой частоте для проверки восходящей линии связи. Необходимо отметить, что параллельные передача и прием должны выполняться на новой и старой частотах, если должна выполняться непрерывная передача полезных сигналов.
Эти соображения по аналогии справедливы для разделения по времени. Разница, тем не менее, в том, что для параллельной работы в двух временных интервалах будет достаточно одного приемопередатчика, но не для двух различных частот.
Однако использование более одного приемопередатчика приводит к значительному увеличению стоимости и потребления тока, особенно в мобильной станции. Поэтому ограничение одним приемопередатчиком желательно по меньшей мере для простых (телефонных) мобильных станций. Для использования в качестве беспроводного телефона также может быть выгодно использован только один приемопередатчик для неподвижной станции. Это рассматривается как дополнительный вариант выбора. В настоящее время предполагается, что только мобильная станция ограничена использованием одного приемопередатчика.
Нисходящая линия связи
а) Идентификация кандидатов для смены ячеек
В мобильных системах радиосвязи существует надежный способ передачи каждой неподвижной станцией своего идентификационного кода (пилот-сигнала) по каналу пилот-сигнала. Путем измерения мощности, принятой по каналу пилот-сигнала, и декодирования идентификационных кодов мобильная станция затем получает необходимую информацию для смены ячеек. В системе МДКР каналы пилот-сигналов разделены своими кодами и поэтому могут находиться в одном и том же частотном диапазоне. Но, как описано выше, есть исключения в случаях различных размеров ячеек и некоординированной среды передачи множества операторов. Каналы пилот-сигналов могут лежать в разных диапазонах. Решение с применением одного приемопередатчика представлено на фиг.8: полезные сигналы а, в, с и информация pil пилот-сигнала соответственно передаются в последовательных пакетах. На стороне приемника после приема полезных сигналов можно изменить частотный диапазон, чтобы принимать пилот-сигналы в различных частотных диапазонах.
Приемник мобильной станции по фиг.8 сначала принимает пакет d полезных сигналов в частном диапазоне X, а затем меняет настройку своего приемника так, что в том же временном кадре принимает пилот-сигнал pil в частотном диапазоне Y. На фиг.8 показана относительная мощность рг. Верхняя часть фиг.8 относится к состоянию передачи в большой ячейке, центральная часть фиг.8 относится к состоянию передачи в малой ячейке, и нижняя часть фиг.8 относится к приемнику в мобильной станции.
Вариант осуществления, показанный на фиг.8, предпочтительно используется в полностью синхронизированной системе радиосвязи МДКР. В несинхронизированной системе радиосвязи МДКР рекомендуется вариант выполнения, показанный на фиг.9. Пилот-сигналы pil в ячейках, передающих пилот-сигналы, наложены в следующих друг за другом пакетах на другие пакеты полезных сигналов. Приемник, приняв свой пакет полезных сигналов, переключается на другой частотный диапазон для приема следующего переданного пакета пилот-сигнала. Для приема полного пакета пилот-сигнала временной интервал для приема пакета пилот-сигнала должен быть по меньшей мере вдвое длиннее, чем длительность пакета пилот-сигнала.
в) Идентификация кандидатов для смены частоты
Для этой цели должны быть найдены частоты с наименьшей возможной напряженностью поля (и, таким образом, с меньшей ожидаемой мощностью шума). Однако условия таковы, что напряженность поля флюктуирует слишком сильно на интервале кадра (можно считать, например, что на фиг.8 другой оператор, который не использует пилот-сигнал и оказывается синхронизированным, передает на определенной частоте).
Есть два решения:
– мощности передатчика для двух пакетов сравниваются с максимумом. Это приводит к бесполезным затратам спектра, или
– пакеты динамически адаптируются, так что измерение может проводиться на целом кадре.
На фиг.10а показан вариант выполнения, в котором, например, передача полезных данных выполняется по всему времени кадра в передатчике. Затем в следующем временном кадре блок полезных данных сжимается в пакет, так что после приема пакета есть достаточно времени, чтобы приемник мог провести измерения в других частотных диапазонах на остальной части временного кадра. Прямым следствием сжатия блока полезных данных является более высокая мощность передатчика для пакета, как следует из фиг.10а. Верхняя часть фиг.10а относится к передатчику, стрелка AR4 показывает увеличенную скорость передачи данных, а нижняя часть фиг.10а относится к приемнику, стрелки AR5 и AR6 показывают измерение на других частотах.
Вытекающий отсюда вариант выполнения показан на фиг.10в. Во втором временном кадре как блок полезных данных для второго временного кадра, так и блок полезных данных для третьего временного кадра передаются вместо блока полезных данных, предназначенного для второго временного кадра, так что для приемника третий временной кадр полностью пригоден для последующих измерений. Верхняя часть фиг.10в относится к передатчику, стрелка AR7 показывает увеличенную скорость передачи битов, а нижняя часть фиг.10в относится к приемнику, стрелка AR8 показывает измерения.
с) Процедура непрерывной передачи обслуживания
Переходная передача с перекрытием по нисходящей линии связи может быть реализована тем, что полезное сообщение предыдущей линии связи сконцентрировано в части кадра и передается посредством первого передатчика ТА (ср. вариант выполнения по фиг.11). Второй передатчик ТВ, который может относиться к той же или к другой неподвижной станции, концентрирует то же полезное сообщение в дополнительной части. Использование двух приемопередатчиков позволяет получить одинаковые мощности передатчиков в полных кадрах, так же, как и выше. Подразделение кадра может быть переменным. Это может привести к тому, что если предыдущая частота оставлена вследствие, например, перегрузки, мощность передатчика должна слегка увеличиться из-за несколько увеличенного коэффициента сжатия, тогда как новая, еще не искаженная частота способна нести большую мощность и может поэтому быть нагружена с очень высоким коэффициентом сжатия.
Восходящая линия связи
На фиг.11 показаны данные приемника R и дополнительные данные FDTA заполнителя. Выбор кандидатов для смены ячеек здесь опущен.
а) Идентификация кандидатов для смены частот
В простых дуплексных линиях связи с симметричными полезными сигналами имеется определенная корреляция между мощностью шума в восходящей и в нисходящей линиях связи, хотя возникают существенные отклонения из-за невзаимно-обратной ситуации для взаимных помех между мобильными и неподвижными станциями соответственно. Два направления передачи проявляют независимые свойства только на строго асимметричных скоростях передачи битов полезных данных. При любой скорости мощность шума на частоте нисходящей линии связи должна измеряться отдельно. Здесь не требуется никакого разделения по времени, так как предполагается, что неподвижная станция содержит отдельный измерительный приемник.
в) Процедура непрерывной передачи обслуживания
В этом варианте выполнения, показанном на фиг.12, мобильная станция передает в процессе передачи обслуживания каждый последующий передаваемый блок полезных данных во временном кадре в новом частотном диапазоне Y и в старом частотном диапазоне X; Т обозначает передающую мобильную станцию. Для этой цели блок полезных данных сжимается так, что он может быть передан дважды за временной кадр вместо одного блока за временной кадр. Сжатие, в свою очередь, требует соответственно увеличенных мощностей передатчика. На неподвижной станции есть отдельный приемник RA, RB для каждого частотного диапазона Х и Y соответственно. Эта двойная передача продолжается, пока на неподвижной станции не произойдет смена частоты. На фиг.12 показаны предыдущие линии связи PLK1 и PLK2 в частотном диапазоне Х и новые линии связи NLK1 и NLK2 связи в диапазоне Y.
Граница между пакетами является переменной, как следует из описанного выше. Выравнивание мощности передатчика по всему кадру невозможно, так как для передачи на другой частоте необходима пропущенная часть. Результатом является невыравненное распределение мощности шума по одному кадру.
Общий подход к восходящей и нисходящей линиям связи
В некоординированной среде передачи нельзя исключить тот факт, что один и тот же частотный диапазон может использоваться одним оператором для нисходящей линии связи, другим оператором по соседству для восходящей линии связи. В этом случае невыравненное распределение мощности шума должно приниматься во внимание на любой скорости передачи для двух направлений передачи.
Один приемопередатчик в неподвижной станции
Этот вариант может быть особенно экономичным и эффективным для беспроводных телефонов, как отмечено выше. Для получения оценки описанная для мобильной станции ситуация должна быть перенесена на неподвижную станцию. Основные механизмы обсуждены выше.
Селективное наложение
Возможности параллельной передачи на двух частотах также могут быть расширены на более длительный период времени. Затем при приеме можно выбрать сигнал, имеющий лучшее качество. Мощности передатчика могут быть уменьшены в такой степени, что суммарная мощность, усредненная во времени, может стать меньше, чем мощность передатчика с одной частотой. Рассмотренные принципы могут быть распространены на линии связи с более чем двумя частотами.
Формула изобретения
1. Система передачи множественного доступа с кодовым разделением каналов, содержащая, по меньшей мере, передатчик, включающий в себя средство для формирования кадров, причем полезные данные подаются на упомянутое средство в цифровой форме, упомянутые полезные данные делятся на блоки данных и сжимаются для формирования пакетов данных, причем каждый пакет в кадре характеризуется временной длительностью (td) и внутрикадровым начальным моментом (t0), средство для расширения пакетов данных с помощью кодовых последовательностей, средство для управления мощностью, посредством которого управляется мощность упомянутых расширенных пакетов данных, и средство для регулировки упомянутой временной длительности (td), упомянутого внутрикадрового начального момента (t0) и передаваемой мощности.
2. Система передачи множественного доступа с кодовым разделением каналов по п.1, отличающаяся тем, что средство для расширения данных с помощью кодовых последовательностей предназначено для выбора коэффициента расширения в зависимости от соответствующей первоначальной скорости передачи полезных данных.
3. Система передачи множественного доступа с кодовым разделением каналов по п.1, отличающаяся тем, что средство для регулировки переменных внутрикадровых начальных моментов (t0) пакетов предназначено для регулировки внутрикадровых начальных моментов (t0) пакетов в зависимости от размера ячейки.
4. Система передачи множественного доступа с кодовым разделением каналов по п.1, отличающаяся тем, что содержит средство для определения временных интервалов кадра, используемых для передачи данных, в зависимости от распределения измеренной напряженности поля в кадре.
5. Система передачи множественного доступа с кодовым разделением каналов по п.1, отличающаяся тем, что за счет использования дуплексного режима с разделением по времени обеспечено разделение двух направлений передачи соответственно нисходящей и восходящей линии связи.
РИСУНКИ
|
|