|
|
(21), (22) Заявка: 2006120229/09, 08.06.2006
(24) Дата начала отсчета срока действия патента:
08.06.2006
(46) Опубликовано: 20.01.2008
(56) Список документов, цитированных в отчете о поиске:
RU 2158470 C2, 27.10.2000. SU 113315 A, 23.04.1958. GB 1152436 A, 21.05.1969.
Адрес для переписки:
625000, г.Тюмень, ул. Володарского, 38, ТюмГНГУ, патентно-информационный отдел
|
(72) Автор(ы):
Кицис Станислав Ильич (RU), Паутов Дмитрий Николаевич (RU), Мусихин Сергей Алексеевич (RU)
(73) Патентообладатель(и):
Государственное образовательное учреждение высшего профессионального образования “Тюменский государственный нефтегазовый университет” (RU)
|
(54) СПОСОБ СТАБИЛИЗАЦИИ СВАРОЧНОГО ТОКА ПРИ РУЧНОЙ ДУГОВОЙ ЭЛЕКТРОСВАРКЕ И СВАРОЧНЫЙ ГЕНЕРАТОР ДЛЯ ЕГО ОСУЩЕСТВЛЕНИЯ
(57) Реферат:
Изобретение относится к электротехнике и может быть использовано в ручной дуговой электросварке. Технический результат – улучшение качества сварки путем стабилизации сварочного тока. Способ стабилизации сварочного электрического тока, вырабатываемого асинхронным генератором с короткозамкнутым ротором и двумя обмотками на статоре – обмоткой возбуждения и рабочей обмоткой, с конденсаторами возбуждения, при этом параллельно конденсаторам возбуждения подключают рабочие обмотки магнитных усилителей, индуктивности которых плавно изменяются за счет изменения магнитных проницаемостей магнитопроводов этих магнитных усилителей под влиянием изменения величины сварочного тока, обтекающего последовательно все обмотки управления магнитных усилителей. Это в свою очередь позволяет осуществлять плавное изменение влияния конденсаторов возбуждения. В асинхронном генераторе с короткозамкнутым ротором в виде “беличьей” клетки, реализующем данный способ, в одни и те же пазы статора уложены две обмотки – обмотка возбуждения и рабочая обмотка. Это позволяет обеспечить максимальную магнитную связь между двумя обмотками. К обмотке возбуждения присоединены емкостные конденсаторы возбуждения, параллельно которым включены рабочие обмотки магнитных усилителей, обмотки управления которых соединены последовательно. К рабочей обмотке генератора присоединены, с одной стороны, компаундирующие конденсаторы, соединенные в треугольник, а с другой – шунтирующие конденсаторы и трехфазный мостовой выпрямитель, один выход которого присоединен к входу обмотки управления первого магнитного усилителя, а выход обмотки управления третьего магнитного усилителя соединен со сварочным электродом. Второй выход трехфазного мостового выпрямителя соединен со свариваемой деталью. 2 н.п. ф-лы, 3 ил.
Изобретение относится к электротехнике и может быть использовано в устройствах для осуществления ручной дуговой электросварки.
Прототипом способа стабилизации сварочного тока является способ скачкообразного изменения величины емкостных компаундирующих конденсаторов, включенных последовательно с рабочей обмоткой, расположенной на статоре асинхронного генератора с конденсаторным возбуждением [Патент RU 2211519 С2, МПК 7 Н02К 17/00, Н02Р 9/46, В23К 9/00. Асинхронный сварочный генератор. / А.-З.Р.Джендубаев. – 2001124752/09. Заявл. 11.09.2000. Опубл. 27.08.2003].
Известна конструкция безщеточного сварочного генератора на базе асинхронной машины, содержащей короткозамкнутый ротор и две трехфазные обмотки на статоре [Патент ГДР DD 237406, МПК Н02К 47/10. Brushless welding generator. / Juelke Edmund, Dassel Juergen; VEB Mansfeld Kombinat W Pieck. 12763853. Заявл. 16.05.1985. Опубл. 09.07.86]. Причем нагрузка в виде сварочной дуги подключается к первой обмотке, выполняющей функции нагрузочной, через выпрямитель, на выходе которого последовательно с нагрузкой включен сглаживающий дроссель. Вторая обмотка выполняет роль обмотки возбуждения и к ней подключены конденсаторы возбуждения, причем дополнительные отпайки на этой обмотке позволяют также использовать ее для питания относительно маломощных потребителей переменного тока.
Недостатком этого генератора является то, что в режиме холостого хода намагничивающий ток превышает номинальный в несколько раз.
Известен асинхронный сварочный генератор, содержащий короткозамкнутый ротор и две трехфазные обмотки на статоре [А.с. SU 1798863 А1, МПК 5 Н02К 17/00. Асинхронный сварочный генератор. / П.И.Костраускас, В.-Ю.А.Жалис, А.К.Кулакаускас, Л.П.Лемежонене, С.Ю.Марзаас, С.А.Диржас, А.И.Лаужадис, А.В.Паштукас. – 4845636/07. Заявл. 23.04.1990. Опубл. 28.02.1993]. При этом первая обмотка – обмотка возбуждения, имеет клеммы для подключения конденсаторной батареи. Вторая обмотка, выполняющая функции рабочей обмотки, в свою очередь имеет клеммы для подключения к сварочному устройству.
Недостатком известной конструкции является присутствие компаундирующего трансформатора, что увеличивает вес и массу сварочной установки и приводит к дополнительным потерям и увеличению стоимости сварочной установки в целом. Кроме того, вносимое сопротивление первичной обмотки трансформатора резко меняется при переходе от режима холостого хода к режиму короткого замыкания компаундирующего трансформатора в процессе сварки. Это обстоятельство резко затрудняет обеспечение процесса емкостного самовозбуждения и сильно снижает надежность сварочного генератора.
Известен трехфазный асинхронный сварочный генератор, который имеет короткозамкнутый ротор и три трехфазные обмотки [Патент RU 2111599 С1, МПК 6 Н02К 17/00. Трехфазный асинхронный электросварочный генератор. / А.-З.Р.Джендубаев. – 95121876/09. Заявл. 26.12.1995. Опубл. 20.05.1998]. Данные обмотки охватывают пакеты зубцов статора, которые расположены аксиально. По торцам зубцов закреплены два кольцевых ярма. Катушки первой и второй обмоток статора расположены с разных торцевых сторон короткозамкнутого ротора. Одна батарея конденсаторов подключена к первой обмотке, вторая батарея подключена ко второй обмотке, а третья батарея конденсаторов включена последовательно в цепь одноименных фаз первой и второй обмоток. Сварочная цепь постоянного тока получает питание от выпрямителя, который подключен к третьей статорной обмотке, расположенной рядом со второй статорной обмоткой.
В качестве основного недостатка известного технического решения следует указать на разветвленную магнитную систему, сложность описываемой конструкции, большой вес и габариты, а также неблагоприятные энергетические показатели.
Прототипом предлагаемого сварочного генератора является асинхронный сварочный генератор с короткозамкнутым ротором, содержащий две трехфазные обмотки на статоре, одна из которых используется в качестве обмотки возбуждения и соединяется с батареей конденсаторов возбуждения, а другая служит рабочей обмоткой и подключена через трехфазный мостовой выпрямитель к сварочному электроду [Патент RU 2211519 С2, МПК 7 Н02К 17/00, Н02Р 9/46, В23К 9/00. Асинхронный сварочный генератор. / А.-З.Р.Джендубаев. – 2001124752/09. Заявл. 11.09.2000. Опубл. 27.08.2003]. Причем параллельно выпрямителю на обмотку включаются также шунтирующие конденсаторы, а конец рабочей обмотки подсоединяется к батарее компаундирующих конденсаторов, соединенных в треугольник.
Общим недостатком данного генератора и всех вышеописанных является то, что они не позволяют обеспечивать стабилизацию сварочного тока. Это связано с отсутствием в их конструкциях каких-либо элементов плавного регулирования, например емкости можно изменять только скачкообразно.
Задачей, на решение которой направлено заявляемое изобретение, является задача улучшения качества сварки путем стабилизации сварочного тока.
Технический результат, который достигается с помощью заявленного изобретения, заключается в стабилизации сварочного тока.
Указанный технический результат по объекту способ стабилизации сварочного тока, вырабатываемого асинхронным генератором с короткозамкнутым ротором, и двумя обмотками на статоре – обмоткой возбуждения и рабочей обмоткой, с конденсаторами возбуждения, достигается тем, что в асинхронном генераторе с короткозамкнутым ротором, и двумя обмотками на статоре – обмоткой возбуждения и рабочей обмоткой, с конденсаторами возбуждения параллельно конденсаторам возбуждения подключают рабочие обмотки магнитных усилителей, индуктивности которых плавно изменяются за счет изменения магнитных проницаемостей магнитопроводов этих магнитных усилителей под влиянием изменения величины сварочного тока, обтекающего последовательно все обмотки управления магнитных усилителей. Это в свою очередь позволяет осуществлять плавное изменение влияния конденсаторов возбуждения.
Указанный технический результат по объекту устройство – асинхронный сварочный генератор достигается тем, что асинхронный сварочный генератор, содержащий короткозамкнутый ротор и две трехфазные обмотки на статоре, одна из которых использована в качестве обмотки возбуждения и соединена с батареей конденсаторов возбуждения, а другая обмотка служит рабочей и подключена через трехфазный мостовой выпрямитель к сварочному электроду, параллельно к фазам конденсаторов возбуждения, присоединенным к трехфазной обмотке возбуждения, подключены рабочие обмотки магнитных усилителей, обмотки управления которых включены последовательно и присоединены с одной стороны к одному выходу трехфазного мостового выпрямителя, а с другой – к сварочному электроду, к другому выходу трехфазного мостового выпрямителя присоединена свариваемая деталь, причем параллельно выпрямителю на рабочую обмотку генератора включены шунтирующие конденсаторы, а концы рабочей обмотки генератора подсоединены к батарее компаундирующих конденсаторов, соединенных в треугольник.
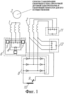
На фиг.1 представлена электрическая схема асинхронного сварочного генератора. На фиг.2 показан процесс нарастания электродвижущих сил при насыщении сварочного генератора, где 13 – кривая намагничивания генератора Е ген.=f(Iрез.возб); 14 – вольтамперная характеристика конденсаторов возбуждения; 15 – кривая намагничивания магнитного усилителя; 16 – результирующая вольтамперная характеристика параллельного соединения конденсаторов 4 возбуждения и рабочей обмотки 5 магнитного усилителя 6, полученная вычитанием абсцисс вольтамперной характеристики 14 конденсаторов 4 возбуждения и вольтамперной характеристики 15. На фиг.3 приведены внешние характеристики сварочного генератора, где 17 – характеристика при наличии магнитных усилителей, 18 – характеристика без магнитных усилителей.
В каждый паз асинхронного сварочного генератора одновременно уложены обмотка возбуждения 1 и рабочая обмотка 2 (фиг.1). Это делается для достижения максимальной магнитной связи между обмотками и тем самым достижения максимального использования потока возбуждения, создаваемого обмоткой возбуждения 1. Соотношение чисел витков обмотки возбуждения 1 и рабочей обмотки 2 определяется необходимостью обеспечения требуемого выходного напряжения сварочного генератора. Обмотка короткозамкнутого ротора 3 генератора выполнена в виде “беличьей” клетки. К фазам обмотки возбуждения 1 присоединены конденсаторы 4 возбуждения, соединенные в треугольник. Параллельно фазам конденсаторов 4 возбуждения присоединены рабочие обмотки 5 магнитных усилителей 6. Обмотки управления 7 магнитных усилителей 6 соединены последовательно, причем один выход трехфазного мостового выпрямителя 8 присоединен к входу обмотки управления 7 первого магнитного усилителя 6, а выход обмотки управления 7 третьего магнитного усилителя 6 соединен со сварочным электродом 9. Второй выход трехфазного мостового выпрямителя 8 соединен со свариваемой деталью 10. Фазы рабочей обмотки 2 с одной стороны подключены к компаундирующим конденсаторам 11, соединенным в треугольник, а с другой стороны – к шунтирующим конденсаторам 12 и к входу трехфазного мостового выпрямителя 8.
Генератор работает следующим образом. При включении первичного двигателя генераторной установки ротор 3 генератора начинает вращаться. Поток остаточного намагничивания ротора 3 наводит электродвижущие силы в фазах обмотки возбуждения 1 статора. Под действием этих электродвижущих сил в конденсаторах 4 возбуждения возникает емкостной ток , а в фазах рабочих обмоток 5 магнитных усилителей 6 возникают индуктивные токи . Суммарные результирующие токи затекают в фазы обмотки возбуждения 1, создавая поток возбуждения, который суммируется с потоком остаточного намагничивания, что приводит к увеличению электродвижущих сил, наводимых в фазах обмотки возбуждения 1. Увеличение электродвижущих сил Е генератора приводит к увеличению тока возбуждения и дальнейшему лавинообразному нарастанию магнитного потока. Последовательность этого явления показана стрелочками на фиг.2, где 13 – кривая намагничивания генератора Е ген=f(Iрез.возб); 14 – вольтамперная характеристика конденсаторов 4 возбуждения; 15 – вольтамперная характеристика магнитного усилителя 6; 16 – результирующая вольтамперная характеристика параллельного соединения конденсаторов 4 возбуждения и рабочей обмотки 5 магнитного усилителя 6, полученная вычитанием абсцисс вольтамперной характеристики 14 конденсаторов 4 возбуждения и вольтамперной характеристики 15. Нарастание электродвижущих сил завершается при насыщении генератора в точке пересечения кривых 13 и 16. Как видно из фиг.2, суммарная кривая 16 имеет практически вертикальный участок в рабочем диапазоне сварочного напряжения со стабилизированным током обмотки возбуждения 1.
Одновременно в рабочей обмотке 2 генератора устанавливается рабочее напряжение в соответствии с соотношением числа витков рабочей обмотки 2 и обмотки возбуждения 1, поскольку эти обмотки находятся в жесткой трансформаторной связи. Генератор готов к осуществлению сварочного процесса.
Стабилизация сварочного тока осуществляется следующим образом. При возбуждении сварочной дуги сварщик на мгновение касается сварочным электродом 9 свариваемой детали 10. После отрыва сварочного электрода 9 возникает дуга. В первый момент после своего возникновения сварочный ток максимален и начинает течь по обмоткам управления 7 магнитных усилителей 6 и далее через трехфазный мостовой выпрямитель 8 в фазы рабочей обмотки 2 генератора. Из-за возникающего падения напряжения в цепи рабочей обмотки 2 генератора выходное напряжение трехфазного мостового выпрямителя 8 начинает уменьшаться, что приводит к уменьшению сварочного тока. Это в свою очередь приводит к уменьшению насыщения железа магнитных усилителей 6. Индуктивное сопротивление рабочих обмоток 5 магнитных усилителей 6 возрастает, а проводимости уменьшаются, и соответственно уменьшается индуктивная составляющая тока параллельного соединения конденсатора 4 возбуждения – рабочая обмотка 5 магнитного усилителя 6. Соответственно часть емкостного тока конденсаторов 4 возбуждения остается нескомпенсированной и результирующий ток параллельного соединения конденсаторы 4 возбуждения – рабочая обмотка 5 магнитного усилителя 6 приобретает более емкостной характер. Это вызывает рост магнитного потока, создаваемого обмоткой возбуждения 1 генератора, возрастание выходного напряжения рабочей обмотки 2 генератора и соответственно тенденцию роста сварочного тока. Реально весь описанный переходный процесс находит свое выражение в стабилизации сварочного тока.
Способ стабилизации сварочного тока основан на нижеследующих теоретических соотношениях.
Ток через рабочую обмотку 5 магнитного усилителя 6 равен

где – напряжение переменного тока на входе рабочей обмотки генератора, В;
– индуктивная проводимость рабочей обмотки магнитного усилителя, Ом-1;
=2 f – круговая частота, Гц;
f – частота колебаний в обмотке возбуждения сварочного генератора, Гц;
L= ·w2·f(gi) – индуктивность рабочей обмотки магнитного усилителя, Гн,
где – магнитная проницаемость магнитного усилителя, Гн/м;
w – количество витков рабочей обмотки магнитного усилителя;
gi – геометрические размеры магнитного усилителя.
При этом влиянием активной проводимости обмоток усилителя, которая гораздо меньше, чем индуктивная, чтобы не затемнять картины, пренебрегаем.
Ток через емкость конденсаторов 4 возбуждения

где bC=j C – проводимость фазы конденсаторов возбуждения, Ом-1;
С – емкость фазы конденсаторов возбуждения, Ф.
Результирующий ток, затекающий в фазы обмотки возбуждения

Из соотношения (3) наглядно видно, что при снижении индуктивности рабочей обмотки 5 магнитного усилителя 6, в момент нарастания сварочного тока и падения выходного напряжения, результирующий ток возрастает, стремясь увеличить рабочий магнитный поток машины. Снижение же выходного рабочего напряжения генератора при возрастании выходного тока связано с известным свойством трансформатора, когда ток вторичной обмотки трансформатора, в данном случае ток рабочей обмотки 2 генератора, находится почти в противофазе с током первичной обмотки – в данном случае обмотки возбуждения 1. Величина емкости С фазы обмотки возбуждения 1 конденсаторов 4 возбуждения подбирается из расчета обеспечения необходимого выходного напряжения генератора на входе трехфазного мостового выпрямителя 8.
Внешние характеристики асинхронного сварочного генератора с конденсаторным возбуждением в случае наличия магнитных усилителей (кривая 17) и без них (кривая 18) показаны на фиг.3. Как видно из фиг.3, величина сварочного тока практически остается постоянной (кривая 17) при изменении напряжения сварки в рабочем диапазоне напряжений 24-30 В, т.е. сварочный ток стабилизируется по сравнению с режимом, представленным на кривой 18.
Формула изобретения
1. Способ стабилизации сварочного электрического тока, вырабатываемого асинхронным генератором с короткозамкнутым ротором, и двумя обмотками на статоре – обмоткой возбуждения и рабочей обмоткой, с конденсаторами возбуждения, при этом параллельно конденсаторам возбуждения подключают рабочие обмотки магнитных усилителей, индуктивности которых плавно изменяются за счет изменения магнитных проницаемостей магнитопроводов этих магнитных усилителей под влиянием изменения величины сварочного тока, обтекающего последовательно все обмотки управления магнитных усилителей, за счет чего осуществлятся плавное изменение влияния конденсаторов возбуждения.
2. Асинхронный сварочный генератор с короткозамкнутым ротором, содержащий две трехфазные обмотки на статоре, одна из которых использована в качестве обмотки возбуждения и соединена с батареей конденсаторов возбуждения, а другая обмотка служит рабочей и подключена через трехфазный мостовой выпрямитель к сварочному электроду, отличающийся тем, что параллельно к фазам конденсаторов возбуждения, присоединенным к обмотке возбуждения, подключены рабочие обмотки магнитных усилителей, обмотки управления которых включены последовательно и присоединены с одной стороны к одному выходу трехфазного мостового выпрямителя, а с другой – к сварочному электроду, к другому выходу трехфазного мостового выпрямителя присоединена свариваемая деталь, причем параллельно трехфазному мостовому выпрямителю на рабочую обмотку генератора включены шунтирующие конденсаторы, а концы рабочей обмотки генератора подсоединены к батарее компаундирующих конденсаторов, соединенных в треугольник.
РИСУНКИ
|
|