|
(21), (22) Заявка: 2004136309/09, 08.05.2003
(24) Дата начала отсчета срока действия патента:
08.05.2003
(30) Конвенционный приоритет:
13.05.2002 SE 0201424-9
(43) Дата публикации заявки: 10.10.2005
(46) Опубликовано: 20.01.2008
(56) Список документов, цитированных в отчете о поиске:
SU 1818650 A1, 30.05.1993. SU 1579396 A1, 30.11.1994. US 5325259 A, 28.06.1994. EP 0300599 A1, 25.01.1989.
(85) Дата перевода заявки PCT на национальную фазу:
14.12.2004
(86) Заявка PCT:
SE 03/00739 (08.05.2003)
(87) Публикация PCT:
WO 03/096502 (20.11.2003)
Адрес для переписки:
129010, Москва, ул. Б. Спасская, 25, стр.3, ООО “Юридическая фирма Городисский и Партнеры”, пат.пов. Ю.Д.Кузнецову, рег.№ 595
|
(72) Автор(ы):
ХАЛЬВАРССОН Пер (SE), ЙЕППССОН Ола (SE), ЙОХАНССОН Ян (SE), ПАУЛЬССОН Ларс (SE)
(73) Патентообладатель(и):
АББ АБ (SE)
|
(54) УСТРОЙСТВО И СПОСОБ ДЛЯ ОТПИРАНИЯ ИСКРОВОГО ПРОМЕЖУТКА
(57) Реферат:
Устройство для быстрого замыкания электрической цепи высокого напряжения содержит искровой промежуток между первым и вторым основным электродом и устройство отпирания, которое содержит дополнительный искровой промежуток между первым и вторым дополнительным электродом и предназначено для формирования в дополнительном искровом промежутке дуги для зажигания дуги в основном искровом промежутке. Каждый дополнительный электрод снабжен направляющей, сконструированной так, чтобы дуга через направляющие и под воздействием сформированного магнитного поля перемещалась в основной искровой промежуток, причем длина направляющих превышает ширину дополнительного искрового промежутка. Дополнительные электроды защищены от воздействия плазмы, сформированной в основном искровом промежутке, посредством размещения их в защищенной позиции относительно основного искрового промежутка, согласно которой дополнительный искровой промежуток размещен рядом с вторым основным электродом со сдвигом от основного искрового промежутка в направлении основного искрового промежутка. Искровые промежутки заключены в герметичную оболочку. 2 н. и 13 з.п. ф-лы, 9 ил.
Область техники
Настоящее изобретение относится к устройству для быстрого замыкания электрической цепи высокого напряжения. Устройство содержит искровой промежуток, образованный первым и вторым электродом, и устройство отпирания. Устройство отпирания содержит дополнительный искровой промежуток, образованный первым и вторым дополнительным электродом, и предназначено для формирования, при необходимости, дуги в дополнительном искровом промежутке для зажигания дуги в основном искровом промежутке.
Согласно второму аспекту изобретение относится к способу быстрого замыкания электрической цепи посредством формирования дуги между первым и вторым основным электродом основного искрового промежутка с использованием устройства отпирания, при этом при необходимости дуга формируется между первым и вторым дополнительным электродом в дополнительном искровом промежутке, связанном с устройством отпирания, в соответствии с чем посредством дуги в дополнительном искровом промежутке зажигается дуга в основном искровом промежутке.
Согласно третьему аспекту изобретение относится к использованию заявленного устройства, и согласно четвертому аспекту изобретение относится к устройству защиты от перенапряжений для последовательного конденсатора.
Предшествующий уровень техники
Искровой промежуток предназначен для формирования дуги между электродами и при точном определении синхронизации используется в лабораториях высоких энергий для инициации лазерных лучей и в качестве защиты для последовательных конденсаторов в электрических линиях высокого напряжения. Настоящее изобретение предназначено, в основном, для применений в последнем случае, но не ограничено ими.
Последовательные конденсаторы используются в электрических линиях высокого напряжения, в основном, для повышения возможности пропускания на линии высокого напряжения. Устройство последовательного конденсатора содержит батарею конденсаторов, которая подсоединена к линии высокого напряжения и через которую проходит ток линии высокого напряжения. Напряжение на таком последовательном конденсаторе становится пропорциональным току в линии высокого напряжения, и в случае перегрузки по току в линии высокого напряжения, например, вызванной коротким замыканием в сети высокого напряжения, на последовательном конденсаторе возникает перенапряжение. Известно, что для защиты конденсатора от такого перенапряжения требуется подсоединять конденсатор параллельно с искровым промежутком, который отпирается соответствующим образом в случае перенапряжения на конденсаторе. Вследствие этого общий ток на линии шунтируется мимо конденсатора, благодаря чему конденсатор становится защищенным. Известные устройства защиты такого вида раскрыты, например, в патентах US 4625254, US 4652963, US 4703385, US 4860156, US 5325259.
В патенте US 4625254 раскрыто устройство, содержащее линейный резистор, который подсоединен последовательно к зависимому от напряжения варистору на основе окиси металла (MOV). Элементы подсоединенного последовательно резистора соединены параллельно с последовательным конденсатором в сети высокого напряжения для получения схемы защиты от перенапряжений для последовательного конденсатора. Дополнительно искровой промежуток соединен параллельно с элементами подсоединенного последовательно резистора в случае его перегрузки. При превышении на линейном резисторе предварительно определенного напряжения напряжение на линейном резисторе инициирует устройство для зажигания искрового промежутка. Сопротивление линейного резистора и варистора масштабируется так, чтобы предварительно определенное напряжение составляло меньшую часть напряжения на конденсаторе.
В патенте US 4652963 раскрыта батарея последовательных конденсаторов для соединения с электрической сетью, батарея конденсаторов снабжена оборудованием для защиты от перенапряжений, которое имеет две ветви, соединенные параллельно с батареей конденсаторов. Первая ветвь содержит варистор на основе оксида цинка, соединенный последовательно с линейным резистором, а вторая ветвь содержит варистор с коленом более высокого напряжения, чем первый варистор на основе оксида цинка. Предпочтительно сопротивление линейного резистора имеет порядок, идентичный абсолютной величине полного сопротивления батареи конденсаторов на частоте, соответствующей частоте сети.
В патенте US 4703385 раскрыто устройство защиты от перенапряжений для последовательного конденсатора в сети высокого напряжения. Зависимый от напряжения резистор, состоящий из нескольких MOV, соединен параллельно с конденсатором. Параллельно с резистором подключен элемент искрового промежутка, который состоит из двух последовательно соединенных искровых промежутков, для обхода резистора в случае наличия на нем перегрузки. Энергия, необходимая для отпирания элемента искрового промежутка, получается от дополнительного конденсатора, который подзаряжается при работе и подается на один из искровых промежутков посредством элемента переключения. Элемент переключения управляется детектором перенапряжения и импульсным трансформатором. MOV соединен последовательно с обмоткой высокого напряжения трансформатора. Трансформатор подсоединен так, чтобы пусковой импульс был направлен противоположно напряжению на последовательном конденсаторе.
В патенте US 4860156 раскрыто устройство защиты от перенапряжений посредством искрового промежутка для последовательных конденсаторов. Устройство защиты содержит цепь отпирания для цепи искровых промежутков, состоящей по меньшей мере из двух искровых промежутков, один из которых снабжен по меньшей мере одним электродом отпирания. Цепь резисторов соединена параллельно с цепью искровых промежутков и содержит по меньшей мере две группы резисторов, соединенных последовательно. Те группы резисторов, которые соединены параллельно с теми искровыми промежутками, которые имеют электрод отпирания, содержат резистор, зависимый от напряжения, состоящий из варисторов на основе оксида цинка, соединенных последовательно с линейным резистором. Напряжение через линейный резистор подается на электрод отпирания искрового промежутка для зажигания искрового промежутка при достижении этим напряжением предварительно определенного значения.
Один недостаток стандартного зажигания дуги в основном искровом промежутке на основе дополнительного искрового промежутка, то есть где основной искровой промежуток отпирается для зажигания через искру, сформированную цепью отпирания, состоит в том, что требуется очень высокое напряжение на основном искровом промежутке. Причиной этого является то, что режим работы основан на дополнительном искровом промежутке, по существу, служащем для ионизации воздуха между основными электродами. Ионизация способствует формированию дуги между ними, однако она предполагает напряжение, достаточное для возникновения пробоя. Напряжение на основном искровом промежутке должно составлять по меньшей мере несколько десятков kV. Это ограничивает возможности применения. Кроме того, это требует восстановления искрового промежутка даже после нескольких разрядок искрового промежутка, так как коррозия, вызванная дугой на электродах, влияет на расстояние между электродами, что в случае такого стандартного вида отпирания искрового промежутка влияет на уровень отпирания, то есть на то, при каком напряжении на основном искровом промежутке формируется дуга.
В патенте US 5325259 раскрыто устройство защиты от перенапряжений для последовательного конденсатора, имеющее основной искровой промежуток и дополнительный искровой промежуток для зажигания основного искрового промежутка. Рядом с первым дополнительным искровым промежутком для его зажигания размещен второй дополнительный искровой промежуток. Дополнительные искровые промежутки подсоединены между одним из электродов основного искрового промежутка и делителем напряжения, содержащим резистор и варистор. При превышении колена напряжения варистора зажигается второй дополнительный искровой промежуток, дуга которого в свою очередь перемещается к основному искровому промежутку и зажигает его. В продолжение времени горения искрового промежутка имеет место управляемая разгрузка последовательного конденсатора через резистор.
В указанном патенте формирование дуги в основном искровом промежутке при отпирании зависит не только от ионизации в искровом промежутке. Первый и второй искровые промежутки размещены так, что достигается некоторый эффект перемещения дуги при зажигании второго дополнительного искрового промежутка первым дополнительным искровым промежутком и при зажигании основного искрового промежутка вторым дополнительным искровым промежутком. Вследствие этого напряжение, требуемое для поддержания дуги на основном искровом промежутке, ниже, чем в стандартных искровых промежутках. Это уменьшает до некоторой степени вышеупомянутые недостатки, связанные с высоким напряжением, которое требуется между основными электродами при использовании стандартной техники. Однако остается потребность в относительно высоком, хотя умеренном, напряжении между основными электродами.
Следовательно, это не устраняет недостатков, проистекающих из того факта, что воздух имеет относительно короткий искровой промежуток и, следовательно, может легко зажигаться вторично. Дополнительно существует риск, что плазма, сформированная в основном искровом промежутке, может дойти до дополнительных электродов и повредить их.
Краткое изложение существа изобретения
Задачей настоящего изобретения является устранение недостатков зажигания дуги в искровом промежутке.
Поставленная задача решена тем, что согласно первому аспекту изобретения устройство содержит специальные элементы, состоящие в том, что каждый дополнительный электрод снабжен направляющей, сконструированной так, чтобы дуга через направляющие и под воздействием сформированного собственного магнитного поля перемещается в основной искровой промежуток, каждая из двух направляющих имеет длину, превышающую ширину дополнительного искрового промежутка, дополнительные электроды размещены так, что они защищены от воздействия плазмы, сформированной в основном искровом промежутке, при этом основной искровой промежуток и дополнительный искровой промежуток заключены в герметичную оболочку.
Формирование дуги в основном искровом промежутке достигается посредством заявленного устройства способом, который физически существенно отличается от известного способа. В известном способе дуга в основном искровом промежутке получается посредством зажигающей искры из дополнительного искрового промежутка, ионизирующей воздух между основными электродами так, чтобы между ними возник пробой, что предполагает очень высокое напряжение между ними. При специальной конструкции дополнительного искрового промежутка согласно изобретению формирование дуги в основном искровом промежутке не зависит от такой ионизации. Направляющие приводят к переносу дуги в дополнительном искровом промежутке посредством собственных магнитных сил, возникающих вокруг дуги, для последующего перемещения внутрь основного искрового промежутка, чтобы постепенно установилась дуга между электродами основного искрового промежутка.
Существенное преимущество заявленного изобретения состоит в том, что не требуется напряжения смещения на основном искровом промежутке, дополнительно к снижению напряжения дуги и снижению напряжения электрода. Следовательно, может быть достаточно напряжения порядка 1 кВ (kV) или даже более низкого напряжения.
Тот факт, что на основном искровом промежутке не требуется высокое напряжение, приводит к существенным преимуществам. Функция искрового промежутка относительно нечувствительна к изменению его ширины. Следовательно, не требуется восстановление искрового промежутка после разряда. Вследствие этого искровой промежуток может быть активизирован сотни раз без всякой потребности в промежуточном обслуживании. Дополнительно искровой промежуток может использоваться для новых функций, где не возникает высокое напряжение, когда должен быть активизирован искровой промежуток. Дополнительно, искровой промежуток является нечувствительным к внешней среде, например к влажности, льду, снегу, грязи и насекомым. Так как дополнительные электроды защищены от воздействия плазмы, сформированной в основном искровом промежутке, исключается риск повреждения дополнительных электродов дугой в основном искровом промежутке.
Герметичная оболочка дает следующие преимущества. Она даже в большей степени устраняет воздействие внешней среды. Поддерживается плотность воздуха или газа, которая обеспечивает возможность быстрого повторного включения устройства, для защиты которого предназначен искровой промежуток. Дополнительно зазор может быть сконструирован компактным, то есть с малой шириной зазора.
Благодаря герметичной оболочке давление в ней может быть отрегулировано. Это означает, что устройство согласно изобретению может быть сконструировано для различных применений с одинаковым расстоянием между основными электродами посредством настройки давления газа.
Согласно предпочтительному варианту осуществления устройства направляющие параллельны и направлены к первому основному электроду и имеют длину, в несколько раз превышающую ширину дополнительного искрового промежутка. Указанные параллельность и направление приводят к благоприятным условиям для инициации перемещения дополнительной дуги и в результате установления дуги между основными электродами. В связи с этим преимущественно направляющие также имеют относительно большую длину.
Согласно другому предпочтительному варианту осуществления изобретения дополнительные электроды защищены от воздействия плазмы в основном искровом промежутке посредством размещения в позиции, защищенной относительно искрового промежутка. В этой конструкции защита дополнительных электродов достигается очень простым способом с учетом того факта, что область воздействия плазмы ограничена расстоянием и направлением. Во многих случаях этого может быть достаточно для защиты дополнительных электродов.
Согласно еще одному предпочтительному варианту осуществления дополнительный искровой промежуток размещен рядом со вторым основным электродом и несколько смещен относительно основного искрового промежутка, если смотреть в направлении основного искрового промежутка. Такая позиция объединяет оптимально два противоречивых требования, состоящие в том, что направляющие должны быть расположены по возможности ближе к основному искровому промежутку и что дополнительные электроды должны быть защищены от воздействия плазмы. В указанном положении достигается “защищенность” от плазмы и сил, воздействующих на ее распространение.
В этом случае направление для искрового промежутка означает направление линии, которая составляет самое короткое расстояние между электродами искрового промежутка.
Согласно дополнительному предпочтительному варианту осуществления между направляющими и основным искровым промежутком размещено защитное устройство. Это является альтернативным или дополнительным способом защиты дополнительных электродов от плазмы. При использовании устройства защиты направляющие могут быть размещены ближе к основному искровому промежутку, чем в другом случае. Это очень удобно, когда приводит к возможности перемещения дополнительной дуги к основному искровому промежутку.
Согласно еще одному предпочтительному варианту осуществления при использовании защитного устройства оно обеспечивается отверстием, которое обеспечивает возможность перемещения дуги в направлении основного искрового промежутка, чтобы защитное устройство составляло по возможности наименьшее препятствие.
Согласно дополнительному варианту осуществления основной искровой промежуток сконструирован для прохождения подвижной дуги через собственное магнитное поле. Следовательно, предотвращается соединение дуги последовательно (точка за точкой) с соответствующим электродом, посредством чего разрушительное воздействие дуги на электроды распределяется и становится менее разрушительным.
Согласно еще одному предпочтительному варианту осуществления каждый основной электрод выполнен кольцеобразным. Это практичный и адекватный способ реализации прохождения подвижной дуги, создающий естественные благоприятные условия для подвижности дуги.
Согласно дополнительному предпочтительному варианту осуществления одна из направляющих устройства отпирания имеет потенциал такой же, как второй основной электрод основного искрового промежутка. Это позволяет без необходимости изоляции разместить направляющее устройство близко к второму основному электроду. Дополнительно это способствует переносу дуги из дополнительного искрового промежутка и формированию дуги в основном искровом промежутке.
Согласно еще одному предпочтительному варианту осуществления устройство содержит устройство механического контакта, соединенное параллельно с основным искровым промежутком. Оно обеспечивает возможность быстрого отвода тока через электрическую линию с устройством механического контакта для гашения дуги. С использованием стандартной техники, оно может быть выполнено посредством прерывателя цепи, который имеет быстрое время замыкания, например 20 ms. Оно создает короткую длину дуги в основном искровом промежутке, что обеспечивает возможность очень быстрого повторного включения основного искрового промежутка.
Согласно еще одному предпочтительному варианту осуществления устройство механического контакта заключено в герметичную оболочку, благодаря чему устройство также защищено от внешней среды, и получается компактная конструкция.
Устройство механического контакта соответственно может иметь специальную конструкцию, предназначенную для дополнительного укорачивания длины дуги в основном искровом промежутке посредством очень быстрой операции замыкания, например 5 ms. Это обеспечивает низкий рост энергии в основном искровом промежутке и возможность очень быстрого повторного включения основного искрового промежутка.
Согласно дополнительному предпочтительному варианту осуществления каждая оболочка заключает в себя газообразную среду под избыточным давлением.
Повышение давления обеспечивает высокую электрическую прочность диэлектрика, а также хорошую теплоемкость и быстрое восстановление изоляции напряжения. Это обеспечивает возможность поддержания меньшей ширины зазора для основного искрового промежутка, чтобы быстрее происходило введение дуги из дополнительного искрового промежутка, и, следовательно, обеспечивает более быстрое зажигание непрерывной дуги в основном искровом промежутке.
Согласно еще одному предпочтительному варианту осуществления для формирования дуги в дополнительном искровом промежутке предназначена электрическая цепь возбуждения, в которой катушка для управления устройством механического контакта подсоединена последовательно. Посредством последовательного соединения устройства инициирования дуги в дополнительном искровом промежутке и работы механического устройства контакта достигается их полная синхронизация.
Согласно еще одному предпочтительному варианту осуществления устройство сконструировано как устройство защиты от перенапряжений для электрической системы, и устройство отпирания предназначено для питания непосредственно от тока повреждения электрической линии. Это устраняет потребность в отдельном накопителе энергии. Так как отпирание вследствие этого возбуждается непосредственно током повреждения электрической линии, прямое зажигание основного искрового промежутка будет тем более быстрым, чем выше амплитуда тока повреждения.
Согласно предпочтительному варианту осуществления, альтернативному предыдущему варианту осуществления, устройство содержит накопитель энергии, предназначенный для питания от электрической линии при его нормальной работе. Такое решение может быть адекватным для некоторых применений и подразумевает, что доступен строго определенный объем энергии, который согласован с энергией, необходимой для отпирания дополнительного искрового промежутка и при необходимости, с катушкой для замыкания устройства механического контакта.
Согласно другому предпочтительному варианту осуществления устройство отпирания предназначено для питания от источника энергии, который является автономным от электрической линии. Это создает повышенную гибкость в отношении возможных применений.
Предпочтительные варианты осуществления устройства, описанные выше, заявлены в пунктах формулы изобретения, зависимых от пункта 1.
Согласно второму аспекту поставленная задача решена тем, что способ согласно изобретению включает специальные меры для того, чтобы дуга в дополнительном искровом промежутке, через направляющие под воздействием собственных магнитных сил, переносилась для перемещения в основной искровой промежуток, чтобы дополнительные электроды были защищены от воздействия плазмы, сформированной в основном искровом промежутке, и чтобы основной искровой промежуток и дополнительный искровой промежуток были заключены в герметичную оболочку.
Согласно предпочтительным вариантам осуществления способа он выполняется при использовании заявленного устройства согласно любому из п.п.1-16.
Следовательно, предложенный способ позволяет получить преимущества, аналогичные тем, которые получены при использовании заявленного устройства.
Заявленные направления использования представляют собой применение устройства, где использование его преимуществ имеет существенное значение. Это раскрыто в п.19 и 20 формулы изобретения.
Предложенное устройство защиты от перенапряжений для последовательного конденсатора имеет те же преимущества, что и устройство для быстрого замыкания электрической цепи по любому из п.п.1-16. Так как заявленное устройство представляет особый интерес как часть устройства защиты от перенапряжений, преимущества устройства используются в области, где эти преимущества будут использованы для значительного расширения. Устройство защиты от перенапряжений заявлено в пункте 21 формулы изобретения.
КРАТКОЕ ОПИСАНИЕ ЧЕРТЕЖЕЙ
Более подробно изобретение будет раскрыто в последующем подробном описании предпочтительных вариантов осуществления со ссылками на прилагаемые чертежи, на которых:
Фиг.1 – изображает схему принципа работы устройства согласно изобретению;
Фиг.2 – разрез детали на фиг.1 согласно изобретению;
Фиг.3 – осевой разрез первого предпочтительного варианта осуществления устройства согласно изобретению;
Фиг.4 – общий вид устройства согласно изобретению;
Фиг.5 – общий вид второго предпочтительного варианта осуществления устройства согласно изобретению;
Фиг.6 – общий вид варианта осуществления устройства с оболочкой согласно изобретению;
Фиг.7 – осевое сечение элемента устройства согласно изобретению;
Фиг.8 – принципиальную электрическую схему цепи отпирания согласно изобретению.
Фиг.9 – принципиальную электрическую схему устройства защиты от перенапряжений с использованием искрового промежутка согласно изобретению.
ОПИСАНИЕ ПРЕДПОЧТИТЕЛЬНЫХ ВАРИАНТОВ ОСУЩЕСТВЛЕНИЯ ИЗОБРЕТЕНИЯ
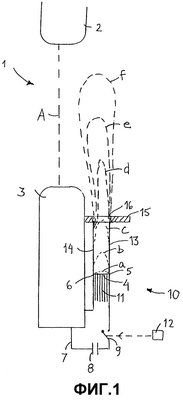
На фиг.1 схематически проиллюстрирован принцип получения устройством дуги в основном искровом промежутке.
Первый 2 и второй 3 основные электроды формируют между собой основной искровой промежуток 1. Устройство 10 отпирания связано со вторым основным электродом 3. Устройство отпирания содержит первый и второй дополнительные электроды 5, 6, формирующие между собой дополнительный искровой промежуток 4. Между дополнительными электродами 5 и 6 размещен комплект 11 промежуточных электродов. Дополнительные электроды 5 и 6 составляют часть цепи 7, причем первый дополнительный электрод 5 подсоединен, через разомкнутый замыкающий контакт 9, к одному полюсу батареи 8 конденсаторов, а второй дополнительный электрод 6 подсоединен к другому полюсу батареи 8 конденсаторов.
Когда требуется сформировать дугу в основном искровом промежутке 1, замыкающий контакт 9 используется для замыкания цепи 7. Эта операция инициируется устройством 12 управления. При замыкании цепи 7 батарея 8 конденсаторов разряжается между дополнительными электродами 5 и 6, создавая дугу в искровом промежутке 4 между этими электродами.
Каждый дополнительный электрод 5 и 6 подсоединен к направляющей 13 и 14. Направляющие 13 и 14, практически могут состоять из выступа, направленного вверх, соответствующего дополнительного электрода 5 и 6. При формировании дуги в дополнительном искровом промежутке 4 возникающие собственные магнитные силы будут вызывать перемещение дуги за пределы между двумя направляющими 13 и 14. Это приводит к последовательному приобретению дугой все более и более выпуклых форм b, c, d, которые, с увеличением градуса, формируют дуги e и f в направлении вверх к первому основному электроду 2. Постепенно дуга будет отодвигаться к основному искровому промежутку 1 и перекрывать его и формировать дугу A между основными электродами 2 и 3. Описанный процесс, безусловно, является идеализацией действительного процесса. В действительности, дополнительная дуга не следует строго нарисованным кривым, особенно на их более поздних стадиях e и f. В действительности, формируется плазма, распространение которой довольно неопределенно и трудно определяемо, но которая, по существу, распространяется, как указывают дуги на чертеже.
Дополнительные электроды 5 и 6 и их продолжение в направляющие 13 и 14 защищены от воздействия плазмы, сформированной в основном искровом промежутке 1. Одной причиной этого является то, что они расположены в некоторой степени скрытыми от основного искрового промежутка 1 вторым основным электродом 3, а другой причиной является то, что между направляющими 13 и 14 и основным искровым промежутком 1 размещено защитное устройство 15. Защитное устройство 15 состоит из пластины из тефлона, в которой выполнено отверстие 16 для обеспечения возможности перемещения дополнительной дуги a-f в направлении основного искрового промежутка 1.
Дополнительный искровой промежуток 4 относится к виду низковольтного поверхностного пробоя. Такой искровой промежуток показан на фиг.2. Между дополнительными электродами 5 и 6 размещено некоторое количество, в данном случае восемь, промежуточных электродов в виде металлической фольги или тонких металлических листов, обозначенных 322a-322j. Промежуточные электроды разделены электроизолирующими слоями 321a-321j. Промежуточные электроды разделены на две группы. Электроды 322a – 322d соединены друг с другом и с дополнительным электродом 6 посредством резисторов Ra, Rb, Rc и Rd. Соответственно промежуточные электроды 322e – 322h соединены друг с другом и с дополнительным электродом 5 посредством резисторов Rf-Rj. Промежуточные электроды и изолирующие прокладки своими верхними краями на чертеже формируют ровную поверхность Z, вдоль этой поверхности после активизации искрового промежутка может произойти пробой между разными электродами. Для обеспечения возникновения пробоя на последней поверхности у нижних краев пакет электродов сформирован так, чтобы там его электрическая прочность была больше, чем на поверхности Z.
После отпирания быстро растущее напряжение подается между промежуточными электродами 322d и 322e в дополнительный искровой промежуток 4. Когда напряжение достигает определенного уровня, между ними происходит пробой. Ток в дуге вызывает падение напряжения на резисторах Rd и Rj и вследствие этого распространение дуги a” к промежуточным электродам 322c и 322f. Следовательно, дуга очень быстро распространяется по поверхности Z от одного промежуточного электрода к другому до разряда, который происходит непосредственно между электродами 5 и 6.
Когда между дополнительными электродами 5 и 6 установлена дуга, начинается процесс, характеризующийся согласно фиг.1 тем, что дуга a перемещается в направлении вверх по направляющим 13 и 14 (на фиг.2 не изображены).
На фиг.1 проиллюстрирован искровой промежуток, согласно изобретению с более фундаментальной точки зрения, на фиг.3 представлен возможный вариант того, как он может быть реализован практически.
Каждый основный электрод 2 и 3 сконструирован в виде круглого кольца из меди, а основный искровой промежуток 1, размер которого порядка 50 мм, сформирован между двумя кольцами. Каждое медное кольцо соединено гальванически с соответствующим основанием 17 и 18 электрода, состоящим из алюминия. Каждое основание электрода имеет паз 19 и 20 с диаметром, соответствующим внутреннему диаметру соответствующего кольца. В пазе 20 в основании 18 электрода второго основного электрода 3 дополнительный искровой промежуток 4 и его направляющие размещены около периферийной стенки паза. Устройство полностью заключено в герметичную оболочку. Внутри оболочки имеет место избыточное давление и воздушная среда. Величина избыточного давления составляет порядка 1-10 бар, например 6 бар. В другом варианте может быть азот или электроотрицательный газ, такой как SF6. Непроводящая часть оболочки, то есть основная часть поверхности оболочки, состоит из эпоксидной трубки, которая изнутри склеена с тефлоном.
На фиг.4 представлен возможный вариант выполнения дополнительных электродов. Каждый из дополнительных электродов 5 и 6 размещен на соответствующей металлической пластине, медно-вольфрамовом сплаве, который вплавлен в монтажную плату 22 из изоляционного материала. Пластина, которая формирует первый дополнительный электрод 5, выходит наружу через противоположный край платы. Выступающий конец 23 пластины соединен с одной стороной батареи 8 конденсаторов (фиг.1). Пластина, которая формирует второй дополнительный электрод 6, соединена с металлической частью 24, которая размещена на одной стороне монтажной платы, и соединена с основанием 18 электрода второго основного электрода 3 (фиг.1 и фиг.3) и через это основание с другой стороной батареи конденсаторов. Между двумя дополнительными электродами размещен комплект 11 промежуточных электродов в виде многослойной пластины. Направляющие 13 и 14 сформированы из выступов соответствующей металлической пластины, проходящих положение, где расположен дополнительный искровой промежуток, то есть где заканчивается комплект 11 промежуточных электродов.
Длина направляющих 13 и 14 вне дополнительного искрового промежутка составляет порядка 20 мм. Ширина дополнительного искрового промежутка 4, так же как и расстояние между направляющими, имеет размер порядка 2 мм.
На фиг.5 представлен вариант осуществления, где искровой промежуток 1 соединен параллельно с устройством механического контакта 25 для формирования устройства защиты от перенапряжений, предназначенного, например, для проведения высокого тока в течение относительно длительного периода времени. При перенапряжении искровой промежуток сначала отпирается, как описано выше, и вскоре после этого замыкается устройство контакта 25, вследствие чего дуга гасится.
На фиг.6 показан вариант осуществления, где оба устройства снабжены соответствующей оболочкой 21 и 26.
На фиг.7 представлен более подробно вариант осуществления устройства 25 контакта, изображенного на фиг.5. Устройство контакта сконструировано в виде быстрого замыкателя цепи и само по себе не является новым изобретенным компонентом. Замыкатель цепи имеет фиксированный элемент 27 контакта и подвижный элемент 28 контакта. Подвижный элемент контакта сконструирован в виде трубки, предназначенной, после активизации, для перемещения вверх и проникновения в кольцевую прорезь в фиксированном элементе 27 контакта. Активизация происходит с использованием первичной катушки (не изображена). Замыкатель цепи более подробно описан в WO 00/67271.
На фиг.8 представлена схема, иллюстрирующая инициацию устройства, изображенного на фиг.5-7. Цепь 7 возбуждения содержит батарею 8 конденсаторов и устройство 9 замыкателя в виде тиристора, искровой промежуток 4 и первичная катушка 29 размещены последовательно. После активизации тиристора 9 цепь замыкается, после чего в дополнительном искровом промежутке 4 между дополнительными электродами 5-6 устанавливается дуга. Приблизительно, после 0,5 мс, дуга должна зажечь дугу в основном искровом промежутке способом, описанным более подробно выше.
Первичная катушка 29 предназначена для перемещения подвижного элемента 28 контакта устройства 25 контакта (фиг.7) в направлении к фиксированному элементу для замыкания тока через устройство контакта. Это происходит, приблизительно, после 4 мс, посредством чего дуга в основном искровом промежутке гасится.
При основном искровом промежутке с шириной зазора 50 мм, напряжении на зазоре 3 кВ и избыточном давлении 6 бар время отпирания составляет около 0,6 мс. Газ самовозгорается при 250 kV AC rms. С ростом напряжения на зазоре время отпирания уменьшается.
На фиг.9 представлена схема, где устройство представлено как устройство защиты от перенапряжений для последовательного конденсатора. В линии 30 высокого напряжения с последовательным конденсатором 31 размещено устройство защиты от перенапряжений, содержащее варистор 32, основной искровой промежуток 1 и устройство 25 механического контакта, три указанных элемента соединены параллельно. Устройство 12 измерения тока размещено последовательно с варистором.
При перенапряжении в линии 30 высокого напряжения, например в результате короткого замыкания в сети, на конденсаторе 31 возникает перенапряжение. Ток через варистор 32 измеряется посредством устройства измерения тока. Измерение суммируется за период в несколько мс, около 20 или 30 мс, и измеренная величина энергии представляет критерий того, следует ли активизировать устройство защиты от перенапряжений. Пороговое значение, при котором происходит активизация, может быть около 20 или 30 МДж. Устройство 12 измерения тока является устройством 12 управления (фиг.1) и определяет, когда требуется сформировать дугу.
В этом случае устройство измерения тока (устройство 12 управления) передает сигнал замыкателю 9 в цепи 7, в которой содержится дополнительный искровой промежуток 4. Замыкателем 9 может быть тиристор. Это ведет к формированию дуги в дополнительном искровом промежутке 4, и указанная дуга зажигает дугу в основном искровом промежутке 1, что описано более подробно выше. В то же время активизируется устройство 25 контакта для замыкания.
Функция управления может выполняться с другими параметрами управления, чем описаны выше. Например, в качестве дополнительного параметра может быть включен ток на электрической линии 30.
Дуга в основном искровом промежутке может быть создана для решения задачи, отличной от обеспечения защиты от перенапряжений.
Формула изобретения
1. Устройство для быстрого замыкания электрической цепи высокого напряжения, содержащее основной искровой промежуток (1) между первым (2) и вторым (3) основным электродом и устройство (10) отпирания, содержащее дополнительный искровой промежуток (4) между первым (5) и вторым (6) дополнительным электродом, и предназначенное для формирования дуги (а) в дополнительном искровом промежутке (4) для зажигания дуги (А) в основном искровом промежутке (1),
каждый дополнительный электрод (5, 6) снабжен направляющей (13, 14), сконструированной так, чтобы дуга (а) посредством направляющей (13, 14) и под воздействием сформированного собственного магнитного поля перемещалась в основной искровой промежуток (1), причем каждая из направляющих (13, 14) имеет длину, превышающую ширину дополнительного искрового промежутка (а), отличающееся тем, что
указанные дополнительные электроды (5, 6) защищены от воздействия плазмы, сформированной в основном искровом промежутке (1) посредством размещения в защищенной позиции относительно основного искрового промежутка (1),
при этом устройство содержит герметичную оболочку (21), которая заключает в себя основной искровой промежуток (1) и дополнительный искровой промежуток (4).
2. Устройство по п.1, отличающееся тем, что направляющие (13, 14), по существу, параллельны, направлены в сторону первого основного электрода и имеют длину, в несколько раз превышающую ширину дополнительного искрового промежутка (4).
3. Устройство по п.2, отличающееся тем, что дополнительный искровой промежуток (4) размещен рядом с вторым основным электродом (3) и расположен на некотором расстоянии от основного искрового промежутка (1), в направлении основного искрового промежутка.
4. Устройство по п.3, отличающееся тем, что между направляющими (13, 14) и основным искровым промежутком (1) размещено защитное устройство (15).
5. Устройство по п.4, отличающееся тем, что защитное устройство (15) снабжено отверстием (16).
6. Устройство по п.1, отличающееся тем, что основной искровой промежуток (1) обеспечивает прохождение подвижной дуги через собственное магнитное поле.
7. Устройство по п.6, отличающееся тем, что каждый основной электрод (2, 3) является кольцеобразным.
8. Устройство по любому из пп.1-7, отличающееся тем, что одна из направляющих (13, 14) устройства (10) отпирания имеет потенциал такой же, как второй основной электрод (3) основного искрового промежутка.
9. Устройство по любому из пп.1-7, отличающееся тем, что содержит устройство (25) механического контакта, соединенное параллельно с основным искровым промежутком (1), при этом устройство (25) механического контакта заключено в герметичную оболочку (26).
10. Устройство по любому из пп.1-7, отличающееся тем, что оболочка (21, 26) заключает в себя газообразную среду под избыточным давлением.
11. Устройство по любому из пп.1-7, отличающееся тем, что формирование дуги (а) в дополнительном искровом промежутке (4) осуществляется посредством электрической цепи (7) возбуждения, к которой первичная катушка (29) для управления устройством (25) механического контакта подсоединена последовательно.
12. Устройство по любому из пп.1-7, отличающееся тем, что оно выполнено в виде устройства защиты от перенапряжений для электрической системы, при этом устройство (10) отпирания предназначено для питания непосредственно от тока повреждения электрической линии.
13. Устройство по любому из пп.1-7, отличающееся тем, что устройство (10) отпирания предназначено для питания от накопителя энергии, который при нормальной его работе, в свою очередь, питается от электрической линии.
14. Устройство по любому из пп.1-7, отличающееся тем, что устройство отпирания предназначено для питания от источника энергии, автономного относительно электрической линии.
15. Устройство защиты от перенапряжений для последовательного конденсатора, отличающееся тем, что оно содержит устройство по любому из пп.1-8.
РИСУНКИ
|