|
|
(21), (22) Заявка: 2006119973/28, 08.06.2006
(24) Дата начала отсчета срока действия патента:
08.06.2006
(46) Опубликовано: 20.01.2008
(56) Список документов, цитированных в отчете о поиске:
RU 36498 U1, 10.03.2004. RU 2100744 C1, 27.12.1997. RU 2253822 C1, 10.06.2005. US 5121188 A, 09.06.1992. US 5394430 A, 28.02.1995. US 6527416 A, 04.03.2003.
Адрес для переписки:
410000, г.Саратов, Главпочтамт, а/я 62, ООО “ПатентВолгаСервис”, пат.пов. О.И. Куприяновой
|
(72) Автор(ы):
Свердлов Михаил Ильич (RU), Жуков Григорий Кузьмич (RU), Логунов Виталий Владимирович (RU), Сыгуров Петр Николаевич (RU), Лата Николай Иванович (RU), Шварц Леонид Семенович (RU)
(73) Патентообладатель(и):
Свердлов Михаил Ильич (RU)
|
(54) ЛАЗЕРНЫЙ ИЗЛУЧАТЕЛЬ
(57) Реферат:
Изобретение относится к оптико-электронному приборостроению. Излучатель представляет собой расположенный в корпусе излучателя с выходным окном лазерный модуль. Лазерный модуль состоит из корпуса, в котором расположены полупроводниковый лазерный диод, объектив, схемы управления лазерным диодом. Объектив установлен с возможностью его перемещения вдоль оптической оси. Механизм фиксации положения лазерного модуля обеспечивает угловое перемещение лазерного модуля относительно корпуса излучателя. В лазерный излучатель введены дополнительный лазерный модуль, держатель лазерных модулей, термохолодильники, схема управления модулями, плата контроля и управления температурой лазерных модулей, радиатор, встроенный в корпус лазерного излучателя со стороны его задней стенки для дополнительного отвода тепла, при этом держатель выполнен из теплопроводящего материала и имеет ячейки,а термохолодильники одним основанием жестко соединены с радиатором со стороны его внутренней поверхности, а другим – с держателем. Модули расположены с возможностью обеспечения максимальной плотности выходного излучения. Технический результат – повышение выходной оптической мощности и плотности выходной оптической мощности лазерного излучателя. 5 з.п. ф-лы, 5 ил.
Изобретение относится к оптико-электронному приборостроению, в частности к лазерным источникам света, и может быть использовано в оптических системах, предназначенных, например, для указания направления или цели, в частности, в лазерных курсоглиссадных системах посадки воздушных судов.
Известен, например, гелий-неоновый лазер ЛГИ-220 М, выпускаемый отечественной промышленностью (ОАО «НИИ газоразрядных приборов «Плазма»), имеющий в качестве активной среды газовую смесь. Лазер генерирует излучение мощностью несколько десятков милливатт в видимом диапазоне спектра и может быть использован для указанных применений.
Однако расходимость излучения такого лазера имеет достаточно большое значение 1,5 мрад., что ограничивает возможность достижения достаточной плотности мощности излучения. Сам лазер имеет очень большие размеры (длина около 2-х метров), сложную систему питания и работает только при плюсовых температурах. Эти факторы существенно ограничивают возможность его применения.
Известен лазерный модуль, включающий полый цилиндрический корпус, линзу, расположенную в держателе, закрепленном в передней части корпуса модуля, лазерный диод с выводами, расположенный в корпусе на одной оптической оси с линзой, плату с электронной схемой для управления лазерным диодом, соединенную с выводами лазерного диода, расположенную за пределами корпуса и закрепленную со стороны его открытой задней торцевой поверхности (Патент США №5394430 МПК: H01S 3/08).
Данный модуль излучает тонкий, коллимированный лазерный луч и может использоваться, например, для указания направления или цели. Однако данная конструкции модуля не позволяет получать достаточный уровень мощности оптического излучения для наблюдения и фиксации лазерного луча на больших расстояниях, например нескольких километров.
Известен также лазерный модуль, содержащий полый цилиндрический корпус, в котором на одной оптической оси расположены оптическая система, закрепленная в держателе, ввинчивающемся в корпус с его передней стороны, и лазерный диод с выводами, электронную схему управления лазерным диодом, которая электрически соединена с выводами лазерного диода, и заглушку, закрепленную со стороны задней торцевой поверхности корпуса. Лазерный диод представляет собой основание, на котором закреплен лазерный кристалл, закрытый крышкой. При этом корпус модуля является первым электрическим контактом для подачи питания на драйвер и лазерный диод, а в заглушке расположен второй электрический контакт (Патент США №5121188, МПК: Н01L 23/04).
Описанный модуль также может использоваться, например, для указания направления или цели и в отличие от предыдущего модуля, имеет более компактную и надежную конструкцию. Однако эта конструкция также не позволяет получить достаточный уровень мощности и плотности мощности для наблюдения и фиксации лазерного луча на больших расстояниях.
Наиболее близким к заявляемому является лазерное устройство для наведения на цель (лазерный излучатель), представляющее собой размещенный в полом цилиндрическом корпусе с выходным окном лазерный модуль, часть поверхности (внешней) корпуса которого имеет сферическую форму, а часть цилиндрическую, включающий полупроводниковый лазерный диод, схему управления лазерным диодом и объектив, установленный с возможностью его перемещения вдоль оптической оси, механизм фиксации лазерного модуля в корпусе излучателя, обеспечивающий угловое перемещение лазерного модуля относительно корпуса излучателя (Патент РФ на ПМ №36498, МПК: F41G 1/34).
Недостатком указанного устройства является также ограничение возможности получения достаточного уровня выходной оптической мощности излучения и плотности выходной оптической мощности в лазерном луче для наблюдения и фиксации лазерного луча на больших расстояниях.
Задача предлагаемого решения заключается в повышении выходной оптической мощности и плотности выходной оптической мощности лазерного излучателя.
Техническим результатом является существенное увеличение выходной оптической мощности излучения и плотности выходной оптической мощности в лазерном луче за счет создания в дальнем поле излучения суперпозиции лазерных лучей, определяемой степенью перекрытия сечений лучей от каждого модуля.
Поставленная задача решается тем, что в лазерный излучатель, представляющий собой расположенный в корпусе с выходным окном лазерный модуль, состоящий из корпуса, в котором расположены полупроводниковый лазерный диод и объектив, установленный с возможностью его перемещения вдоль оптической оси, и схемы управления лазерным диодом, механизм фиксации положения лазерного модуля, обеспечивающий угловое перемещение лазерного модуля относительно корпуса излучателя, согласно техническому решению введены расположенные в корпусе излучателя, по крайней мере, один дополнительный лазерный модуль, держатель лазерных модулей, термохолодильники, схема управления модулями, соединенная со схемами управления лазерными диодами, плата контроля и управления температурой лазерных модулей, радиатор, встроенный в корпус лазерного излучателя со стороны его задней стенки для дополнительного отвода тепла, при этом держатель выполнен из теплопроводящего материала и имеет ячейки для размещения лазерных модулей с механизмами фиксации их положения в ячейках, а термохолодильники одним основанием жестко соединены с радиатором со стороны его внутренней поверхности, а другим – с держателем, модули расположены с возможностью обеспечения максимальной плотности выходного излучения.
Корпус лазерного модуля имеет сопряженные участки внешней поверхности сферической и цилиндрической форм, а механизм фиксации лазерного модуля в ячейке держателя выполнен с возможностью перемещения лазерного модуля относительно держателя вдоль направления излучения модуля и состоит из двух шайб с внутренней поверхностью сферической формы, сопрягаемой со сферическим участком поверхности корпуса модуля, одна из которых имеет резьбовое соединение с ячейкой держателя, и гайки, также имеющей резьбовое соединение с ячейкой держателя, обеспечивающей фиксацию положения сферического участка корпуса модуля между шайбами.
Для улучшения обеспечения отвода тепла радиатор снабжен рифлением. Излучатель снабжен системой нагрева корпуса излучателя. Выходное окно корпуса излучателя расположено под углом к направлению излучения для исключения попадания отраженного излучения в лазерные модули. На корпусе излучателя имеются разъемы для подключения блока питания.
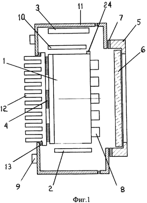
Изобретение поясняется чертежами, где на фиг.1 представлен в разрезе общий вид лазерного излучателя сверху, на фиг.2 – общий вид лазерного излучателя сбоку, на фиг.3 – лазерный модуль в продольном разрезе, на фиг.4 – держатель лазерных модулей в разрезе, на фиг.5 – блок-схема излучателя.
Позициями на чертежах обозначены: 1 – держатель лазерных модулей, 2 – схема управления лазерными модулями, 3 – нагреватель, 4 – термохододильник, 5 – передняя крышка, 6 – выходное окно, 7 – герметизирующая прокладка, 8 – лазерный модуль, 9 – электрический разъем, 10 – плата контроля температуры, 11 – корпус излучателя, 12 – радиатор, 13 – герметизирующая прокладка, 14 – корпус лазерного модуля, 15 – цилиндрическая часть поверхности корпуса лазерного модуля, 16 – сферическая часть поверхности корпуса лазерного модуля, 17 – схема управления лазерным диодом, 18 – лазерный диод, 19 – стакан (держатель микрообъектива), 20 – микрообъектив, 21 – шайба с внутренней сферической поверхностью и резьбовым соединением, 22 – шайба с внутренней сферической поверхностью, 23 – гайка, 24 – датчик температуры.
Лазерный излучатель (Фиг.1 и 2) имеет корпус 11, к которому со стороны выхода излучения (передней стороны) крепится крышка 5. В крышке 5 корпуса 11 герметично закреплено выходное окно 6. На задней стенке корпуса 11 герметично установлены электрические разъемы 9 для подачи напряжения питания и управляющих сигналов, а также имеется отверстие для установки радиатора 12. В центральной части корпуса 11 расположены: держатель лазерных модулей 1, плата со схемой управления 2 лазерными модулями, нагреватель 3, плата контроля температуры 10, на которой сформированы схемы управления термохолодильниками 4 и нагревателем 3 и может быть выполнена схема контроля напряжения питания лазерных модулей. Передняя крышка 5 соединена с корпусом 11 через герметизирующую прокладку 7. При этом выходное окно 6 на передней крышке расположено под углом к направлению излучения для исключения возможности попадания отраженного излучения от поверхности выходного окна в модули. Радиатор 12 жестко соединен с термохолодильниками 4 и держателем лазерных модулей 1 и герметично, через прокладку 13, соединен с корпусом 11 излучателя по периметру отверстия в задней стенке корпуса 11, через которое часть радиатора, имеющая рифление, выступает за пределы корпуса 11. Держатель лазерных модулей 1 (Фиг.3) выполнен с возможностью размещения в нем нескольких лазерных модулей 8 (Фиг.4). При этом модули размещены в отдельных ячейках (Фиг.3), представляющих резьбовое отверстие. Лазерный модуль 8 закреплен сферической частью 16 поверхности своего корпуса 14 между двумя шайбами 21 и 22, имеющими внутреннюю сферическую поверхность, сопрягаемую соответственно с задним и передним фронтом сферической части 16 поверхности корпуса 14 лазерного модуля 8. Шайба 21, кроме того, имеет внешнюю резьбу, с помощью которой заворачивается в ячейку на необходимую глубину. Корпус 14 лазерного модуля 8 имеет возможность перемещения вдоль направления излучения в зависимости от положения шайбы 21 и углового перемещения за счет вращения сферической части 16 поверхности корпуса 14 между сферическими поверхностями шайб 21 и 22. Для закрепления лазерного модуля в выбранном положении в держателе 1 служит гайка 23, которая зажимает сферическую часть 16 поверхности корпуса 14 лазерного модуля 8 между шайбами 21 и 22. Лазерный модуль 8 (Фиг.4), в свою очередь, состоит из корпуса 14 и расположенных внутри него лазерного диода 18, содержащего встроенный фотодиод обратной связи и излучающий кристалл, генерирующий свет, например в видимом диапазоне, микрообъектива 20, состоящего из одной или более линз, закрепленных в стакане 19 и формирующего лазерное излучение в пучок заданной формы, и схемы управления 17 лазерным диодом 18, представляющей собой сформированную, например, на поликоровой плате электрическую схему, поддерживающую постоянную мощность излучения лазерного диода 18. Схема управления 17 соединяется со схемой управления 2 проводами, проходящими через отверстия в держателе лазерных модулей 1.
Расположение модулей в держателе выбрано максимально плотным с учетом необходимых условий отвода тепла, технологических возможностей изготовления держателя и возможностей перемещения модулей при регулировке направления излучения. Максимальное количество лазерных модулей в излучателе может быть, например, 36 и больше и определяется техническими задачами и технологическими возможностями. Минимальное количество модулей в излучателе может быть равно двум. Оптимальным количеством модулей с точки зрения применения такого устройства может быть 25 (двадцать пять). Если количество лазерных модулей четное, то их располагают симметрично относительно продольной плоскости симметрии корпуса излучателя. Количество модулей может быть нечетным, тогда их располагают симметрично относительно продольной оси симметрии корпуса излучателя. Держатель лазерных модулей 1 крепится к корпусу 11 винтами. К держателю 1 в свою очередь крепятся термохолодильники 4, обеспечивающие охлаждение лазерных модулей при работе в условиях повышенной температуры окружающей среды. К термохолодильникам 4 с противоположной держателю 1 стороны крепится радиатор 12. Оба соединения выполняются с оптимальным тепловым контактом. Количество термохолодильников в зависимости от их мощности может выбираться, например, от 2 до 6. На держателе 1 устанавливают датчики температуры – 24, сигналы от которых подаются на плату контроля температуры 10.
Устройство работает следующим образом.
На электронную схему управления 2 лазерными модулями через электрический разъем 9 и плату контроля температуры 10 подают напряжение питания и управляющие сигналы (Фиг.5). Схема 2 распределяет и передает управляющие сигналы на схемы управления 17 в каждый модуль. Электронная схема 17 поддерживает постоянную мощность излучения лазерного кристалла благодаря наличию обратной связи с фотодиодом. Обратная связь осуществляется следующим образом, например, при уменьшении мощности излучения вследствие нагревания лазерного кристалла происходит изменение тока фотодиода, электронная схема 17 увеличивает ток накачки, подаваемый на лазерный кристалл, пропорционально изменившемуся току фотодиода, уровень испускаемой оптической мощности увеличивается, оставаясь, таким образом, постоянным. Кроме поддержания заданного уровня оптической мощности лазерного диода 18 электронная схема управления 17 выполняет еще и защитные функции, отключая лазерный диод 18 при создании ситуации, способной привести к выходу его из строя. Выходящее из лазерного диода 18 излучение попадает в микрообъектив 20, который позволяет сформировать пучок с заданными параметрами расходимости. Используя, например, коллимирующий объектив, состоящий из одной или нескольких линз, можно получить пучок с расходимостью порядка 0,5-2 мрад., представляющий собой в сечении круг или эллипс.
Несколько лазерных модулей, расположенных согласно заявляемой конструкции, позволяют получить в дальнем поле излучения суперпозицию лазерных лучей с повышенной плотностью мощности, определяемой количеством лазерных модулей и степенью перекрытия сечений лучей от каждого модуля. Степень перекрытия сечений лучей зависит в свою очередь от угла расходимости излучения каждого модуля и угла расположения модулей (их оптических осей) относительно друг друга. Заявляемая конструкция обеспечивает возможность точной регулировки положения каждого модуля и соответственно направления излучения каждого модуля. Регулировка происходит следующим образом. На цилиндрическую часть 15 корпуса 14 лазерного модуля 8 надевается приспособление (поводок) в виде трубочки, с помощью которого при включенном лазерном модуле и ослабленной гайке 23 лазерный модуль выставляется в нужное положение. Затем специальным ключом гайка 23 затягивается и лазерный модуль фиксируется в выставленном положении. При оптимальной регулировке лазерный излучатель, изготовленный в соответствии с заявляемой конструкцией, способен генерировать луч света с расходимостью, намного меньшей значения в 1 мрад., определяемого расходимостью отдельного лазерного модуля и расходимостью оптических осей лазерных модулей в излучателе относительно друг друга, и мощностью излучения в несколько сотен мВт в зависимости от используемых в лазерных модулях лазерных диодов 18. При этом плотность оптической мощности в лазерном луче будет по сравнению с известными аналогами, как минимум, в 0,6N раз (где N количество лазерных модулей в излучателе) больше.
Кроме того, заявляемое устройство может работать как в непрерывном режиме, так и в импульсном.
Конструкция лазерного излучателя обеспечивает широкий рабочий диапазон температур. При повышенной температуре окружающей среды автоматически включаются термохолодильники и обеспечивают снижение температуры держателя лазерных модулей до 15-20°С. Излучатель может работать при +40°С, а при принудительном обдуве внешнего радиатора при +50°С. Имеющаяся в конструкции лазерного излучателя система внутреннего обогрева работает также в автоматическом режиме – включается при снижении температуры ниже +5°С и поддерживает это значение температуры внутри корпуса излучателя до температуры окружающей среды -40°С. В случае превышения абсолютных значений температур выше критических плата контроля температуры 10 отключает питание лазерных модулей.
В соответствии с заявляемой конструкцией был изготовлен лазерный излучатель, содержащий двадцать пять лазерных модулей. Корпус излучателя изготавливался из дюралюминия и был подобен корпусу типа G115. Корпус имел следующие габаритные размеры: 148×108×75 мм. Держатель лазерных модулей был изготовлен из меди, корпуса лазерных модулей – из бронзы, радиатор – из дюралюминия. Нагреватель проволочного типа закреплялся на стенке корпуса и имел мощность тепловыделения порядка 100 Вт. В излучатель устанавливались термохолодильники типа 1МН10-127-16. Используемые лазерные диоды работали в видимом диапазоне спектра и имели длину волны излучения 635 нм. Микрообъектив состоял из двух линз. Мощность оптического излучения изготовленного образца лазерного излучателя составила 450 мВт, размер сечения луча на расстоянии 1 км был равен 0,8 м. Работоспособность излучателя проверялась в диапазоне температур от – 30°С до +45°С. Дальность видимости луча при нормальной погоде составила более 5 км.
Таким образом, заявляемая конструкция позволяет получить лазерное излучение с большой мощностью и, что самое главное, увеличить плотность оптической мощности в лазерном луче по сравнению с известными аналогами, как минимум, в 0,6N раз (где N количество лазерных модулей в излучателе). Излучатель отличается повышенной надежностью, т.к. выход из строя одного из модулей уменьшает мощность излучения всего устройства только на 1/N часть. Конструкция излучателя в целом является более устойчивой к климатическим воздействиям, при этом обеспечение герметичности корпуса и наличие системы нагрева корпуса и возможности охлаждения блока лазерных модулей термохолодильниками в сочетании с автоматическим поддержанием заданной температуры блока лазерных модулей при крайних отрицательных температурах расширяет области применения данной конструкции.
Формула изобретения
1. Лазерный излучатель для указания направления, представляющий собой расположенный в корпусе излучателя с выходным окном лазерный модуль, состоящий из корпуса, в котором расположены полупроводниковый лазерный диод и объектив, установленный с возможностью его перемещения вдоль оптической оси, и схемы управления лазерным диодом, механизм фиксации положения лазерного модуля, обеспечивающий угловое перемещение лазерного модуля относительно корпуса излучателя, отличающийся тем, что он содержит расположенные в корпусе излучателя, по крайней мере, один дополнительный лазерный модуль, держатель лазерных модулей, термохолодильники, схему управления модулями, соединенную со схемами управления лазерными диодами, плату контроля и управления температурой лазерных модулей, радиатор, встроенный в корпус лазерного излучателя со стороны его задней стенки для дополнительного отвода тепла, при этом держатель выполнен из теплопроводящего материала и имеет ячейки для размещения лазерных модулей с механизмами фиксации их положения в ячейках, а термохолодильники одним основанием жестко соединены с радиатором со стороны его внутренней поверхности, а другим – с держателем, модули расположены с возможностью обеспечения максимальной плотности выходного излучения.
2. Лазерный излучатель по п.1, отличающийся тем, что корпус лазерного модуля имеет сопряженные участки внешней поверхности сферической и цилиндрической форм, а механизм фиксации лазерного модуля в ячейке держателя выполнен с возможностью перемещения лазерного модуля относительно держателя вдоль направления излучения модуля и состоит из двух шайб с внутренней поверхностью сферической формы, сопрягаемой со сферическим участком поверхности корпуса модуля, одна из которых имеет резьбовое соединение с ячейкой держателя, и гайки, также имеющей резьбовое соединение с ячейкой держателя, обеспечивающей фиксацию положения сферического участка корпуса модуля между шайбами.
3. Лазерный излучатель по п.1, отличающийся тем, что для обеспечения отвода тепла радиатор снабжен рифлением для увеличения площади поверхности.
4. Лазерный излучатель по п.1, отличающийся тем, что он снабжен нагревателем корпуса излучателя.
5. Лазерный излучатель по п.1, отличающийся тем, что выходное окно корпуса излучателя расположено под углом к направлению излучения для исключения попадания отраженного излучения в лазерные модули.
6. Лазерный излучатель по п.1, отличающийся тем, что корпус излучателя снабжен разъемами для подключения блока питания.
РИСУНКИ
|
|