|
|
(21), (22) Заявка: 2004105255/28, 25.07.2002
(24) Дата начала отсчета срока действия патента:
25.07.2002
(30) Конвенционный приоритет:
25.07.2001 US 60/307,628
(43) Дата публикации заявки: 27.02.2005
(46) Опубликовано: 20.01.2008
(56) Список документов, цитированных в отчете о поиске:
US 5074861 A, 24.12.1991. US 3369192 A, 13.02.1968. FR 2756110, 22.05.1998. RU 94036577 A1, 27.09.1996. RU 2019015 C1, 30.08.1994. US 5481556, 02.01.1996. US 5401171 A, 28.03.1995.
(85) Дата перевода заявки PCT на национальную фазу:
25.02.2004
(86) Заявка PCT:
US 02/23654 (25.07.2002)
(87) Публикация PCT:
WO 03/010863 (06.02.2003)
Адрес для переписки:
107078, Москва, Красноворотский пр-д, 3, стр.1, к.311, ООО Патентно-правовая фирма “Искона-II”, пат.пов. Е.А.Гавриловой, рег.№ 50
|
(72) Автор(ы):
ГРУЗДЕВ Валентин А. (RU), ЕФРЕМКИН Павел В. (US)
(73) Патентообладатель(и):
ИННОТЕХ США ИНК. (US)
|
(54) ПОРТАТИВНОЕ ЛАЗЕРНОЕ УСТРОЙСТВО
(57) Реферат:
Изобретение относится к переносным лазерным устройствам, в частности к ручным лазерным устройствам с непосредственным охлаждением комплекта стержня активного вещества лазера. Устройство (10) включает кожух, образующий полое пространство, имеющее внутри лазерный излучатель, зону низкого давления, сформированную во внутреннем пространстве, для облегчения образования в нем потока газового хладагента. Лазерный излучатель состоит из лампы накачки и стержня активного вещества лазера. Во внутреннем пространстве поддерживается источник, создающий поток газового хладагента. Система охлаждения включает кожух, эмиттер, чехол. Обеспечивает нагнетание охлаждающего потока вокруг внешней поверхности стержня активного лазерного вещества во время вращения чехла вокруг стержня. Стержень может иметь коническую конфигурацию или форму усеченной многоугольной пирамиды. Технический результат – уменьшение застойных зон потока хладагента и повышение эффективности теплопередачи между стержнем активного лазерного вещества и хладагентом, охлаждение рабочей зоны лазера, забор частиц тканей человеческого тела. 6 н. и 50 з.п. ф-лы, 9 ил.
ОБЛАСТЬ ПРИМЕНЕНИЯ ИЗОБРЕТЕНИЯ
Изобретение относится, в основном, к переносным лазерным устройствам, основанным на твердотельной лазерной технологии, и в частности относится к ручным лазерным устройствам с непосредственным охлаждением комплекта стержня активного вещества лазера.
УРОВЕНЬ ТЕХНИКИ
Лазерное излучение, генерируемое твердотельным лазером, широко используется в промышленности и медицине. Как показано на Фиг.1, типичный комплект лазерного излучателя состоит из стержня активного лазерного вещества 6, лампы накачки 3, отражателя 8, пары резонирующих зеркал 5, 6, и охлаждающей установки 7, 9. Длина волны лазерного излучения определяется типом стержня активного лазерного вещества. Продолжительность лазерного излучения и его энергия первоначально задаются источником тока, соединенным с лазерным устройством. Среди лазеров, обычно использующихся в медицинской области, наиболее часто применяются твердотельные лазеры, содержащие кристаллы алюмоиттриевого граната, легированного неодимом, эрбием, гольмием, а также рубидиевый лазер на основе корунда, легированного атомами хрома.
Портативность – это важный аспект использования медицинских лазерных устройств. В этом отношении миниатюрные лазерные устройства, пригодные к использованию в руке оператора, представляют большой интерес для профессиональной медицины. Важными элементами таких ручных лазерных устройств являются: система охлаждения и система наведения и фокусировки лазерного луча. Источник тока такого лазерного устройства может быть расположен как внутри, так и вне оболочки. В ручных лазерных устройствах особое внимание следует уделить минимизации их размеров и веса. Лампы накачки, которые используются в основном в пульсирующих твердотельных лазерах, испускают оптическое излучение, которое существует в пределах диапазона длин волн от 0.2 до 0.7 микрон. Этот диапазон существенно шире, чем полоса поглощения стержня активного вещества лазера. Поэтому значительная доля оптического излучения лампы накачки, которое проходит через стержень активного вещества, теряется путем превращения в неиспользуемую тепловую энергию. В результате, когда лампа накачки постоянно испускает пульсирующее излучение в направлении лазерного стержня, чтобы создать требуемую мощность лазерного луча, температура стержня активного вещества лазера повышается с уменьшением его кпд. Например, когда температура эрбиевого стержня активного лазерного вещества повышается до 70°С, лазерное излучение почти отсутствует. Это делает важным наличие системы эффективного охлаждения как очень существенного компонента для стабильной и эффективной работы с комплектами твердотельных лазеров. При решении этих проблем важный фактор состоит в том, что экстенсивная пульсирующая тепловая энергия должна быть рассеяна на очень малой поверхности стержня активного вещества лазера. Таким образом, разработка эффективной миниатюрной системы охлаждения, приспособленной для отвода тепловой энергии от комплекта стержня активного вещества лазера, считается ключевой проблемой в разработке ручных лазерных устройств.
В настоящее время существуют два основных метода, используемых для облегчения теплового рассеяния на стержне активного лазерного вещества. Первый метод основан на использовании среды газового хладагента, тогда как в соответствии со вторым методом, используется жидкий теплоноситель. Важными преимуществами первого метода являются минимальное поглощение оптического излучения лампы накачки охладителем, стабильность оптической среды и относительно малый вес и размер охлаждающей системы. Жидкий хладагент во втором методе обеспечивает значительно больший (по сравнению с газовым хладагентом) кпд передачи теплоты от лазерного стержня к теплоносителю. С другой стороны, использование жидких хладагентов не обеспечивает долговременной стабильности оптической среды и часто приводит к загрязнению оптических поверхностей стержня активного лазерного вещества, лампы накачки и отражателя. Кроме того, применяемые в настоящее время системы жидких хладагентов существенно повышают вес и размеры соответствующих лазерных устройств.
Известно, что большая часть отводимой от лазерного стержня теплоты зависит от следующих факторов: размера охлаждаемой поверхности; разницы между температурами стержня активного вещества лазера и охлаждающего агента, а также от скорости охлаждающего агента около поверхности стержня активного вещества лазера. При использовании жидкого хладагента кпд теплопередачи много больше, чем кпд при использовании газового хладагента. В этом заключается причина того, что в пульсирующих лазерных устройствах газовый хладагент используется очень редко. Тем не менее, использование жидкого хладагента для охлаждения стержней активного лазерного вещества и ламп накачки повышает объем лазерного излучателя, а заодно и создает много других проблем, связанных с жидким теплоносителем, обсуждаемых выше.
Известны также системы охлаждения для лазерных устройств, в которых есть сочетание систем жидких и газовых хладагентов. Одна из таких систем раскрыта в Патенте США 5481556. В соответствии с этим изобретением внешняя оболочка лазерного резонатора содержит лампу накачки, стержень активного лазерного вещества и отражатель, охлаждаемый жидкостью, циркулирующей в закрытом контуре, окружающем лазерный резонатор. Жидкий хладагент и лазерный резонатор охлаждаются потоком воздуха, вырабатываемым вентилятором, расположенным внутри оболочки. Один из больших недостатков этой системы состоит в том, что теплоотвод от стержня активного вещества лазера косвенно производится через охлаждение снаружи лазерного резонатора. Это существенно уменьшает кпд процесса охлаждения лазерного комплекта.
СУЩНОСТЬ ИЗОБРЕТЕНИЯ
В одном из аспектов заявляемого изобретения предусмотрено ручное лазерное устройство, содержащее оболочку, образующую достаточно свободное внутреннее пространство. Лазерный излучатель находится в пределах внутреннего пространства и включает, по крайней мере, лампу накачки и стержень активного лазерного вещества. Источник, вырабатывающий поток газового теплоносителя, помещен во внутреннее пространство. Система жидкостного охлаждения, по крайней мере, частично окружающая стержень активного лазерного вещества, находится внутри потока газового хладагента для отвода от него тепла.
Система жидкостного охлаждения может быть представлена в виде жидкого хладагента и содержит оболочку, содержащую в себе удлиненный канал, проходящий насквозь. Удлиненный канал приспособлен, по крайней мере, к частичному включению в себя стержня активного лазерного вещества. Камера промежуточной аккумуляции размещена внутри оболочки таким образом, чтобы она сообщалась с кожухом.
Что касается другого варианта осуществления изобретения, в нем используется, по крайней мере, один соединяющий элемент для сообщения между кожухом и камерой промежуточной аккумуляции. Система откачивания связана с соединяющим элементом таким образом, чтобы обеспечить циркуляцию жидкого теплоносителя между кожухом и камерой промежуточной аккумуляции. Между внешними и внутренними стенками оболочки образовано буферное пространство. Буферное пространство сообщается с камерой промежуточной аккумуляции. Наружная сторона кожуха и камера промежуточной аккумуляции омываются потоком газового хладагента, чтобы облегчить теплоотвод от жидкого хладагента, находящегося внутри. Множество охлаждающих ребер формируют теплопроводящую среду и тянутся по внутренней стенке оболочки. Множество охлаждающих ребер омывается потоком газового хладагента для осуществления теплоотвода от жидкого хладагента, находящегося в буферном пространстве.
В соответствии с дополнительным вариантом осуществления изобретения в ручном лазерном устройстве обеспечено существование удлиненной оболочки, образующей существенное свободное внутреннее пространство. Лазерный эмиттер образован, по крайней мере, лампой накачки и стержнем активного вещества лазера. В пределах внутреннего пространства создается зона низкого давления, чтобы обеспечить образование внутри нее потока газового хладагента. Впускное отверстие расположено на переднем конце кожуха. Зона низкого давления сформирована и на заднем конце кожуха. Поток газового хладагента входит во внутреннее пространство через отверстие и аксиально расширяется в направлении спереди назад для обеспечения теплоотвода от лазерного эмиттера. Впускное отверстие снабжено фильтром, чтобы отфильтровывать поток газового хладагента, входящего во внутреннее пространство. С другой стороны, впускное отверстие может быть создано в задней части кожуха, с тем чтобы при вхождении во внутреннее пространство, поток газового хладагента первоначально перемещался аксиально в направлении сзади вперед, а затем перемещался бы в обратном направлении.
Еще один вариант изобретения предусматривает систему охлаждения для ручного лазерного устройства, которое состоит из лазерного эмиттера, скомпонованного, по крайней мере, из стержня активного лазерного вещества и лампы накачки. Кожух образован отделенными друг от друга внешними и внутренними стенками. Вытянутое отверстие, сделанное в кожухе, приспособлено для вращающегося стержня активного лазерного вещества. Нарезанная внутренняя винтовая канавка находится в корпусе кожуха рядом с внутренней стенкой, чтобы обеспечить принудительное перемещение охлаждающей жидкости во внутреннем канале вокруг внешней поверхности стержня активного лазерного вещества во время вращения кожуха вокруг стержня активного лазерного вещества.
Еще один вариант изобретения предусматривает систему охлаждения для лазерного устройства, которое включает лазерный эмиттер, образованный лампой накачки и стержнем активного лазерного вещества. Кожух имеет вытянутый внутренний канал, который стационарно расположен по отношению к стержню активного лазерного вещества. На внешней поверхности стержня активного лазерного вещества находится внешняя нарезная канавка. Вращательное движение вытянутой внешней спиральной канавки приводит к вращательному принудительному перемещению охлаждающей жидкости вдоль стержня активного лазерного вещества.
Что касается еще одного варианта изобретения, то в нем ручное лазерное устройство включает лазерный эмиттер со стержнем активного лазерного вещества, имеющим форму усеченного конуса или усеченной многоугольной пирамиды. Стержень активного лазерного вещества может также иметь в значительной степени коническую конфигурацию.
КРАТКОЕ ОПИСАНИЕ ЧЕРТЕЖЕЙ
Другие преимущества и характеристики изобретения описаны с ссылкой на варианты изобретения, которые предназначены для объяснения, а не ограничения изобретения, и проиллюстрированы следующими чертежами:
фиг.1 – принципиальная, схема лазерного эмиттера в соответствии с прототипом;
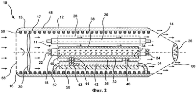
фиг.2 – фрагмент поперечного сечения варианта изобретения, в котором используется газовый или жидкий теплоноситель;
фиг.3 – фрагмент поперечного сечения, на котором показана внутренняя часть ручного лазерного устройства в соответствии с другим вариантом осуществления изобретения;
фиг.4 – фрагмент поперечного сечения, на котором показана внутренняя часть ручного лазерного устройства в соответствии с дальнейшим вариантом осуществления изобретения;
фиг.5 – фрагмент поперечного сечения, на котором показана внутренняя часть ручного лазерного устройства в соответствии с еще одним вариантом осуществления изобретения;
фиг.6 – фрагмент поперечного сечения, на котором показана внутренняя часть ручного лазерного устройства в соответствии с дальнейшим вариантом осуществления изобретения;
фиг.7 иллюстрирует альтернативный проект комплекта лазерного стержня;
фиг.8 показывает комплект, имеющий стержень активного лазерного вещества конической формы; и
фиг.9 иллюстрирует вариант изобретения с пульсирующим лазерным эмиттером, в котором используется дополнительная лампа, обеспечивающая продолжительное оптическое видимое излучение.
ОПИСАНИЕ ПРЕДПОЧТИТЕЛЬНОГО ВАРИАНТА ИЗОБРЕТЕНИЯ
Фиг.2 иллюстрирует один из вариантов переносного ручного лазерного устройства 10, имеющего лазерный эмиттер 11, расположенного в практически полом удлиненном кожухе 12, который простирается между передним 14 и задним 16 концами, соответственно. Кожух имеет внешнюю 15 и внутреннюю 17 стенки, образующие внутреннее пространство 48 между ними. Внутри этого кожуха практически центрально расположен стержень активного лазерного вещества 18 с выступающей из него лампой накачки 20. Полностью отражающее или непрозрачное резонирующее зеркало 22 расположено на заднем конце стержня активного лазерного вещества и, вследствие этого, на его оптической оси. Выходное или переднее резонирующее зеркало 24 расположено на переднем конце стержня активного лазерного вещества на его оптической оси. Лазерный луч формируется собирающей или фокусирующей линзой 26, расположенной на переднем конце 14, так что выходное зеркало 24 помещено между стержнем активного лазерного вещества 18 и линзой 26. Чтобы облегчить пропускание лазерного луча, выходное резонирующее зеркало 24 сделано с уменьшенными отражательными характеристиками по сравнению с полностью отражающим задним резонирующим зеркалом 22. В качестве альтернативы, зеркало 24 может быть изготовлено с отверстием в своей центральной части. Стержень активного лазерного вещества 18 и лампа накачки 20, по крайней мере, частично окружены отражателем 28.
Во время работы с переносным лазерным устройством импульсное излучение испускается из лампы накачки 20, к которой подается питание от источника (не показан).
Импульсные излучения отражаются на внутренней поверхности отражателя, чтобы вызвать поглощение стержнем активного лазерного вещества вырабатываемой энергии. Излучение инжектируется из лампы накачки 20 в лазерный материал стержня активного лазерного вещества 18, инициирующего разряд фотонов в кристалле. Эти фотоны перемещаются между передним 24 и задним 22 резонирующими зеркалами, производя усиление гармоник. Лазерное излучение, испускаемое из стержня активного лазерного вещества, резонируется и усиливается резонирующими зеркалами. Усиленный лазерный луч покидает систему через выходное зеркало 24. Испускаемый лазерный луч фокусируется линзой 26 и захватывается любым из оптоволокон, и передается на лазерный зонд, расположенный на переднем конце аппарата, или непосредственно направляется на тело пациента.
Система охлаждения лазерного устройства 10, изображенная на Фиг.2, имеет смешанный газожидкостной тип. Система конвективного охлаждения, или охлаждающий вентилятор 30, вырабатывающий поток газового хладагента, такого, например, как окружающий воздух, находится внутри кожуха 12 у заднего конца 16. Система жидкого хладагента включает в себя кожух 32, образующий свободное пространство между внешними и внутренними стенками, соответственно, 34 и 36. Камера охлаждения 38, приспособленная для получения жидкой охлаждающей среды, включена во внутреннюю полость между стенками кожуха 32. Внутренняя стенка 34 формирует удлиненный канал 40, проходящий вдоль всей длины кожуха и приспособленный, по крайней мере, частично, к вмещению в себя стержня активного лазерного вещества 18. Стенки 34 и 36 кожуха изготовлены из оптически прозрачного материала. Камера промежуточного накопления 42 находится в оболочке 12 и соединяется с камерой охлаждения 38 с помощью входного и выходного соединяющих элементов, соответственно, 44 и 46. Для увеличения объема имеющейся жидкой охлаждающей среды и для дальнейшей интенсификации процесса охлаждения в полости оболочки 12 вдоль внешней стенки 15 обеспечивается наличие буферного пространства 48. Сообщение между буферным пространством 48 и камерой, промежуточной аккумуляции 42 осуществляется с помощью вводящего 52 и выводящего 54 элементов. Снаружи от внутренней стенки 17 оболочки по направлению к центральной области аппарата 10 тянется множество пластин 56.
В системе охлаждения ручного лазерного устройства 10 как жидкий, так и газовый хладагент подводятся к различным элементам лазерного блока 11. В этом отношении поток газового охлаждающего агента, такого, например, как воздух, вырабатываемого вентилятором 30 и направляемого непосредственно вдоль длины оболочки внутри нее, обычно направляется к элементам лазерного блока, выдерживаемым при максимальной температуре. В наиболее частном случае он направляется к лампе накачки 20 и отражателю 28.
С другой стороны, стержень активного лазерного вещества 18 охлаждается в среде жидкостного охлаждения, такого, например, как вода, циркулирующей первоначально между камерой охлаждения 38, камерой промежуточной аккумуляции 42 и буферным пространством 48. В варианте изобретения, показанном на Фиг.2, жидкий хладагент подается к камере охлаждения 38 от камеры промежуточной аккумуляции 42 с помощью насоса 43, связанного с входным соединяющим элементом 44. При циркуляции внутри камеры охлаждения 38 охлаждающая жидкость, имеющая повышенную температуру, рециркулирует к камере промежуточного накопления 42 через выпускной элемент 46 и, в конечном счете, может возвратиться в буферное пространство 48 через разгрузочный элемент 54. Вспомогательный охлаждающий элемент 58, имеющий термический контакт со стенкой камеры промежуточной аккумуляции 42, может использоваться для интенсификации процесса охлаждения.
Как показано на Фиг.2, поток газового охладителя, вырабатываемый вентилятором 30, направляется к внешним поверхностям элементов, образующим жидкостную систему охлаждения, например: охлаждающая камера 38 и камера промежуточной аккумуляции 42. Многочисленные пластинки 56 повышают поверхность теплообмена внутренней стенки 17, формирующей буферное пространство 48, которое также является объектом потока газового охладителя. Для дальнейшей интенсификации потока газового хладагента внутри оболочки 12, ее задняя 16 и передняя 14 области снабжены отверстиями 58, 60, соответственно.
Элементы ручного лазерного устройства 10, подвергаемые воздействию максимальной температуры, такие как лампа накачки 20 и рефлектор 28, эффективно охлаждаются потоком газового охладителя, вырабатываемого вентилятором 30. С другой стороны, температура стержня активного лазерного вещества. 18 уменьшается непосредственно под действием потока жидкого хладагента. Кроме того, элементы жидкой охлаждающей системы также охлаждаются под действием потока газового хладагента, вырабатываемого вентилятором 30. Такая мощность комбинированного охлаждения обеспечивает требуемую стабильность температуры стержня активного лазерного вещества 10, который генерирует лазер в условиях ручного лазерного устройства.
Эффективность теплоотвода от блока стержня активного лазерного вещества 11 может быть усилена повышением подвижности, скорости и расхода потока газового хладагента вдоль элементов блока стержня. В варианте изобретения, представленном на Фиг.2, это может быть выполнено путем повышения частоты вращения вентилятора 30 или путем обеспечения работы внешнего воздушного насоса, нагнетающего относительно высокое давление газового хладагента внутри оболочки лазерного устройства. В лазерном устройстве, изображенном на Фиг.2, система газового охлаждения адаптирована к использованию окружающего воздуха в качестве газового хладагента среды и воды в качестве жидкого хладагента. Тем не менее, также предполагается использование других газовых или жидких хладагентов, которые могут быть предварительно охлаждены перед входом вовнутрь оболочки. Одним из примеров такого предварительно охлажденного газового хладагента может быть диоксид углерода.
На Фиг.3, проиллюстрирован другой вариант осуществления изобретения.
Ручной лазерный аппарат 310 изготовлен с удлиненным кожухом 312, имеющим существенное полое внутреннее пространство, простирающееся между его передним 314 и задним 316 концами. Блок эмиттера 311, включающий стержень активного лазерного вещества 318, переднее 324 и заднее 322 резонирующие зеркала, лампу накачки 320 и отражатель 328, поддерживаемые отделенными друг от друга вспомогательными элементами 327 и 329. На заднем конце 316 поддерживается зона низкого давления или вакуума 325. В варианте изобретения, изображенном на Фиг.3, поток газового охладителя входит вовнутрь кожуха через входное отверстие 317, расположенное на переднем конце 314, и выходит через выходное отверстие, существующее на заднем конце устройства (не показано). Зона низкого давления 325 приводит к перепаду давления между передним и задним концами, так что генерируемый поток газового хладагента протекает вдоль стержня активного лазерного вещества 318, лампы накачки 320 и других элементов эмиттерного комплекта. Чтобы облегчить пропускание хладагента, вспомогательные элементы 327 и 329 изготовлены с отверстиями 331 и 335, соответственно. На переднем 314 и заднем 316 концах кожуха может быть создана зона низкого давления с помощью любого общепринятого средства, такого как воздушный насос, и т.д., который может быть расположен внутри или снаружи кожуха 312. Такая система приводит в результате к высокой скорости потока газового хладагента и обеспечивает малые размеры системы охлаждения. Кроме того, по сравнению с вентилятором, который обычно использовался для обеспечения потока газового хладагента, для зоны низкого давления требуется меньше мощности под напряжением. Другое важное преимущество зоны низкого давления 325 заключается в том, что она значительно повышает гомогенность потока газового охладителя внутри кожуха и в значительной мере устраняет газовые завихрения и застойные зоны внутри.
Газовый хладагент, входящий вовнутрь кожуха, обычно содержит частицы окружающей пыли, а заодно и частицы материала, обработанного лазерным устройством. Такие частицы, которые проходят через внутреннюю часть кожуха, загрязняют оптические элементы, расположенные внутри. Это, в конечном счете, приводит к ослаблению основных характеристик лазерного устройства. Чтобы минимизировать эти нежелательные эффекты, на входе 317 предусмотрен фильтрационный узел 330, содержащий внешний одноразовый фильтр 332 и внутренний долговременный фильтр 334.
Для медицинского применения ручного лазерного аппарата 310 газовый хладагент также может содержать частицы тканей человеческого тела, образующиеся во время воздействия лазерного луча на обрабатываемую ткань. Такие частицы считаются возможным патогеном, и их необходимо удалять из воздуха для дальнейшего его использования. Для этой цели служит одноразовый фильтр 340, который может быть расположен на переднем конце аппарата 310. Как показано на Фиг.3, фильтр 340 имеет внутреннюю стенку 342, задающую центральную апертуру 344 пучка, проходящего через его входной участок. В основном пустое пространство 346, образующееся между внутренней стенкой 342 и внешней стенкой 348, предназначено для поглощения в него фильтруемого материала. В передней части внутренней стенки 342 проделано множество отверстий 345, в то время как выходные отверстия 347 находятся в задней области фильтра. Принимая во внимание зону низкого давления 325 и связанный с этим процесс всасывания, воздушный поток, содержащий частицы тканей человеческого тела, первоначально входит вовнутрь фильтра 340 через множество отверстий 345. При прохождении через фильтрующий материал воздушный поток отделяется от частиц, и частицы входят в переднюю область 314 аппарата через выходные отверстия 347.
Вариант изобретения на Фиг.4 во многих отношениях сходен с вариантом изобретения, представленном на Фиг.3. Тем не менее, входные отверстия 417 и 419, содержащие соответствующие фильтрующие узлы 430 и 440, расположены в задней области 416 лазерного эмиттера. Как показано на Фиг.4, поток газового хладагента при вхождении вовнутрь кожуха через, соответственно, внешние и внутренние фильтры 432, 434, и 442, 444, первоначально направляется к передней области 414 устройства, повышая теплоотдачу от внешней поверхности лазерного эмиттера. В передней части 414 поток газового хладагента разворачивается назад к зоне низкого давления 425, для того чтобы циркулировать по внутренней области лазерного эмиттера. В варианте изобретения, представленном на Фиг.4, поток газового хладагента входит вовнутрь кожуха в его задней части, где концентрация частиц, полученных при пользовании устройством, ниже, чем в передней части устройства.
Следует отметить, что зона низкого давления или вакуума может также использоваться в варианте изобретения на Фиг.2 вместо вентилятора для генерирования потока газового хладагента внутри кожуха. В варианте изобретения, представленном на Фиг.2, зона низкого давления может быть предусмотрена, например, в передней части кожуха.
На Фиг.5, где представлен другой вариант системы охлаждения 510 для ручного лазерного устройства, лазерный эмиттер 511 содержит две лампы накачки 520 и 521, которые расположены на противоположных сторонах стержня активного лазерного вещества 518. В продольном направлении стержень активного лазерного вещества 518 вставлен между полностью отражающим задним резонансным зеркалом 522 и полуотражающим выходным, или передним, резонансным зеркалом 524. Лампы и стержень активного лазерного вещества окружены отражателем 528, который расположен внутри и отделен от внешнего кожуха 512. Между внешним кожухом 512 и отражателем 528 формируется практически пустое буферное пространство 548.
Чехол 519, сделанный из оптически прозрачного материала, расположен вдоль внешней поверхности стержня активного лазерного вещества 518. Чехол окружен, как минимум, пространством 515 и имеет протяженный канал 516, проходящий через него внутри. Протяженный внутренний винтовой паз 517 сформирован внутри тела чехла у отверстия 516 и простирается через его входной участок. Продольный канал, имеющий внутренний паз, адаптирован к вращательному включению в себя внешней поверхности стержня активного лазерного вещества 518. Вращательное движение чехла 519 относительно стержня активного лазерного вещества облегчается вследствие малого зазора, предусмотренного между внутренним отверстием 516 чехла и внешней поверхностью стержня активного лазерного вещества. Внутренний винтовой паз 517 приспособлен для заполнения жидким хладагентом и пропускания его вдоль внешней поверхности 515 стержня активного лазерного вещества. Чтобы повысить допустимый объем жидкого хладагента и для дальнейшей интенсификации процесса охлаждения, внутренний винтовой паз 517 находится в жидкостном сообщении с буферным пространством 548, также заполненным жидким хладагентом. Стандартная вращательная конструкция, такая как электромотор 525, который спроектирован, например, с магнитной муфтой, создает вращательное движение чехла 519, включающего внутренний винтовой паз 517, относительно стержня активного лазерного вещества 518.
В варианте изобретения на Фиг.5 охлаждающий вентилятор 530 размещен сзади от кожуха 512. Чтобы облегчить вход и выход потока газового хладагента, создаваемого вентилятором 530, в лазерный резонатор и из него, внутри задней и передней стенок чехла проделаны отверстия, соответственно, 527 и 529. При работе внутреннее пространство протяженного винтового паза 517 и буферное пространство 548 заполнены жидким хладагентом. Вращательное движение чехла 519, включающего протяженный внутренний винтовой паз 517, относительно стационарного стержня активного лазерного вещества 518 обеспечивает продольное движение жидкого хладагента вдоль внешней поверхности 515 нагреваемого стержня активного лазерного вещества. Протяженный винтовой паз сообщается с буферным пространством 548, заполненным жидким хладагентом. Для дальнейшего повышения кпд охлаждения стержня активного лазерного вещества жидкий хладагент циркулирует между буферным пространством и внутренним винтовым пазом. Будучи выпущенным из паза 517 отработанный жидкий хладагент, имеющий повышенную температуру при вхождении в буферное пространство 548, передает свое тепло кожуху 512, который абсорбирует его воздушным потоком, генерируемым вентилятором 530.
В варианте изобретения на Фиг.5 хорошее согласование вращения между протяженным винтовым пазом 517 чехла и внешней поверхностью 515 стержня активного лазерного вещества формирует многочисленные пузыри, которые непрерывно движутся от входа 532 к выходу 534 комплекта стержня активного лазерного вещества. Эта система приводит в результате к повышенному давлению жидкого хладагента. Захватывая эти пузыри на входе 532, жидкий хладагент переносит их вдоль внешней поверхности 515 стержня активного лазерного вещества и освобождается от них на выходе 534, обеспечивая непрерывный поток хладагента вдоль стержня активного лазерного вещества. Таким образом, вращательное движение внутреннего винтового паза 517 вдоль стержня активного лазерного вещества формирует объемную систему, которая способна перемещать определенное количество жидкого хладагента с каждым оборотом спирального паза.
На Фиг.6 представлен другой вариант изобретения. Комплект стержня активного лазерного вещества, состоящий из стержня активного лазерного вещества 618, полностью отражающего резонирующего зеркала 622 и выходного полуотражающего переднего резонирующего зеркала 624, подвижно связан с валом электромотора 625 или любым другим стандартным вращающим устройством. Расширяющаяся вовне протяженная спираль 627 прорезана вокруг или размещена поверх внешней поверхности 615 стержня активного лазерного вещества 618. Спираль 627 может быть нарезана в корпусе стержня активного лазерного вещества. В качестве альтернативы, независимая спираль может быть размещена поверх внешней поверхности стержня активного лазерного вещества. Таким образом, через внешнюю поверхность 615 стержня активного лазерного вещества может быть проведен винтовой паз 629. Чехол 619, ограниченный, по крайней мере, внутренним продольным отверстием 628 и внешней поверхностью 619, изготовлен из оптически прозрачного материала. Внешняя поверхность 619 чехла зафиксирована внутри кожуха (не показан), в то время как внутренний продольный канал 628 адаптирован к вращательному включению в себя стержня активного лазерного вещества 618 с протяженной внешней спиралью 627. Это вращательное движение облегчается наличием небольшого зазора, предусмотренного между краями спирали и внутренней поверхностью чехла 619. Как было предварительно описано в варианте изобретения, лампа накачки 620 спроектирована отделенной от стержня активного лазерного вещества.
В варианте изобретения, представленном на Фиг.6, вращательное движение стержня активного лазерного вещества 618 внутри продольного отверстия 628 обеспечивает вращательно-поступательное перемещение, в котором поток жидкого хладагента аксиально направлен сквозь отверстие, для осуществления теплоотвода от внешней поверхности 615 стержня активного лазерного вещества. Хладагент переносится по внешней резьбе, тянущейся по вращающемуся стержню активного лазерного вещества, и аксиально перемещается при вращении спирали.
Во время работы, при активации вращательного движения электромотором 625, стержень активного лазерного вещества, вместе с протяженной спиралью и резонирующими зеркалами 622 и 624, вращается во внутренней полости оптически прозрачного чехла. Вращательное движение внешней спирали способствует всасыванию, хладагента на входе чехла 619, так что хладагент внедряется в зазор между стержнем активного лазерного вещества и внутренней стороной чехла. При прохождении хладагента через полость чехла между хладагентом и внешней поверхностью стержня активного лазерного вещества происходит процесс теплообмена, понижающий температуру стержня. Когда частота вращения стержня активного лазерного вещества превышает частоту импульсов лампы накачки, одна вспышка лампы накачки соответствует нескольким оборотам стержня активного лазерного вещества. Эти условия приводят к повышению равномерности лазерного луча, вырабатываемого устройством в данном изобретении.
В варианте изобретения, представленном на Фиг.6, температура стержня активного лазерного вещества снижена благодаря потоку хладагента, протекающему вдоль вращающегося стержня активного лазерного вещества и внешней спирали вокруг продольной оси устройства. В этом случае скорость потока хладагента у поверхности стержня активного лазерного вещества, в добавление к аксиальному компоненту, также имеет радиальный компонент, который прямо зависит от скорости вращения стержня активного лазерного вещества. Таким образом, количество тепла, отведенного от стержня, зависит от его скорости вращения. Если скорость вращения стержня превышает частоту повторения лазерных импульсов, то однородность лазерного луча по его поперечному сечению будет повышаться соответственно. Было определено, что при повышении отношения скорости вращения стержня активного лазерного вещества к частоте повторения лазерных импульсов, возникает высокая однородность лазерного луча.
В альтернативном варианте изобретения спираль 27 может вращаться во внутреннем продольном отверстии 628 чехла вокруг стационарно расположенного стержня активного лазерного вещества.
Следует отметить, что система перемещения хладагента, как обсуждалось выше в ссылке на Фиг.6, может быть использована в ручном лазерном аппарате, представленном на Фиг.2. В этом отношении стержень активного лазерного вещества, изготовленный с протяженной внешней спиралью, вращается во внутреннем пространстве камеры охлаждения, которая сообщается с камерой промежуточной аккумуляции с помощью входного и выходного соединительных элементов. При вращении стержня активного лазерного вещества, имеющего внешнюю спираль, на входном соединительном элементе развивается всасывание, способствующее доставке жидкого хладагента из камеры промежуточной аккумуляции во внутреннее пространство охлаждающегося чехла. Израсходованный жидкий хладагент, имеющий повышенную температуру, отгружается назад в камеру промежуточной аккумуляции через выходной соединительный элемент. Вращательное движение стержня активного лазерного вещества и внешней спирали создает всасывание в камере охлаждения, приводящее, в конце концов, к непрерывному потоку хладагента вдоль стержня. Принимая это во внимание, нет необходимости в течение долгого времени эксплуатировать специальную систему откачки, используемую в варианте изобретения, представленном на Фиг.2, для поглощения жидкого хладагента из камеры промежуточной аккумуляции в камеру охлаждения.
В варианте изобретения на Фиг.7 стержень активного лазерного вещества 718 изготовлен в форме усеченного конуса или усеченной многоугольной пирамиды. Боковая поверхность 726 стержня тянется между первым 732 и вторым 734 основаниями, которые расположены перпендикулярно к оси А-А устройства. Лампы накачки 720 и 721 размещены на обеих сторонах стержня активного лазерного вещества 718. Основания 732 и 734, также, как и боковая поверхность 726 стержня активного лазерного вещества, прозрачны к излучению лампы накачки. Как и в ранее описанном варианте изобретения, стержень активного лазерного вещества 718 вставлен между полностью отражающим задним резонирующим зеркалом 722 и полуотражающим передним резонирующим зеркалом 724. Переднее резонирующее зеркало 724 повернуто в сторону первого основания 732 стержня активного лазерного вещества, имеющего существенно меньшее поперечное сечение, чем у второго основания 734, в сторону которого повернуто полностью отражающее заднее резонирующее зеркало 722. Как показано на Фиг.7, поток охлаждающей среды растянут вдоль продольной оси А-А стержня активного лазерного вещества 718 в направлении спереди назад. Боковая поверхность 726 стержня активного лазерного вещества подвергается воздействию потока хладагента, растянутого вдоль продольной оси А-А стержня активного лазерного вещества.
Как показано на графике, изображенном на части Фиг.7, в области соприкосновения потока хладагента с боковой поверхностью 726, вектор направления скорости V потока хладагента может быть разбит на компонент Vn, который направлен практически нормально к боковой поверхности, и тангенциальный компонент Vt, направленный вдоль боковой поверхности. Известно, что нормально направленный поток хладагента обеспечивает процесс охлаждения с большей интенсивностью по сравнению с системой, в которой входящий поток хладагента направлен только тангенциально или вдоль поверхности стержня активного лазерного вещества.
В варианте изобретения, представленном на Фиг.7, существование нормального компонента Vn в скорости потока хладагента уменьшает застойные зоны потока хладагента, связанные с силами трения между поверхностью стержня активного лазерного вещества и потоком хладагента. Эта система в дальнейшем повышает эффективность теплопередачи между стержнем активного лазерного вещества и хладагентом.
В лазерном аппарате на Фиг.7 внешний периметр или диаметр полностью отражающего заднего резонирующего зеркала 722 превышает наибольшее поперечное сечение стержня активного лазерного вещества 718. В этом отношении, как представлено на Фиг.7, внешний периметр заднего зеркала 722 больше, чем внешний периметр заднего основания 734. Таким образом, при многократных отражениях оптического излучения между полностью отражающим задним резонирующим зеркалом 722 и боковой поверхностью 726 стержня активного лазерного вещества имеет место дополнительное усиление лазерного излучения. Это более естественно, когда угол у наконечника стержня активного лазерного вещества 718 составляет около 90°.
Фиг.8 иллюстрирует вариант изобретения со стержнем активного лазерного вещества 818, имеющим практически коническую конфигурацию или форму многоугольной пирамиды, с одним основанием 834. Боковая поверхность 826 и основание 834 стержня активного лазерного вещества прозрачны к оптическому излучению. Полностью отражающее резонирующее зеркало 822 снабжено центральным отверстием 825 для испускания лазерного излучения, вырабатываемого устройством. Резонирующее зеркало 822 может быть прикреплено к основанию 834 или может быть отделенным от основания 834 (как показано пунктиром). Резонирующее зеркало 822 может быть изготовлено путем нанесения специального отражающего покрытия на опору 834. Стержень активного лазерного вещества 818 вставлен между двумя лампами накачки 720 и 721.
Как показано на Фиг.8, поток охлаждающей среды направлен вдоль продольной оси А-А стержня активного лазерного вещества 818. Сходно с вариантом изобретения на Фиг.7, у области соприкосновения потока хладагента с боковой поверхностью 826 вектор направления V скорости потока хладагента раскладывается на нормальный компонент Vn, направленный практически нормально к боковой поверхности 826, и тангенциальный компонент Vt, направленный вдоль боковой поверхности 826. Аналогично случаю, обсуждаемому выше, нормально направленный поток обеспечивает большую эффективность процесса охлаждения по сравнению с системой, в которой входящий поток хладагента направлен только тангенциально или вдоль поверхности стержня активного лазерного вещества. Эта схема также повышает эффективность теплопередачи между стержнем активного лазерного вещества 818 и охлаждающей средой.
Фиг.9 иллюстрирует пульсирующее лазерное устройство 910, имеющее стержень активного лазерного вещества 928, переднее и заднее резонирующие зеркала 924 и 922 и лампу накачки 920, расположенную внутри отражателя 928. Источник продолжительного оптического излучения 927 предусмотрен внутри отражателя на стороне стержня активного лазерного вещества 918, противоположной лампе накачки 920. Источник 927 следует размещать таким образом, чтобы сделать минимальными помехи для взаимодействия между стержнем активного лазерного вещества и лампой накачки. Часть непрерывного оптически видимого излучения, создаваемого источником 927 и усиленного в стержне 928, служит в качестве контрольного видимого света для улучшения нацеливания инфракрасного лазерного луча на обрабатываемую область. Кроме того, непрерывное оптическое излучение, будучи абсорбированным стержнем активного лазерного вещества, уменьшает порог лазерного излучения. Это дает возможность для изобретения уменьшить потребление электроэнергии лампой накачки 920 с тем, чтобы, в конце концов, снизить температуру стержня активного лазерного вещества 918.
Формула изобретения
1. Ручное лазерное устройство, включающее кожух, образующий в значительной степени полое внутреннее пространство; лазерный эмиттер, расположенный в вышеупомянутом внутреннем пространстве и имеющий, как минимум, лампу накачки и стержень активного лазерного вещества, отделенные друг от друга; источник, обеспечивающий поток газового хладагента во внутреннем пространстве; и систему потока охлаждающей жидкости, окружающую, по крайней мере, частично вышеупомянутый стержень активного лазерного вещества, при этом вышеупомянутая система потока охлаждающей жидкости расположена в пределах вышеупомянутого потока газового хладагента для отвода от него тепла.
2. Ручное лазерное устройство по п.1, в котором вышеупомянутая система потока охлаждающей жидкости представляет из себя систему жидкого хладагента, включающую в себя кожух, имеющий удлиненный канал, проходящий через него, при этом вышеупомянутый удлиненный канал выполнен с возможностью, по крайней мере, частичного вмещения в себя вышеупомянутого стержня активного лазерного вещества и камеру промежуточной аккумуляции, расположенную внутри вышеупомянутого кожуха и сообщающуюся с вышеупомянутым кожухом.
3. Ручное лазерное устройство по п.2, включающее, кроме того, как минимум, соединительный элемент, обеспечивающий сообщение между вышеупомянутым кожухом и вышеупомянутой камерой промежуточной аккумуляции.
4. Ручное лазерное устройство по п.3, в котором упомянутый, по крайней мере, один соединительный элемент содержит в себе входной и выходной соединительные элементы для сообщения между вышеупомянутым кожухом и вышеупомянутой камерой промежуточной аккумуляции.
5. Ручное лазерное устройство по п.4, в котором система откачки связана с вышеупомянутым входным соединительным элементом, для того чтобы обеспечить циркуляцию жидкого хладагента между вышеупомянутым кожухом и вышеупомянутой камерой промежуточной аккумуляции.
6. Ручное лазерное устройство по п.5, включающее в себя, кроме того, буферное пространство, образованное между внешней и внутренней стенками кожуха, причем вышеупомянутое буферное пространство сообщается с вышеупомянутой камерой промежуточной аккумуляции.
7. Ручное лазерное устройство по п.6, в котором вышеупомянутый жидкий хладагент циркулирует между вышеупомянутым кожухом, камерой промежуточной аккумуляции и буферным пространством.
8. Ручное лазерное устройство по п.7, в котором внешняя сторона вышеупомянутого кожуха и камера промежуточной аккумуляции омываются вышеупомянутым потоком газового хладагента, чтобы облегчить теплоотвод от жидкого хладагента, содержащегося внутри.
9. Ручное лазерное устройство по п.8, в котором вышеупомянутая внутренняя стенка кожуха подвергается воздействию вышеупомянутого потока газового хладагента, чтобы облегчить теплоотвод от жидкого хладагента, находящегося внутри буферного пространства, и предусмотрен вспомогательный охлаждающий элемент, находящийся в термическом контакте с внешней стенкой камеры промежуточной аккумуляции.
10. Ручное лазерное устройство по п.6, в котором из теплопроводящего материала изготовлено множество охлаждающих пластинок, тянущихся вдоль вышеупомянутой внутренней стенки кожуха, причем вышеупомянутые охлаждающие пластинки размещены в зоне действия потока газового хладагента для обеспечения теплоотвода от жидкого хладагента, находящегося в буферном пространстве.
11. Ручное лазерное устройство по п.10, в котором вышеупомянутая система жидкостного охлаждения включает, кроме того, вводной и выводной элементы, обеспечивающие сообщение между вышеупомянутым буферным пространством и вышеупомянутой камерой промежуточной аккумуляции.
12. Ручное лазерное устройство по п.1, в котором вышеупомянутая система потока жидкостного охлаждения представляет собой систему жидкого хладагента, и вышеупомянутый поток газового хладагента сформирован благодаря зоне низкого давления, находящейся на одном конце кожуха.
13. Ручное лазерное устройство по п.1, в котором для создания потока газового хладагента использован вентилятор.
14. Ручное лазерное устройство по п.1, в котором для создания потока газового хладагента использован воздушный насос, расположенный внутри или снаружи кожуха.
15. Ручное лазерное устройство по п.1, в котором средство для создания зоны низкого давления частично расположено в кожухе.
16. Ручное лазерное устройство по п.1, в котором стенки кожуха вокруг стержня активного лазерного вещества выполнены из оптически прозрачного материала.
17. Ручное лазерное устройство, включающее кожух, образующий практически пустое внутреннее пространство; лазерный эмиттер, расположенный в вышеупомянутом внутреннем пространстве и образованный, по крайней мере, лампой накачки и стержнем активного лазерного вещества, отделенными друг от друга; и зону низкого давления, сформированную внутри вышеупомянутого внутреннего пространства, для облегчения образования в нем потока газового хладагента.
18. Ручное лазерное устройство по п.17, в котором вышеупомянутый кожух тянется между его передним и задним концами, в вышеупомянутом переднем конце предусмотрено входное отверстие, у вышеупомянутого заднего конца сформирована вышеупомянутая зона низкого давления, поток газового хладагента входит в вышеупомянутое внутреннее пространство через вышеупомянутое отверстие и аксиально растягивается в направлении от переднего конца к заднему, для обеспечения теплоотвода от вышеупомянутого лазерного эмиттера.
19. Ручное лазерное устройство по п.18, в котором предусмотрен фильтр в вышеупомянутом входном отверстии для фильтрации потока газового хладагента, входящего во внутреннее пространство.
20. Ручное лазерное устройство по п.17, в котором входное отверстие выполнено в задней области, так что при вхождении во внутреннее пространство поток газового хладагента первоначально движется аксиально в направлении от заднего конца к переднему, а затем движется от переднего конца к заднему.
21. Ручное лазерное устройство по п.17, в котором стенки кожуха вокруг стержня активного лазерного вещества выполнены из оптически прозрачного материала.
22. Ручное лазерное устройство по п.17, в котором во входном отверстии для газового хладагента, имеющемся на переднем конце кожуха, предусмотрен фильтрационный узел.
23. Ручное лазерное устройство по п.22, в котором фильтрационный узел содержит внешний фильтр и внутренний фильтр.
24. Ручное лазерное устройство по п.23, в котором внешний фильтр – одноразовый, а внутренний фильтр – долговременный.
25. Ручное лазерное устройство по п.24, в котором внешний фильтр приспособлен для улавливания частиц материала, обработанного лазерным устройством.
26. Ручное лазерное устройство по п.23, в котором внешний фильтр расположен на переднем конце лазерного устройства и имеет внутреннюю стенку, определяющую центральную апертуру пучка, проходящего через его входной участок, и внешнюю стенку, при этом пустое пространство между внутренней и внешней стенками предназначено для поглощения в него фильтруемого материала, в передней части внутренней стенки выполнено множество входных отверстий, а в задней области фильтрационного узла находятся выходные отверстия, через которые отфильтрованный поток газового хладагента входит в переднюю область лазерного устройства.
27. Ручное лазерное устройство по п.17, в котором в задней области лазерного устройства имеются входные отверстия, в которых предусмотрены соответствующие фильтрационные узлы, каждый из которых содержит внешний фильтр и внутренний фильтр, и через которые поток газового хладагента входит внутрь кожуха в его задней части.
28. Система охлаждения для ручного лазерного устройства, включающая внешний кожух; расположенный в кожухе лазерный эмиттер, образованный, как минимум, стержнем активного лазерного вещества и лампой накачки, отделенными друг от друга; чехол, образованный его внешними и внутренними стенками с продольным каналом, тянущимся через вышеупомянутый чехол и ограниченным вышеупомянутой внутренней стенкой, вышеупомянутым продольным каналом, приспособленным для включения в себя вращающегося вышеупомянутого стержня активного лазерного вещества; и протяженный внутренний винтовой паз, прорезанный в корпусе вышеупомянутого чехла на вышеупомянутой внутренней стенке, чтобы обеспечить нагнетание охлаждающего потока внутри в вышеупомянутом внутреннем пазе вокруг внешней поверхности вышеупомянутого стержня активного лазерного вещества во время вращения вышеупомянутого чехла вокруг вышеупомянутого стержня активного лазерного вещества.
29. Система охлаждения по п.28, в которой вышеупомянутый охлаждающий поток является жидким хладагентом, вышеупомянутый лазерный эмиттер включает, кроме того, отражатель, который, по крайней мере, частично окружает вышеупомянутый стержень активного лазерного вещества и вышеупомянутую лампу накачки; кожух отделен от вышеупомянутого отражателя достаточной полой областью, образуя пустое пространство между ними, благодаря которому обеспечивается проход для газового хладагента через отверстия в чехле.
30. Система охлаждения по п.29, в которой имеется буферное пространство, соединенное с жидкостным хладагентом винтового паза.
31. Система охлаждения по п.29, включающая, кроме того, источник для вырабатывания потока газового хладагента, расположенный снаружи от вышеупомянутого кожуха.
32. Система охлаждения по п.31, в которой вышеупомянутым источником является вращающийся вентилятор, а вышеупомянутый кожух изготовлен с множеством отверстий, облегчающих вход и выход вышеупомянутого потока газового хладагента по отношению к внутреннему пространству кожуха.
33. Система охлаждения по п.32, в которой вышеупомянутый кожух расположен в потоке газового хладагента, чтобы облегчить теплоотвод от жидкого хладагента, находящегося в буферном пространстве.
34. Система охлаждения по п.28, в которой вышеупомянутый чехол вокруг стержня активного лазерного вещества подвижно связан с валом электромотора для обеспечения его вращения.
35. Система охлаждения по п.31, в которой поток газового хладагента сформирован благодаря зоне низкого давления, находящейся на одном конце кожуха.
36. Система охлаждения по п.28, в которой скорость вращения вышеупомянутого чехла вокруг стержня активного лазерного вещества выше частоты повторения лазерных импульсов.
37. Система охлаждения для лазерного устройства, включающего внешний кожух; расположенный в кожухе лазерный эмиттер, изготовленный, по крайней мере, из лампы накачки и стержня активного лазерного вещества, отделенных друг от друга; чехол, зафиксированный внутри кожуха, причем вышеупомянутый чехол имеет продольный внутренний канал, тянущийся через него; и протяженную спираль, предусмотренную на внешней поверхности стержня активного лазерного вещества и тянущуюся снаружи от него, с помощью чего вращательное движение протяженной внешней спирали обеспечивает вращательно-поступательное перемещение охлаждающего потока вдоль вышеупомянутого стержня активного лазерного вещества.
38. Система охлаждения по п.37, в которой вышеупомянутая внешняя протяженная спираль крепко связана с внешней поверхностью стержня активного лазерного вещества; вышеупомянутый охлаждающий поток является охлаждающей жидкостью, которая переносится вышеупомянутой протяженной внешней спиралью с тем, чтобы аксиально перемещаться при вращении стержня активного лазерного вещества.
39. Система охлаждения по п.37, в которой вышеупомянутая внешняя протяженная спираль вырезана в корпусе вышеупомянутого стержня активного лазерного вещества.
40. Система охлаждения по п.37, в которой вышеупомянутый охлаждающий поток является жидким хладагентом, вышеупомянутый лазерный эмиттер включает, кроме того, отражатель, который, по крайней мере, частично окружает вышеупомянутый стержень активного лазерного вещества и вышеупомянутую лампу накачки; кожух отделен от вышеупомянутого отражателя достаточной полой областью, образуя пустое пространство между ними, благодаря которому обеспечивается проход для газового хладагента через отверстия в чехле.
41. Система охлаждения по п.37, в которой имеется буферное пространство, соединенное с жидкостным хладагентом винтового паза.
42. Система охлаждения по п.37, включающая, кроме того, источник для вырабатывания потока газового хладагента, расположенный снаружи от вышеупомянутого кожуха.
43. Система охлаждения по п.42, в которой вышеупомянутым источником является вращающийся вентилятор, а вышеупомянутый кожух изготовлен с множеством отверстий, облегчающих вход и выход вышеупомянутого потока газового хладагента по отношению к внутреннему пространству кожуха.
44. Система охлаждения по п.43, в которой вышеупомянутый кожух расположен в потоке газового хладагента, чтобы облегчить теплоотвод от жидкого хладагента, находящегося в буферном пространстве.
45. Система охлаждения по п.43, в которой поток газового хладагента сформирован благодаря зоне низкого давления, находящейся на одном конце кожуха.
46. Система охлаждения по п.43, в которой скорость вращения стержня активного лазерного вещества выше частоты повторения лазерных импульсов.
47. Система охлаждения по п.39, в которой стержень активного лазерного вещества подвижно связан с валом электромотора.
48. Система охлаждения по п.37, в которой вышеупомянутая внешняя протяженная спираль вращается независимо от вышеупомянутого стержня активного лазерного вещества.
49. Ручное лазерное устройство, включающее кожух, имеющий значительное полое внутреннее пространство; лазерный эмиттер внутри вышеупомянутого внутреннего пространства, стержень лазерного эмиттера, изготовленный, по крайней мере, из лампы накачки и стержня активного лазерного вещества, отделенных друг от друга, причем вышеупомянутый стержень активного лазерного вещества имеет коническую конфигурацию или изготовлен в форме усеченной многоугольной пирамиды; и источник, вырабатывающий поток хладагента во внутренней полости кожуха.
50. Ручное лазерное устройство по п.49, в котором вышеупомянутый лазерный эмиттер, кроме того, содержит вышеупомянутый стержень активного лазерного вещества, размещенный между полностью отражающим и полуотражающим резонирующими зеркалами, и в котором наибольшее поперечное сечение стержня активного лазерного вещества, находящееся в плоскости, практически нормальной к продольной оси устройства, не превышает внешний периметр каждого из вышеупомянутых резонирующих зеркал.
51. Ручное лазерное устройство по п.49, в котором стенки кожуха вокруг стержня активного лазерного вещества выполнены из оптически прозрачного материала.
52. Ручное лазерное устройство, включающее кожух, имеющий практически пустое внутреннее пространство; лазерный эмиттер, находящийся в вышеупомянутом внутреннем пространстве, причем вышеупомянутый лазерный эмиттер изготовлен, как минимум, из лампы накачки и стержня активного лазерного вещества, отделенных друг от друга, а вышеупомянутый стержень активного лазерного вещества имеет практически коническую конфигурацию; и источник, вырабатывающий поток хладагента во внутреннем пространстве.
53. Устройство по п.52, в котором дополнительно имеется резонирующее зеркало, в котором сделано центральное отверстие, и которое прикреплено к основанию вышеупомянутого стержня, имеющего практически коническую форму.
54. Устройство по п.53, в котором резонирующее зеркало, изготовленное с центральным отверстием, отделено от основания вышеупомянутого стержня, имеющего практически коническую конфигурацию.
55. Устройство по п.54, в котором зеркало нанесено на стержень активного лазерного вещества.
56. Ручное лазерное устройство по п.52, в котором стенки кожуха вокруг стержня активного лазерного вещества выполнены из оптически прозрачного материала.
РИСУНКИ
MM4A – Досрочное прекращение действия патента СССР или патента Российской Федерации на изобретение из-за неуплаты в установленный срок пошлины за поддержание патента в силе
Дата прекращения действия патента: 26.07.2009
Извещение опубликовано: 10.05.2010 БИ: 13/2010
NF4A – Восстановление действия патента СССР или патента Российской Федерации на изобретение
Дата, с которой действие патента восстановлено: 20.05.2010
Извещение опубликовано: 20.05.2010 БИ: 14/2010
|
|