|
|
(21), (22) Заявка: 2006117322/09, 19.11.2004
(24) Дата начала отсчета срока действия патента:
19.11.2004
(30) Конвенционный приоритет:
21.11.2003 KR 10-2003-0083116
(46) Опубликовано: 20.01.2008
(56) Список документов, цитированных в отчете о поиске:
RU 2046457 C1, 20.10.1995. RU 26686 U1, 10.12.2002. JP 62-229663 A, 08.10.1987. US 6010653 A, 04.01.2000.
(85) Дата перевода заявки PCT на национальную фазу:
19.05.2006
(86) Заявка PCT:
KR 2004/003007 (19.11.2004)
(87) Публикация PCT:
WO 2005/050772 (02.06.2005)
Адрес для переписки:
129010, Москва, ул. Б. Спасская, 25, стр.3, ООО “Юридическая фирма Городисский и Партнеры”, пат.пов. Ю.Д.Кузнецову, рег.№ 595
|
(72) Автор(ы):
КАНГ Хее Гиоунг (KR), ХИУН Ох Янг (KR), АХН Чанг Бум (KR), ЛИ Хианг Мок (KR)
(73) Патентообладатель(и):
ЭЛ ДЖИ КЕМ, ЛТД (KR)
|
(54) ЭЛЕКТРОХИМИЧЕСКИЙ ЭЛЕМЕНТ С УЛУЧШЕННОЙ БЕЗОПАСНОСТЬЮ
(57) Реферат:
Изобретение относится к батарее из сборки электрохимических элементов. Техническим результатом изобретения является повышение безопасности эксплуатации. Согласно изобретению предложена батарея, в которой из электродов, составляющих сборку элементов, два крайних снаружи электрода оба представляют собой катоды, катодные токосъемники этих катодов покрыты с одной стороны активными катодными материалами на своих первых поверхностях, другие стороны катодных токосъемников, не покрытые активными катодными материалами, обращены наружу данного элемента в сборе, и толщина катодных токосъемников составляет 70-150% от толщины слоя покрытия из активного катодного материала. 2 з.п. ф-лы, 3 ил., 1 табл.
Область техники
Настоящее изобретение относится к электрохимическому элементу (химическому источнику тока) с улучшенной безопасностью.
Уровень техники
Интерес к технологии хранения энергии в последнее время возрастает. В частности, применения электрохимических устройств распространяются на переносные телекоммуникационные приборы, такие как компактные мобильные телефоны, видеокамеры и портативные компьютеры (ноутбуки), и, кроме того, на источники питания для электрических транспортных средств (электромобилей), и по этой причине усилия и попытки исследования и разработки таких электрохимических устройств становятся все более актуальными. В этой связи область электрохимических устройств хранения энергии привлекает все большее внимание, и, в частности, большой интерес сосредотачивается на разработке перезаряжаемых вторичных батарей.
Кроме того, в результате миниатюризации и уменьшения массы электрических приборов требуются также миниатюризация и уменьшение массы батарей, используемых в качестве источника питания в таких электронных приборах. По этой причине в последнее время с целью увеличения удельной емкости батарей проводятся научно-исследовательские и опытно-конструкторские работы в отношении новых конструкций батарей.
Раскрытие изобретения
Техническая задача
Заявка на патент Кореи № 2001-5861 описывает элемент, имеющий структуру, способную довести до максимума содержание активного электродного материала, c получением небольшого, но обладающего высокой емкостью элемента, то есть пакетного электрохимического элемента со структурой, включающей в себя множество уложенных в пакет «полных» (двухэлектродных) элементов или «сдвоенных» (трехэлектродных) элементов и разделительную пленку, проложенную между каждым из элементов в этом пакете.
Однако вследствие реализации высокой емкости описанных выше элементов проблемы с безопасностью, такие как предотвращение избыточной зарядки/избыточной разрядки и внутреннего короткого замыкания элементов, возросли. В частности, безопасность электрохимического элемента, связанная с избыточной зарядкой элементов, перегревом и проникновением колющих предметов представляет собой проблему, требующую срочного решения.
Для улучшения безопасности элементов были ранее предложены способ установки защитной схемы и защитного элемента на электрохимический элемент или способ с использованием блокирования нагрева посредством сепаратора. Однако использование защитной схемы сильно ограничивает реализацию маленьких и недорогих пакетных батарей, в то время как механизм блокирования нагрева посредством сепаратора эффективно не работает во многих случаях, когда генерирование тепла происходит внезапно.
Наряду с этим был предложен способ с использованием органической добавки к электролиту для решения проблем, связанных с безопасностью элементов. Например, патент США № 6074776 описывает пример предотвращения избыточной зарядки элементов посредством использования полимеризуемого мономера. В дополнение к этому выложенная публикация патента Японии № 2000-215909 описывает пример добавления 1-10% по массе разветвленных полициклических ароматических соединений и соединений бензола к органическому растворителю электролита. Однако использование органической добавки к электролиту может вызывать ухудшение рабочих характеристик элемента.
Кроме того, в выложенной публикации патента Японии № 2000-164206 описывается другой способ предотвращения избыточной зарядки элементов. В соответствии с этим способом, после того как углеродная сажа в качестве проводящего материала и связующий агент нанесены в виде покрытия на катодный токосъемник, на этот слой наносят смешанный материал из активного катодного материала и связующего агента, так что когда элемент заряжается, сопротивление слоя проводящего материала увеличивается примерно в 100 раз, таким образом прерывая протекание тока.
Альтернативно для увеличения безопасности элемента было также предложено модифицировать поверхность активного электродного материала. Выложенная публикация патента Японии № Hei 9-55210 описывает активный катодный материал, полученный посредством нанесения на оксиды на основе лития-никеля покрытия из алкоголятов Co, Al и Mn, с последующей термической обработкой. Выложенная публикация патента Японии № Hei 11-16566 описывает оксиды на основе лития с покрытием из металлов, таких как Ti, Sn, Bi, Cu, Si, Ga, W, Zr, B или Mo, и их оксидов. И, кроме того, выложенная публикация патента Японии № Hei 11-185758 описывает активный катодный материал, полученный посредством нанесения на поверхность оксидов лития-марганца покрытия из оксидов металлов с использованием способа соосаждения, с последующей термической обработкой.
Однако указанные выше способы не способны повысить начальную температуру, при которой поверхность активного электродного материала реагирует с электролитом, то есть температуру (температуру генерации тепла), при которой при избыточной зарядке элемента высвобождаются молекулы кислорода, связанные с металлами активного катодного материала, а также не способны уменьшить «теплотворную способность».
В дополнение к этому патент США № 5705291 описывает способ увеличения структурной стабильности активного катодного материала посредством нанесения на поверхность этого активного катодного материала покрытия из композиции, содержащей борат, алюминат, силикат или их смеси, но этот способ по-прежнему демонстрирует плохую структурную стабильность.
По этой причине в области технологии батарей по-прежнему существует необходимость в разработке технологии улучшения безопасности элементов.
Техническое решение
Авторы настоящего изобретения обнаружили, что при такой структуре элемента безопасность этого элемента по отношению к проникновению иглообразного проводника, такого как гвоздь, может быть улучшена посредством расположения катода, содержащего катодный токосъемник с покрытием из активного катодного материала только на одной его стороне и с толщиной, соответствующей 70-150% от толщины слоя покрытия из активного катодного материала, в качестве крайнего снаружи электрода так, чтобы закрыть обе наружных поверхности элемента в сборе, и таким образом создали настоящее изобретение на основе этого факта.
В соответствии с настоящим изобретением указанная выше и другие задачи могут быть решены посредством создания электрохимического элемента, в котором из электродов, составляющих этот элемент, два крайних снаружи электрода оба представляют собой катоды, катодные токосъемники этих катодов покрыты с одной стороны активными катодными материалами на своих первых поверхностях, вторые поверхности катодных токосъемников, не покрытые активными катодными материалами, обращены наружу данного элемента в сборе, и толщина катодных токосъемников составляет 70-150% от толщины слоя покрытия из активного катодного материала.
Краткое описание чертежей
Указанные выше и другие задачи, признаки и дополнительные преимущества настоящего изобретения станут более понятными из следующего далее подробного описания, приведенного в сочетании с прилагаемыми чертежами, на которых:
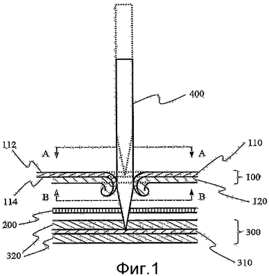
фиг.1 представляет собой частичный вид в поперечном разрезе, схематически показывающий крайнюю снаружи часть в процессе, когда в элемент в соответствии с настоящим изобретением проникает гвоздь;
фиг.2 представляет собой фотографию катода, сделанную вдоль линии A-A на фиг.1, после испытания проникновением гвоздя на элементе в соответствии с настоящим изобретением; и
фиг.3 представляет собой фотографию катода, сделанную вдоль линии B-B на фиг.1, после испытания проникновением гвоздя в элемент в соответствии с настоящим изобретением.
Наилучшие варианты осуществления изобретения
Теперь настоящее изобретение будет описываться подробно со ссылками на предпочтительные варианты его осуществления и прилагаемые чертежи.
При осуществлении испытаний по оценке безопасности элемента, таких как проникновение гвоздя, главная причина взрыва или возгорания элемента заключается в сильном омическом нагреве из-за токов, протекающих в области контакта между активными катодными материалами и активными анодными материалами, возникающей в результате деформации электродов, происходящей при проникновении проводящего гвоздя. Если внутренняя температура элемента из-за такого омического нагрева увеличивается выше критической точки, оксидная структура активных катодных материалов разрушается, приводя таким образом к термическому повреждению, и вследствие этого происходит возгорание или взрыв элемента.
Как правило, поскольку активный катодный материал представляет собой оксид, он имеет низкую электрическую проводимость и таким образом большее сопротивление по сравнению с активным анодным материалом, при этом, поскольку иглообразный проводник, такой как гвоздь, выполнен из металла, он имеет очень низкое сопротивление по сравнению с активным катодным или анодным материалом. Поэтому для улучшения безопасности элемента посредством понижения сопротивления области проникновения, возникающей при проникновении гвоздя, понижение сопротивления активного катодного материала представляет собой наиболее критичный фактор.
По этой причине авторы настоящего изобретения обнаружили, что указанная выше структурная модификация элемента в сборе может предотвратить непосредственный контакт между гвоздем и активным катодным материалом, возникающий при проникновении гвоздя, и тем самым предотвратить увеличение сопротивления из-за непосредственного контакта между гвоздем и активным катодным материалом.
Теперь настоящее изобретение будет описано более подробно со ссылками на фиг.1, схематически показывающую крайнюю снаружи часть в процессе, когда в структуру элемента в соответствии с настоящим изобретением проникает гвоздь.
Обращаясь к фиг.1, в элементе в соответствии с настоящим изобретением крайний снаружи электрод представляет собой катод 100, причем токосъемник 110 этого катода 100 имеет покрытие из активного материала 120 только на своей внутренней поверхности 114, а его наружная поверхность 112 не имеет покрытия из активного материала 120. В противоположность этому анод 300, расположенный напротив данного катода, опуская сепаратор 200 между этими катодом и анодом, имеет покрытие из активного материала 320 соответственно на обеих сторонах токосъемника 310. Для удобства иллюстрации на фиг.1 катод 100, сепаратор 200 и анод 300 показаны на расстоянии друг от друга (слегка), отличающемся от их реальной структуры.
При осуществлении испытания проникновением гвоздя на элементе с такой структурой, как показано на фиг.1, гвоздь 400 сначала вступает в контакт с крайним снаружи (самым внешним) катодным токосъемником 110, и по мере продолжения проникновения этот катодный токосъемник 110 прогибается вниз из-за вхождения гвоздя 400, и, в свою очередь, изгибается также покрытие из активного катодного материала 120 на внутренней поверхности 114 катодного токосъемника 110. Это происходит потому, что катодный токосъемник 110, изготовленный, как правило, из пластичного материала (например, алюминия), изгибается в направлении проникновения под действием направленной вниз силы со стороны гвоздя 400, таким образом удлиняясь посредством фрикционного контакта с гвоздем 400, и при этом активный материал 120, нанесенный в виде покрытия на внутреннюю поверхность 114 катодного токосъемника 110, заворачивается внутрь. По этой причине, даже когда гвоздь 400 достигает сепаратора 200 и активного материала 320, нанесенного в виде покрытия на анод 300, активный катодный материал 120, имеющий высокое электрическое сопротивление, не будет непосредственно контактировать с гвоздем 400. Фиг.2 и 3 показывают фотографии деформированной формы крайнего снаружи катода 100 после испытания проникновением, сделанные соответственно вдоль линии A-A и линии B-B на фиг.1. В частности, обращаясь к фиг.3, можно подтвердить, что вокруг области, через которую проникал гвоздь (не показан), наружная поверхность катодного токосъемника, на которой нет покрытия из активного катодного материала, вскрылась вниз. Черная часть на фиг.3 представляет собой активный катодный материал. По этой причине возможно обеспечение еще более низкого сопротивления по сравнению с тем, когда гвоздь непосредственно контактирует с активным катодным материалом, тем самым предотвращая повышение температуры внутри элемента выше критической точки, что приводит к предотвращению возгорания и взрыва элемента.
Как следствие, элемент по настоящему изобретению может гарантировать безопасность элемента без присоединения отдельного защитного устройства или введения химических добавок и не демонстрирует проблем известных аналогов, которые описаны выше.
В настоящем изобретении крайний снаружи катодный токосъемник предпочтительно имеет толщину, соответствующую 70-150% от толщины слоя покрытия из активного катодного материала. Это связано с тем, что если толщина катодного токосъемника составляет менее 70% от толщины слоя покрытия из активного катодного материала, то катодный токосъемник не претерпевает такой деформации, как описанная выше, и поэтому активный катодный материал с высоким электрическим сопротивлением будет непосредственно контактировать с гвоздем. С другой стороны, увеличение толщины токосъемника крайнего снаружи катода является преимущественным с точки зрения безопасности элемента, однако, если толщина крайнего снаружи катодного токосъемника превосходит 150% от толщины слоя покрытия из активного катодного материала, то толщина и масса элемента значительно увеличиваются, что является нежелательным по сравнению с другим случаем, когда его толщина не превосходит 150% от толщины слоя покрытия из активного катодного материала.
Элемент в соответствии с настоящим изобретением может иметь структуру «сдвоенного» (трехэлектродного) элемента, состоящую из катода/сепаратора/анода/сепаратора/катода, однако каких-либо конкретных ограничений на ее конструкцию не имеется. То есть предпочтительно элемент в соответствии с настоящим изобретением может также иметь структуру, включающую в себя множество «полных» (двухэлектродных) элементов, состоящих из катода/сепаратора/анода, или множество сдвоенных элементов, состоящих из последовательно уложенных в пакет катода/сепаратора/анода/сепаратора/катода или анода/сепаратора/катода/сепаратора/анода, и сепаратор, проложенный между каждым из элементов в этом пакете, как описывается в заявке на патент Кореи № 2001-5861, раскрытие которой включено сюда посредством ссылки во всей его полноте.
Вариант осуществления изобретения
Теперь настоящее изобретение будет описываться более подробно со ссылками на следующие далее примеры. Эти примеры приводятся только для иллюстрации настоящего изобретения и не должны рассматриваться как ограничивающие рамки и объем настоящего изобретения.
Пример 1: Получение пакетного элемента, имеющего катод с односторонним покрытием в качестве крайнего снаружи электрода
1.1. Получение катода
LiCoO2, углеродную сажу и ПВДФ (поливинилиденфторид) в массовом соотношении 95:2,5:2,5 диспергировали в N-МП (N-метилпирролидоне) с получением суспензии. Полученную таким образом суспензию наносили в виде покрытия на лист алюминиевой фольги, сушили в достаточной степени при температуре 130°C, а затем пропускали через прессующие (подпрессовывающие) валки с получением катода.
В этой связи катод, который должен быть помещен на крайней снаружи стороне крайнего снаружи сдвоенного элемента, покрывали суспензией только на одной стороне алюминиевой фольги («одностороннее покрытие»), в то время как катод сдвоенного элемента, который должен быть помещен внутри него, покрывали суспензией на обеих сторонах алюминиевой фольги.
Алюминиевую фольгу, которая представляла собой катодный токосъемник в катоде с односторонним покрытием, изготавливали имеющей толщину, соответствующую 50%, 60%, 70%, 80%, 90% и 100% от толщины слоя покрытия из активного катодного материала соответственно. Толщину катода с односторонним покрытием делали большей чем 90 мкм. Катод с двухсторонним покрытием имел толщину в 140 мкм.
1.2. Получение анода
Графит, ацетиленовую сажу и ПВДФ в массовом соотношении 94:1:5 диспергировали в N-МП с получением суспензии. Суспензию, полученную таким образом, наносили на обе стороны медного токосъемника. За этим следовала сушка в достаточной степени при температуре 80°C и пропускание через прессующие валки с получением анода. Анод с двухсторонним покрытием имел толщину в 138 мкм.
1.3. Получение сепаратора, разделительной пленки, полимерной пленки для полиэлектролита
Получали многослойную полимерную пленку, в которой полипропиленовая пленка, имеющая микропористую структуру и толщину 20 мкм, представляла собой первый полимерный слой, а сополимер поливинилиденфторида-хлортрифторэтилена 32008 (коммерчески доступен от Solvay Polymer Corp., США) представлял собой второй гелеобразующий полимерный слой. То есть указанный выше сополимер 32008 растворяли до концентрации 2-4% в ацетоне при температуре 50-60°C. Полученный прозрачный раствор, в котором сополимер 32008 полностью растворился, наносили в виде покрытия на обе стороны первого полимерного слоя, выполненного из полипропилена, посредством обычного способа нанесения покрытий. Толщина нанесенного сополимера 32008 составляла 1 мкм, а толщина конечной многослойной полимерной пленки составляла 22 мкм.
1.4. Получение расположенных внутри сдвоенных элементов
Катод с активным катодным материалом, нанесенным на обе стороны катодного токосъемника, разрезали на прямоугольники, имеющие размер 3 см x 5 см, за исключением участка, где должен формироваться вывод. Анод с активным анодным материалом, нанесенным на обе стороны анодного токосъемника, разрезали на прямоугольники, имеющие размер 3,1 см x 5,1 см, за исключением участка, где должен формироваться вывод.
Сдвоенные элементы получали следующим образом: один сдвоенный элемент получали посредством размещения анода с двухсторонним покрытием в средине и катода с двухсторонним покрытием – по обе стороны снаружи. Другой сдвоенный элемент получали посредством размещения катода с двухсторонним покрытием в средине и анода с двухсторонним покрытием – по обе стороны снаружи. При этом данные сдвоенные элементы получали посредством резания многослойной полимерной пленки, полученной в Разделе 1.3, до размера 3,2 см x 5,2 см и прокладывания ее между каждым катодом и анодом, при этом ламинируя (наслаивая) катоды и аноды при нагреве.
1.5. Получение расположенных снаружи по краям сдвоенных элементов
Сдвоенные элементы, которые должны располагаться по краям, получали следующим образом. Каждый из полученных в Разделе 1.1 катодов с активным катодным материалом, нанесенным на одну их сторону и на обе их стороны соответственно, разрезали на прямоугольники, имеющие размер 3 см x 5 см, за исключением участка, где должен формироваться вывод. Анод с активным анодным материалом, нанесенным на обе его стороны, разрезали на прямоугольники, имеющие размер 3,1 см x 5,1 см, исключая участки, где должен формироваться вывод. Указанный выше катод с односторонним покрытием, анод с двухсторонним покрытием и катод с двухсторонним покрытием последовательно укладывали в пакет, а затем между этими электродами прокладывали многослойные полимерные пленки, полученные в Разделе 1.3, которые были разрезаны до размера 3,2 x 5,2 см. За этим следовало их термическое связывание с получением сдвоенных элементов.
1.6. Укладка сдвоенных элементов в пакет
Сдвоенные элементы, полученные согласно описанному выше, последовательно укладывали в пакет посредством прокладывания указанных выше многослойных полимерных пленок между сдвоенными элементами.
1.7.1 Получение батареи
Батарею из уложенных в пакет сдвоенных элементов, полученную согласно указанному выше, помещали в образующий корпус (гермитизирующий) материал из ламината алюминия, а затем инжектировали жидкий электролит, содержащий EC/EMC (этилцеллюлозу/этилметилцеллюлозу) в массовом соотношении 1:2 в 1M LiPF6, а затем герметизировали.
Сравнительный пример 1: Получение пакетного элемента, имеющего анод с односторонним покрытием в качестве крайнего снаружи электрода
Батарею получали посредством осуществления такой же процедуры, как и в примере 1, за исключением того, что в качестве крайнего снаружи электрода использовали анод с односторонним покрытием.
Сравнительный пример 2: Получение пакетного элемента, имеющего катод с двухсторонним покрытием в качестве крайнего снаружи электрода
Батарею получали посредством осуществления такой же процедуры, как и в примере 1, за исключением того, что в качестве крайнего снаружи электрода использовали катод с двухсторонним покрытием.
Сравнительный пример 3: Получение пакетного элемента, имеющего анод с двухсторонним покрытием в качестве крайнего снаружи электрода
Батарею получали посредством осуществления такой же процедуры, как и в примере 1, за исключением того, что в качестве крайнего снаружи электрода использовали анод с двухсторонним покрытием.
Батареи, полученные в примере 1 и сравнительных примерах 1-3, заряжали (CC-CV, порог отсечения 50 мА) до 4,2, 4,25, 4,3 и 4,35 В электрическим током, соответствующим 1/2 C емкости элемента соответственно, и осуществляли испытания проникновением гвоздя посредством проникновения через эти элементы железного иглообразного проводника, имеющего диаметр 2,5 мм. Количество образцов согласно соответствующим условиям составляло в сумме 30, и результаты испытаний оценивали по количеству образцов, которые взорвались во время испытания проникновением гвоздя. Результаты испытаний показаны ниже в таблице 1.
| Таблица 1 |
| |
Пример 1 |
Сравнительный пример 1 |
Сравнительный пример 2 |
Сравни- тельный пример 3 |
| Толщина токосъемника (%)* |
50 |
60 |
70 |
80 |
90 |
100 |
50 |
60 |
70 |
80 |
90 |
100 |
|
|
| 4,20 В |
7 |
5 |
0 |
0 |
0 |
0 |
14 |
13 |
11 |
13 |
13 |
10 |
15 |
17 |
| 4,25 В |
8 |
8 |
0 |
0 |
0 |
0 |
16 |
17 |
17 |
16 |
19 |
15 |
16 |
17 |
| 4,3 В |
10 |
9 |
0 |
0 |
0 |
0 |
15 |
17 |
18 |
17 |
15 |
16 |
14 |
18 |
| 4,35 В |
10 |
10 |
0 |
0 |
0 |
0 |
15 |
15 |
15 |
17 |
19 |
17 |
19 |
16 |
| *(Толщина токосъемника крайнего снаружи электрода с односторонним покрытием/толщина слоя покрытия из активного электродного материала) × 100 |
Было обнаружено, что все элементы согласно сравнительным примерам взорвались, в то время как элементы согласно примеру 1 в соответствии с настоящим изобретением не взорвались, за исключением элементов с толщиной токосъемника менее 70%.
Как видно из приведенного выше описания, элемент в соответствии с настоящим изобретением может реализовать улучшение безопасности элемента посредством устранения непосредственного контакта между активным катодным материалом и иглообразным проводником при осуществлении испытания проникновением гвоздя и тем самым предотвратить возгорание или взрыв элемента из-за внутреннего короткого замыкания.
Хотя выше в иллюстративных целях были раскрыты предпочтительные варианты осуществления настоящего изобретения, специалисты в данной области поймут, что возможны различные модификации, дополнения и замены, без отклонения от рамок и духа настоящего изобретения, охарактеризованного в прилагаемой формуле изобретения.
Формула изобретения
1. Батарея, в которой из электродов, составляющих сборку элементов, два крайних снаружи электрода оба представляют собой катоды, катодные токосъемники этих катодов покрыты с одной стороны активными катодными материалами на своих первых поверхностях, другие стороны катодных токосъемников, не покрытые активными катодными материалами, обращены наружу сборки элементов, и толщина (крайних снаружи) катодных токосъемников составляет 70÷150% от толщины слоя покрытия из активного катодного материала, при этом, когда в сборку элементов проникает иглообразный проводник, катодный токосъемник, непокрытый активным катодным материалом, изгибается в направлении проникновения так, что активный катодный материал, имеющий высокое электрическое сопротивление, непосредственно не контактирует с этим иглообразным проводником.
2. Батарея по п.1, в которой сборка элементов содержит сдвоенные элементы, состоящие из катода/сепаратора/анода/сепаратора/катода.
3. Батарея по п.1, в которой сборка элементов представляет собой пакетную сборку элементов со структурой, включающей в себя единичные элементы, выбранные из группы, образованной полными элементами, состоящими из катода/сепаратора/анода, и сдвоенными элементами, состоящими из последовательно уложенных в пакет катода/сепаратора/анода/сепаратора/катода или анода/сепаратора/катода/сепаратора/анода, и сепараторы, проложенные между каждым из уложенных в пакет полных элементов или сдвоенных элементов.
РИСУНКИ
|
|