|
|
(21), (22) Заявка: 2006105755/09, 26.07.2004
(24) Дата начала отсчета срока действия патента:
26.07.2004
(30) Конвенционный приоритет:
29.07.2003 US 10/629,006
(43) Дата публикации заявки: 10.07.2006
(46) Опубликовано: 20.01.2008
(56) Список документов, цитированных в отчете о поиске:
RU 2018758 С1, 19.06.1991. SU 1344931 А1, 15.10.1987. US 4911203 А, 27.03.1990. US 4327770 A, 04.05.1982.
(85) Дата перевода заявки PCT на национальную фазу:
28.02.2006
(86) Заявка PCT:
US 2004/025426 (26.07.2004)
(87) Публикация PCT:
WO 2005/013393 (10.02.2005)
Адрес для переписки:
123242, Москва, Кудринская пл., 1, а/я 35, “Михайлюк, Сороколат и партнеры – патентные поверенные”, пат.пов. Е.Л.Носыревой, рег.№ 886
|
(72) Автор(ы):
АДАМЗ Пол (US), КУРЕЛЛО Эндрю Дж. (US), ФЭРБАНКС Флойд (US)
(73) Патентообладатель(и):
СОСЬЕТЕ БИК (FR)
|
(54) ТОПЛИВНЫЙ БАЛЛОНЧИК С СОЕДИНИТЕЛЬНЫМ КЛАПАНОМ
(57) Реферат:
Изобретение относится, в целом, к топливным баллончикам для топливных элементов и, в частности, это изобретение относится к расходным и перезаправляемым топливным баллончикам. Кроме того, это изобретение относится к клапану, соединяющему топливный баллончик с топливным элементом или заправочным устройством. Согласно изобретению отсечный или соединительный клапан 10 подсоединяет источник топлива 16 к топливному элементу 18. Клапан имеет первый компонент 12 клапана и второй компонент 14 клапана. Каждый компонент 12, 14 клапана имеет наружный корпус 20 и смещенный скользящий элемент 22, размещенный внутри корпуса 20, образующий внутреннее уплотнение. В процессе соединения, два компонента 12, 14 клапана образуют межкомпонентное уплотнение. Затем в одном приемлемом варианте осуществления скользящий элемент 20 перемещается вовнутрь и открывает внутреннее уплотнение в компоненте 12, 14 клапана для образования пути потока. В других вариантах осуществления размеры, по меньшей мере, одного компонента клапана выбраны такими, чтобы ограничить доступ к внутреннему уплотнению. Техническим результатом является хранение разных видов топлива для топливных элементов, подача топлива из источника топлива в топливный элемент. 7 н. и 55 з.п. ф-лы, 31 ил.
Область изобретения
Это изобретение относится, в целом, к топливным баллончикам для топливных элементов и, в частности, это изобретение относится к расходным и перезаправляемым топливным баллончикам. Кроме того, это изобретение относится к клапану, соединяющему топливный баллончик с топливным элементом или заправочным устройством.
Предпосылки изобретения
Топливные элементы – это устройства, непосредственно преобразующие химическую энергию реагентов, т.е. топлива и окислителя, в электрическую энергию постоянного тока. Для растущего числа применений топливные элементы являются более эффективными, чем обычное генерирование энергии, например, при сгорании ископаемого топлива, и более эффективными, чем портативное аккумулирование энергии, например ионно-литиевые батареи.
Обычно технологии топливных элементов включают самые разные топливные элементы, например щелочные топливные элементы, топливные элементы с полимерным электролитом, фосфорнокислые топливные элементы, топливные элементы с плавленым карбонатом, топливные элементы на твердом оксиде и ферментные топливные элементы. Сегодняшние представляющие большую важность топливные элементы можно разбить на три общие категории, а именно: топливные элементы, в которых в качестве топлива используется сжатый водород (H2), топливные элементы с протонообменной мембраной (ПОМ), в которых в качестве топлива используется метанол (СН3ОН), борогидрид натрия (NaBH4), углеводороды (например, бутан) или другие топлива, риформированные в водород, и топливные элементы с ПОМ, в которых в качестве топлива используется непосредственно метанол (СН3ОН) (“топливные элементы непосредственно на метаноле” или ТЭНМ). Сжатый водород обычно поддерживается под высоким давлением, и поэтому с ним трудно обращаться. Кроме того, обычно требуются большие баки для хранения, которые невозможно сделать достаточно малогабаритными для использования в потребительских электронных устройствах. Обычные топливные элементы на продуктах риформинга требуют риформинг-установок и иных испарительных и вспомогательных систем для преобразования топлив в водород для реакции с окислителем в топливном элементе. Последние достижения делают топливные элементы на продуктах риформинга перспективными для потребительских электронных устройств. ТЭНМ, в котором метанол реагирует с окислителем непосредственно в топливном элементе, представляет собой простейший и потенциально наименьший топливный элемент и является наиболее перспективным в энергетическом отношении для использования в потребительских электронных устройствах.
ТЭНМ для относительно более крупногабаритных случаев применения обычно имеет вентилятор или компрессор для подачи окислителя, обычно воздуха или кислорода, на электрод-катод, насос для подачи смеси воды и метанола на электрод-анод и мембранно-электродное устройство (МЭУ). МЭУ обычно состоит из катода, ПОМ и анода. При работе жидкая топливная смесь воды и метанола подается непосредственно на анод, а окислитель – на катод. Электрохимическая реакция на каждом электроде и общая реакция для топливного элемента описываются следующим образом.
Реакция на аноде:

Реакция на катоде:

Общая реакция топливного элемента:

Из-за миграции ионов водорода (Н+) через ПОМ из анода через катод и из-за неспособности свободных электронов (e–) проходить через ПОМ эти электроны должны проходить по внешней цепи, что создает во внешней цепи электрический ток. Внешней цепью могут быть любые полезные потребительские электронные устройства, например мобильные или сотовые телефоны, калькуляторы, персональные цифровые ассистенты и дорожные компьютеры и др. ТЭНМ описан в патентах США №№5992008 и 5945231, которые полностью включаются ссылкой в эту заявку. Обычно ПОМ изготовлена из полимера, например Nafion®, выпускаемого корпорацией DuPont, который представляет собой перфторированный материал толщиной примерно от 0,05 мм примерно до 0,50 мм, или других приемлемых мембран. Анод обычно выполнен в виде опоры из пропитанной тефлоном (политетрафторэтиленом) копировальной бумаги с осажденным на ней тонким слоем катализатора, например платины-рутения. Катодом обычно служит газодиффузионный электрод, в котором с одной стороны мембраны связаны частицы платины.
Реакция в элементе для топливного элемента на продукте риформинга борогидрида натрия:



К числу приемлемых катализаторов относятся среди других металлов платина и рутений. Водородное топливо, полученное риформингом борогидрида натрия, реагирует в топливном элементе с окислителем, например О2, с получением электрической энергии (или потока электронов) и побочного продукта – воды. В процессе риформинга получается еще один побочный продукт – борат натрия (NaBO2). Топливный элемент на борогидриде натрия рассмотрен в опубликованной патентной заявке США №2003/0082427, которая ссылкой включается в настоящую заявку.
Одной из важнейших особенностей для применения ТЭНМ является хранение топлива. Другая важная особенность – регулирование подачи топлива из топливного баллончика в МЭУ. Для того чтобы выпускаться в промышленных масштабах, топливные элементы, как, например, системы ТЭНМ, должны обладать способностью хранить достаточное количество топлива для удовлетворения обычных требований потребителей. Например, для мобильных или сотовых телефонов, ноутбуков и персональных цифровых ассистентов топливные элементы должны питать эти устройства по меньшей мере столь же длительно, что и нынешние элементы питания, и, предпочтительно, намного дольше. Кроме того, топливные элементы должны иметь легко заменяемые или перезаправляемые топливные емкости или избавлять от необходимости длительных перезарядок, которые требуются для сегодняшних перезаряжаемых аккумуляторных батарей.
Существует, однако, необходимость в соединительном клапане, соединяющем топливный баллончик с топливным элементом или заправочным устройством и отсоединяющего его от них.
Краткое описание изобретения
Таким образом, настоящее изобретение относится к источнику топлива, приспособленному для использования с топливным элементом.
Кроме того, настоящее изобретение относится к источнику топлива, приспособленному для использования с топливным элементом непосредственно на метаноле.
Кроме того, настоящее изобретение относится к источнику топлива, предназначенному для использования с топливным элементом на продукте риформинга.
Кроме того, настоящее изобретение относится к источнику топлива, имеющему клапан, способный соединять источник топлива с топливным элементом. Источником топлива может быть среди других источников топлива топливный баллончик, топливный контейнер или топливная линия, а топливный элемент имеет факультативный насос. Соединительный клапан можно использовать при подаче топлива из источника топлива в топливный элемент, а также при подаче побочных продуктов из топливного элемента обратно в источник топлива или контейнер для отходов. Источник топлива может иметь несколько соединительных клапанов.
Один аспект настоящего изобретения относится к клапану, имеющему два компонента, способные подсоединять источник топлива к топливному элементу. Каждый компонент клапана имеет корпус и смещенное скользящее внутреннее тело, которое взаимодействует с уплотнительным элементом, образуя внутреннее уплотнение в каждом компоненте клапана. При соединении два компонента клапана образуют межкомпонентное уплотнение, по крайней мере, перед тем, как внутренние уплотнения открываются для создания пути потока текучей среды через клапан.
Один компонент клапана соединяется с источником топлива, а другой – с топливным элементом. Скользящее внутреннее тело может быть сферой или головкой клапана с элементом тела или подобным. Скользящее внутреннее тело может иметь толкатель, контактирующий с противоположным скользящим внутренним телом. Скользящее внутреннее тело смещается пружинным элементом, которым может быть цилиндрическая (винтовая) пружина, пружина с волнистыми боковыми стенками, сжатый вспененный материал, пружина из эластомера или каучука и т.п. Жесткость пружин в обоих компонентах клапана может быть практически одинаковой или существенно отличаться. В одном примере жесткость пружины в компоненте клапана, соединенном с топливным элементом, меньше жесткости пружины в компоненте клапана, соединенном с источником топлива, и при этом внутреннее уплотнение в компоненте клапана, соединенном с топливным элементом, открывается первым.
Уплотнительным элементом могут быть уплотнительное кольцо, уплотнительная поверхность, шайба, шарик из эластомера и т.п. Межкомпонентное уплотнение может образовываться между любыми частями противоположных компонентов клапана. Например, оно может образовываться между частью корпуса одного компонента клапана и уплотнительным элементом другого компонента клапана или между корпусом одного компонента клапана и корпусом другого компонента клапана. Межкомпонентное уплотнение может образовываться до того, как открывается любое внутреннее уплотнение, или после того, как открывается внутреннее уплотнение компонента клапана, соединенного с топливным элементом.
Путь потока текучей среды можно образовать в пространстве между корпусом и скользящим внутренним телом или в одном или нескольких каналах, выполненных на одном или обоих внутренних скользящих телах. Кроме того, клапан может иметь удерживающий жидкость материал, окружающий первый и второй компоненты клапана или внутри одного или обоих компонентов клапана, где удерживающий жидкость материал находится за внутренним уплотнением компонента клапана в направлении потока. Кроме того, клапан может иметь и фиксатор, удерживающий два компонента клапана в соединенном положении.
Одно или оба внутренние уплотнения могут открываться насосом, или же этот насос, будучи выключенным, может создавать внутреннее уплотнение компонента клапана. Один или оба компонента клапана могут иметь второе внутреннее уплотнение, которым может быть закрытая шайба или клапан с качающимся рычагом (duckbill valve). Размеры механической лопатки могут выбираться такими, чтобы ограничить доступ к внутреннему уплотнению. По меньшей мере один из компонентов клапана может иметь наконечник или втулку, размеры которых выбраны такими, чтобы ограничить доступ к внутреннему уплотнению.
Другой аспект настоящего изобретения относится к клапану, имеющему два компонента клапана, способные подсоединять источник топлива к топливному элементу. Первый компонент клапана имеет наружный корпус, смещенную втулку, скользящую относительно наружного корпуса, и материал наполнителя, содержащийся внутри смещенной втулки. Второй компонент клапана имеет наружный корпус, втулку и материал наполнителя, содержащийся внутри втулки. При соединении первая и вторая втулки давят друг на друга, и материалы наполнителя упираются друг в друга с образованием пути потока текучей среды через клапан. Втулка во втором компоненте клапана может быть неподвижной относительно корпуса или может скользить относительно корпуса.
Что касается этого клапана, при соединении два компонента клапана образуют между собой межкомпонентное уплотнение, предпочтительно, перед тем, как образуется путь потока топлива. Скользящая муфта смещена пружинным элементом, которым может быть цилиндрическая (винтовая) пружина, пружина с волнистыми боковыми стенками, сжатый вспененный материал, пружина из эластомера или каучука и т.п. При соединении первая втулка отжимается и открывает по меньшей мере часть материала наполнителя. Материал наполнителя во втулке может находиться сзади переднего края втулки для образования полости, и размеры открытой части материала наполнителя в первой втулке выбраны такими, чтобы входить в эту полость.
Кроме того, этот клапан может также содержать удерживающий жидкость материал, расположенный на расстоянии от пути потока текучей среды. Удерживающий жидкость материал может быть набухающим от жидкости материалом и может иметь содержащуюся(-иеся) в нем добавку(-и). Удерживающий жидкость материал может размещаться в кольцевой зоне между наружным корпусом и втулкой в компоненте клапана. Кроме того, этот клапан может иметь наконечник или наружную втулку, размеры которых выбраны такими, чтобы ограничить доступ к компоненту клапана.
В соответствии с еще одним аспектом изобретения клапан имеет также удерживающий жидкость материал, размещенный по меньшей мере в одном компоненте клапана, способный удерживать топливо или иные текучие среды, остающиеся в клапане после отсоединения одного компонента клапана от другого. Удерживающий жидкость материал находится за внутренним уплотнением компонента клапана в направлении потока.
В соответствии с еще одним аспектом изобретения первый компонент клапана имеет корпус и внутреннее уплотнение, образованное скользящим внутренним телом, смещенным относительно уплотнительного элемента, а второй компонент клапана может иметь клапан с качающимся рычагом. При соединении корпус входит в клапан с качающимся рычагом и открывает внутреннее уплотнение клапана с качающимся рычагом и образует межкомпонентное уплотнение, по крайней мере, до того как внутренние уплотнения открываются для создания пути потока текучей среды через клапан. Для открытия внутреннего уплотнения в первом компоненте клапана может использоваться насос. Клапан с качающимся рычагом имеет выступы, которые образуют по меньшей мере одну камеру с внутренней поверхностью корпуса первого компонента клапана, причем при отсоединении клапана топливо под давлением, если таковое имеется, может поступать в камеру и сбрасывать давление. Клапан с качающимся рычагом может содержать удерживающий жидкость материал, предназначенный для впитывания топлива, или добавку, которая может смешиваться с топливом. Второй компонент клапана может иметь и второе внутреннее уплотнение.
Краткое описание графического материала
На прилагаемых чертежах, которые являются неотъемлемой частью настоящего описания и должны рассматриваться вместе с ним, для обозначения одинаковых деталей на разных видах используются одинаковые позиции:
фиг.1(а) представляет собой разрез двух рассоединенных компонентов клапана одного варианта осуществления настоящего изобретения; фиг.1(b) представляет собой разрез двух компонентов клапана, показанных на фиг.1(а), в контакте между собой; и фиг.1(с) представляет собой разрез двух компонентов клапана, показанных на фиг.1(а) и 1(b), соединенных между собой, чтобы позволить топливу протекать из баллончика в топливный элемент;
фиг.2(а) представляет собой разрез альтернативного компонента клапана фиг.1(а)-(с); фиг.2(b) и 2(с) представляют собой разрезы других альтернативных компонентов клапана;
фиг.3(а) и (b) представляют собой схематические изображения компонентов клапана на фиг.1(а)-(с), иллюстрируя альтернативные пути потока, причем некоторые детали для наглядности упущены; на фиг.3(с) показан альтернативный компонент клапана фиг.3(а); и на фиг.3(d) показан альтернативный путь потока через компоненты клапана;
фиг.4(а) представляет собой разрезы фиг.3(а) по линии 4а-4а, а фиг.4(b) представляет собой разрезы фиг.3(d) по линии 4b-4b;
фиг.5 представляет собой разрезы приемлемых уплотнительных колец;
фиг.6 представляет собой разрез другого варианта осуществления предлагаемого клапана;
фиг.7(а) представляет собой разрез двух компонентов клапана другого варианта осуществления настоящего изобретения с межкомпонентным уплотнением, образованным между двумя компонентами клапана; фиг.7(b) представляет собой разрез двух компонентов клапана, показанных на фиг.7(а), с открытым внутренним уплотнением в одном из компонентов клапана; и фиг.7(с) представляет собой разрез двух компонентов клапана, показанных на фиг.7(а) и 7(b) с открытыми обоими внутренними уплотнениями;
фиг.8(а) представляет собой разрез двух рассоединенных компонентов еще одного варианта осуществления настоящего изобретения; а фиг.8(b) представляет собой разрез двух компонентов, показанных на фиг.8(а), соединенных между собой, чтобы позволить топливу протекать из баллончика в топливный элемент;
фиг.9(а) представляет собой разрез двух рассоединенных компонентов еще одного варианта осуществления настоящего изобретения; а фиг.9(b) представляет собой разрез двух компонентов, показанных на фиг.9(а), соединенных между собой;
фиг.10 представляет собой разрезы приемлемых уплотнений на фиг.9(а) и 9(b);
фиг.11(а) представляет собой разрез двух рассоединенных компонентов еще одного варианта осуществления настоящего изобретения; фиг.11(b) представляет собой разрез двух компонентов, показанных на фиг.11(а), соединенных между собой; и фиг.11(с) представляет собой альтернативный вариант осуществления фиг.11(а);
фиг.12(а) представляет собой разрез еще одного варианта осуществления предлагаемого клапана; фиг.12(b) представляет собой разрез компонента клапана, показанного на фиг.12(а), соединенного с соответствующим компонентом клапана; и фиг.12(с) представляет собой альтернативный вариант осуществления фиг.12(b);
фиг.13 представляет собой разрез еще одного предлагаемого компонента клапана;
фиг.14 представляет собой разрез еще одного предлагаемого компонента клапана;
фиг.15 представляет собой разрезы альтернативных резиновых пружин.
Подробное описание вариантов осуществления
Как показано на прилагаемых чертежах и подробно описывается ниже, настоящее изобретение относится к источнику топлива, предназначенному для хранения разных видов топлива для топливных элементов, например метанол и вода, смесь метанола и воды, смеси метанола и воды разных концентраций или чистый метанол. Метанол используется во многих видах топливных элементов, например ТЭНМ, ферментный топливный элемент, топливный элемент на продуктах риформинга и др. Источник топлива может содержать другие виды топлива для топливных элементов, например этанол или спирты, химические вещества, которые можно риформингом преобразовать в водород, или другие химические вещества, которые могут улучшить характеристики или эффективность топливных элементов. Кроме того, топлива включают водный электролит гидроксида калия (КОН), который используется с металлическими или щелочными топливными элементами и может храниться в источниках топлива. В случае металлических топливных элементов топливо находится в виде частиц цинка, переносящих текучую среду, погруженных в электролитический реакционный раствор КОН, а аноды в полостях элемента представляют собой аноды, образованные из частиц цинка. Топливо КОН описано в опубликованной патентной заявке США №2003/0077493, озаглавленной “Способ использования системы топливного элемента, выполненной для запитывания одной или нескольких нагрузок”, опубликованной 24 апреля 2003 г., которая данной ссылкой полностью включается в настоящее описание. Кроме того, топлива включают смесь метанола, пероксида водорода и серной кислоты, протекающей по катализатору, образованному на силиконовой крошке, для вызывания реакции в топливном элементе. Кроме того, топлива включают водный борогидрид натрия (NaBH4) и воду, описанные выше. Кроме того, топлива включают углеводородные топлива, в том числе среди прочих бутан, керосин, спирт и природный газ, описанные в опубликованной патентной заявке США №2003/0096150 “Устройство топливного элемента с жидким гетероинтерфейсом” (Liquid Hetero-Interface Fuel Cell Device), опубликованной 22 мая 2003 г., которая данной ссылкой полностью включается в настоящее описание. Кроме того, топлива включают жидкие окислители, которые реагируют с топливами. Настоящее изобретение, таким образом, не ограничивается каким-либо видом топлив, электролитических растворов или жидкостей, содержащихся в источнике топлива. Термин “топливо”, используемый в тексте настоящего описания, охватывает все виды топлива, которые могут реагировать в любых топливных элементах, и охватывает все указанные выше приемлемые топлива, электролитические растворы, растворы окислителей, жидкости и(или) химические вещества и их смеси.
Кроме того, термин “источник топлива”, используемый в тексте настоящего описания, охватывает среди прочих источников топлива топливные баллончики, топливные контейнеры и топливные линии. Примерные варианты осуществления настоящего изобретения описываются ниже для случая топливного баллончика. Понятно, однако, что настоящее изобретение пригодно для использования с любым источником топлива, указанным выше. Кроме того, термин “топливный элемент”, используемый в тексте настоящего описания, включает факультативный насос, который может находиться внутри электрического компонента, запитываемого топливным элементом. Этот насос может подключаться и к источнику топлива.
Кроме того, отсечные или соединительные клапаны, рассмотренные в настоящем описании, предназначены для подачи топлива из источника топлива в топливный элемент и для подачи жидких и(или) газообразных побочных продуктов, полученных в топливном элементе, обратно в источник топлива или в контейнер для отходов. Хотя настоящее изобретение подробно описывается ниже в отношении подачи топлива из источника топлива в топливный элемент, понятно, что предлагаемые клапаны могут использоваться и для передачи текучих сред, например жидкости или газа, в источник топлива и из него и(или) в топливный элемент и из него.
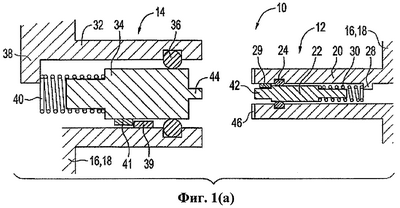
В соответствии с одним вариантом осуществления настоящего изобретения отсечный или соединительный клапан 10 имеет по меньшей мере первый компонент 12 клапана и второй компонент 14 клапана, как показано на фиг.1(а). Первый компонент 12 клапана и второй компонент 14 клапана могут сопрягаться либо с топливным баллончиком 16 или топливным элементом 18. Баллончики топливных элементов и топливные элементы раскрыты в заявке на патент №10/356793 “Топливный контейнер для топливных элементов” (Fuel Cartridge for Fuel Cells), поданной 31 января 2003 г., которая также принадлежит Заявителю и находится в настоящее время на стадии рассмотрения. Заявка на патент №10/356793 данной ссылкой полностью включается в настоящее описание.
В этом исполнении первый компонент 12 клапана имеет такие же элементы, что и второй компонент 14 клапана. Первый компонент 12 клапана имеет корпус 20, который заключает в себе скользящее тело 22 и уплотнительное кольцо 24. Скользящее тело 22 вместе с уплотнительным кольцом 24 образуют внутреннее уплотнение, которое предотвращает передачу топлива из первого компонента 12 клапана, когда этот компонент клапана не подсоединен. Пружина 30, упирающаяся в упор 28, смещает тело 22, и тело 22 перемещается с преодолением сопротивления пружины 30. Кроме того, корпус 20 имеет фиксатор 29, предназначенный для удерживания тела 22 внутри корпуса. Аналогичным образом, второй компонент 14 клапана имеет корпус 32, скользящее тело 34 и уплотнительное кольцо 36. Пружина 40 упирается в упор 38 и смещает скользящее тело 34. Скользящее тело 34 вместе с уплотнительным кольцом 36 образует внутреннее уплотнение, которое предотвращает передачу топлива через этот компонент клапана, когда он не подсоединен. Скользящее тело 34 перемещается с преодолением сопротивления пружины 40. Кроме того, корпус 32 и скользящее тело 34 имеют фиксирующие элементы 39 и 41 соответственно, предназначенные для удерживания скользящего тела 34 внутри корпуса. Кроме того, как показано на фиг.1(а)-(с), уплотнительные кольца показаны находящимися в канавках, выполненных на корпусах 20 и 32 соответственно. Альтернативно, эти уплотнительные кольца могут находиться в канавках, выполненных на скользящих телах 22 и 34.
Для того чтобы подсоединить топливный баллончик к топливному элементу и подать топливо из топливного баллончика в топливный элемент, первый элемент 12 вставляется во второй элемент 14, как показано на фиг.1(b) и 1(с). При приведении двух компонентов клапана в контакт друг с другом, толкатель 42 на скользящем теле 22 вступает в контакт с толкателем 44 на скользящем теле 24 и действует на него. Когда толкатели 42 и 44 давят друг на друга, пружины 30 и 40 скользящими телами 22 и 34 частично сжимаются. Пружины 30 и 40 могут иметь одинаковое сопротивление или жесткость, и при этом внутренние уплотнения в компонентах клапана открываются одновременно. Альтернативно, пружины 30 и 40 могут иметь различные жесткости, и при этом одно внутреннее уплотнение избирательно открывается раньше другого. Как показано на фиг.1(b), пружина 30 имеет меньшую жесткость, в результате чего уплотнение в первом компоненте 12 клапана избирательно открывается первым. Предпочтительно, перед тем как откроется внутреннее уплотнение в первом компоненте 12 клапана, корпус 20 первого компонента 12 клапана вместе с уплотнительным кольцом 36 второго компонента 14 клапана образуют межкомпонентное уплотнение. При дальнейшем проталкивании друг друга первым и вторым компонентами 12 и 14 клапана, тело 22 вступает в контакт с упором 28 и останавливается, как показано на фиг.1(с), или пружина 30 полностью сжимается, и тело 22 останавливается, в результате чего корпус 34 второго компонента 14 клапана отходит от уплотнительного кольца 36. Каналы 46, образованные на переднем крае корпуса 20, перемещаются за уплотнительным кольцом 36 и открываются в канал потока из топливного баллончика в топливный элемент, показано на фиг.1(с). В зависимости от жесткости пружины 30 каналы 46 могут перемещаться за уплотнительным кольцом 36 и без необходимости остановки тела 22. Если бы с топливным баллончиком сопрягался второй компонент 14 клапана, линия потока была бы в противоположном направлении. Для защиты уплотнительного кольца 36 от повреждения, вызванного вставкой компонента 12 клапана в компонент 14 клапана, на корпусе 32 можно предусмотреть вводную фаску.
Альтернативно, меньшую жесткость может иметь пружина 40, в результате чего уплотнение во втором компоненте 14 клапана открывается раньше, чем уплотнение в первом компоненте 12 клапана. В соответствии с одним аспектом настоящего изобретения пружина, находящаяся в электронном устройстве или топливном элементе, слабее, в результате чего компонент клапана, подсоединенный к электронному устройству и топливному элементу, избирательно открывается первым.
Первый и второй компоненты 12 и 14 клапана могут иметь взаимозаменяемые исполнения, как показано на фиг.2(а), 2(b) и 2(с). Компонент клапана, показанный на фиг.2(а), имеет корпус 48, заключающий в себе шарик 50, скользящий внутри корпуса 48, и уплотнительное кольцо 52. Шарик 50 прижат к уплотнительному кольцу 52 пружиной 30 или 40. Между шариком 50 и уплотнительным кольцом 52 образовано внутреннее уплотнение, а корпус 48 имеет отверстие 54, размеры которого подобраны таким образом, чтобы в него входил толкатель 42 или 44. Толкатель 42 или 44 вступает в контакт с шариком 50 и толкает его назад, в результате чего внутреннее уплотнение открывается. Компонент клапана, показанный на фиг.2(b), имеет корпус 48, заключающий в себе скользящее тело 56, имеющее поверхность уплотнения 58, предназначенную для образования вместе с выступом 60 корпуса 48 внутреннего уплотнения. Компонент клапана, показанный на фиг.2(с), подобен показанному на фиг.2(а), за исключением того, что уплотнительное кольцо 52 заменено уплотнительным элементом 59. Уплотнительный элемент 59 предпочтительно представляет собой уплотнительное кольцо, имеющим треугольное поперечное сечение с тремя поверхностями. Две из этих поверхностей прижаты заподлицо с выступом 60, а третья поверхность вместе с шариком 50 образует, как показано, уплотнение. Шарик 50 предпочтительно изготовлен из эластомерного каучука, металла или металла с покрытием из эластомерного каучука. Уплотнительные элементы и уплотнительные кольца можно изготавливать из того же материала, например из эластомерных каучуков, включая Buna N Nitrile, другие нитрильные каучуки, каучук на основе тройного сополимера этилена, пропилена и диенового метилена или фторэластомер Vitron®, в зависимости от топлива, хранящегося в источнике топлива.
Для того чтобы открыть уплотнение, толкатель 42 или 44 входит в отверстие 54 и отталкивает тело 56 или шарик 50 назад, преодолевая при этом смещающее усилие пружины 30 или 40. Действие или последовательность создания пути потока внутри компонентов 12 или 14 клапана, показанных на фиг.2(а), 2(b и 2(с), аналогично действию, рассмотренному в связи в фиг.1(а)-(с) выше, т.е., межкомпонентное уплотнение между двумя компонентами клапана создается до того, как открываются внутренние уплотнения.
На фиг.3(а) и 3(b) показан альтернативный путь потока топлива из топливного баллончика в топливный элемент. Скользящее тело 22 имеет один или несколько каналов 62, а скользящее тело 34 имеет один или несколько каналов 64. Если два компонента клапана разъединены, ближние концы каналов 62 и 64 заканчиваются на уплотнительных кольцах 26 и 36 соответственно или перед ними. Дальние концы этих каналов заканчиваются на толкателях 42 и 44 соответственно, и эти дальние концы расположены точно напротив друг друга. После приведения толкателей в контакт каналы 62 и 64 сообщаются между собой по текучей среде. Однако поток топлива может начаться только после того, как ближние концы каналов 62 и 64 выдавлены за уплотнительные кольца. Линия потока на фиг.3(b) иллюстрирует путь потока топлива. И в этом случае линию потока топлива можно развернуть на противоположную в зависимости от того, как компонент клапана сопрягается с топливным баллончиком.
Альтернативный путь потока показан на фиг.3(с); на этой фигуре перед соединением двух компонентов клапана каналы 62 и 64 находятся перед уплотнительными кольцами. После соединения компонентов клапана путь потока топлива является таким, как показано на фиг.3(b). Фиг.3(d) служит иллюстрацией тому, что каналы 62 и 64 могут иметь канал в продольном направлении и канал в поперечном направлении. Эти каналы можно легко выполнить в скользящих телах механическим путем в процессе изготовления или можно получить формовкой или литьем под давлением.
На фиг.4(а) и 4(b) показаны формы и места, которые каналы могут иметь и в которых могут находиться. Эти каналы могут находиться на поверхности толкателей 42 и 44 или внутри этих толкателей. В толкателях или скользящих телах может находиться любое число каналов. На фиг.5 показаны возможные поперечные сечения уплотнительных колец, описанных в настоящей заявке, в том числе треугольные, квадратные, круглые, овальные или многоугольные.
Как показано на фиг.6, любой вариант осуществления компонента 12 или 14 клапана, показанный в настоящей заявке, может использоваться с любым иным вариантом осуществления. Как показано, компонент клапана, проиллюстрированный на фиг.2(b), используется вместе с компонентом клапана, проиллюстрированным на фиг.3(с). Размеры толкателя 42 или 44 выполнены такими, чтобы он входил в отверстие 54. Перед тем как откроются внутренние уплотнения внутри компонентов клапана, т.е., между скользящим телом 22 или 34 и уплотнительным кольцом 24 или 36 или между уплотнительной поверхностью 58 и выступом 60, вторая уплотнительная поверхность 66 одного компонента клапана вместе с другой наружной поверхностью выступа 60 другого компонента клапана образуют межкомпонентное уплотнение. После того как толкатель 42 или 44 вступает в контакт с уплотнительным элементом 58 и отдавливает его назад, он открывает внутренние уплотнения внутри компонентов клапана и тем самым путь потока топлива.
На фиг.7(а)-7(с) показан еще один вариант осуществления настоящего изобретения, на которых более подробно показана конкретная последовательность образования межкомпонентного уплотнения и последующего открытия внутренних уплотнений. На фиг.7(а) компонент 12 клапана имеет скользящее тело 22, смещенное пружиной 30, которой в этом варианте осуществления является пружина из эластомера, более подробно описываемая ниже. Уплотнительное кольцо 24 жестко размещено на скользящем теле 22 и вместе со скошенной внутренней поверхностью на выступе 60 корпуса 20 образуют внутреннее уплотнение. В этом варианте осуществления корпус 20 имеет также втулку, выполненную в передней части компонента 12 клапана. Компонент 14 клапана выполнен аналогично компоненту 12 клапана, как описано выше, за исключением того, что он имеет второе уплотнительное кольцо 70, жестко размещенное на наружной поверхности корпуса 32. Уплотнительное кольцо 70 и внутренняя поверхность втулки 68 образуют межкомпонентное уплотнение между компонентами клапана, как показано на фиг.7(а). При использовании в тексте настоящего описания термин “каучук” включает в себя как каучук, так и эластомерный материал, а термин “эластомерный” – как эластомерный материал, так и каучук.
На фиг.7(b) два компонента клапана передвинуты дальше в направлении друг к другу. Поскольку пружина 40 имеет меньшую жесткость, чем пружина 30, как показано относительной толщиной пружин из каучука, пружина 40 сжимается первой, и скользящее тело 34 отталкивается назад, тем самым открывая внутреннее уплотнение в компоненте 14 клапана между уплотнительным кольцом 38 и выступом 60. На фиг.7(с) два компонента клапана передвинуты еще дальше в направлении друг к другу до контакта корпусов 20 и 32. В этом соединении внутреннее уплотнение в компоненте 12 клапана между уплотнительным кольцом 24 и выступом 60 открыто для создания пути потока топлива через клапан 10.
На фиг.8(а) и 8(b) показан еще один вариант осуществления настоящего изобретения, в котором для образования пути потока в соединительном клапане 80 используется проницаемый для топлива наполнитель. Предпочтительно, проницаемый для топлива наполнитель способен капиллярным действием передавать топливо изнутри топливного баллончика через соединительный клапан 80 в топливный элемент. Этот проницаемый для топлива наполнитель раскрыт в совместного владения совместно рассматриваемой заявке на патент №10/356793, которая уже ссылкой полностью включена в настоящее описание.
Соединительный клапан 80 имеет первый компонент 82 клапана и второй компонент 84 клапана. Первый компонент 82 клапана или второй компонент 84 клапана может сопрягаться с баллончиком 16 или топливным элементом 18. В этом исполнении первый компонент 82 клапана имеет наружный корпус 86, втулку 88 и материал наполнителя 90. Втулка 88 может скользить в продольном направлении относительно наружного корпуса 86 и материала наполнителя 96 и отжата пружиной 92 от упора 94. Кроме того, втулка 88 может иметь факультативную удерживающую стенку 96, которая взаимодействует с уплотнительным кольцом 98, размещенным в кольцевом пространстве между наружным корпусом 86 и втулкой 88, для удерживания втулки 88 внутри первого компонента 82 клапана. Предпочтительно, втулка 88 или 102 может удерживаться в компоненте клапана взаимодействующими упорами, например упорами 97 и 99. Кроме того, уплотнительное кольцо 98 обеспечивает уплотнение в кольцевом пространстве. Второй компонент 84 клапана имеет наружный корпус 100, втулку 102 и материал наполнителя 104. Втулка 102 может скользить относительно наружного корпуса 100 и материала наполнителя 104 и смещена пружиной 106, как показано на фиг.8(а). Однако втулка 102 может быть и неподвижной или закрепленной так, чтобы не перемещаться относительно наружного корпуса 100 и материала наполнителя 104. Предпочтительно, передний край материала наполнителя 104 находится на некотором расстоянии сзади переднего края втулки 102, как показано на фиг.8(а). За счет этого создается полость 108, предназначенная для того, чтобы в нее входила часть материала наполнителя 90 из первого компонента 82 клапана.
При сближении двух компонентов 82 и 84 клапана для соединения первыми касаются друг друга втулки 88 и 102. Их передние уплотнительные поверхности 110 могут при этом образовать межкомпонентное уплотнение. В предпочтительном варианте осуществления втулка 102 является нескользящей и, таким образом, с преодолением сопротивления пружины 92 отжимается назад втулка 88. С отходом втулки 88 часть материала наполнителя 90 обнажается и поступает в полость 108. После того как материалы наполнителя 90 и 104 соприкасаются и упираются друг в друга, образуется путь потока через эти материалы наполнителя для передачи топлива из баллончика в топливный элемент, как показано на фиг.8(b). Факультативно, наружные корпуса 86 и 100 также имеют передние уплотнительные поверхности для образования второго межкомпонентного уплотнения.
Кроме того, компоненты 82 и 84 клапана остаются соединенными между собой благодаря по меньшей мере одному фиксатору-защелке, подобному показанному на фиг.8(а) и 8(b). Этот фиксатор-защелка имеет подпружиненный рычажок 112, который присоединен к одному из компонентов клапана и на своем дальнем конце имеет головку 114. Размеры головки 114 выбраны такими, чтобы она могла входить в соответствующую полость 116, находящуюся на наружной поверхности другого компонента клапана. Когда головка 114 заскакивает в полость 116, два компонента клапана удерживаются в соединенном состоянии. Клапан 80 может иметь несколько таких фиксаторов-защелок. Кроме того, этот фиксатор-защелка может использоваться и в соединительном клапане 10, описанном выше со ссылками на фиг.1-7. Рычажок 112 может быть подпружиненным отдельной пружиной, или же рычажок 112 может изготавливаться из металла или пластика и подпружиниваться под действием временного соединения. Для того чтобы разъединить клапан 80, рычажок (рычажки) 112 поднимают и первый компонент 82 клапана вытягивают из второго компонента 84 клапана.
Кольцевое пространство между наружным корпусом 86 и втулкой 88, а также кольцевое пространство между наружным корпусом 100 и втулкой 102 могут заполняться впитывающим или удерживающим материалом 118, который может быть тем же материалом, что и материал наполнителя 90 или 104. Впитывающий материал 118 может впитывать и удерживать топливо, оставшееся в клапане 80 после отсоединения топливного баллончика 16 от топливного элемента 18. Альтернативно, впитывающий материал может помещаться в любом месте на расстоянии от пути потока топлива. К числу других приемлемых впитывающих материалов относятся гидрофильные волокна, например, подобные используемым в детских памперсах, и набухающие гели, подобные используемым в санитарных подгузниках, или их сочетание. Кроме того, впитывающие материалы могут содержать добавку(-и), смешивающуюся(-иеся) с топливом. Впитывающий материал 118 может использоваться и в клапане 10, описанном выше со ссылками на фиг.1-7. Например, корпус 20, 32 или 48 размещен концентрично внутри наружного корпуса, и кольцевое пространство между корпусом 20, 32 или 48 и этим наружным корпусом заполнено впитывающим материалов 118.
Для транспортировки и хранения топливный баллончик с компонентом 82 или 84 клапана может закрываться в отверстии компонента клапана крышкой или пленкой, которые перед подсоединением баллончика к топливному элементу снимаются.
На фиг.9(а) и 9(b) показан еще один вариант осуществления настоящего изобретения. Клапан 120 имеет первый компонент 122 клапана, подобный компоненту 12 или 14 клапана, описанному выше. Первый компонент 122 клапана имеет корпус 20, 32 и скользящее тело 22, 34, которое пружиной смещена и прижата к уплотнительному элементу 124. Уплотнительный элемент 124 смещенным скользящим телом 22, 34 прижат к выступу 60. Размеры выступа 60 выбраны таким образом, чтобы в его отверстие входил толкатель 126. Толкатель 126 имеет канал 128 для передачи топлива через толкатель. В этом варианте осуществления толкатель является вторым компонентом клапана, и корпус толкателя 126 используется для открытия внутреннего уплотнения первого компонента клапана. Канал 128 может быть внутренним для толкателя 126, как показано на этой фигуре. Факультативно, толкатель 126 может иметь уплотнительное кольцо 130, предназначенное для образования вместе с поверхностью на выступе 60 межкомпонентного уплотнения. Как показано на фиг.9(b), перед тем как откроется внутреннее уплотнение компонента 122 клапана, толкатель 126 образует межкомпонентное уплотнение вместе с уплотнительным элементом 124. Таким образом, в этом варианте осуществления между двумя компонентами клапана могут образовываться два межкомпонентных уплотнения: между выступом 60 и уплотнительным кольцом 130 и между толкателем 126 и уплотнительным элементом 124.
На фиг.10 показаны приемлемые поперечные сечения уплотнительного элемента 124. Внутренний диаметр этого уплотнительного элемента не обязательно должен быть постоянным для того, чтобы толкателю 126 не нужно было полностью пройти через уплотнительный элемент 124, чтобы образовался путь потока, как показано на фиг.9(b). Уплотнительным элементом 124 может быть и уплотнительное кольцо, как показано на фиг.5.
В соответствии с одним аспектом этого варианта осуществления, толкатель 126 может быть пустотелым и иметь трубный клапан в виде размещенного в нем смещенного шарика 132. Шарик 132 прижат к внутренней уплотнительной поверхности в толкателе. Поэтому, даже после образования межкомпонентного уплотнения и открытия внутреннего уплотнения в компоненте 122 клапана, топливо не может протекать, пока смещенный шарик 132 не переместится с преодолением сопротивления пружины 134, открыв при этом канал для потока 128. Для того чтобы оттянуть шарик 132, чтобы открыть канал для потока 128, включается насос, подобный рассмотренным выше. Жесткость пружины 134 подобрана такой, чтобы можно было поддерживать уплотнение, и, вместе с тем, чтобы насос мог легко оттянуть шарик 132. Альтернативно, трубный клапан внутри толкателя 126 можно упустить. При этом поток топлива через толкатель может регулироваться насосом, который может и останавливать этот поток.
После отсоединения толкателя 126 от компонента 122 клапана и выключения насоса, шарик 132 возвращается в свое уплотнительное положение. Это уплотнение удерживает оставшееся в канале 128 топливо и снижает вероятность обратного вытекания топлива из толкателя, поскольку уплотнение создает частичный вакуум, не позволяющий топливу вытекать, даже если толкатель находится в вертикальном положении с открытым вниз каналом 128. Этот эффект подобен эффекту зажатия одного конца соломинки, чтобы не дать жидкости вытекать по каплям с ее другого конца. Кроме того, компонент 122 клапана может содержать материал наполнителя 136, помещенный сзади внутреннего уплотнения, как показано на фиг.9(а), 9(b), 11(а) и 11(b). Альтернативно, материал наполнителя может находиться перед внутренним уплотнением, например, в канале 128 на тех же фигурах. При ненамеренном открытии компонента клапана материал наполнителя впитывает топливо и уменьшает его поток. Материал наполнителя 136 может использоваться во всех описанных в настоящей заявке компонентах клапана, за исключением варианта осуществления, показанного на фиг.8(а) и 8(b). В предпочтительном варианте осуществления компонент 122 клапана сопрягается с баллончиком, а толкатель 126 – с топливным элементом.
Уплотнительный элемент 124 может находиться и на расстоянии от скользящего тела 22, 34, как показано на фиг.11(а) и 11(b). В этом варианте осуществления скользящее тело заменено шариком 50, который прижат к выступу 60 с образованием внутреннего уплотнения. Уплотнительный элемент 124 находится с другой стороны выступа 60, и в этом варианте осуществления уплотнительным элементом служит шайба 125, имеющая закрытую прорезь 142. Шайба 125 образует факультативное второе уплотнение и обычно не позволяет топливу или иной жидкости протекать через него. В этом варианте осуществления толкатель 126 имеет игольчатый носик 144 с каналом 128 внутри него. После вставки игольчатого носика 124 в компонент 140 клапана, между игольчатым носиком 144 и шайбой 125 образуется межкомпонентное уплотнение, а после отталкивания шарика 50 назад канал 128 сообщается по текучей среде с компонентом 140 клапана. После того как насос с преодолением сопротивления пружины 134 оттягивает шарик 132 с открытием внутреннего уплотнения в толкателе 126, топливо может протекать через компонент 140 клапана и толкатель 126.
Уплотнительным элементом 124 может служить и клапан с качающимся рычагом 146, показанный на фиг.11(с), который является взаимозаменяемым с шайбой 125, и клапан с качающимся рычагом находится между двумя фиксаторами/выступами 148 и имеет сужающийся канал 150, отверстие в котором предназначено для вхождения в него толкателя 126. Канал 150 сужается на своем уплотненном конце 151, который обеспечивает дополнительное внутреннее уплотнение для компонента 140 клапана. Преимущество клапана с качающимся рычагом 146 заключается в том, что уплотненный конец 151 находится на расстоянии “В” от отверстия “А”, и отверстие “А” можно бы выполнить небольшим, чтобы затруднить постороннему предмету, например пальцу или подушечке пальца, ненамеренно открыть уплотнение. Клапан с качающимся рычагом 146 можно использовать отдельно или вместе с любым из рассмотренных в этом описании внутренних уплотнений. Предпочтительно, отверстие “А” имеет размер менее примерно 10 мм, предпочтительнее, менее примерно 5 мм. Предпочтительно, расстояние “В” равно не менее примерно 2 мм, предпочтительнее, не менее примерно 5 мм.
Любой из описанных компонентов клапана может иметь еще и передний элемент, например длинный наконечник, ограничивающий доступ к внутреннему уплотнению, как показано на фиг.12(а)-12(с). Компонент 152 клапана имеет наконечник 154, ограничивающий доступ к внутреннему уплотнению, образованному между скользящим телом 22, 34 и плечом 156. Предпочтительно, уплотнительное кольцо или уплотнительный элемент расположены между скользящим телом и плечом, как показано. Наконечник 154 имеет отверстие “А” и отрезок “В”, ограничивающие доступ к внутреннему уплотнению. Размеры наконечника 154 выбраны такими, чтобы в него входил толкатель 158, предназначенный для отодвигания скользящего тела 22, 34 с открытием внутреннего уплотнения в компоненте 152 клапана. Толкатель 158 установлен на компоненте 160 клапана, который имеет факультативное внутреннее уплотнение, образованное смещенным шариком 132, как описано выше. Толкатель 158 может иметь диаметр, меньший внутреннего диаметра наконечника 154, чтобы позволить топливу протекать в кольцевом пространстве между наконечником и толкателем, как показано на фиг.12(b). В этом варианте осуществления толкатель 158 опирается на несколько стенок 162. Между стенками 162 имеются пространства, и топливо может протекать мимо стенок. Альтернативно, толкатель 158 может быть пустотелым и иметь наружный диаметр, практически равный внутреннему диаметру наконечника 154, и при этом топливо избирательно пропускается через внутреннее пространство толкателя 158, как показано на фиг.12(с). В этом варианте осуществления внутреннее уплотнение, обеспеченное смещенным шариком 132, помогает удерживать топливо внутри толкателя 158 при отсоединении компонента 160 клапана от компонента 152 клапана, как описано выше. Кроме того, как показано, предусмотрен насос для перекачки топлива мимо смещенного шарика 132. Предпочтительно, отверстие “А” имеет размер менее примерно 10 мм, предпочтительнее, менее примерно 5 мм. Предпочтительно, расстояние “В” равно не менее примерно 2 мм, предпочтительнее, не менее примерно 5 мм.
Доступ к компоненту клапана может ограничиваться и еще одним передним элементом – наружной втулкой 164, закрывающей компонент 12, 14 клапана, как показано на фиг.13. Размеры отверстия “А” и отрезка “В” втулки 164 выполнены такими, чтобы затруднить ненамеренное открытие внутреннего уплотнения компонента клапана. Втулка 164 может быть выполнена как одно целое с компонентом клапана или может иметь резьбовое соединение с компонентом клапана (как показано на этой фигуре), соединяться с ним клеем, ультразвуковой сваркой, прессовым соединением или иным способом. Предпочтительно, отверстие “А” имеет размер менее примерно 10 мм, предпочтительнее, менее примерно 5 мм. Предпочтительно, расстояние “В” равно не менее примерно 2 мм, предпочтительнее, не менее примерно 5 мм.
В соответствии с другим аспектом настоящего изобретения клапан с качающимся рычагом 146 может иметь несколько выступов 166, как показано на фиг.11(с) и 14. Выступы 166 предназначены для образования уплотнения(-и) вместе с наружной поверхностью толкателя 126. При вытягивании толкателя из компонента клапана, например, после заправки баллончика топливом или после изъятия баллончика из электронного оборудования, может присутствовать топливо под давлением. При выходе толкателя из уплотненного конца 151 топливо под давлением может расширяться в первой камере 168. При расширении топлива его давление снижается. Для дальнейшего снижения давления текучей среды могут предусматриваться дополнительные камеры расширения, например, вторая камера 170. Факультативно, клапан с качающимся рычагом 146 имеет в камере 172 материал 174, предназначенный для воздействия на любое оставшееся топливо. Материал 174 включает добавки, которые могут смешиваться с топливом, материалы наполнителя или вспененные материалы, которые могут впитывать и удерживать топливо, или набухающие материалы, которые пропитываются и набухают, закрывая при этом канал 150. К числу предпочтительных впитывающих материалов относятся среди прочих сшитые соли полиакриловой кислоты, поливиниловый спирт, поли(2-гидроксиэтилметакрилат), поли(этиленоксид), сополимеры изобутиленмалеиновой кислоты, соли поли(метакриловой кислоты), полиакриламид и поливинилпирролидон. Эти материалы раскрыты в заявке на патент №2003/0082427, которая уже ссылкой включена в настоящую заявку.
Смещающие пружины в настоящей заявке показаны как цилиндрические или винтовые пружины и пружины из каучука. Однако использоваться может любой тип пружины. К числу приемлемых пружин относятся среди прочих витые пружины, плоские пружины, пружины из сжатого вспененного материала и пружины из каучука. Предпочтительно, пружины изготавливаются из материалов, инертных к топливу, содержащемуся в баллончике и подаваемому через компонент клапана в топливный элемент, например из инконеля (коррозионностойкого и термостойкого хромоникелевого сплава), нержавеющей стали или каучука. К числу приемлемых материалов пружин из каучука относятся этиленпропиленовый каучук, каучук на основе тройного сополимера этилена, пропилена и диенового метилена или фторэластомер Vitron®, Buna N Nitrile, другие нитрильные каучуки. Для создания смещающего усилия эти материалы могут предварительно сжиматься. На фиг.15 показаны альтернативные формы пружины из каучука. Пружины из каучука могут иметь полую цилиндрическую форму, как описано со ссылками на фиг.7(а)-7(с). Альтернативно, вместо практически прямых боковых стенок пружина из каучука может иметь волнистые боковые стенки, чтобы регулировать сжатие пружины. Волны регулируют продольный изгиб или сжатие пружины из каучука.
Для описанных выше соединительных клапанов при необходимости замены топливного баллончика межкомпонентное уплотнение предпочтительно открывают после того, как восстановлены внутренние уплотнения в компонентах клапана, чтобы изолировать оставшееся топливо в топливном баллончике. Соединительные клапаны, показанные на фиг.1-3, 6-7, 9 и 11-14, можно также использовать топливными баллончиками под давлением и не под давлением.
Для подачи топлива из топливного баллончика с любым из описанных клапанов может использоваться насос. Используемым насосом может быть любой насос, способный перекачивать текучую среду с требуемым расходом. Предпочтительно, этими насосами являются насосы микроэлектромеханической системы (МЭМС), например, описанные и заявленные в заявке на патент №10/356793. Насосом МЭМС может быть насос с индуцированным полем потоком или объемный мембранный насос. Насос с индуцированным полем потоком имеет электрическое поле переменного или постоянного тока, прикладываемое к топливу/текучей среде для его/ее перекачивания. К числу приемлемых насосов с индуцированным полем потоком относятся среди прочих электрогидродинамический, магнитогидродинамический и электроосмотический насосы. Электрогидродинамический и электроосмотический насосы можно использовать вместе. Объемный мембранный насос имеет мембрану, к которой прикладывается сила, заставляющая ее перемещаться или колебаться и при этом перекачивать топливо. К числу приемлемых объемных мембранных насосов относятся среди прочих электростатический, пьезоэлектрический и термопневматический насосы. Насос МЭМС управляет скоростью потока топлива и изменяет его направление на обратное, а также останавливает поток.
Хотя и очевидно, что описанные выше иллюстративные варианты осуществления изобретения позволяют достичь целей настоящего изобретения, ясно и то, что специалисты могут изобрести многочисленные модификации и иные варианты осуществления. Кроме того, признак(-и) и(или) элемент(-ы) любого варианта осуществления может (могут) использоваться отдельно или в сочетании с другим(-и) вариантом(-ами) осуществления. Поэтому понятно, что прилагаемая формула изобретения предназначена для охвата всех таких модификаций и вариантов осуществления в пределах сущности и объема настоящего изобретения.
Формула изобретения
1. Клапан, имеющий
первый компонент клапана, подсоединяемый к одному из двух объектов, которыми являются источник топлива или топливный элемент,
второй компонент клапана, подсоединяемый ко второму объекту из указанных источника топлива или топливного элемента,
где каждый компонент клапана имеет корпус и смещенное скользящее внутреннее тело, и где скользящее внутреннее тело взаимодействует с уплотнительным элементом для образования внутреннего уплотнения в каждом компоненте клапана, и при этом при соединении первый и второй компоненты клапана образуют межкомпонентное уплотнение, по крайней мере, до того, как открываются внутренние уплотнения для создания пути потока топлива через клапан.
2. Клапан по п.1, отличающийся тем, что скользящее внутреннее тело является сферой.
3. Клапан по п.1, отличающийся тем, что скользящее внутреннее тело имеет толкатель.
4. Клапан по п.1, отличающийся тем, что скользящее внутреннее тело смещено пружиной, изготовленной из нержавеющей стали.
5. Клапан по п.1, отличающийся тем, что скользящее внутреннее тело смещено пружиной, изготовленной из эластомерного материала.
6. Клапан по п.4 или 5, отличающийся тем, что жесткости пружины в компонентах клапана практически одинаковы.
7. Клапан по п.4 или 5, отличающийся тем, что жесткости пружины в компонентах клапана существенно отличаются.
8. Клапан по п.7, отличающийся тем, что жесткость пружины в компоненте клапана, подсоединенном к топливному элементу, меньше жесткости пружины в компоненте клапана, подсоединенном к источнику топлива.
9. Клапан по п.1, отличающийся тем, что внутреннее уплотнение расположено между уплотнительным элементом и скользящим внутренним телом.
10. Клапан по п.1, отличающийся тем, что уплотнительным элементом является уплотнительная поверхность.
11. Клапан по п.10, отличающийся тем, что уплотнительная поверхность находится на передней поверхности скользящего внутреннего тела, а внутреннее уплотнение расположено между уплотнительной поверхностью и частью корпуса.
12. Клапан по п.11, отличающийся тем, что указанной частью корпуса является выступ.
13. Клапан по п.10, отличающийся тем, что уплотнительная поверхность находится на корпусе, а внутреннее уплотнение расположено между уплотнительной поверхностью и скользящим внутренним телом.
14. Клапан по п.1, отличающийся тем, что уплотнительный элемент является эластомерным.
15. Клапан по п.1, отличающийся тем, что межкомпонентное уплотнение образовано частью корпуса первого компонента клапана и уплотнительным элементом второго компонента клапана.
16. Клапан по п.1, отличающийся тем, что межкомпонентное уплотнение образовано между корпусом первого компонента клапана и корпусом второго компонента клапана.
17. Клапан по п.1, отличающийся тем, что межкомпонентное уплотнение образуется до того, как открывается любое внутреннее уплотнение.
18. Клапан по п.1, отличающийся тем, что межкомпонентное уплотнение образуется после того, как открывается внутреннее уплотнение компонента клапана, подсоединенного к топливному элементу.
19. Клапан по п.1, отличающийся тем, что путь потока топлива включает по меньшей мере один канал, образованный на одном из скользящих внутренних тел.
20. Клапан по п.1, отличающийся тем, что клапан содержит также удерживающий жидкость материал.
21. Клапан по п.20, отличающийся тем, что удерживающий жидкость материал окружает по меньшей мере один из компонентов клапана.
22. Клапан по п.1, отличающийся тем, что клапан содержит также удерживающий жидкость материал по меньшей мере в одном из компонентов клапана.
23. Клапан по п.22, отличающийся тем, что удерживающий жидкость материал находится за внутренним уплотнением компонента клапана по направлению потока.
24. Клапан по п.1, отличающийся тем, что клапан имеет также фиксатор для удерживания двух компонентов клапана в соединенном состоянии.
25. Клапан по п.24, отличающийся тем, что фиксатор представляет собой фиксатор-защелку.
26. Клапан по п.24, отличающийся тем, что фиксатор имеет пружинный рычажок, присоединенный к первому компоненту клапана, головку, расположенную на конце рычажка, и приемную полость, выполненную на втором компоненте клапана, причем размеры указанной полости выбраны такими, чтобы в нее входила указанная головка.
27. Клапан по п.1, отличающийся тем, что одно из внутренних уплотнений открывается насосом.
28. Клапан по п.1, отличающийся тем, что одно из внутренних уплотнений обеспечивается насосом.
29. Клапан по п.1, отличающийся тем, что по меньшей мере один из компонентов клапана имеет второе внутреннее уплотнение.
30. Клапан по п.29, отличающийся тем, что второе внутреннее уплотнение обеспечивается закрытой шайбой.
31. Клапан по п.29, отличающийся тем, что второе внутреннее уплотнение обеспечивается клапаном с качающимся рычагом.
32. Клапан по п.31, отличающийся тем, что размеры клапана с качающимся рычагом выбраны такими, чтобы ограничить доступ к указанному компоненту клапана.
33. Клапан по п.1, отличающийся тем, что корпус по меньшей мере одного компонента клапана имеет наконечник, размеры которого выбраны такими, чтобы ограничить доступ к внутреннему уплотнению.
34. Клапан по п.1, отличающийся тем, что корпус по меньшей мере одного компонента клапана имеет втулку, закрывающую корпус, размеры которой выбраны такими, чтобы ограничить доступ к внутреннему уплотнению.
35. Клапан по п.1, отличающийся тем, что источник топлива представляет собой топливный баллончик, топливный контейнер или топливную линию.
36. Клапан по п.1, отличающийся тем, что по меньшей мере один компонент клапана вначале закрыт закрывающим элементом, и перед соединением компонентов клапана указанный закрывающий элемент снимается.
37. Клапан по п.36, отличающийся тем, что закрывающий элемент представляет собой крышку или пленку.
38. Клапан, имеющий
первый компонент клапана, подсоединяемый к одному из двух объектов, которыми являются источник топлива или топливный элемент,
второй компонент клапана, подсоединяемый ко второму объекту из указанных источника топлива или топливного элемента,
где каждый компонент клапана имеет первый наружный корпус и смещенную первую втулку, и первая втулка может скользить относительно наружного корпуса и первого наполнителя, содержащегося в первой втулке, и причем второй компонент клапана имеет второй наружный корпус, вторую втулку и второй наполнитель, содержащий во второй втулке, и
при этом при соединении первая и вторая втулки проталкивают друг друга, и при этом первый наполнитель упирается во второй наполнитель с образованием пути потока текучей среды через клапан.
39. Клапан по п.38, отличающийся тем, что при соединении первый компонент клапана и второй компонент клапана образуют межкомпонентное уплотнение.
40. Клапан по п.38, отличающийся тем, что клапан содержит также удерживающий жидкость материал.
41. Клапан по п.38, отличающийся тем, что клапан имеет также фиксатор для удерживания двух компонентов клапана в соединенном состоянии.
42. Клапан по п.38, отличающийся тем, что по меньшей мере один компонент клапана вначале закрыт закрывающим элементом, и перед соединением компонентов клапана указанный закрывающий элемент снимается.
43. Клапан, имеющий
первый компонент клапана, подсоединяемый к одному из двух объектов, которыми являются источник топлива или топливный элемент,
второй компонент клапана, подсоединяемый ко второму объекту из указанных источника топлива или топливного элемента
где первый компонент клапана имеет корпус и смещенное скользящее внутреннее тело, и при этом скользящее внутреннее тело взаимодействует с уплотнительным элементом для образования внутреннего уплотнения в первом компоненте клапана, а второй компонент клапана имеет клапан с качающимся рычагом,
причем при соединении корпус первого компонента клапана входит в клапан с качающимся рычагом для открытия внутреннего уплотнения клапана с качающимся рычагом, и первый компонент клапана и клапан с качающимся рычагом образуют межкомпонентное уплотнение, по крайней мере, до того, как внутренние уплотнения открываются для создания пути потока текучей среды через клапан.
44. Клапан по п.43, отличающийся тем, что внутреннее уплотнение в первом компоненте клапана открывается насосом.
45. Клапан по п.43, отличающийся тем, что клапан с качающимся рычагом имеет несколько выступов, которые образуют по меньшей мере одну камеру с внутренней поверхностью корпуса первого компонента клапана, при этом жидкость под давлением может поступать в камеру.
46. Клапан по п.43, отличающийся тем, что клапан с качающимся рычагом содержит удерживающий материал для впитывания жидкости.
47. Клапан по п.43, отличающийся тем, что клапан с качающимся рычагом содержит впитывающий материал, который содержит добавку, которая может смешиваться с топливом.
48. Клапан по п.43, отличающийся тем, что второй компонент клапана имеет также корпус и смещенное скользящее внутреннее тело, и при этом скользящее внутреннее тело взаимодействует с уплотнительным элементом для образования внутреннего уплотнения во втором компоненте клапана.
49. Клапан, имеющий
первый компонент клапана, подсоединяемый к одному из двух объектов, которыми являются источник топлива или топливный элемент,
второй компонент клапана, подсоединяемый ко второму объекту из указанных источника топлива или топливного элемента
где первый компонент клапана соединяется со вторым компонентом клапана для образования пути потока текучей среды через клапан, и
при этом клапан содержит также удерживающий материал, способный впитывать жидкость, остающуюся в клапане при отсоединении первого компонента клапана от второго компонента клапана.
50. Клапан, имеющий
первый компонент клапана, подсоединяемый к одному из двух объектов, которыми являются источник топлива или топливный элемент,
второй компонент клапана, подсоединяемый ко второму объекту из указанных источника топлива или топливного элемента
где первый компонент клапана соединяется со вторым компонентом клапана для образования пути потока текучей среды через клапан, и по меньшей мере один из компонентов клапана имеет внутреннее уплотнение и удерживающий текучую среду материал, способный удерживать жидкость.
51. Клапан по п.50, отличающийся тем, что удерживающий материал находится перед внутренним уплотнением.
52. Клапан по п.50, отличающийся тем, что удерживающий материал находится сзади внутреннего уплотнения.
53. Клапан, имеющий
первый компонент клапана, подсоединяемый к одному из двух объектов, которыми являются источник топлива или топливный элемент,
второй компонент клапана, подсоединяемый ко второму объекту из указанных источника топлива или топливного элемента, где первый компонент клапана соединяется со вторым компонентом клапана для образования пути потока текучей среды через клапан, и при этом по меньшей мере один из компонентов клапана имеет внутреннее уплотнение, образованное скользящим внутренним телом, смещенным с прижатием к уплотнительному элементу, а другой компонент клапана имеет внутреннее уплотнение, обеспечиваемое насосом.
54. Клапан, имеющий
первый компонент клапана, подсоединяемый к одному из двух объектов, которыми являются источник топлива или топливный элемент,
второй компонент клапана, подсоединяемый ко второму объекту из указанных источника топлива или топливного элемента, где первый компонент клапана соединяется со вторым компонентом клапана для образования пути потока текучей среды через клапан, и по меньшей мере один из компонентов клапана имеет внутреннее уплотнение и передний элемент, размеры которого выбраны такими, чтобы ограничить доступ к внутреннему уплотнению.
55. Клапан по п.54, отличающийся тем, что передний элемент представляет собой наконечник.
56. Клапан по п.54, отличающийся тем, что передний элемент представляет собой наружную втулку.
57. Клапан по п.54, отличающийся тем, что передний элемент имеет отверстие «А», размеры которого выбраны такими, чтобы ограничить доступ к внутреннему уплотнению пальцем пользователя.
58. Клапан по п.54, отличающийся тем, что передний элемент имеет отверстие «А», размеры которого выбраны такими, чтобы ограничить доступ к внутреннему уплотнению подушечкой пальца пользователя.
59. Клапан по п.54, отличающийся тем, что внутренний диаметр переднего элемента равен примерно 10 мм или менее.
60. Клапан по п.59, отличающийся тем, что внутренний диаметр переднего элемента равен примерно 5 мм или менее.
61. Клапан по п.54, отличающийся тем, что глубина переднего элемента равна примерно 2 мм или более.
62. Клапан по п.61, отличающийся тем, что глубина переднего элемента равна примерно 5 мм или более.
РИСУНКИ
|
|