|
(21), (22) Заявка: 2005134251/09, 07.11.2005
(24) Дата начала отсчета срока действия патента:
07.11.2005
(30) Конвенционный приоритет:
10.11.2004 KR 10-2004-0091614
(43) Дата публикации заявки: 20.05.2007
(46) Опубликовано: 20.01.2008
(56) Список документов, цитированных в отчете о поиске:
WO 03043106, 22.05.2003. RU 1748588, 30.10.1994. RU 2050633 C1, 20.12.1995. EP 0756338, 29.01.1997. US 5455124, 03.10.1995.
Адрес для переписки:
115184, Москва, Средний Овчинниковский пер., 12, ЗАО “Инэврика”, пат.пов. С.О.Шолоховой, рег.№ 720
|
(72) Автор(ы):
ЧОН Хюн-Воо (KR)
(73) Патентообладатель(и):
Эл Джи Электроникс Инк. (KR)
|
(54) ПРЕДОХРАНИТЕЛЬНОЕ УСТРОЙСТВО АККУМУЛЯТОРА
(57) Реферат:
Предохранительное устройство аккумулятора включает узел сброса давления, обеспеченный на элементе и сбрасывающий давление, когда внутреннее давление в элементе превышает заданное давление, и колпачок для образования полости, который охватывает узел сброса давления и образует в нем полость. Таким образом, когда внутреннее давление в элементе превышает заданное давление, узел сброса давления точно срабатывает для сброса давления из элемента наружу, предотвращая тем самым взрыв аккумулятора. Техническим результатом является повышение надежности аккумулятора. 7 з.п. ф-лы, 11 ил.
1. Область техники, к которой относится изобретение
Настоящее изобретение имеет отношение к аккумулятору мобильного терминала и, в частности, к предохранительному устройству аккумулятора, способному повысить безопасность аккумулятора путем плавного сброса давления за пределы аккумулятора, когда внутреннее давление батареи превышает заданное давление.
2. Описание уровня техники
Мобильный терминал представляет собой устройство связи, которое пользователь носит с собой для ведения речевой связи с абонентом в любом месте. Мобильный терминал снабжен съемным аккумулятором для обеспечения его электропитанием, и аккумулятор является аккумуляторной батареей, которая перезаряжается, когда она разряжается после использования в течение определенного периода времени, и затем используется повторно.
Используемый в мобильном терминале аккумулятор обычно представляет собой литиевый аккумулятор. Что касается принципа действия литиевого аккумулятора, то ионы лития генерируются окислением от обоих выводов, выполненных из окиси лития, и ионы лития движутся через электролит и восстанавливаются в результате преобразования, которое происходит на отрицательном (-) выводе, выполненном из такого материала, как углерод или подобного вещества, производя тем самым электроэнергию. Этой электроэнергией питается мобильный терминал.
На Фиг.1 показан общий вид, иллюстрирующий один образец аккумулятора, а на Фиг.2 показан общий вид аккумулятора без закрывающей детали, которая является частью аккумулятора.
Как показано, аккумулятор содержит элемент 100, выполненный шестигранной формы и заполненный электролитом или подобным веществом; узел схемы защиты 200, подсоединенный к одной из сторон элемента 100 и служащий для обеспечения стабильности тока в элементе 100 во время электрического разряда или повторного заряда, и закрывающую деталь 300, которая обеспечивает предохранение узла схемы защиты 200 тем, что она окружает узел схемы защиты и увеличивает силу сцепления между узлом схемы защиты 200 и элементом 100.
Элемент выполнен из алюминиевого сплава, и его внутренняя часть герметизирована. Контакты 210, которые входят в состав узла схемы защиты 200, подсоединены соответственно к контактной площадке элемента 100.
Закрывающая деталь 300 выполнена посредством низкотемпературного литья при низком давлении из полимера, который представляет собой синтетический полимер найлонового ряда, после соединения узла схемы защиты 200 с элементом 100.
Если при использовании аккумулятора поддерживается режим перезарядки или высокотемпературный режим, внутреннее давление в элементе 100 повышается и, в конечном счете, элемент 100 взрывается, когда давление превышает заданное давление.
Если аккумулятор, установленный на мобильном терминале или подобном устройстве, взрывается, то не только повреждается мобильный терминал, но и пользователь может получить повреждение. Поэтому проводится много научно-исследовательских работ по обеспечению надежной стабильности аккумулятора.
Одним из способов обеспечения безопасности аккумулятора, который иллюстрирован на Фиг.3, является участок сброса давления 110, который служит для сброса давления, когда внутреннее давление в элементе 100 превышает заданное давление, на одной стороне передней поверхности элемента 100, связанной с узлом схемы защиты 220. Участок сброса давления 110 имеет определенную площадь и толщину, которая меньше толщины другой части элемента 100. А именно, участок сброса давления 110 выполнен в виде выемки, имеющей определенную площадь и определенную глубину, на одной стороне передней поверхности элемента 100, и участок, соответствующий зоне выемки, имеет толщину меньшую, чем толщина другой части элемента 100 вокруг выемки.
В этой конструкции при повышении внутреннего давления в элементе 100 участок сброса давления 110, который имеет относительно небольшую толщину, разрывается с тем, чтобы сбросить давление до того, как внутреннее давление в элементе 100 повысится до давления взрыва, предотвращая тем самым взрыв элемента 100.
Однако, в такой конструкции, которая показана на Фиг.4, жидкий заливочный материал для формования закрывающей детали 300 заливается в выемку, образующую участок сброса давления, и отвердевает в процессе литьевого формования закрывающей детали 300 с целью получения надежного соединения элемента и узла схемы защиты 200 и охватывания узла схемы защиты 200. По этой причине одна часть закрывающей детали 300 блокирует участок сброса давления 110. В случае повышения внутреннего давления в элементе из-за того, что часть закрывающей детали 300 блокирует участок сброса давления 110, участок сброса давления не срабатывает нормально, то есть не разрывается легко, что может вызвать взрыв элемента 100.
КРАТКОЕ ОПИСАНИЕ ИЗОБРЕТЕНИЯ
Следовательно, целью настоящего изобретения является обеспечение предохранительного устройства аккумулятора, способного повысить безопасность аккумулятора путем плавного сброса давления за пределы аккумулятора в тех случаях, когда внутреннее давление повышается до заданного давления или превышает его.
Для достижения этих и других преимуществ и в соответствии с целью настоящего изобретения, которое осуществлено и описано здесь в общих чертах, обеспечивается предохранительное устройство аккумулятора, содержащее: узел сброса давления, предусмотренный в элементе и сбрасывающий давление, когда внутреннее давление в элементе превышает заданное давление, и колпачок для образования полости, который закрывает узел сброса давления и образует там полость.
Вышеупомянутые и другие цели, свойства, особенности и преимущества настоящего изобретения станут более очевидными из нижеследующего подробного описания настоящего изобретения со ссылкой на сопроводительные чертежи.
КРАТКОЕ ОПИСАНИЕ ЧЕРТЕЖЕЙ
Сопроводительные чертежи, которые приложены для обеспечения лучшего понимания изобретения и включены в данное описание изобретения и составляют его часть, иллюстрируют примеры осуществления настоящего изобретения и вместе с описанием служат для пояснения принципов изобретения.
На чертежах:
на Фиг.1 показан общий вид обычного аккумулятора;
на Фиг.2 представлен общий вид аккумулятора, который показывает аккумулятор без закрывающей детали, являющейся частью аккумулятора;
на Фиг.3 представлен общий вид, который показывает элемент аккумулятора, в котором применено предохранительное устройство обычного аккумулятора;
на Фиг.4 показан разрез, который иллюстрирует состояние, в котором литьевой материал заполняет предохранительное устройство обычного аккумулятора;
на Фиг.5 представлен общий вид аккумулятора, обеспеченного предохранительным устройством аккумулятора в соответствии с одним из примеров осуществления настоящего изобретения;
на Фиг.6 представлен общий вид, на котором показаны колпачок для образования полости и элемент, составляющие предохранительное устройство аккумулятора;
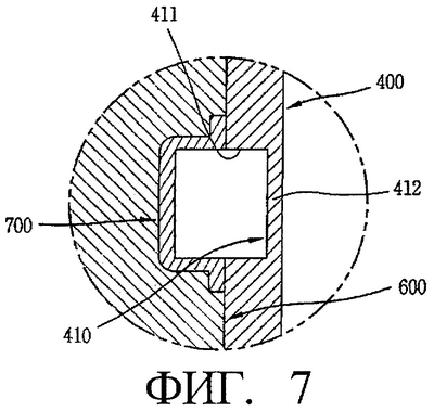
на Фиг.7 показан разрез, на котором изображено предохранительное устройство аккумулятора в соответствии с настоящим изобретением;
на Фиг.8, 9 и 10 представлены сечения, иллюстрирующие предохранительное устройство аккумулятора в соответствии с различными примерами осуществления настоящего изобретения, соответственно; и
на Фиг.11 показан разрез, иллюстрирующий сработавшее предохранительное устройство аккумулятора в соответствии с настоящим изобретением.
ПОДРОБНОЕ ОПИСАНИЕ ИЗОБРЕТЕНИЯ
Теперь рассмотрим подробно предпочтительные примеры осуществления настоящего изобретения, которые иллюстрируются в прилагаемых чертежах.
На Фиг.5 представлен общий вид аккумулятора, снабженного предохранительным устройством аккумулятора в соответствии с одним из примеров осуществления настоящего изобретения. На Фиг.6 представлен общий вид колпачка, образующего полость, и элемента, формирующих предохранительное устройство аккумулятора, а на Фиг.7 представлен разрез, иллюстрирующий предохранительное устройство аккумулятора в соответствии с настоящим изобретением.
Как показано, аккумулятор включает: элемент 400, который заполнен электролитом или подобным веществом; узел схемы защиты 500, который подсоединен к одной из сторон элемента 400 и служит для обеспечения стабилизации тока во время электрического заряда или разряда элемента 400; закрывающую деталь 600, которая обеспечивает защиту узла схемы защиты 500 тем, что она охватывает узел схемы защиты 500 и увеличивает силу связи узла схемы защиты 500 и элемента 400, а также предохранительное устройство, которое сбрасывает давление, когда внутреннее давление элемента 400 превышает заданное давление.
Элемент 400 выполнен в виде шестигранника и предпочтительно изготовлен из алюминия. Теперь рассмотрим процесс изготовления элемента 400. Сначала в корпус, имеющий одну открытую сторону, вводится электролит или подобное вещество, затем открытая часть корпуса накрывается пластиной, имеющей определенную площадь, и пластина прикрепляется к корпусу лазерной сваркой или подобным способом. Таким образом, элемент 400 находится в герметически закрытом положении.
Узел схемы защиты 500 имеет контакты 510, и контакты 510 узла схемы защиты 500 подсоединяются соответственно к контактной площадке элемента 400. Контакты 510 узла схемы защиты 500 и контактная площадка элемента 400 соединяются точечной сваркой.
Закрывающая деталь 600 формируется посредством литьевого формования из полимера найлонового ряда после соединения узла схемы защиты 500 с элементом 400.
Предохранительное устройство включает узел сброса давления 410, предусмотренный в элементе 400, сбрасывающий давление, когда внутреннее давление в элементе 400 превышает заданное давление, и колпачок 700 для образования полости, размещенный между элементом 400 и закрывающей деталью 600 так, что она закрывает узел сброса давления 410 и образует там полость.
Узел сброса давления 410 имеет тонкопленочный участок 412, толщина которого меньше, чем толщина другой части элемента 400 вокруг выемки 411, выполненной в передней поверхности элемента 400 с заданной площадью и глубиной. Выемка 411 выполнена на наружной поверхности элемента 400.
Узел сброса давления 410 предусматривается на поверхности элемента 400, к которой подсоединен узел схемы защиты 500.
Колпачок 700 для образования полости выполнен в виде колпачка, имеющего одну открытую сторону. Колпачок 700 для образования полости предусматривается на передней поверхности узла сброса давления 410. Закрывающая деталь 600 подсоединяется так, чтобы охватить колпачок 700 для образования полости.
Способ, посредством которого соединяются колпачок 700 для образования полости и закрывающая деталь 600, заключается в следующем. Узел схемы защиты 500 подсоединяется к передней поверхности элемента 400, а колпачок 700 для образования полости прикрепляется к передней поверхности элемента 400 для того, чтобы накрыть узел сброса давления 410. Затем закрывающая деталь 600 формируется с использованием низкотемпературного литьевого формования под низким давлением, чтобы охватить узел схемы защиты 500 и элемент 400. При этом, поскольку литьевой материал не вводится в колпачок 700 для образования полости, внутри колпачка 700 для образования полости образуется полость. В этой полости размещается узел сброса давления 410.
В качестве другого способа соединения колпачка 700 для образования полости с закрывающей деталью 600 может использоваться литьевое формование.
Колпачок 700 для образования полости выполнен из материала, температура плавления которого выше температуры плавления закрывающей детали 600. Например, закрывающая деталь 600 выполнена из синтетического полимера найлонового ряда, а колпачок для образования полости 700 выполнен из термостойкого синтетического полимера, предпочтительно жидкокристаллического полиэфира (LCR).
Колпачок для образования полости может быть изготовлен из металла, но металл дорог по сравнению с синтетическим полимером и не образует соединения за одно целое с закрывающей деталью 600, что ухудшает долговечность. Поэтому предпочтительно использовать синтетический полимер, который недорог и обладает высокой долговечностью, благодаря тому, что он образует соединение за одно целое.
В тех случаях, когда внутреннее давление в элементе 400 превышает заданное давление, давление сбрасывается через узел сброса давления 410, и давление, сбрасываемое через узел сброса давления 410, выводится наружу через колпачок 700 для образования полости и поверхность элемента 400, которая входит в соприкосновение с колпачком 700 для образования полости.
Специальный узел сброса давления наружу может быть обеспечен в колпачке 700 для образования полости и закрывающей детали 600. Как показано на Фиг.8, в данной конструкции колпачка 700 для образования полости и закрывающей детали 600 образовано сквозное отверстие (Н), которое обеспечивает возможность связи полости закрывающей детали 600 и внешнего пространства друг с другом, и имеется вспомогательный штифт 800 для блокировки сквозного отверстия (Н).
В такой конструкции, когда внутреннее давление в элементе 400 превышает заданное давление, давление сбрасывается через узел сброса давления 410 и вспомогательный штифт 800, вставленный в сквозное отверстие (Н), отделяется от отверстия, сбрасывая тем самым давление.
В другом примере узла сброса давления 410, который показан на Фиг.9, узел сброса давления 410 имеет тонкопленочный участок 414, толщина которого меньше, чем толщина другой части элемента вокруг выемки 413, выполненной с определенной площадью и глубиной на внутренней стенке передней поверхности элемента 400. То есть выемка выполнена на внутренней поверхности элемента 400.
Узел сброса давления 410 может быть осуществлен в различных образцах, кроме тех двух, которые описаны выше.
Как показано на Фиг.10, предохранительное устройство аккумулятора, выполненное в соответствии с другим примером осуществления настоящего изобретения, включает узел сброса давления 410, который предусмотрен на элементе 400 и сбрасывает давление, когда внутреннее давление в элементе 400 превышает заданное давление, и часть полости 610, образующую объем в закрывающей детали 600, охватывающей узел схемы защиты 500, подсоединенный к элементу 400. Указанная часть полости 610 выполнена на участке, обращенном к узлу сброса давления 410.
То есть часть полости 610 выполнена в закрывающей детали 600 без использования полости вышеуказанного колпачка 700 для образования полости.
Закрывающая деталь 600 может быть выполнена литьевым формованием или может быть выполнена как отдельная деталь для присоединения к элементу 400.
Теперь рассмотрим эксплуатационную эффективность аккумулятора в соответствии с настоящим изобретением.
Аккумулятор, снабженный предохранительным устройством аккумулятора в соответствии с настоящим изобретением, устанавливается съемно на мобильный терминал или подобное устройство и используется в качестве источника электропитания. Когда при использовании в качестве источника электропитания аккумулятор полностью разряжается, он отделяется от мобильного терминала, перезаряжается и используется повторно.
Как показано на Фиг.11, когда давление внутри элемента 400 повышается до заданного давления или большей величины вследствие перезарядки аккумулятора или поддерживается его высокотемпературный режим при использовании, узел сброса давления 410 взрывается, и внутреннее давление элемента 400 сбрасывается наружу. Давление, сбрасываемое через узел сброса давления 410, сбрасывается наружу через полость колпачка 700 для образования полости, колпачок 700 для образования полости и часть элемента 400, контактирующую с колпачком 700 для образования полости.
Если в колпачке 700 для образования полости и закрывающей детали 600 выполнено сквозное отверстие (H) и в сквозное отверстие (Н) вставлен вспомогательный штифт 800, то давление сбрасывается наружу через сквозное отверстие (Н) при отделении вспомогательного штифта 800 от сквозного отверстия (Н) под действием давления, сбрасываемого из колпачка 700 для образования полости.
В настоящем изобретении в случае выполнения закрывающей детали 600 посредством литья после прикрепления элемента 400 к колпачку 700 для образования полости, литьевой материал, использованный для формования закрывающей детали 600, не блокирует узел сброса давления 410 благодаря колпачку 700 для образования полости.
Поскольку впереди узла сброса давления 410 выполнена заранее определенная полость, узел сброса давления 410 не подвергается влиянию другой его части, когда внутреннее давление элемента 400 превышает заданное давление. Таким образом, узел сброса давления 410 срабатывает точно.
Как описано выше, в предохранительном устройстве аккумулятора в соответствии с настоящим изобретением, в случае, когда внутреннее давление в элементе превышает заданное давление, узел сброса давления точно срабатывает для сброса давления из элемента наружу. Таким образом, взрыв аккумулятора предотвращается, вследствие чего повышается надежность аккумулятора, и пользователь защищен от травм при взрыве аккумулятора.
Поскольку настоящее изобретение может быть осуществлено в нескольких формах без выхода за пределы его сущности и основных признаков, следует также понимать, что вышеописанные примеры осуществления настоящего изобретения не ограничиваются какими-либо деталями вышеприведенного описания, если не указано иначе, а скорее должны толковаться расширительно в пределах сущности и объема изобретения, определенных в формуле изобретения, и, следовательно, все изменения и модификации, которые находятся в пределах формулы изобретения, или их эквивалентов предназначены для того, чтобы быть охваченными прилагаемой формулой изобретения.
Формула изобретения
1. Предохранительное устройство аккумулятора, содержащее
узел сброса давления, предусмотренный на элементе и сбрасывающий давление, когда внутреннее давление в элементе превышает заданное давление; и
колпачок для образования полости, который охватывает узел сброса давления и образует там полость,
при этом узел схемы защиты подсоединен к поверхности элемента, имеющей узел сброса давления, а закрывающая деталь выполнена литьевым формованием для охватывания колпачка для образования полости.
2. Устройство по п.1, в котором в колпачке для образования полости и в закрывающей детали выполнено сквозное отверстие, обеспечивающее связь полости закрывающей детали и внешнего пространства друг с другом, и в сквозное отверстие вставлен вспомогательный штифт, блокирующий сквозное отверстие.
3. Устройство по п.1, в котором колпачок для образования полости выполнен из материала, имеющего температуру плавления, которая выше температуры плавления закрывающей детали.
4. Устройство по п.3, в котором колпачок для образования полости выполнен из жидкокристаллического полиэфира (LCP).
5. Устройство по п.1, в котором узел сброса давления включает тонкопленочный участок, толщина которого меньше, чем толщина другой части элемента вокруг выемки, выполненной в элементе с определенными площадью и глубиной.
6. Устройство по п.5, в котором выемка выполнена на наружной поверхности элемента.
7. Устройство по п.5, в котором выемка выполнена на внутренней поверхности элемента.
8. Устройство по п.1, в котором при сбросе давления в узле сброса давления давление сбрасывается наружу через колпачок для образования полости и поверхность элемента, контактирующую с колпачком для образования полости.
РИСУНКИ
|