|
|
(21), (22) Заявка: 2006115402/28, 05.05.2006
(24) Дата начала отсчета срока действия патента:
05.05.2006
(46) Опубликовано: 20.01.2008
(56) Список документов, цитированных в отчете о поиске:
SU 1308163 A1, 30.09.1994. Силовые полупроводниковые приборы. / Пер. с англ. под ред. В.В.Токарева. – Первое издание. – Воронеж, 1995, с.240. WO 2005013454 А, 10.02.2005. RU 2256998 C1, 20.07.2005. US 6714429 A, 30.03.2004.
Адрес для переписки:
115201, Москва, а/я 16, пат. пов. В.П. Глазуновой
|
(72) Автор(ы):
Казанцев Виктор Иванович (RU), Хижняков Петр Михайлович (RU), Сергеев Вадим Геннадьевич (RU), Алексеев Виктор Анатольевич (RU), Млинник Алексей Юрьевич (RU), Монин Сергей Викторович (RU)
(73) Патентообладатель(и):
Казанцев Виктор Иванович (RU), Хижняков Петр Михайлович (RU), Сергеев Вадим Геннадьевич (RU), Алексеев Виктор Анатольевич (RU), Млинник Алексей Юрьевич (RU), Монин Сергей Викторович (RU)
|
(54) ВЫСОКОВОЛЬТНАЯ СИСТЕМА ЭЛЕКТРОПИТАНИЯ (ВАРИАНТЫ) И ЭЛЕКТРОННЫЙ КЛЮЧ ДЛЯ НЕЕ
(57) Реферат:
Изобретение относится к области приборостроения, в частности к системам питания, защиты и управления лучевыми исследовательскими физическими и технологическими установками, а также к системам электропитания СВЧ генераторных приборов, таких как клистроны, лампы бегущей и обратной волны, магнетроны, гиротроны и др. Техническая задача – повышение эффективности управления и защиты системы и подключаемой к ней нагрузки. Для решения данной задачи высоковольтная система электропитания содержит силовой источник питания, блок защитных ключей, систему управления. Причем силовой источник питания включает первичный источник питания, высокочастотный трансформатор, выпрямитель, фильтр. Выход высокочастотного трансформатора соединен с входом выпрямителя, выход которого соединен со входом фильтра. Первая шина силового источника питания соединена с одним из входов блока защитных ключей, второй вход которого соединен с выходом системы управления, в которую дополнительно введены датчик тока, датчик напряжения и схема сложения. В силовой источник питания введены два мостовых резонансных преобразователя, один высокочастотный трансформатор, один выпрямитель и один фильтр. 7 н. и 42 з.п. ф-лы, 7 ил.
Изобретение относится к области радиоэлектроники и электротехники, в частности к системам питания, защиты и управления лучевыми исследовательскими физическими и технологическими установками, а также к системам электропитания СВЧ генераторных приборов, таких как клистроны, лампы бегущей и обратной волны, магнетроны, гиротроны и др.
Известно изобретение «Источник питания с защитой от перегрузки» (RU 2256998, опубл. 2005.07.20), в котором источник содержит входные клеммы, соединенные со входами усилителя мощности, выход которого через первичную обмотку трансформатора тока подключен к первичной обмотке силового трансформатора, крайние выводы вторичной обмотки которого соединены со входом силового выпрямителя, сглаживающий фильтр, входы которого подключены к выходам силового выпрямителя, выходы сглаживающего фильтра соединены с выходными клеммами и с крайними выводами делителя напряжения, средний вывод делителя напряжения подключен к первому управляющему входу узла управления, первый выход которого соединен с первым управляющим входом усилителя мощности, а второй выход – со вторым управляющим входом усилителя мощности. Крайние выводы вторичной обмотки трансформатора тока соединены с нагрузочным резистором и входами выпрямителя, а средний вывод – со второй выходной клеммой. Выход выпрямителя через фильтрующую цепь и резистор подключены к первому входу усилителя сигнала ошибки канала защиты от перегрузки и первому выводу резистора. Второй вход усилителя сигнала ошибки канала защиты от перегрузки соединен с выходом источника опорного напряжения, а выход через диод подключен ко второму управляющему входу узла управления. Второй вывод резистора через стабилитрон соединен с движком потенциометра, крайние выводы которого подключены к выводу изолирующего усилителя, вход которого через входной делитель напряжения соединен с входными клеммами. При возникновении перегрузки на выходе источника питания сигнал, снимаемый со вторичной обмотки трансформатора тока, увеличивается. После выпрямления выпрямителем и фильтрации он становится больше, чем выходное напряжение источника опорного напряжения, в результате чего усилитель сигнала ошибки канала защиты от перегрузки переходит в активный режим и его выходное напряжение снижается. Снижение выходного напряжения усилителя сигнала ошибки происходит до тех пор, пока не открывается диод. Открытый диод шунтирует второй вход усилителя сигнала рассогласования узла управления, снижая величину напряжения на этом входе. Снижение напряжения на втором входе усилителя сигнала рассогласования приводит к такому изменению его выходного напряжения, при котором длительность импульсов на выходах селекторов уменьшается, вследствие чего уменьшается и длительность импульсов на вторичной обмотке силового трансформатора. Выходное напряжение источника питания снижается, что приводит к снижению выходного тока устройства до допустимого значения, то есть источник питания переходит в режим стабилизатора тока. Технический результат – повышение надежности защиты.
Недостатком данного изобретения является недостаточное быстродействие защиты. Кроме того, силовой трансформатор работает в импульсном режиме при меняющейся длительности импульсов. Это ведет к большим потерям в трансформаторе, перегреву сердечника и обмотки.
Известно изобретение «Преобразователь тока» (WO 2005013454, опубл. 2005.02.10), содержащее устройство защиты от короткого замыкания и включающее переключающую схему, расположенную перед преобразователем тока, управляемую уровнем выходного напряжения токового преобразователя, для того чтобы разъединить токовую цепь от источника первичного питания при увеличении тока на выходе устройства.
Недостатком преобразователя является недостаточная эффективность защиты, невысокое быстродействие схемы.
Известна схема электронного ключа с трансформаторной развязкой (Силовые полупроводниковые приборы. Перевод с английского под редакцией В.В.Токарева. Первое издание. Воронеж. 1995, стр.240), содержащая высокочастотный трансформатор, первичная обмотка которого подключена к схеме управления, а один из выводов вторичной обмотки соединен с истоком первого транзистора, причем второй вывод присоединен к затвору первого транзистора и истоку второго транзистора, при этом сток первого транзистора соединен с затвором второго транзистора, анод диода соединен с истоком первого транзистора, а катод – со стоком первого транзистора, при этом исток второго транзистора является входом ключа, а сток – выходом. Трансформаторная связь сигналов низкого уровня с мощными переключающими транзисторами позволяет иметь ряд преимуществ. Среди них соответствие импеданса, развязка по постоянному току и повышающие и понижающие возможности.
Недостатком данного устройства является недостаточность времени хранения заряда емкости «затвор-сток» второго транзистора и отсутствие компенсации тока утечки, т.е. недостаточная надежность схемы, низкое быстродействие схемы.
Известно изобретение «Способ управления режимом лучевой установки» (SU 1308163, опубл. 1994.09.30), в котором установка содержит силовой источник питания с первичным источником (ПИ), блок управления режимом (БУ), электронную пушку с системой дифференциальной откачки (СО) и лучеводом, технологическую камеру, датчик рентгеновского излучения (ДИ). БУ выполнен на основе электронно-лучевых вентилей (В) 10, 11. Вентиль 11, шунтирующий пушку, включен последовательно с балластной нагрузкой. Электронный пучок проходит через СО в технологическую камеру с объектом нагрева. На оси камеры установлен ДИ. При наличии неустойчивости пучка ДИ подает сигнал на БУ, который запирает В 10 и отпирает В 11, что обеспечивает гашение ускоряющего поля в пушке и исключает аварийный пробой в тракте за счет управления переходными процессами. ПИ работает на цепь В 11, сохраняя постоянным ток анода пушки. В интервалах коммутации запасенная в реактивных звеньях энергия плавно переходит в шунтирующий контур и обратно, обеспечивая оптимальный режим ПИ.
Таким образом, по сигналу с рентгеновского датчика осуществляется аварийное отключение электронной пушки, а управление переходными процессами, снимающее проблему перенапряжений и сверхтоков в цепи питания, осуществляется с помощью полностью управляемых электронно-лучевых вентилей. В интервалах коммутации запасенная в реактивных звеньях энергия плавно переводится в шунтирующий контур и обратно, обеспечивая оптимальный режим работы первичного источника в режиме неизменной мощности.
Эффективность установки определяется снятием проблемы технологического КЗ в пушке.
Недостатком данного изобретения является недостаточное быстродействие установки, установка имеет большие массу и размеры, небольшую надежность и срок службы, высокое энергопотребление. И, кроме того, оно может быть использовано лишь для питания электронной пушки. При необходимости создать систему электропитания для приборов типа ЛБВ, клистронов, гиротронов нет возможности встроить рентгеновский датчик излучения ДИ.
Данное изобретение является ближайшим аналогом предлагаемому изобретению, т.е. прототипом.
Задачей данного изобретения является повышение эффективности управления и защиты системы и подключаемой к ней нагрузки от токов большой величины, улучшение массогабаритных показателей системы, снижение энергопотребления, увеличение срока службы, увеличение надежности, расширение функциональных возможностей.
Данная задача по варианту 1 решается созданием высоковольтной системы электропитания, содержащей силовой источник питания, блок защитных ключей, систему управления, при этом один из входов блока защитных ключей соединен с первой шиной силового источника питания, а другой вход соединен с одним из выходов системы управления, в которую дополнительно введен датчик тока и датчик напряжения, причем первая шина силового источника питания через датчик напряжения соединена с общей шиной, а выход датчика напряжения соединен с одним из входов системы управления, при этом вторая шина силового источника питания через датчик тока соединена с общей шиной, а выход датчика тока соединен со вторым входом системы управления, а второй выход системы управления соединен с управляющим входом силового источника питания, при этом блок защитных ключей выполнен в виде, по меньшей мере, одного электронного ключа на базе транзисторов, а выход блока защитных ключей является выходом системы.
Кроме того, блок защитных ключей выполнен в виде, по меньшей мере, одного электронного ключа на базе полевых с изолированным затвором или биполярных транзисторов с изолированным затвором.
Кроме того, блок защитных ключей выполнен в виде N электронных ключей на базе полевых с изолированным затвором или биполярных транзисторов с изолированным затвором, соединенных последовательно друг с другом.
Кроме того, датчик тока выполнен в виде трансформатора тока.
Кроме того, датчик тока выполнен в виде резистора.
Кроме того, датчик напряжения выполнен в виде делителя напряжения.
Кроме того, в силовой источник питания введен, по меньшей мере, один мостовой резонансный преобразователь, при этом вход каждого мостового резонансного преобразователя, являющийся управляющим входом силового источника питания, соединен с соответствующим выходом системы управления.
Данная задача по варианту 2 решается созданием высоковольтной системы электропитания, содержащей силовой источник питания, блок защитных ключей, систему управления, при этом один из входов блока защитных ключей соединен с одним из выходов системы управления, в которую дополнительно введен датчик тока и датчик напряжения, причем первая шина силового источника питания соединена с одним из входов датчика тока и через датчик напряжения с общей шиной, при этом один из выходов датчика тока соединен с одним из входов блока защитных ключей, а выход датчика напряжения соединен с одним из входов системы управления, другой вход которой соединен с соответствующим выходом датчика тока, а выход соединен с соответствующим входом блока защитных ключей, а второй выход системы управления соединен с управляющим входом силового источника питания, при этом блок защитных ключей выполнен в виде, по меньшей мере, одного электронного ключа на базе транзисторов, а выход блока защитных ключей является выходом системы.
Кроме того, блок защитных ключей выполнен в виде, по меньшей мере, одного электронного ключа на базе полевых с изолированным затвором или биполярных транзисторов с изолированным затвором.
Кроме того, блок защитных ключей выполнен в виде N электронных ключей на базе полевых с изолированным затвором или биполярных транзисторов с изолированным затвором, соединенных последовательно друг с другом.
Кроме того, датчик тока выполнен в виде трансформатора тока.
Кроме того, датчик тока выполнен в виде резистора.
Кроме того, датчик напряжения выполнен в виде делителя напряжения.
Кроме того, в силовой источник питания введен, по меньшей мере, один мостовой резонансный преобразователь, при этом вход каждого мостового резонансного преобразователя, являющийся управляющим входом силового источника питания, соединен с соответствующим выходом системы управления.
Данная задача по варианту 3 решается созданием высоковольтной системы электропитания, содержащей силовой источник питания, блок защитных ключей, систему управления, причем силовой источник питания включает первичный источник питания, высокочастотный трансформатор, выпрямитель, фильтр, при этом выход высокочастотного трансформатора соединен с входом выпрямителя, выход которого соединен со входом фильтра, выход которого соединен с первой шиной источника питания, при этом первая шина силового источника питания соединена с одним из входов блока защитных ключей, другой вход которого соединен с выходом системы управления, в которую дополнительно введен датчик тока и датчик напряжения, а в силовой источник питания введены, по меньшей мере, один мостовой резонансный преобразователь, при этом один вход каждого мостового резонансного преобразователя соединен с выходом первичного источника питания, а другой вход каждого мостового резонансного преобразователя соединен с соответствующим выходом системы управления, при этом выход каждого мостового резонансного преобразователя соединен с входом высокочастотного трансформатора, причем первая шина силового источника питания через датчик напряжения соединена с общей шиной, а выход датчика напряжения соединен с одним из входов системы управления, при этом вторая шина силового источника питания через датчик тока соединена с общей шиной, а выход датчика тока соединен с другим входом системы управления, выход которой соединен с вторым входом блока защитных ключей, при этом блок защитных ключей выполнен в виде, по меньшей мере, одного электронного ключа на базе транзисторов, а выход блока защитных ключей является выходом системы.
Кроме того, мостовые резонансные преобразователи соединены параллельно друг другу.
Кроме того, выход каждого мостового резонансного преобразователя через резонансный контур, состоящий, по меньшей мере, из одной индуктивности и одной емкости, соединенных последовательно, соединен с входом высокочастотного трансформатора.
Кроме того, блок защитных ключей выполнен в виде, по меньшей мере, одного электронного ключа на базе полевых с изолированным затвором или биполярных транзисторов с изолированным затвором.
Кроме того, блок защитных ключей выполнен в виде N электронных ключей на базе полевых с изолированным затвором или биполярных транзисторов с изолированным затвором, соединенных последовательно друг с другом.
Кроме того, датчик тока выполнен в виде трансформатора тока.
Кроме того, датчик тока выполнен в виде резистора.
Кроме того, датчик напряжения выполнен в виде делителя напряжения.
Данная задача по варианту 4 решается созданием высоковольтной системы электропитания, содержащей силовой источник питания, блок защитных ключей, систему управления, причем силовой источник питания включает первичный источник питания, высокочастотный трансформатор, выпрямитель, фильтр, при этом выход высокочастотного трансформатора соединен со входом выпрямителя, выход которого соединен с входом фильтра, выход которого соединен с первой шиной источника питания, в которую дополнительно введен датчик тока и датчик напряжения, а в силовой источник питания введены, по меньшей мере, один мостовой резонансный преобразователь, при этом один из входов каждого мостового резонансного преобразователя соединен с выходом первичного источника питания, а другой вход каждого мостового резонансного преобразователя соединен с соответствующим выходом системы управления, при этом выход каждого мостового резонансного преобразователя соединен с входом высокочастотного трансформатора, причем первая шина силового источника питания соединена с одним из входов датчика тока и через датчик напряжения с общей шиной, при этом один из выходов датчика тока соединен с одним из входов блока защитных ключей, а выход датчика напряжения соединен с одним из входов системы управления, другой вход которой соединен с соответствующим выходом датчика тока, а выход соединен с соответствующим входом блока защитных ключей, при этом блок защитных ключей выполнен в виде, по меньшей мере, одного электронного ключа на базе транзисторов, а выход блока защитных ключей является выходом системы.
Кроме того, мостовые резонансные преобразователи соединены параллельно друг другу.
Кроме того, выход каждого мостового резонансного преобразователя через резонансный контур, состоящий по меньшей мере из одной индуктивности и одной емкости, соединенных последовательно, соединен с входом высокочастотного трансформатора.
Кроме того, блок защитных ключей выполнен в виде, по меньшей мере, одного электронного ключа на базе полевых с изолированным затвором или биполярных транзисторов с изолированным затвором.
Кроме того, блок защитных ключей выполнен в виде N электронных ключей на базе полевых с изолированным затвором или биполярных транзисторов с изолированным затвором, соединенных последовательно друг с другом.
Кроме того, датчик тока выполнен в виде трансформатора тока.
Кроме того, датчик тока выполнен в виде резистора.
Кроме того, датчик напряжения выполнен в виде делителя напряжения
Данная задача по варианту 5 решается созданием высоковольтной системы электропитания, содержащей силовой источник питания, блок защитных ключей, систему управления, причем силовой источник питания включает первичный источник питания, высокочастотный трансформатор, выпрямитель, фильтр, при этом выход высокочастотного трансформатора соединен с входом выпрямителя, выход которого соединен со входом фильтра, при этом первая шина силового источника питания соединена с одним из входов блока защитных ключей, второй вход которого соединен с выходом системы управления, в которую дополнительно введены датчик тока, датчик напряжения и схема сложения, а в силовой источник питания введены, по меньшей мере, два мостовых резонансных преобразователя, один высокочастотный трансформатор, один выпрямитель, один фильтр, при этом один из входов каждого мостового резонансного преобразователя соединен с выходом первичного источника питания, а другой – с соответствующим выходом системы управления, при этом выход каждого мостового резонансного преобразователя соединен с входом соответствующего высокочастотного трансформатора, причем выход каждого фильтра соединен с соответствующим входом схемы сложения, выход которой соединен с первой шиной силового источника питания, соединенной через датчик напряжения с общей шиной, при этом выход датчика напряжения соединен с одним из входов системы управления, а вторая шина силового источника питания через датчик тока соединена с общей шиной, при этом выход датчика тока соединен с соответствующим входом системы управления, выход которой соединен со вторым входом блока защитных ключей, при этом блок защитных ключей выполнен в виде, по меньшей мере, одного электронного ключа на базе транзисторов, а выход блока защитных ключей является выходом системы.
Кроме того, выход каждого мостового резонансного преобразователя через резонансный контур, состоящий по меньшей мере из одной индуктивности и одной емкости, соединенных последовательно, соединен с входом высокочастотного трансформатора.
Кроме того, блок защитных ключей выполнен в виде, по меньшей мере, одного электронного ключа на базе полевых с изолированным затвором или биполярных транзисторов с изолированным затвором.
Кроме того, блок защитных ключей выполнен в виде N электронных ключей на базе полевых с изолированным затвором или биполярных транзисторов с изолированным затвором, соединенных последовательно друг с другом.
Кроме того, датчик тока выполнен в виде трансформатора тока.
Кроме того, датчик тока выполнен в виде резистора.
Кроме того, датчик напряжения выполнен в виде делителя напряжения.
Кроме того, схема сложения выполнена в виде параллельного соединения фильтров.
Кроме того, схема сложения выполнена в виде последовательного соединения фильтров.
Данная задача по варианту 6 решается созданием высоковольтной системы электропитания, содержащей силовой источник питания, блок защитных ключей, систему управления, причем силовой источник питания включает первичный источник питания, высокочастотный трансформатор, выпрямитель, фильтр, при этом выход высокочастотного трансформатора соединен с входом выпрямителя, выход которого соединен с входом фильтра, в которую дополнительно введены датчик тока, датчик напряжения и схема сложения, а в силовой источник питания введены, по меньшей мере, два мостовых резонансных преобразователя, один высокочастотный трансформатор, один выпрямитель, один фильтр, при этом один из входов каждого мостового резонансного преобразователя соединен с выходом первичного источника питания, а другой – с соответствующим выходом системы управления, при этом выход каждого мостового резонансного преобразователя соединен с входом соответствующего высокочастотного трансформатора, причем выход каждого фильтра соединен с соответствующим входом схемы сложения, выход которой соединен с первой шиной силового источника питания, соединенной с одним из входов датчика тока и через датчик напряжения с общей шиной, при этом один из выходов датчика тока соединен с одним из входов блока защитных ключей, а выход датчика напряжения соединен с одним из входов системы управления, другой вход которой соединен с соответствующим выходом датчика тока, а выход соединен с соответствующим входом блока защитных ключей, при этом блок защитных ключей выполнен в виде, по меньшей мере, одного электронного ключа на базе транзисторов, а выход блока защитных ключей является выходом системы.
Кроме того, выход каждого мостового резонансного преобразователя через резонансный контур, состоящий по меньшей мере из одной индуктивности и одной емкости, соединенных последовательно, соединен с входом высокочастотного трансформатора.
Кроме того, блок защитных ключей выполнен в виде, по меньшей мере, одного электронного ключа на базе полевых с изолированным затвором или биполярных транзисторов с изолированным затвором.
Кроме того, блок защитных ключей выполнен в виде N электронных ключей на базе полевых с изолированным затвором или биполярных транзисторов с изолированным затвором, соединенных последовательно друг с другом.
Кроме того, датчик тока выполнен в виде трансформатора тока.
Кроме того, датчик тока выполнен в виде резистора.
Кроме того, датчик напряжения выполнен в виде делителя напряжения.
Кроме того, схема сложения выполнена в виде параллельного соединения фильтров.
Кроме того, схема сложения выполнена в виде последовательного соединения фильтров.
Данная задача решается созданием электронного ключа, содержащего высокочастотный трансформатор, первый и второй транзисторы, первый диод, причем один из выводов вторичной обмотки трансформатора подключен к истоку первого транзистора, а другой вывод к истоку второго транзистора, при этом анод первого диода соединен с истоком первого транзистора, а исток второго транзистора является входом электронного ключа, а сток второго транзистора является выходом электронного ключа, в который дополнительно введены второй диод, третий диод, стабилитрон, первый и второй резисторы и конденсатор, при этом катод второго диода соединен со стоком первого транзистора, а анод второго диода соединен с катодом первого диода и с одним из выводов первого резистора, второй вывод которого соединен с затвором второго транзистора, с одним из выводов конденсатора и третьего диода, вторые выводы которых соединены с истоком второго транзистора, при этом второй резистор подключен между истоком второго транзистора и затвором первого транзистора, анод стабилитрона соединен с входом ключа, а катод – с выходом ключа.
Изобретение поясняется чертежами:
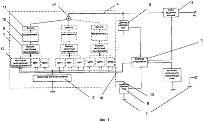
На фиг.1 показана структурная схема высоковольтной системы электропитания.
На фиг.2 показана структурная схема высоковольтной системы электропитания с альтернативным подключением датчика тока.
На фиг.3 показана структурная схема мостового резонансного преобразователя силового источника питания.
На фиг.4 показаны эпюры напряжений, подаваемых системой управления на затворы транзисторов VT1, VT2, VT3 и VT4 мостового резонансного преобразователя.
На фиг.5 показана принципиальная схема электронного ключа.
На фиг.6 показана принципиальная схема блока защитных ключей.
На фиг.7 показана структурная схема сложения а) по току, b) по напряжению.
Высоковольтная система электропитания по варианту 1 (фиг.1) содержит силовой источник питания 1, блок защитных ключей 2, систему управления 3, при этом один из входов блока защитных ключей 2 соединен с первой шиной 4 силового источника питания 1, а второй вход блока защитный ключей 2 соединен с одним из выходов системы управления 3, а второй выход системы управления соединен с управляющим входом силового источника питания 18, также содержит датчик напряжения 5 и датчик тока 6, причем первая шина 4 силового источника питания 1 через датчик напряжения 5 соединена с общей шиной 7, а выход датчика напряжения 5 соединен с одним из входов системы управления 3, при этом вторая шина силового источника питания 1 через датчик тока 6 соединена с общей шиной 7, а выход датчика тока 6 соединен со вторым входом системы управления 3, выход которой соединен со вторым входом блока защитных ключей 2, при этом блок защитных ключей 2 выполнен в виде, по меньшей мере, одного электронного ключа на базе транзисторов (фиг.6), а выход блока защитных ключей 2 является выходом системы, вторым выходом которой является общая шина 7.
Кроме того, блок защитных ключей 2 выполнен в виде, по меньшей мере, одного электронного ключа на базе полевых с изолированным затвором или биполярных транзисторов с изолированным затвором, соединенных последовательно друг с другом.
Кроме того, блок защитных ключей 2 выполнен в виде N электронных ключей на базе полевого или биполярного транзистора с изолированным затвором, соединенных последовательно друг с другом.
Кроме того, в силовой источник питания 1 введен, по меньшей мере, один мостовой резонансный преобразователь 12, при этом вход каждого мостового резонансного преобразователя 12, являющийся управляющим входом силового источника питания 18, соединен с соответствующим выходом системы управления 3.
Кроме того, датчик тока 6 выполнен в виде трансформатора тока.
Кроме того, датчик тока 6 выполнен в виде резистора.
Кроме того, датчик напряжения 5 выполнен в виде делителя напряжения.
Высоковольтная система электропитания по варианту 2 (фиг.2) содержит силовой источник питания 1, блок защитных ключей 2, систему управления 3, датчик напряжения 5 и датчик тока 6, причем первая шина силового источника питания 1 через датчик напряжения 5 соединена с общей шиной 7, а через датчик тока 6 соединена с одним из входов блока защитных ключей, при этом выход датчика напряжения 5 соединен с одним из входов системы управления 3, а другой выход датчика тока 6 соединен с соответствующим входом системы управления 3, один из выходов которой соединен со вторым входом блока защитных ключей 2, а второй соединен с управляющим входом силового источника питания 18, при этом блок защитных ключей 2 выполнен в виде, по меньшей мере, одного ключа на базе транзисторов (фиг.5). Кроме того, блок защитных ключей 2 выполнен в виде, по меньшей мере, одного электронного ключа на базе полевых с изолированным затвором или биполярных транзисторов с изолированным затвором, соединенных последовательно друг с другом.
Кроме того, блок защитных ключей 2 выполнен в виде N электронных ключей на базе полевых с изолированным затвором или биполярных транзисторов с изолированным затвором, соединенных последовательно друг с другом.
Кроме того, в силовой источник питания 1 введен, по меньшей мере, один мостовой резонансный преобразователь 12, при этом вход каждого мостового резонансного преобразователя 12, являющийся управляющим входом силового источника питания 18, соединен с соответствующим выходом системы управления 3.
Кроме того, датчик тока 6 выполнен в виде трансформатора тока.
Кроме того, датчик напряжения 5 выполнен в виде делителя напряжения.
Кроме того, датчик тока 6 выполнен в виде резистора.
Высоковольтная система электропитания по варианту 3 (фиг.1) содержит силовой источник питания 1, блок защитных ключей 2, систему управления 3, причем силовой источник питания 1 включает первичный источник питания 8, высокочастотный трансформатор 9, выпрямитель 10, фильтр 11, при этом выход высокочастотного трансформатора 9 соединен с входом выпрямителя 10, выход которого соединен со входом фильтра 11, выход которого соединен с первой шиной источника питания 4, при этом первая шина 4 силового источника питания 1 соединена с одним из входов блока защитных ключей 2, второй вход которого соединен с выходом системы управления 3, датчик тока 6 и датчик напряжения 5, мостовой резонансный преобразователь 12 (фиг.3), при этом первый вход мостового резонансного преобразователя 12 соединен с выходом первичного источника питания 8, а другой вход с одним из выходов системы управления 3, а выход мостового резонансного преобразователя 12 соединен с входом высокочастотного трансформатора 9, причем первая шина силового источника питания 4 через датчик напряжения 5 соединена с общей шиной 7, а выход датчика напряжения 5 соединен с одним из входов системы управления 3, вторая шина силового источника питания 13 через датчик тока 6 соединена с общей шиной 7, а выход датчика тока 6 соединен со вторым входом системы управления 3, выход которой соединен со вторым входом блока защитных ключей 2, при этом блок защитных ключей 2 выполнен в виде, по меньшей мере, одного электронного ключа на базе транзисторов (фиг.5), а выход блока защитных ключей 2 является выходом системы.
Кроме того, выход каждого мостового резонансного преобразователя 12 через резонансный контур 15, состоящий, по меньшей мере, из одной индуктивности и одной емкости, соединенных последовательно, соединен с входом высокочастотного трансформатора 9.
Кроме того, блок защитных ключей 2 выполнен в виде, по меньшей мере, одного электронного ключа на базе полевых с изолированным затвором или биполярных транзисторов с изолированным затвором, соединенных последовательно друг с другом.
Кроме того, блок защитных ключей 2 выполнен в виде N электронных ключей на базе полевого или биполярного транзистора с изолированным затвором, соединенных последовательно друг с другом.
Кроме того, датчик тока 6 выполнен в виде трансформатора тока.
Кроме того, датчик напряжения 5 выполнен в виде делителя напряжения.
Кроме того, датчик тока 6 выполнен в виде резистора.
Высоковольтная система электропитания по варианту 4 (фиг.1) содержит силовой источник питания 1, блок защитных ключей 2, систему управления 3, причем силовой источник питания 1 включает первичный источник питания 8, высокочастотный трансформатор 9, выпрямитель 10, фильтр 11, при этом выход высокочастотного трансформатора 9 соединен со входом выпрямителя 10, выход которого соединен со входом фильтра 11, выход которого соединен с первой шиной источника питания 4, при этом первая шина силового источника питания 4 соединена с одним из входов блока защитных ключей 2, второй вход которого соединен с выходом системы управления 3, также содержит датчик тока 6 и датчик напряжения 5, а в силовой источник питания 1 введены, по меньшей мере, один мостовой резонансный преобразователь 12 (фиг.3), при этом один вход мостового резонансного преобразователя 12 соединен с выходом первичного источника питания 8, а другой вход соединен с одним из выходов системы управления 3, а выход мостового резонансного преобразователя 12 соединен с входом высокочастотного трансформатора 9, причем первая шина силового источника питания 4 через датчик напряжения 5 соединена с общей шиной 7, а через датчик тока соединена с одним из входов блока защитных ключей, выход датчика напряжения 5 соединен с одним из входов системы управления 3, а второй выход датчика тока 6 соединен с вторым входом системы управления 3, выход которой соединен со вторым входом блока защитных ключей 2, при этом блок защитных ключей 2 (фиг.6) выполнен в виде, по меньшей мере, одного электронного ключа на базе транзисторов (фиг.4), а выход блока защитных ключей 2 является выходом системы.
Кроме того, выход каждого мостового резонансного преобразователя 12 через резонансный контур 15, состоящий, по меньшей мере, из одной индуктивности и одной емкости, соединенных последовательно, соединен с входом высокочастотного трансформатора 9.
Кроме того, блок защитных ключей 2 выполнен в виде, по меньшей мере, одного электронного ключа на базе полевых с изолированным затвором или биполярных транзисторов с изолированным затвором, соединенных последовательно друг с другом.
Кроме того, блок защитных ключей 2 выполнен в виде N электронных ключей на базе полевых с изолированным затвором или биполярных транзисторов с изолированным затвором, соединенных последовательно друг с другом.
Кроме того, датчик тока 6 выполнен в виде трансформатора тока.
Кроме того, датчик напряжения 5 выполнен в виде делителя напряжения.
Кроме того, датчик тока 6 выполнен в виде резистора.
Высоковольтная система электропитания по варианту 5 (фиг.1) содержит силовой источник питания 1, блок защитных ключей 2, систему управления 3, причем силовой источник питания включает первичный источник питания 8, высокочастотный трансформатор 9, выпрямитель 10, фильтр 11, при этом выход высокочастотного трансформатора 9 соединен со входом выпрямителя 10, выход которого соединен со входом фильтра 11, при этом первая шина силового источника питания 4 соединена с одним из входов блока защитных ключей 2, второй вход которого соединен с выходом системы управления 3, датчик тока 6, датчик напряжения 5 и схема сложения 17, а в силовой источник питания введены, по меньшей мере, два мостовых резонансных преобразователя 12, один высокочастотный трансформатор 9, один выпрямитель 10, один фильтр 11, при этом один из входов каждого мостового резонансного преобразователя 12 соединен с выходом первичного источника питания 8, а второй вход каждого мостового резонансного преобразователя 12 соединен с одним из выходов системы управления 3, при этом выходы мостовых резонансных преобразователей 12 соединены с соответствующими входами высокочастотных трансформаторов 9, при этом выход каждого фильтра 11 соединен с соответствующим входом схемы сложения 17, выход которой соединен с первой шиной силового источника питания 1, соединенной через датчик напряжения 5 с общей шиной 7, а выход датчика напряжения 5 соединен с одним из входов системы управления 3, при этом вторая шина силового источника питания 1 через датчик тока 6 соединена с общей шиной 7, а выход датчика тока 6 соединен со вторым входом системы управления 3, выход которой соединен со вторым входом блока защитных ключей 2, при этом блок защитных ключей 2 (фиг.6) выполнен в виде, по меньшей мере, одного электронного ключа на базе транзисторов (фиг.4), а выход блока защитных ключей является выходом системы.
Кроме того, выход каждого мостового резонансного преобразователя 12 через резонансный контур 15, состоящий, по меньшей мере, из одной индуктивности и одной емкости, соединенных последовательно, соединен с входом высокочастотного трансформатора 9.
Кроме того, блок защитных ключей 2 выполнен в виде, по меньшей мере, одного электронного ключа на базе полевых с изолированным затвором или биполярных транзисторов с изолированным затвором.
Кроме того, блок защитных ключей 2 выполнен в виде N электронных ключей на базе полевых с изолированным затвором или биполярных транзисторов с изолированным затвором, соединенных последовательно друг с другом.
Кроме того, датчик тока 6 выполнен в виде трансформатора тока.
Кроме того, датчик тока 6 выполнен в виде резистора.
Кроме того, датчик напряжения 5 выполнен в виде делителя напряжения.
Высоковольтная система электропитания по варианту 6 (фиг.2) содержит силовой источник питания 1, блок защитных ключей 2, систему управления 3, причем силовой источник питания 1 включает первичный источник питания 8, высокочастотный трансформатор 9, выпрямитель 10, фильтр 11, при этом выход высокочастотного трансформатора 9 соединен с входом выпрямителя 10, выход которого соединен со входом фильтра 11, датчик тока 6, датчик напряжения 5 и схема сложения 17, а в силовой источник питания 1 введены, по меньшей мере, два мостовых резонансных преобразователя 12, один высокочастотный трансформатор 9, один выпрямитель 10, один фильтр 11, при этом один из входов каждого мостового резонансного преобразователя 12 соединен с выходом первичного источника питания 6, а другой вход каждого мостового резонансного преобразователя 12 соединен с одним из выходов системы управления 3, при этом выходы мостовых резонансных преобразователей 12 соединены с соответствующими входами высокочастотных трансформаторов 9, причем выход каждого фильтра 11 соединен с соответствующим входом схемы сложения 17, выход которой соединен с первой шиной силового источника питания 4, соединенной через датчик напряжения с общей шиной 7, а через датчик тока 6 – с одним из входов блока защитных ключей 2, при этом выход датчика напряжения 5 соединен с одним из входов системы управления 3, а второй выход датчика тока 6 соединен со вторым входом системы управления 3, выход которой соединен со вторым входом блока защитных ключей 2, при этом блок защитных ключей 2 выполнен в виде, по меньшей мере, одного электронного ключа на базе транзисторов (фиг.4), а выход блока защитных ключей является выходом системы.
Кроме того, выход каждого мостового резонансного преобразователя 12 через резонансный контур 15, состоящий, по меньшей мере, из одной индуктивности и одной емкости, соединенных последовательно, соединен с входом высокочастотного трансформатора 9.
Кроме того, блок защитных ключей 2 выполнен в виде, по меньшей мере, одного электронного ключа на базе полевых с изолированным затвором или биполярных транзисторов с изолированным затвором.
Кроме того, блок защитных ключей 2 выполнен в виде N электронных ключей на базе полевых с изолированным затвором или биполярных транзисторов с изолированным затвором, соединенных последовательно друг с другом.
Кроме того, датчик тока 6 выполнен в виде трансформатора тока.
Кроме того, датчик тока 6 выполнен в виде резистора.
Кроме того, датчик напряжения 5 выполнен в виде делителя напряжения.
Электронный ключ (фиг.5) содержит высокочастотный трансформатор Т2, первый VT5 и второй VT6 транзисторы, первый диод VD1, причем один из выводов вторичной обмотки трансформатора Т2 подключен к истоку первого транзистора VT5, а другой вывод к истоку второго транзистора VT6, при этом анод первого диода VD1 соединен с истоком первого транзистора VT5, а исток второго транзистора VT6 является входом электронного ключа, а сток второго транзистора VT6 является выходом электронного ключа, второй диод VD2, третий диод VD3, стабилитрон VD4, первый R1 и второй R2 резисторы и конденсатор С1, при этом катод второго диода VD2 соединен со стоком первого транзистора VT5, а анод второго диода VD2 соединен с катодом первого диода VD1 и с одним из выводов первого резистора R1, второй вывод которого соединен с затвором второго транзистора VT6, с одним из выводов конденсатора С1 и третьего диода VD3, вторые выводы которых соединены с истоком второго транзистора VT6, при этом второй резистор R2 подключен между истоком второго транзистора VT6 и затвором первого транзистора VT5, анод стабилитрона соединен с входом ключа, а катод – с выходом ключа.
Устройство по вариантам 1, 2, 3, 4, 5, 6, 7 работает следующим образом.
Питание всей схемы осуществляют от первичной силовой сети, напряжение которой подают на силовой источник питания (СИП) 1.
По вариантам 1, 2 устройства, к одной из выходных шин 4 которого подсоединен датчик напряжения (ДН) 5, вторым концом соединенный с общей шиной 7 и представляющий собой, например, резистивный делитель напряжения. Часть напряжения с датчика напряжения подается на один из входов системы управления 3, на другой вход которой поступает сигнал с выхода датчика тока 6, подключенного к другой выходной шине 13 СИП 1 и выполненного в виде резистора малого сопротивления или трансформатора тока.
Далее напряжение с выходной шины 4 СИП 1 подают на блок защитных ключей (БЗК) 2, предназначенный для защиты высоковольтного источника питания 1 от токов большой величины, вызванных коротким замыканием в нагрузке. Блок защитных ключей 2 выполнен в виде N электронных ключей (фиг.6) на базе полевых транзисторов с изолированным затвором или биполярных транзисторов с изолированными затворами, соединенных последовательно друг с другом. Приблизительное число необходимых электронных ключей в зависимости от требуемого напряжения, получаемого на выходе системы, рассчитывается следующим образом: N=K·Uвых/Uпробив.сток-исток, где К – коэффициент запаса, равный 1…1,5. Блок защитных ключей 2 может содержать от одного до 100 штук ключей, соединенных последовательно друг с другом.
В нормальном состоянии во время работы ключи 1…N открыты и напряжение питания с входа блока защитных ключей подается на выход практически без потерь. При этом с системы управления 3 импульсы положительной полярности длительностью 100…200 нс поступают на первичную обмотку высокочастотного трансформатора Т2 через небольшие промежутки времени – порядка 10 мкс. Со вторичной обмотки импульсы поступают через диод VD1 VT5 каждого ключа 1…N на транзистор VT6, заряжая емкость С1 и паразитную емкость транзистора, тем самым удерживая его в открытом состоянии. Конденсатор С1 позволяет увеличивать время хранения заряда и компенсировать ток утечки, что увеличивает надежность удержания транзистора VT6 в открытом состоянии. Сопротивление R1, один из выводов которого соединен с анодом второго диода VD2 и катодом первого диода VD1, а второй – с затвором второго транзистора VT6, с одним из выводов конденсатора С1 и третьего диода VD3, позволяет уменьшить паразитные колебания, возникающие на фронте импульса управления, что дает возможность повысить эффективность управления и увеличить стабильность состояния.
“Броски” тока или напряжений, появившихся на выходных шинах 4, 13 СИП 1 регистрируются с помощью датчика тока 6 и/или датчика напряжения 5, сигнал с которых подается на систему управления 3, где производится сравнение с пороговой величиной и делается вывод о наличии в системе короткого замыкания или других аварийных ситуаций. При наличии в системе аварийной ситуации система управления 3 подает на трансформатор Т2 импульс обратной полярности, который, открывая транзистор VT5, приводит к разряду емкости С1 и паразитной емкости транзистора VT6, тем самым приводя к запиранию транзисторов VT6 каждого ключа 1…N и размыканию входа и выхода в блоке защитных ключей 2, обесточивая выходную нагрузку и защищая ее от разрушения токами большой величины.
За счет введения контроля за выходными токами и напряжениями в нагрузке повышается эффективность управления и защиты системы и подключаемой к ней нагрузки от токов большой величины и их бросков, а также улучшение массогабаритных показателей системы, снижение энергопотребления, увеличение срока службы и увеличение надежности.
Кроме того, один из выходов системы управления соединен с управляющим входом силового источника питания, который является входом, например, мостового резонансного преобразователя, показанного на фиг.1-3.
По вариантам 1, 2, 3, 4, 5, 6 с выхода первичного источника питания 8, включающего, например, сетевой фильтр, диодный выпрямитель и фильтр низких частот (ФНЧ), постоянное напряжение подают на один или нескольких мостовых резонансных преобразователей (МРП) 12, количество которых определяется в зависимости от мощности системы. Обычно мощность на выходе одного МРП составляет до 2…4 кВт, при необходимости получения большей мощности МРП соединяются параллельно и их количество будет равно М=Р[кВт]/4 кВт, где Р – мощность, получаемая на выходе силового источника питания. Каждый МРП 12 (фиг.3) содержит четыре ключа 14, выполненных на полевых с изолированным затвором транзисторах или биполярных транзисторах с изолированным затвором VT1, VT2, VT3 и VT4, каждый из которых затвором подключен к системе управления 3. Система управления 3 в один момент времени подает импульсы (фиг.4), открывающие ключи VT1 и VT4, и импульсы, запирающие ключи VT2 и VT3, затем через время, равное половине периода следования импульсов с учетом гарантированной паузы, подает импульсы, открывающие ключи VT2 и VT3, и импульсы, запирающие ключи VT1 и VT4, причем частота подачи отпирающих и запирающих импульсов близка к резонансной частоте резонансного контура 15, образованного элементами L и С с учетом паразитной индуктивности и емкости трансформатора 9, и лежит в диапазоне 50…300 кГц. Резонансный контур 15 играет важную роль в работе схемы: во-первых, он позволяет ввести частотное управление схемой МРП 12, а во-вторых, помогает использовать для передачи энергии паразитные емкости и индуктивности высокочастотного трансформатора 9. В качестве нагрузки схемы МРП 12 служит первичная обмотка трансформатора Т1 9, которая может быть подключена, например, параллельно к конденсатору С колебательного контура 15. На вторичной обмотке трансформатора 9 соответственно вырабатываются гармонические электрические колебания той же частоты 50…300 кГц, но за счет большего количества витков по сравнению с первичной обмоткой, на выходе вторичной обмотки вырабатывается высокое напряжение до 100 кВ. Управление величиной выходного напряжения осуществляется частотным методом путем изменения частоты следования импульсов, подаваемых системой управления 3, при этом имеется возможность варьирования величины напряжения, получаемого с выхода трансформатора 9 путем изменения разницы подаваемой с выхода системы управления 3 частоты и резонансной частоты колебательного контура 15. При этом, чем больше разница частот, тем меньше напряжение на выходе МРП и наоборот. Далее переменное высокое напряжение с вторичной обмотки трансформатора Т1 9 поступает на выпрямитель 10, выполненный, например, с использованием полупроводниковых диодов по мостовой схеме, на выходе которого имеется фильтр 11, предназначенный для сглаживания пульсаций. При этом для повышения выходной мощности фильтры 11 соединены со схемой сложения 17, которая представляет собой либо параллельное соединение выходов фильтров 11 (фиг.7а) для увеличения выходного тока, либо, например, последовательное (фиг.7b) для увеличения выходного напряжения. Далее высокое постоянное напряжение с выхода силового источника питания 1 поступает на датчик напряжения (ДН) 5, представляющий собой, например, резистивный делитель напряжения, который вторым выходом присоединен к общей шине 7, относительно которой и производится измерение напряжения. Часть напряжения с него подается на систему управления 3 для создания обратной связи. Образование обратной связи позволяет осуществлять быстродействующую защиту силового источника питания 1 от аварий в нагрузке. При бросках тока через датчик тока 6 или при перенапряжении на выходе датчика напряжения 5 система управления 3 прекращает подачу импульсов на ключи 14, входящие в состав МРП 12. При этом передача энергии от первичного источника питания 8 в контур 15 МРП 12 прекращается, а накопленная на последнем полупериоде энергия в элементах контура быстро рассеивается на сопротивлении потерь контура.
Изменение выходного напряжения можно также осуществлять и непосредственно с помощью пульта управления и системы индикации, входящих в систему управления 3. Например, система управления может подавать на затворы транзисторов 14 импульсы с соответствующей частотой следования.
Далее напряжение подают на блок защитных ключей (БЗК) 2, предназначенный для защиты электронного прибора, являющегося нагрузкой системы электропитания от токов большой величины, вызванных коротким замыканием в нагрузке. Блок защитных ключей 2 выполнен в виде N электронных ключей (фиг.6) на базе полевых с изолированным затвором или биполярных транзисторов с изолированными затворами, соединенных последовательно друг с другом. Приблизительное число необходимых электронных ключей в зависимости от требуемого напряжения, получаемого на выходе системы, рассчитывается следующим образом: N=К·Uвых/Uпробив.сток-исток, где К – коэффициент запаса, равный 1…1,5. Блок защитных ключей 2 может содержать от одного до 100 штук ключей, соединенных последовательно друг с другом.
В нормальном состоянии во время работы ключи 1…N открыты и напряжение питания с входа блока защитных ключей подается на выход практически без потерь. При этом с системы управления 3 импульсы положительной полярности длительностью 100…200 нс поступают на первичную обмотку высокочастотного трансформатора Т2 через небольшие промежутки времени порядка 10 мкс. Со вторичной обмотки импульсы поступают через диод VD1 каждого ключа 1…N на транзистор VT6, заряжая емкость С1 и паразитную емкость транзистора, тем самым удерживая его в открытом состоянии. При наличии короткого замыкания система управления 3 подает на трансформатор Т2 импульс обратной полярности, который, открывая транзистор VT5, приводит к разряду емкости С1 и паразитной емкости транзистора VT6, тем самым приводя к запиранию транзисторов VT6 каждого ключа 1…N и размыканию входа и выхода в блоке защитных ключей 2, обесточивая выходную нагрузку и защищая ее от разрушения токами большой величины. Одновременно с этим система управления 3 (фиг.1, 2) останавливает работу мостового резонансного преобразователя 12 путем блокировки импульсов управления, что приводит к тому, что на первой шине 4 СИП 1 перестает вырабатываться высокое напряжение, что также защищает систему питания и нагрузку от воздействия токов большой мощности. Поскольку в качестве ключей в схеме МПР 12 и блока защитных ключей 2 были использованы транзисторы, имеющие высокую рабочую частоту, то время срабатывания устройства составляет доли микросекунды, что позволяет в большинстве случаев уберечь как схемы нагрузки, так и СИП 1 от разрушения.
Таким образом, выключение при авариях в нагрузке блока защитных ключей 2 защищает от разрушения нагрузку, а одновременное прекращение через цепь обратной связи и систему управления 3 импульсов запуска на транзисторы МРП 12 защищает всю систему питания 1 как от бросков тока через нагрузку, так и от перенапряжений на элементах датчика.
Подключение датчика тока 6 возможно в двух вариантах: либо в цепь, соединяющую вторую шину СИП 1 и “общую шину” 7 устройства (фиг.1), либо в цепь высокого напряжения 4 (фиг.2) на выходе СИП 1 перед блоком защитных ключей 2 или после блока защитных ключей перед нагрузкой. Сигнал с датчика тока 6 поступает в систему управления 3, в которой производится сравнение с пороговой величиной, при превышении которой подается сигнал на размыкание ключей блока защитных ключей 2 и прекращается подача управляющих импульсов на мостовые резонансные преобразователи 12 силового источника питания 1. Кроме того, датчик тока 6 позволяет осуществлять стабилизацию тока при работе системы в качестве источника постоянного тока при использовании резистивного датчика тока. Датчик тока 6 может быть выполнен в виде, например, высокочастотного трансформатора тока, вырабатывающего сигнал при резком изменении величины тока в общей цепи системы питания, первичная обмотка которого может быть выполнена в виде отрезка провода и предназначена для протекания по ней измеряемого тока. Датчик тока может быть также выполнен в виде резистора с малым сопротивлением, с которого снимается напряжение, пропорциональное току.
Датчик напряжения 5 позволяет отслеживать напряжение на первой шине 4 силового источника питания 1 и с помощью системы управления 3, управляющей работой МРП 12, эффективно и быстро управлять выходным напряжением, в частности стабилизировать его, при этом время стабилизации за счет применения высокоскоростных транзисторов составляет менее одной микросекунды.
Таким образом, за счет включения мостовых резонансных преобразователей 12 с частотным методом управления в обратную связь высоковольтного источника питания при использовании высокочастотных полевых транзисторов решается задача эффективного управления работой силового источника питания, а именно возможность стабилизировать уровень выходного напряжения и тока, а также производить защиту от токов большой величины за счет использования высокоскоростной схемы блока защитных ключей, что обеспечивает время срабатывания менее одной микросекунды. Использование в схеме полевых транзисторов или биполярных с изолированным затвором и высокочастотных трансформаторов позволяет улучшить массогабаритные параметры системы, снизить энергопотребление, увеличить срок службы, увеличить надежность схемы.
В схеме используются VD3 – симметричный стабилитрон, например, марки SA10CA, рассчитанный на мощность 500 Вт, VD4, VD5 – стабилитроны, например, марок 1,5КЕ350А или 1,5КЕ440А, рассчитанные на мощность 1,5 кВт. В качестве транзисторов используются мощные ключевые быстродействующие МДП-транзисторы, например, марок IRFP460LC, SPW47N60C3 и др., а также биполярные транзисторы с изолированным затвором, например IRGP50B60PD1. В схемах, подобных приведенной на фиг.5, в качестве транзистора VT6 могут быть использованы полевые МДП-транзисторы типа, например, SPP08N80C3, IRFPG50. А транзисторы VT5, например IRFU120N. Высокочастотный трансформатор Т1 имеет число витков в первичной обмотке 50…100, а во вторичной 10000…20000. При этом вторичная обмотка разбивается для уменьшения общей перезаряжаемой паразитной емкости на несколько секций, включаемых последовательно. Для снижения потерь за счет поверхностного эффекта на высоких частотах обмотки выполняются из провода типа «литцендрат». Трансформатор Т2 имеет в первичной обмотке 10…30 витков, а вторичные обмотки содержат один виток.
Питание устройства может быть осуществлено от трехфазной сети 380 В, 50 Гц или однофазной сети 220 В, 50 Гц. Возможно также использование сети с частотой 400 Гц.
Таким образом, создание предлагаемой высоковольтной системы электропитания позволяет повысить эффективность управления и защиты системы и подключаемой к ней нагрузки от токов большой величины, расширить функциональные возможности системы, т.е. возможность работы системы в качестве как источника стабилизированного напряжения, так и источника стабилизированного тока, а также улучшить массогабаритные показатели системы, снизить энергопотребление, увеличить срок службы, увеличить надежность.
Формула изобретения
1. Высоковольтная система электропитания, содержащая силовой источник питания, блок защитных ключей, систему управления, при этом один из входов блока защитных ключей соединен с первой шиной силового источника питания, а другой вход соединен с одним из выходов системы управления, отличающаяся тем, что в нее дополнительно введен датчик тока и датчик напряжения, причем первая шина силового источника питания через датчик напряжения соединена с общей шиной, а выход датчика напряжения соединен с одним из входов системы управления, при этом вторая шина силового источника питания через датчик тока соединена с общей шиной, а выход датчика тока соединен со вторым входом системы управления, причем второй выход системы управления соединен с управляющим входом силового источника питания, при этом блок защитных ключей выполнен в виде, по меньшей мере, одного электронного ключа на базе транзисторов, а выход блока защитных ключей является выходом системы.
2. Высоковольтная система электропитания по п.1, отличающаяся тем, что блок защитных ключей выполнен в виде, по меньшей мере, одного электронного ключа на базе полевых с изолированным затвором или биполярных транзисторов с изолированным затвором.
3. Высоковольтная система электропитания по п.1, отличающаяся тем, что блок защитных ключей выполнен в виде N электронных ключей на базе полевых с изолированным затвором или биполярных транзисторов с изолированным затвором, соединенных последовательно друг с другом.
4. Высоковольтная система электропитания по п.1, отличающаяся тем, что датчик тока выполнен в виде трансформатора тока.
5. Высоковольтная система электропитания по п.1, отличающаяся тем, что датчик тока выполнен в виде резистора.
6. Высоковольтная система электропитания по п.1, отличающаяся тем, что датчик напряжения выполнен в виде делителя напряжения.
7. Высоковольтная система электропитания по п.1, отличающаяся тем, что в силовой источник питания введен, по меньшей мере, один мостовой резонансный преобразователь, при этом вход каждого мостового резонансного преобразователя, являющийся управляющим входом силового источника питания, соединен с соответствующим выходом системы управления.
8. Высоковольтная система электропитания, содержащая силовой источник питания, блок защитных ключей, систему управления, при этом один из входов блока защитных ключей соединен с одним из выходов системы управления, отличающаяся тем, что в нее дополнительно введен датчик тока и датчик напряжения, причем первая шина силового источника питания соединена с одним из входов датчика тока и через датчик напряжения с общей шиной, при этом один из выходов датчика тока соединен с одним из входов блока защитных ключей, а выход датчика напряжения соединен с одним из входов системы управления, другой вход которой соединен с соответствующим выходом датчика тока, а выход соединен с соответствующим входом блока защитных ключей, а второй выход системы управления соединен с управляющим входом силового источника питания, при этом блок защитных ключей выполнен в виде, по меньшей мере, одного электронного ключа на базе транзисторов, а выход блока защитных ключей является выходом системы.
9. Высоковольтная система электропитания по п.8, отличающаяся тем, что блок защитных ключей выполнен в виде, по меньшей мере, одного электронного ключа на базе полевых с изолированным затвором или биполярных транзисторов с изолированным затвором.
10. Высоковольтная система электропитания по п.8, отличающаяся тем, что блок защитных ключей выполнен в виде N электронных ключей на базе полевых с изолированным затвором или биполярных транзисторов с изолированным затвором, соединенных последовательно друг с другом.
11. Высоковольтная система электропитания по п.8, отличающаяся тем, что датчик тока выполнен в виде трансформатора тока.
12. Высоковольтная система электропитания по п.8, отличающаяся тем, что датчик тока выполнен в виде резистора.
13. Высоковольтная система электропитания по п.8, отличающаяся тем, что датчик напряжения выполнен в виде делителя напряжения.
14. Высоковольтная система электропитания по п.8, отличающаяся тем, что в силовой источник питания введен, по меньшей мере, один мостовой резонансный преобразователь, при этом вход каждого мостового резонансного преобразователя, являющийся управляющим входом силового источника питания, соединен с соответствующим выходом системы управления.
15. Высоковольтная система электропитания, содержащая силовой источник питания, блок защитных ключей, систему управления, причем силовой источник питания включает первичный источник питания, высокочастотный трансформатор, выпрямитель, фильтр, при этом выход высокочастотного трансформатора соединен с входом выпрямителя, выход которого соединен со входом фильтра, выход которого соединен с первой шиной источника питания, при этом первая шина силового источника питания соединена с одним из входов блока защитных ключей, другой вход которого соединен с одним из выходов системы управления, отличающаяся тем, что в нее дополнительно введен датчик тока и датчик напряжения, а в силовой источник питания введены, по меньшей мере, один мостовой резонансный преобразователь, при этом один вход каждого мостового резонансного преобразователя соединен с выходом первичного источника питания, а другой вход каждого мостового резонансного преобразователя соединен с соответствующим выходом системы управления, при этом выход каждого мостового резонансного преобразователя соединен с входом высокочастотного трансформатора, причем первая шина силового источника питания через датчик напряжения соединена с общей шиной, а выход датчика напряжения соединен с одним из входов системы управления, при этом вторая шина силового источника питания через датчик тока соединена с общей шиной, а выход датчика тока соединен с другим входом системы управления, при этом блок защитных ключей выполнен в виде, по меньшей мере, одного электронного ключа на базе транзисторов, а выход блока защитных ключей является выходом системы.
16. Высоковольтная система электропитания по п.15, отличающаяся тем, что мостовые резонансные преобразователи соединены параллельно друг другу.
17. Высоковольтная система электропитания по п.15, отличающаяся тем, что выход каждого мостового резонансного преобразователя через резонансный контур, состоящий, по меньшей мере, из одной индуктивности и одной емкости, соединенных последовательно, соединен с входом высокочастотного трансформатора.
18. Высоковольтная система электропитания по п.15, отличающаяся тем, что блок защитных ключей выполнен в виде, по меньшей мере, одного электронного ключа на базе полевых с изолированным затвором или биполярных транзисторов с изолированным затвором.
19. Высоковольтная система электропитания по п.15, отличающаяся тем, что блок защитных ключей выполнен в виде N электронных ключей на базе полевых с изолированным затвором или биполярных транзисторов с изолированным затвором, соединенных последовательно друг с другом.
20. Высоковольтная система электропитания по п.15, отличающаяся тем, что датчик тока выполнен в виде трансформатора тока.
21. Высоковольтная система электропитания по п.15, отличающаяся тем, что датчик тока выполнен в виде резистора.
22. Высоковольтная система электропитания по п.15, отличающаяся тем, что датчик напряжения выполнен в виде делителя напряжения.
23. Высоковольтная система электропитания, содержащая силовой источник питания, блок защитных ключей, систему управления, причем силовой источник питания включает первичный источник питания, высокочастотный трансформатор, выпрямитель, фильтр, при этом выход высокочастотного трансформатора соединен со входом выпрямителя, выход которого соединен с входом фильтра, выход которого соединен с первой шиной источника питания, отличающаяся тем, что в нее дополнительно введен датчик тока и датчик напряжения, а в силовой источник питания введены, по меньшей мере, один мостовой резонансный преобразователь, при этом один из входов каждого мостового резонансного преобразователя соединен с выходом первичного источника питания, а другой вход каждого мостового резонансного преобразователя соединен с соответствующим выходом системы управления, при этом выход каждого мостового резонансного преобразователя соединен с входом высокочастотного трансформатора, причем первая шина силового источника питания соединена с одним из входов датчика тока и через датчик напряжения с общей шиной, при этом один из выходов датчика тока соединен с одним из входов блока защитных ключей, а выход датчика напряжения соединен с одним из входов системы управления, другой вход которой соединен с соответствующим выходом датчика тока, а один из выходов системы управления соединен с соответствующим входом блока защитных ключей, при этом блок защитных ключей выполнен в виде, по меньшей мере, одного электронного ключа на базе транзисторов, а выход блока защитных ключей является выходом системы.
24. Высоковольтная система электропитания по п.23, отличающаяся тем, что мостовые резонансные преобразователи соединены параллельно друг другу.
25. Высоковольтная система электропитания по п.23, отличающаяся тем, что выход каждого мостового резонансного преобразователя через резонансный контур, состоящий по меньшей мере из одной индуктивности и одной емкости, соединенных последовательно, соединен с входом высокочастотного трансформатора.
26. Высоковольтная система электропитания по п.23, отличающаяся тем, что блок защитных ключей выполнен в виде, по меньшей мере, одного электронного ключа на базе полевых с изолированным затвором или биполярных транзисторов с изолированным затвором.
27. Высоковольтная система электропитания по п.23, отличающаяся тем, что блок защитных ключей выполнен в виде N электронных ключей на базе полевых с изолированным затвором или биполярных транзисторов с изолированным затвором, соединенных последовательно друг с другом.
28. Высоковольтная система электропитания по п.23, отличающаяся тем, что датчик тока выполнен в виде трансформатора тока.
29. Высоковольтная система электропитания по п.23, отличающаяся тем, что датчик тока выполнен в виде резистора.
30. Высоковольтная система электропитания по п.23, отличающаяся тем, что датчик напряжения выполнен в виде делителя напряжения.
31. Высоковольтная система электропитания, содержащая силовой источник питания, блок защитных ключей, систему управления, причем силовой источник питания включает первичный источник питания, высокочастотный трансформатор, выпрямитель, фильтр, при этом выход высокочастотного трансформатора соединен с входом выпрямителя, выход которого соединен со входом фильтра, при этом первая шина силового источника питания соединена с одним из входов блока защитных ключей, другой вход которого соединен с соответствующим выходом системы управления, отличающаяся тем, что в нее дополнительно введены датчик тока, датчик напряжения и схема сложения, а в силовой источник питания введены, по меньшей мере, два мостовых резонансных преобразователя, один высокочастотный трансформатор, один выпрямитель, один фильтр, при этом один из входов каждого мостового резонансного преобразователя соединен с выходом первичного источника питания, а другой с соответствующим выходом системы управления, при этом выход каждого мостового резонансного преобразователя соединен с входом соответствующего высокочастотного трансформатора, причем выход каждого фильтра соединен с соответствующим входом схемы сложения, выход которой соединен с первой шиной силового источника питания, соединенной через датчик напряжения с общей шиной, при этом выход датчика напряжения соединен с одним из входов системы управления, а вторая шина силового источника питания через датчик тока соединена с общей шиной, при этом выход датчика тока соединен с соответствующим входом системы управления, при этом блок защитных ключей выполнен в виде, по меньшей мере, одного электронного ключа на базе транзисторов, а выход блока защитных ключей является выходом системы.
32. Высоковольтная система электропитания по п.31, отличающаяся тем, что выход каждого мостового резонансного преобразователя через резонансный контур, состоящий, по меньшей мере, из одной индуктивности и одной емкости, соединенных последовательно, соединен с входом высокочастотного трансформатора.
33. Высоковольтная система электропитания по п.31, отличающаяся тем, что блок защитных ключей выполнен в виде, по меньшей мере, одного электронного ключа на базе полевых с изолированным затвором или биполярных транзисторов с изолированным затвором.
34. Высоковольтная система электропитания по п.31, отличающаяся тем, что блок защитных ключей выполнен в виде N электронных ключей на базе полевых с изолированным затвором или биполярных транзисторов с изолированным затвором, соединенных последовательно друг с другом.
35. Высоковольтная система электропитания по п.31, отличающаяся тем, что датчик тока выполнен в виде трансформатора тока.
36. Высоковольтная система электропитания по п.31, отличающаяся тем, что датчик тока выполнен в виде резистора.
37. Высоковольтная система электропитания по п.31, отличающаяся тем, что датчик напряжения выполнен в виде делителя напряжения.
38. Высоковольтная система электропитания по п.31, отличающаяся тем, что схема сложения выполнена в виде параллельного соединения фильтров.
39. Высоковольтная система электропитания по п.31, отличающаяся тем, что схема сложения выполнена в виде последовательного соединения фильтров.
40. Высоковольтная система электропитания, содержащая силовой сточник питания, блок защитных ключей, систему управления, причем силовой источник питания включает первичный источник питания, высокочастотный трансформатор, выпрямитель, фильтр, при этом выход высокочастотного трансформатора соединен с входом выпрямителя, выход которого соединен со входом фильтра, отличающаяся тем, что в нее дополнительно введены датчик тока, датчик напряжения и схема сложения, а в силовой источник питания введены, по меньшей мере, два мостовых резонансных преобразователя, один высокочастотный трансформатор, один выпрямитель, один фильтр, при этом одним из входов каждого мостового резонансного преобразователя соединен с выходом первичного источника питания, а другой с соответствующим выходом системы управления, при этом выход каждого мостового резонансного преобразователя соединен с входом соответствующего высокочастотного трансформатора, причем выход каждого фильтра соединен с соответствующим входом схемы сложения, выход которой соединен с первой шиной силового источника питания, соединенной с одним из входов датчика тока и через датчик напряжения с общей шиной, при этом один из выходов датчика тока соединен с одним из входов блока защитных ключей, а выход датчика напряжения соединен с одним из входов системы управления, другой вход которой соединен с соответствующим выходом датчика тока, а один из выходов соединен с соответствующим входом блока защитных ключей, при этом блок защитных ключей выполнен в виде, по меньшей мере, одного электронного ключа на базе транзисторов, а выход блока защитных ключей является выходом системы.
41. Высоковольтная система электропитания по п.40, отличающаяся тем, что выход каждого мостового резонансного преобразователя через резонансный контур, состоящий, по меньшей мере, из одной индуктивности и одной емкости, соединенных последовательно, соединен с входом высокочастотного трансформатора.
42. Высоковольтная система электропитания по п.40, отличающаяся тем, что блок защитных ключей выполнен в виде, по меньшей мере, одного электронного ключа на базе полевых с изолированным затвором или биполярных транзисторов с изолированным затвором.
43. Высоковольтная система электропитания по п.40, отличающаяся тем, что блок защитных ключей выполнен в виде N электронных ключей на базе полевых с изолированным затвором или биполярных транзисторов с изолированным затвором, соединенных последовательно друг с другом.
44. Высоковольтная система электропитания по п.40, отличающаяся тем, что датчик тока выполнен в виде трансформатора тока.
45. Высоковольтная система электропитания по п.40, отличающаяся тем, что датчик тока выполнен в виде резистора.
46. Высоковольтная система электропитания по п.40, отличающаяся тем, что датчик напряжения выполнен в виде делителя напряжения.
47. Высоковольтная система электропитания по п.40, отличающаяся тем, что схема сложения выполнена в виде параллельного соединения фильтров.
48. Высоковольтная система электропитания по п.40, отличающаяся тем, что схема сложения выполнена в виде последовательного соединения фильтров.
49. Электронный ключ, содержащий высокочастотный трансформатор, первый и второй транзисторы, первый диод, причем одним из выводов вторичной обмотки трансформатора подключен к истоку первого транзистора, а другой вывод к истоку второго транзистора, при этом анод первого диода соединен с истоком первого транзистора, а исток второго транзистора является входом электронного ключа, а сток второго транзистора является выходом электронного ключа, отличающийся тем, что в него дополнительно введены второй диод, третий диод, стабилитрон, первый и второй резисторы и конденсатор, при этом катод второго диода соединен со стоком первого транзистора, а анод второго диода соединен с катодом первого диода и с одним из выводов первого резистора, второй вывод которого соединен с затвором второго транзистора, с одним из выводов конденсатора и третьего диода, вторые выводы которых соединены с истоком второго транзистора, при этом второй резистор подключен между истоком второго транзистора и затвором первого транзистора, анод стабилитрона соединен с входом ключа, а катод с выходом ключа.
РИСУНКИ
|
|