|
(21), (22) Заявка: 2006124000/09, 05.07.2006
(24) Дата начала отсчета срока действия патента:
05.07.2006
(46) Опубликовано: 20.01.2008
(56) Список документов, цитированных в отчете о поиске:
«Выключатели вакуумные типа БВЭТ». Руководство по эксплуатации КУЮЖ.674153.001 РЭ, 2005, рис.Г.1. RU 2153204 С1, 20.12.2005. RU 21694 U1, 27.01.2002. US 4449110 A, 15.05.1984. US 3175174 A, 23.05.1965. FR 2513004, 18.03.1983.
Адрес для переписки:
119454, Москва, пр-кт Вернадского, 24, кв.12, С.Н. Белоусько
|
(72) Автор(ы):
Артеменко Вячеслав Александрович (RU), Захаров Александр Геннадьевич (RU), Молодецкий Владимир Израилович (RU)
(73) Патентообладатель(и):
Артеменко Вячеслав Александрович (RU), Захаров Александр Геннадьевич (RU), Молодецкий Владимир Израилович (RU)
|
(54) ИЗМЕРИТЕЛЬНЫЙ ТРАНСФОРМАТОР ТОКА ДЛЯ МАСЛЯНОГО ВЫКЛЮЧАТЕЛЯ
(57) Реферат:
Изобретение относится к электротехнике. Измерительный трансформатор тока масляного выключателя содержит по крайней мере один тороидальной формы магнитопровод, прикрепленный к корпусу масляного выключателя. При этом тороидальной формы сухой трансформатор размещен на высоковольтном вводе масляного выключателя снаружи и крепится к основанию высоковольтного ввода масляного выключателя. Техническим результатом является упрощение обслуживания измерительного средства и повышение его класса точности для получения достоверной измерительной иеформации в установках переменнрого тока промышленной частоты. 4 ил.
Изобретение относится к электротехнике и касается установки высоковольтных измерительных трансформаторов тока, монтируемых на вводах масляных выключателей, и прокладки вторичных цепей измерительного трансформатора тока. Трансформатор тока предназначен для передачи сигнала измерительной информации измерительным приборам в установках переменного тока промышленной частоты.
Известно размещение высоковольтных измерительных трансформаторов тока внутри корпуса масляного выключателя в масляной среде, фиг.1 («Выключатели вакуумные типа БВЭТ», Руководство по эксплуатации КУЮЖ.674153.001 РЭ, 2005, приложение Г (справочное), «Разрез полюса выключателя», рис.Г.1, копия прилагается).
Измерительные трансформаторы тока, встроенные в масляные выключатели, на присоединениях 110 кВ не удовлетворяют требованиям оптового рынка, поскольку их класс точности составляет 1,0; 3,0 или 10,0. Ко всему прочему, затруднено обслуживание таких трансформаторов тока, которые конструктивно расположены внутри масляного выключателя, доступ к которым сопряжен с разборкой и разгерметизацией самого выключателя.
Настоящее изобретение направлено на решение технической задачи по размещению сухого высоковольтного измерительного трансформатора тока тороидальной формы на высоковольтном вводе масляного выключателя снаружи, и прикреплению его с помощью металлических кронштейнов у основания высоковольтного ввода к заземленному корпусу масляного выключателя.
Достигаемый при этом технический результат заключается в упрощении обслуживания измерительного средства и повышении его класса точности для получения достоверной измерительной информации в установках переменного тока промышленной частоты.
Указанный технический результат достигается тем, что сухой измерительный трансформатор тока масляного выключателя, магнитопровод которого имеет тороидальную форму, прикрепляется к корпусу масляного выключателя на равноудаленном расстоянии от высоковольтного ввода масляного выключателя снаружи его. Устойчивое удерживание трансформатора тока в указанном положении достигается с помощью трех одинаковых кронштейнов, на верхней части которых расположен измерительный трансформатор, а нижние части с помощью лап крепятся к основанию высоковольтного ввода заземленного корпуса масляного выключателя.
Указанные признаки являются существенными и взаимосвязаны с образованием устойчивой совокупности существенных признаков, достаточной для получения требуемого технического результата.
Настоящее изобретение поясняется конкретным примером исполнения, который, однако, не является единственно возможным, но наглядно демонстрирует возможность достижения требуемого технического результата.
На фиг.1 представлен общий вид системы масляных выключателей для силового трансформатора;
фиг.2 – конструкция измерительного трансформатора тока;
фиг.3 – размещение измерительных трансформаторов тока в системе масляных выключателей с разводкой кабелей, вид сбоку;
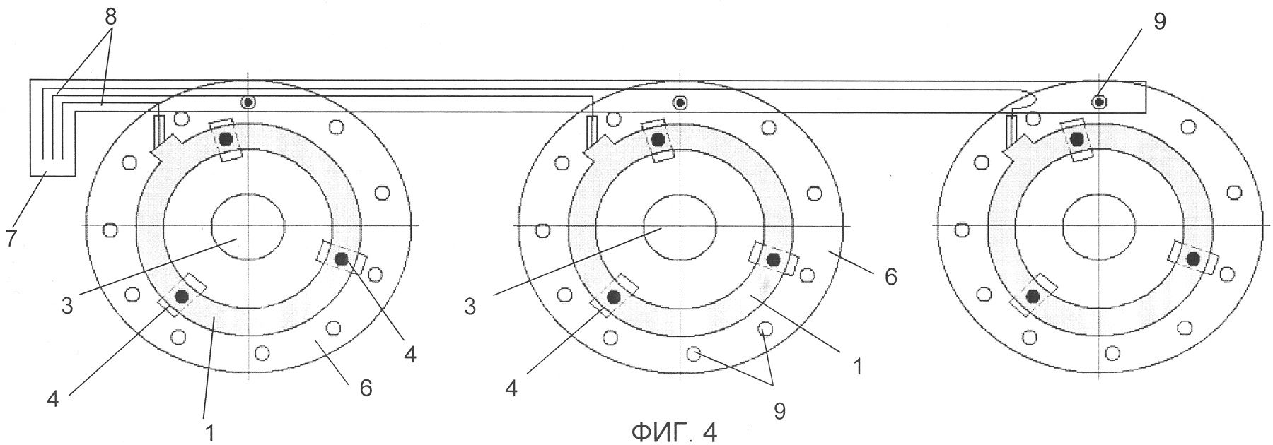
фиг.4 – то же, что на фиг.3, вид сверху.
Согласно настоящему изобретению рассматривается новое размещение измерительного трансформатора тока на высоковольтном вводе масляного выключателя снаружи с одинаковым зазором к последнему и новое прикрепление его с помощью металлических кронштейнов у основания высоковольтного ввода к заземленному корпусу масляного выключателя.
Согласно изобретению предполагается крепить торообразный сухой трансформатор 1 с сердечником 2 (фиг.2) снаружи высоковольтного ввода 3 (фиг.1) с расположением его на равноудаленном расстоянии от оси ввода с помощью кронштейнов 4. Как вариант число кронштейнов 4 может быть два, которые в верхней своей части удерживают измерительный трансформатор 1 в указанном пространственном положении, а нижней частью крепятся к заземленному корпусу масляного выключателя с помощью болтового соединения 5.
Монтируется измерительный трансформатор тока следующим образом. На высоковольтный ввод масляного выключателя 3 после его отключения и расшиновки для установки измерительного трансформатора тока устанавливается крепление специальной конструкции в виде кронштейна 4, которое крепится к фланцу 6 высоковольтного ввода масляного выключателя 2 гайкой 5. Конструкция крепежа предназначенного для крепления трансформатора 1 выполнена таким образом, что исключает возможность попадания и скапливания влаги между высоковольтным вводом масляного выключателя и измерительным трансформатором тока ввиду наличия достаточных зазоров, обеспечивающих стекание влаги и ее не скапливание и хорошее обдувание ветром. Наружный способ установки позволяет установить измерительный трансформатор тока на высоковольтный ввод масляного выключателя в короткий срок без выемки высоковольтного ввода и слива масла. Это позволяет экономить значительные трудовые и материальные ресурсы.
Место установки измерительного трансформатора тока на высоковольтном вводе масляного выключателя и монтаж коробов (лотков) с разводкой кабеля показано на фиг.3, 4.
Короба 7 для укладки кабеля 8 монтируются от измерительного трансформатора тока до релейного шкафа (не показан). Короб 7 представляет собой лоток, который крепится при помощи кронштейна гайкой 9, предназначенной для крепления фланца масляного выключателя.
Наличие кабельных коробов, в которые укладываются вторичные цепи, подключенные к устанавливаемым измерительным трансформаторам тока с использованием металлоруковов, обеспечивают защиту от механических повреждений изоляции кабелей в течение всего периода эксплуатации измерительных трансформаторов тока.
Способ крепления кабельных коробов масляного выключателя с помощью специальных скоб и болтовых соединений обеспечивает их надежное размещение, не препятствующее периодическому обследованию и обслуживанию персоналом подстанций масляного выключателя при наружном осмотре и доливке масла в масляный выключатель. До настоящего времени такие способы наружной установки измерительных трансформаторов тока и монтаж короба (лотка) на масляном выключателе не практиковались и стали возможными благодаря описанному выше способу.
В качестве примера можно привести выпускаемый заявителем измерительный трансформатор тока типа ТВИ-110, предназначенный для передачи сигнала измерительной информации измерительным приборам в установках переменного тока промышленной частоты. Данный трансформатор тока имеет следующие эксплуатационные показатели: класс точности – 0,2S; 0,5S, номинальный вторичный ток – 1 А; 5 А, габаритные размеры – 550×420×90 мм, масса, кг – не более 16. Трансформатор внесен в государственный реестр средств измерений под №30559-05.
Преимущества этого технического решения заключаются прежде всего в простоте монтажа и сроке его реализации. Для установки одного комплекта достаточно двух часов. Кроме этого, в отличие от типового решения нет необходимости в проектировании и монтаже дополнительной коммутационной аппаратуры, изыскания места для установки маслонаполненного измерительного трансформатора, применения спецтехники на действующей подстанции (ОРУ) и других факторов, влекущих за собой увеличение сроков и стоимости организации коммерческого учета.
Компания «МегаСтрой» уже установила в 2005 году в магистральных электросетях ОАО “Томскэнерго” 51, и в 2006 году 33 трансформатора в ОАО “Тверьэнерго”.
Формула изобретения
Измерительный трансформатор тока для масляного выключателя, состоящий по крайней мере из одного тороидальной формы магнитопровода, прикрепляемого к корпусу масляного выключателя, отличающийся тем, что этот магнитопровод размещен на высоковольтном вводе масляного выключателя снаружи на равноудаленном расстоянии от оси ввода и крепится кронштейнами, которые в нижней части имеют опорные лапы для прикрепления к основанию высоковольтного ввода, а их верхняя часть удерживает измерительный трансформатор в указанном пространственном положении.
РИСУНКИ
MM4A – Досрочное прекращение действия патента СССР или патента Российской Федерации на изобретение из-за неуплаты в установленный срок пошлины за поддержание патента в силе
Дата прекращения действия патента: 06.07.2008
Извещение опубликовано: 20.06.2010 БИ: 17/2010
|