|
(21), (22) Заявка: 2006124615/06, 10.07.2006
(24) Дата начала отсчета срока действия патента:
10.07.2006
(46) Опубликовано: 20.01.2008
(56) Список документов, цитированных в отчете о поиске:
GB 1309883 A, 14.03.1973. RU 2166806 C1, 10.05.2001. RU 2241263 C1, 27.11.1004. RU 2250519 C2, 20.04.2005. GB 915338 A, 09.01.09.
Адрес для переписки:
142100, Московская обл., г. Подольск, ул. Железнодорожная, 24, ФГУП “НИИНПО “Луч”
|
(72) Автор(ы):
Гаврилов Петр Михайлович (RU), Денискин Валентин Петрович (RU), Дмитриев Александр Мефодьевич (RU), Наливаев Владимир Иванович (RU), Федик Иван Иванович (RU)
(73) Патентообладатель(и):
Федеральное государственное унитарное предприятие Научно-исследовательский Институт Научно производственное объединение “Луч” (RU)
|
(54) АКТИВНАЯ ЗОНА ВЫСОКОТЕМПЕРАТУРНОГО ЯДЕРНОГО РЕАКТОРА НА ТЕПЛОВЫХ НЕЙТРОНАХ С ТВЕРДЫМ МЕЛКОДИСПЕРСНЫМ ТЕПЛОНОСИТЕЛЕМ
(57) Реферат:
Изобретение относится к области ядерной энергетики, в частности к активным зонам высокотемпературных ядерных реакторов на тепловых нейтронах с твердым мелкодисперсным теплоносителем. Активная зона состоит из нижней опорной платформы с боковым отражателем нейтронов, жестко соединенных с платформой труб стержней системы управления и защиты реактора. Тепловыделяющиеся сборки размещены между трубами и собраны из вертикально расположенных твэлов с графитовой оболочкой с помощью дистанционирующих деталей, формирующих зазоры для прохода графитосодержащего теплоносителя, в которых установлены турбулизирующие элементы. Твэлы выполнены в виде цилиндров с длиной (5÷30)D, где D – диаметр твэла. Толщина стенки оболочек выбрана в диапазоне (3-10) мм. Каждый твэл снабжен двумя турбулизаторами в виде обтекателей, например, конической формы, установленных на его торцах. Твэлы собраны в сборки слоями так, что верхние обтекатели нижнего слоя твэлов располагаются между нижними обтекателями верхнего слоя. Дистанционирующие детали установлены между слоями в области обтекателей, а сборки размещены свободно друг на друге между трубами как направляющими и с упором внизу. Обеспечивается повышение равномерности и эффективности теплосъема и удельной мощности активной зоны ядерного реактора без увеличения скорости теплоносителя. 2 ил.
1. Область техники, к которой относится изобретение.
Изобретение относится к области ядерной энергетики, в частности к активным зонам высокотемпературных ядерных реакторов на тепловых нейтронах с твердым мелкодисперсным теплоносителем.
2. Уровень техники
Известна активная зона высокотемпературного ядерного реактора на тепловых нейтронах с твердым мелкодисперсным теплоносителем, состоящая из тепловыделяющих сборок, собранных из вертикально расположенных твэлов с помощью дистанционирующих деталей, формирующих зазоры для прохода графитосодержащего теплоносителя и опирающихся на корпус реактора через переходные детали с возможностью частичного подъема и опускания тепловыделяющих сборок из теплоносителя для регулирования реактивности (см., Rigg S., Greenlees F.M. Nuclear reactor. Патент Великобритании №1309883, МКИ G21D 5/00, НКИ G6С30Х363. Заявл. 18.02.1971, опубл. 14.03.1973]. В такой конструкции твэлы по высоте занимают практически всю активную зону, теплоноситель склонен к слипанию, что имеет следствием неравномерность теплосъема по высоте твэлов и увеличивает вероятность их термического разрушения, особенно при извлечении твэлов выше уровня теплоносителя для регулирования реактивности.
Эта конструкция совпадает с заявляемой активной зоной по следующим существенным признакам:
– имеется система управления реактивностью (путем частичного извлечения твэл из теплоносителя);
– тепловыделяющие сборки собраны из вертикально расположенных твэлов с помощью дистанционирующих деталей, формирующих зазоры для прохода графитосодержащего теплоносителя.
Известна также конструкция активной зоны высокотемпературного ядерного реактора на тепловых нейтронах с мелкодисперсным твердым теплоносителем, состоящая из нижней опорной платформы с боковым отражателем нейтронов, тепловыделяющих сборок, размещенных между трубами системы управления и защиты реактора и собранных из вертикально расположенных пластинчатых твэлов с графитовой оболочкой с помощью дистанционирующих деталей, формирующих зазоры для прохода графитосодержащего теплоносителя, в которых установлены турбулизирующие элементы, выполненные в виде одностороннего оребрения, спирального оребрения или шнеков. Теплонесущие элементы выполнены из графитовой массы с покрытием из пиролитического углерода с ограничением по диаметру и несферичности, что исключает слипание (см., например, Ядерный энергетический реактор. Патент РФ №2166806, МПК G21C 15/24, от 09.02.2000 г.). Такая конструкция активной зоны также связана с существенными локальными неоднородностями теплосъема по длине твэла вследствие образования в гравитационно движущемся слое теплоносителя пустот под турбулизаторами и зон неподвижных частиц над ними.
Эта конструкция совпадает с заявляемой активной зоной по следующим существенным признакам:
– нижняя опорная платформа
– боковой отражатель нейтронов;
– трубы стержней системы управления и защиты реактора;
– тепловыделяющие сборки, размещенные между трубами;
– тепловыделяющие сборки собраны из вертикально расположенных твэлов с графитовой оболочкой с помощью дистанционирующих деталей, формирующих зазоры для прохода графитосодержащего теплоносителя;
– турбулизирующие элементы, установленные в зазорах.
Последняя конструкция наиболее близка к заявляемой активной зоне по совокупности существенных признаков и выбрана в качестве прототипа.
3. Сущность изобретения
Предлагаемая активная зона состоит из нижней опорной платформы с боковым отражателем нейтронов, жестко соединенных с платформой труб стержней системы управления и защиты реактора, тепловыделяющих сборок, размещенных между трубами и собранных из вертикально расположенных твэлов с графитовой оболочкой с помощью дистанционирующих деталей, формирующих зазоры для прохода графитосодержащего теплоносителя, в которых установлены турбулизирующие элементы. Твэлы выполнены в виде цилиндров с длиной (5÷30)D, где D – диаметр твэла, толщина стенки оболочек выбрана в диапазоне (3-10) мм, каждый твэл снабжен двумя турбулизаторами в виде обтекателей, например, конической формы, установленных на его торцах, твэлы собраны в сборки слоями так, что верхние обтекатели нижнего слоя твэлов располагаются между нижними обтекателями верхнего слоя, дистанционирующие детали установлены между слоями в области обтекателей, а сборки размещены свободно друг на друге между трубами как направляющими и с упором внизу.
От прототипа это устройство отличается тем, что твэлы выполнены в виде цилиндров с длиной (5÷30)D, где D – диаметр твэла, толщина стенки оболочек выбрана в диапазоне (3-10) мм, каждый твэл снабжен двумя турбулизаторами в виде обтекателей, например, конической формы, установленных на его торцах, твэлы собраны в сборки слоями так, что верхние обтекатели нижнего слоя твэлов располагаются между нижними обтекателями верхнего слоя, дистанционирующие детали установлены между слоями в области обтекателей, а сборки размещены свободно друг на друге между трубами как направляющими и с упором внизу.
Выполнение тепловыделяющих элементов в предлагаемой активной зоне реактора с соотношением наружного диаметра к длине, определяемым соотношением L=(5÷30)D, обеспечивает эффективный теплоотвод твердым теплоносителем. При укорочении длины ниже 5D конструкция активной зоны перенасыщена дистанционаторами коротких твэлов; при длине более 30D эффективность теплоотвода твердым теплоносителем начинает реально снижаться.
Выбор толщины стенок графитовых оболочек в диапазоне 3÷10 мм позволяет обеспечить надежную жесткость коротких твэлов без потери скорости теплоносителя.
Наличие турбулизаторов в виде конических обтекателей, установленных на торцах твэлов, и расположение твэлов в сборках со смещением слоев обеспечивает перемешивание теплоносителя в промежутках между слоями, выравнивая температуру теплоносителя в горизонтальной плоскости на входе в область смывания цилиндрической поверхности твэлов.
Такая конструкция активной зоны обеспечивает повышение равномерности и эффективности теплосъема и удельной мощности активной зоны ядерного реактора без увеличения скорости теплоносителя.
4. Перечень фигур чертежей.
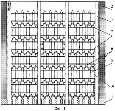
Фиг.1. Схема активной зоны. На схеме:
1 – нижняя опорная платформа;
2 – боковой отражатель нейтронов;
3 – трубы стержней системы управления и защиты реактора;
4 – тепловыделяющая сборка;
5 – твэл;
6 – турбулизаторы в виде обтекателей;
7 – дистанционирующие детали.
Фиг.2. Поперечный разрез участка активной зоны.
5. Сведения, подтверждающие возможность осуществления изобретения
Возможность осуществления изобретения проиллюстрируем конкретным примером.
На фиг.1 изображена схема активной зоны заявляемого реактора. Она содержит нижнюю опорную платформу 1, на которой установлен боковой отражатель нейтронов 2 и укреплены графитовые трубы 3 для размещения стержней системы управления и аварийной защиты. Тепловыделяющая сборка 4 состоит из двух слоев вертикально расположенных твэлов 5. Каждый твэл имеет трубчатую оболочку внешним диаметром 20 мм и внутренним 12,7 мм, длиной 33 см, в которой установлено 6 топливных компактов диаметром 12,5 мм и высотой 50 мм, выполненных из микротвэлов и графитового связующего. Торцы оболочек заглушены турбулизаторами 6 в виде конических обтекателей с высотой конической части 25 мм.
Твэлы собираются в тепловыделяющую сборку по 15 штук в ряд в квадратную решетку с шагом 30 мм в два слоя по высоте по 225 твэл в каждом слое. Из полного числа твэлов в сборке (450 шт.) часть (8 штук) убраны из углов. Шаг решетки при указанных размерах твэлов определен на основе расчетных исследований нейтронно-физических характеристик реактора с твердым теплоносителем и топливным циклом на основе обогащенного урана. Слои твэлов в сборке смещены относительно друг друга, например, как показано на фиг.2.
Дистанционирующие детали 7 из графитовых материалов (или тугоплавких металлов, или оксидов) связывают твэлы в сборках, расположены в области обтекателей и формируют зазоры между твэлами для прохода теплоносителя, выполняя роль дополнительных турбулизаторов, а также роль дистанционирующих и опорных элементов между ТВС.
Каждый нижний слой твэлов расположен по отношение к верхнему слою со сдвигом таким образом, что нижний слой твэлов располагается в середине пространства по теплоноситель верхнего слоя. Верхние обтекатели твэлов нижнего слоя находятся на уровне или выше конца нижнего обтекателя верхнего слоя твэлов.
Тепловыделяющая сборка с внешним размером сторон усеченного по углам квадрата 460 мм устанавливается между графитовых труб 2 с внешним диаметром 55 мм и внутренним диаметром 25 мм. Трубы имеют высоту около 6 метров и образуют несущий каркас активной зоны. Внутри труб располагаются стрежни системы управления и защиты. Каждая тепловыделяющая сборка имеет монтажную высоту 67 см и 8 тепловыделяющих сборок, поставленных вертикально, образуют активную зону высотой 5,36 метра, при этом высота по топливным компактам составляет 4,8 метра. 16 слоев твэлов благодаря послойному сдвигу и расположению дистанционирующих деталей в области обтекателей хорошо размешивают теплоноситель и специальных турбулизаторов в области цилиндрических поверхностей твэлов не требуется. Монтажные зазоры между тепловыделяющими сборками и трубами системы управления и защиты реактора составляют около 1 мм, что позволяет производить свободную постановку сборок в активную зону и компенсирует температурные и радиационные эффекты формоизменения.
В поперечном сечении площадь твэлов составляет 32% от площади ячейки сборки, а площадь труб под каналы стержней защиты и управления 1%. Таким образом, по сравнению с прототипом площадь зазоров под теплоноситель увеличена в предлагаемой конструкции с 40 до 67%, что при фиксированной скорости позволяет увеличить теплосъем с активной зоны на 65%.
Наружный диаметр активной зоны составляет 9 метров, и вся активная зона состоит из тепловыделяющих сборок, поставленных свободно между трубами с упором внизу на дистанционирующие элементы нижних ТВС. Всего активная зона содержит 2388 ТВС, расположенных вертикально по 8 штук в 299 столбах ТВС.
Активная зона предложенной и описанной в данном примере конструкции обеспечивает тепловую мощность реактора 3750 МВТ при скорости теплоносителя 17 см/сек. При температурах теплоносителя на входе и выходе 500 и 900°С, расход теплоносителя составит 5,2 т/сек. Теплоноситель проходит активную зону за 33 сек, скорость нагрева в среднем по активной зоне составляет 12,5°С/с.
Легко показать, что время тепловой релаксации теплонесущих частиц при снижении теплопроводности пирографита до 8 Вт/м·град за счет влияния нейтронного облучения составляет около 0,3 с.
Таким образом, тепловая инерция теплонесущих частиц не играет существенную роль в предложенной конструкции и параметрах активной зоны.
Выполнены эксперименты, которые показали, что в предлагаемой конструкции активной зоны достигается эффективное перемешивание теплоносителя и обмен тепла между теплонесущими частицами (выравнивание температуры на выходе из реактора) практически без использования специальных турбулизаторов в областях боковых поверхностей твэлов и без образования застойных зон теплоносителя над твэлами и пустот ниже твэлов, т.е. обеспечена равномерность уран-графитового соотношения в активной зоне предложенного типа.
Формула изобретения
Активная зона высокотемпературного ядерного реактора на тепловых нейтронах с твердым теплоносителем, состоящая из нижней опорной платформы с боковым отражателем нейтронов, жестко соединенных с платформой труб стержней системы управления и защиты реактора, тепловыделяющих сборок, размещенных между трубами и собранных из вертикально расположенных твэлов с графитовой оболочкой с помощью дистанционирующих деталей, формирующих зазоры для прохода графитосодержащего теплоносителя, в которых установлены турбулизирующие элементы, отличающаяся тем, что твэлы выполнены в виде цилиндров с длиной (5÷30)D, где D – диаметр твэла, толщина стенки оболочек выбрана в диапазоне (3-10) мм, каждый твэл снабжен двумя турбулизаторами в виде обтекателей, например, конической формы, установленных на его торцах, твэлы собраны в сборки слоями так, что верхние обтекатели нижнего слоя твэлов располагаются между нижними обтекателями верхнего слоя, дистанционирующие детали установлены между слоями в области обтекателей, а сборки размещены свободно друг на друге между трубами как направляющими и с упором внизу.
РИСУНКИ
|