|
|
(21), (22) Заявка: 2005137178/28, 31.01.2005
(24) Дата начала отсчета срока действия патента:
31.01.2005
(30) Конвенционный приоритет:
02.02.2004 KR 10-2004-0006652
(43) Дата публикации заявки: 10.07.2006
(46) Опубликовано: 20.01.2008
(56) Список документов, цитированных в отчете о поиске:
WO 03/094167 A2, 13.11.2003. JP 2004-13965 A, 15.01.2004. EP 0465246 A2, 08.01.1992. US 2004/0078496 A1, 22.04.2004. RU 2189119 C2, 10.09.2002. RU 2000111501 A, 10.02.2003.
(85) Дата перевода заявки PCT на национальную фазу:
29.11.2005
(86) Заявка PCT:
KR 2005/000280 (31.01.2005)
(87) Публикация PCT:
WO 2005/073968 (11.08.2005)
Адрес для переписки:
129010, Москва, ул. Б.Спасская, 25, стр.3, ООО “Юридическая фирма Городисский и Партнеры”, пат.пов. Г.Б. Егоровой, рег.№ 513
|
(72) Автор(ы):
КИМ Кванг-Мин (KR), ЛИ Дзунг-Хо (KR), ЧУНГ Хиун-Квон (KR), ДЗУНГ Кил-Соо (KR), КАНГ Ман-Сеок (KR)
(73) Патентообладатель(и):
САМСУНГ ЭЛЕКТРОНИКС КО., ЛТД. (KR)
|
(54) НОСИТЕЛЬ ДАННЫХ, НА КОТОРОМ ЗАПИСАНЫ АУДИОВИЗУАЛЬНЫЕ ДАННЫЕ С ИНФОРМАЦИЕЙ О СОБЫТИИ, УСТРОЙСТВО ВОСПРОИЗВЕДЕНИЯ И СПОСОБ ИХ ВОСПРОИЗВЕДЕНИЯ
(57) Реферат:
Изобретение относится к носителю данных, в котором записаны аудиовизуальные данные с информацией о событии, а также к устройству записи и способу их воспроизведения. Носитель данных содержит аудиовизуальные (АВ) данные и информацию о событии для активизирования события, когда воспроизводится заранее заданная конкретная сцена во время воспроизведения АВ данных, и для исполнения заранее заданного программного приложения, соответствующего активизированному событию, посредством синхронизации программного приложения с конкретной сценой. Носителем данных можно, соответственно, управлять таким образом, что приложение, имеющее функцию программы, синхронизируют с конкретной сценой АВ данных, используя информацию о событии во время воспроизведения всех АВ данных или части АВ данных. 10 н. и 34 з.п. ф-лы, 5 ил.
Область техники, к которой относится изобретение
Настоящее изобретение относится к воспроизведению мультимедийных данных, более конкретно, к носителю данных, на котором записаны аудиовизуальные данные с информацией о событии, устройству воспроизведения и способу их воспроизведения.
Уровень техники
В обычном носителе мультимедийных данных записываются кодированные аудиовизуальные (АВ) данные, данные навигации для управления воспроизведением аудиовизуальных (АВ) данных и объект фильма. Более подробно, АВ данные включают в себя потоковые АВ данные, включающие в себя видеоданные и аудиоданные, кодированные на основе стандарта MPEG, и/или дополнительную информацию, такую как вспомогательная картинка для отображения субтитров, и информационные данные, включающие в себя кодирующую информацию атрибута потоковых АВ данных или информацию время-в-позицию потоковых АВ данных. Данные навигации включают в себя дополнительную информацию, такую как порядок воспроизведения АВ данных, время воспроизведения АВ данных и точки входа для произвольного доступа, обозначенные изготовителем содержимого. Объект фильма включает в себя команды навигации для управления воспроизведением АВ данных, такие как команды для воспроизведения АВ данных, используя данные навигации и команды перехода к другим данным навигации. АВ данные могут быть воспроизведены соответственно с использованием команд навигации в носителе данных, и пользователь может смотреть фильм. Ниже по тексту описания набор команд навигации будет называться объектом фильма.
Сущность изобретения
Техническая задача
В обычном носителе данных, однако, в котором записаны АВ данные, программа, например игра или обмен текстовыми сообщениями в реальном времени, использующая воспроизведенные АВ данные для обеспечения интерактивной операции пользователя или приложения, например приложения, обеспечивающего операцию просмотра для извлечения информации, относящейся к воспроизведенным АВ данным, из документа с разметкой и отображения этой информации, к которым добавляется операция программы, не могут быть записаны вместе с АВ данными на одном носителе данных. То есть, с обычным носителем данных, в котором записаны АВ данные, эти АВ данные могут быть просто воспроизведены, но дополнительные приложения, такие как программа для создания оперативной операции пользователя, не могут быть созданы.
Техническое решение
Настоящее изобретение предлагает носитель данных, в котором записаны аудиовизуальные данные с информацией о событии, устройство воспроизведения, а также способ их воспроизведения.
Полезные эффекты изобретения
Носителем данных можно так управлять, что приложение, к которому добавляется операция программы, синхронизируют с конкретным временем воспроизведения АВ данных, используя информацию о событии во время воспроизведения всех АВ данных или части АВ данных.
Хотя здесь показаны и описаны несколько воплощений настоящего изобретения, специалистам в данной области техники понятно, что могут быть внесены изменения в эти воплощения без отхода от принципов и формы изобретения, объем которого определяется формулой изобретения и ее эквивалентами.
Описание чертежей
Эти и/или другие объекты и преимущества изобретения будут очевидны и более понятны из нижеприведенного описания вариантов воплощения изобретения совместно с сопроводительными чертежами, на которых
Фиг.1 иллюстрирует данные, хранящиеся в носителе данных согласно воплощению настоящего изобретения,
Фиг.2 – блок-схема устройства для воспроизведения АВ данных, в которые включена информация о событии согласно воплощению настоящего изобретения,
Фиг.3 иллюстрирует данные о событии, включенные в АВ поток согласно воплощению настоящего изобретения,
Фиг.4 – таблица, иллюстрирующая данные о событии, включенные в информационный файл согласно другому воплощению настоящего изобретения,
Фиг.5 – таблица, иллюстрирующая описатель события согласно воплощению настоящего изобретения.
Лучший способ реализации изобретения
Аспекты изобретения предлагают носитель данных, в котором записаны аудиовизуальные данные с информацией о событии, а также устройство воспроизведения и способ их воспроизведения.
Согласно аспекту настоящего изобретения предложен носитель данных, включающий аудиовизуальные (АВ) данные, информацию о событии для активизации события, когда воспроизводится заранее заданная конкретная сцена при воспроизведении АВ данных, и для выполнения заранее заданного программного приложения, соответствующего активизированному событию, посредством синхронизации программного приложения с этой конкретной сценой.
Согласно аспекту изобретения информация о событии может содержать: данные о событии, указывающие на то, что воспроизводится конкретная сцена, и описатель события, в котором определено программное приложение, соответствующее данным о событии. Данные о событии могут быть включены в АВ данные. Данные о событии могут быть включены в потоковые АВ данные или информационные данные, создающие АВ данные. Данные о событии могут включать в себя информацию, указывающую, что заранее заданные данные, включенные в АВ данные, являются данными о событии, информацию, указывающую временную точку, когда должно быть активизировано событие, идентификатор события и/или дополнительную информацию.
Согласно аспекту изобретения данные о событии могут быть включены в потоковые АВ данные, информация, указывающая временную точку, когда событие должно быть активизировано, может быть положением битового потока, включенного в данные о событии внутри потоковых АВ данных. Описатель события может включать в себя идентификатор события, информацию, касающуюся программного приложения, которое должно быть исполнено, и/или дополнительную информацию, требующуюся для исполнения программного приложения. Описатель события может быть записан отдельно от данных о событии, включенных в АВ данные. Описатель события может быть включен в таблицу управления приложениями, в которой записана информация, касающаяся операции программного приложения. Программное приложение может также включать в себя операцию программы для обеспечения дополнительной операции пользователю и реализуется языком программы, выбранным из группы, состоящей из языка JAVA (Джава) и языка разметки.
Согласно другому аспекту настоящего изобретения предложено устройство воспроизведения, включающее: машину (средство) представления, активизирующую событие, когда воспроизводят конкретную сцену, указанную информацией о событии, во время воспроизведения аудиовизуальных (АВ) данных, включая информацию о событии, и передающую информацию, касающуюся активизированного события, к администратору приложения, причем администратор приложения управляет программным приложением, указанным информацией о событии, и соответствующим активизированному событию, которое должно быть синхронизировано с конкретной сценой и быть исполнено. Машина (средство) представления может активизировать событие, когда воспроизводят конкретную сцену, на основании данных о событии, составляющих информацию о событии и указывающих на то, что была воспроизведена конкретная сцена, и администратор приложения может управлять программным приложением, которое должно быть исполнено, со ссылкой на описатель события, в котором определено программное приложение, соответствующее активизированному событию. Данные о событии могут быть включены в потоковые АВ данные или информационные данные, составляющие АВ данные, и машина представления может воспроизвести АВ данные, включенные в данные о событии. Данные о событии могут включать в себя информацию, указывающую на то, что заранее определенные данные, включенные в АВ данные, являются данными о событии, информацию, указывающую временную точку, когда событие должно быть активизировано, идентификатор события и/или дополнительную информацию, и машина (средство) представления может активизировать событие, соответствующее идентификатору события, во время воспроизведения АВ данных на основе информации, указывающей временную точку, когда событие должно быть активизировано, и передать активизированное событие к администратору приложения наряду с идентификатором события.
Согласно аспекту изобретения, когда данные о событии включены в потоковые АВ данные, машина представления может использовать положение битового потока, включающего данные о событии внутри потоковых АВ данных, как информацию, указывающую временную точку, когда событие должно быть активизировано.
Согласно аспекту изобретения описатель события может включать идентификатор события, информацию касательно приложения, которое должно быть исполнено, и/или дополнительную информацию, требующуюся для исполнения приложения, и администратор приложения может принять идентификатор активизированного события от машины представления, получить информацию касательно программного приложения, которое должно быть исполнено, соответствующую идентификатору события, со ссылкой на описатель события, и управлять исполнением программного приложения.
Согласно аспекту изобретения описатель события может быть представлен в формате таблицы отдельно от данных о событии, включенных в АВ данные, или быть включен в таблицу управления приложениями, в которой записана информация касательно программного приложения, и администратор приложения может управлять исполнением программного приложения со ссылкой на таблицу или таблицу управления приложениями.
Согласно другому аспекту настоящего изобретения предложен способ воспроизведения, включающий: воспроизведение аудиовизуальных (АВ) данных, включающих в себя информацию о событии, и если воспроизводится конкретная сцена, указанная информацией о событии, во время воспроизведения АВ данных, активизацию события, синхронизацию заранее заданного программного приложения, соответствующего активизированному событию, с конкретной сценой и исполнение программного приложения.
Дополнительные и/или другие аспекты и преимущества изобретения будут представлены частично в нижеприведенном описании и частично будут очевидны из описания или могут быть изучены при реализации изобретения.
Способ реализации изобретения
Сейчас будут подробно описаны варианты воплощения изобретения, примеры которых проиллюстрированы сопроводительными чертежами, на которых аналогичные ссылочные числовые позиции обозначают аналогичные элементы. Варианты воплощения описаны ниже, для того чтобы объяснить настоящее изобретение со ссылкой на чертежи.
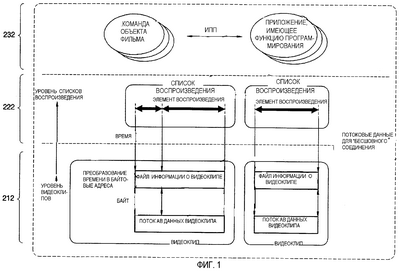
Фиг.1 иллюстрирует данные, хранящиеся в носителе данных согласно варианту воплощения настоящего изобретения. Как показано на фиг.1, носитель данных хранит АВ данные 212, данные 222 навигации и данные 232 приложения. АВ данные 212 включают в себя множество видеоклипов, которые являются сохраняемыми блоками АВ данных. Каждый видеоклип включает потоковые АВ данные и информационные данные.
Потоковые АВ данные могут быть реализованы файлом АВ потока видеоклипа, в котором видео, аудио и/или дополнительная информация, такая как вспомогательное изображение для отображения субтитров, кодируется согласно стандарту MPEG и записывается. Однако должно быть понятно, что могут быть использованы другие стандарты.
Информационные данные могут быть реализованы информационным файлом видеоклипа, в который включена информация кодирования атрибута потоковых АВ данных или информация время-в-позицию потоковых АВ данных (данных для преобразования времени в байтовые адреса).
Данные 222 навигации включают в себя множество списков воспроизведения, которые являются блоками воспроизведения АВ данных 212. Каждый список воспроизведения включает в себя множество элементов воспроизведения, каждый из которых включает в себя информацию, относящуюся к воспроизведению соответствующего видеоклипа, который должен быть воспроизведен. Данные 212 приложения включают в себя объекты фильма для простого воспроизведения АВ данных 222 и программные приложения, которые выполняют операции программы.
Когда воспроизводят основные АВ данные 212, порядок воспроизведения и время воспроизведения получают посредством считывания списков воспроизведения, используя команду навигации. Также время воспроизведения преобразуют в байтовые адреса посредством считывания информационного файла видеоклипа, соответствующего времени воспроизведения, на основании порядка воспроизведения. АВ данные 212 затем воспроизводят считыванием файлов потоковых АВ данных видеоклипа, соответствующих преобразованным байтовым адресам. Режим, в котором АВ данные 212 просто воспроизводятся, основан на времени, как описано выше, называется основным режимом.
С другой стороны, режим, в котором воспроизводят программные приложения, выполняющие операции программы, называется полным режимом. В полном режиме каждое программное приложение обеспечивает пользователю дополнительную операцию во время воспроизведения всех АВ данных 212 или части АВ данных 212, используя интерфейс прикладных программ (ИПП) с объектом фильма. То есть, посредством синхронизации с конкретной сценой фильма может быть обеспечена специфическая информация или может работать заранее заданное программное приложение.
Например, в начале сцены, в которой появляется сотовый телефон во время воспроизведения фильма “Матрица” (“The Matrix”), может быть выполнено автоматически рекламное приложение для компании, изготовившей сотовый телефон. Также, когда показывают панораму гор, покрытых снегом, во время воспроизведения фильма “Властелин колец” (“The Lord of The Rings”) может быть обеспечено приложение, создающее описание, информацию о путешествиях и специальные признаки провинции, в которой находится фон этой сцены.
Для того чтобы синхронизировать программное приложение с конкретной сценой, включенной в АВ данные, которые воспроизводят, потребуется информация о событии (или информация отметки), информирующая приложение о конкретной воспроизводимой сцене АВ данных 212. Подробная структура информации о событии описана ниже.
Фиг.2 – блок-схема устройства 200 для воспроизведения АВ данных 212, в которые включена информация о событии согласно варианту воплощения настоящего изобретения. Как показано на фиг.2, устройство 200 воспроизведения включает в себя машину (средство) 210 воспроизведения, машину (средство) 220 управления воспроизведением и администратор 230 приложения. Хотя и не показано, понятно, что устройство 200 записи и/или воспроизведения передает данные 232 приложения, данные 222 навигации и АВ данные 212 по отношению к носителю, показанному на фиг.1.
Машина (средство) 210 представления считывает, декодирует и воспроизводит АВ данные 212 и данные 212 о событии. АВ данные 212 описаны выше, а воспроизведение данных о событии описано ниже.
Средство 220 управления воспроизведением считывает данные 222 навигации, как описано выше, и управляет средством 210 представления для воспроизведения АВ данных 212, на основании данных 222 навигации.
Администратор 230 приложения контролирует и управляет исполнением и завершением каждого приложения, которое обеспечивается языком программирования, таким как язык JAVA или язык разметки. Администратор 230 приложения считывает данные 232 приложения, такие как объекты фильма и программные приложения, описанные выше, и посылает команды средству 220 управления воспроизведением для воспроизведения соответствующих АВ данных 212. Также, администратор 230 приложения принимает операцию 236 пользователя и управляет средством 220 управления воспроизведением для воспроизведения АВ данных 212.
Ниже описан более подробно процесс воспроизведения АВ данных 212 в основном режиме. Администратор 230 приложения исполняет команду навигации, такую как PlayPL (список 1 воспроизведения), включенный в объект фильма, который включен в данные 232 приложения. Средство 220 управления воспроизведением считывает соответствующий файл списков воспроизведения в данных 222 навигации, указанный командой навигации, и получает имя файла видеоклипа, который должен быть воспроизведен, и информацию, относящуюся к воспроизведению из элемента воспроизведения, включенного в файл списка воспроизведения. Средство 210 представления считывает соответствующий файл информации о видеоклипе, используя имя файла видеоклипа, получает информацию атрибута файла АВ потока данных видеоклипа, включенного в АВ данные 212, и воспроизводит файл АВ потока данных видеоклипа, используя полученную информацию атрибута.
Информация отметки для обнаружения конкретного положения (позиции) АВ данных 212, используя операцию 236 пользователя или команду, включена в данные 222 навигации. Средство 220 управления воспроизведением может принять операцию 236 пользователя или команду, подготовленную изготовителем, включенную в данные 232 приложения, изменить позицию воспроизведения на основании информации отметки, и воспроизвести АВ данные 212. Информация отметки включает в себя отметку части, указывающую временную точку для выделения глав частей фильма, и отметку пропуска, используемую для быстрого поиска.
Ниже описан процесс воспроизведения АВ данных 212 и приложения, к которым операции программы добавляются в полном режиме, в котором добавляется интерактивная операция пользователя. В полном режиме приложения, сформированные с использованием языка программирования, такого как JAVA или язык разметки, для обеспечения пользователя интерактивной операцией формируются наряду с АВ данными 212. Приложения могут обеспечивать пользователю возможность воспроизводить АВ данные 212 со специфическим назначением, используя полный фильм или часть фильма на основании намерения изготовителя, и играть в игру на основании АВ данных 212. Например, когда воспроизводится фильм на части экрана, может быть выдана информация, относящаяся к фильму, такая как неподвижные изображения или документы, на остающейся части экрана, наряду с фильмом. Для игрового приложения фильм может идти как фон для игры, сцена фильма может быть вставлена в середину игры, или может быть обеспечен фильм, имеющий те же самые действующие лица, но другую историю, на основании результатов игры.
В аспекте настоящего изобретения информацию о событии добавляют к АВ данным 212 для обеспечения специфической информации синхронно с конкретной сценой фильма или для задействования заранее заданного приложения. Информация о событии включает в себя АВ данные 212 и указывает, что конкретная сцена, конкретное действующее лицо или специфические элементы воспроизведения появляются в сценах воспроизводимого фильма. Описатель события формирует относящуюся к приложению информацию, такую как обозначение программного приложения, или операцию, которая должна быть выполнена, когда событие активизировано данными о событии.
Более конкретно, данные о событии включены в АВ данные 212 и включают в себя информацию, указывающую событие, идентификатор (ИД) события, и информацию, указывающую время активизирования события, и/или дополнительную информацию.
Информация, указывающая событие (ниже называемая дискриминатором события), используется для выделения события из АВ данных и указывает, что данные с заранее заданной длиной, следующие за дискриминатором события, являются данными о событии. ИД события используется для идентификации конкретного события из множества событий. ИД события должен, в общем, иметь однозначное значение, но должен быть общим ИД для множества сцен/списков воспроизведения.
Информация, указывающая время активизации события, является информацией, указывающей время воспроизведения, когда воспроизводится конкретная сцена, во время воспроизведения которой должно быть исполнено конкретное приложение. Если данные о событии включены в файл информации о видеоклипе, должна быть явно указана информация о времени. Однако если данные о событии включены в поток АВ данных, то данные о событии добавляются к битовому потоку АВ потоковых данных, соответствующих конкретной сцене, чтобы задействовать специфическое приложение, и информация о времени не должна быть явно указанной. То есть, позиция битового потока, включающего в себя данные о событии, является информацией о времени.
Дополнительная информация может быть включена изготовителем, и она снабжает пользователя информацией, не касающейся операции приложений. Например, в дополнительную информацию может быть включено описание конкретного события. Однако должно быть понятно, что пользователи и/или распространители хотели бы иметь дополнительную информацию.
Ниже описаны два примера данных о событии, фиг.3 иллюстрирует данные 300 о событии, включенные в АВ поток, согласно варианту воплощения настоящего изобретения. Как показано на фиг.3, данные 300 о событии дополнительно добавлены к АВ потоковым данным.
Как показано на фиг.1, АВ данные 212 включают в себя АВ потоковые данные (файлы АВ потока видеоклипа) и информационные данные (информационные файлы клипа). Формат данных 300 о событии различается в зависимости от того, включены ли данные 300 о событии в АВ потоковые данные или в информационные данные. Показанный вариант воплощения соответствует первому случаю, в котором данные 300 являются АВ потоком. Так как АВ потоковые данные, в которые видео, аудио и другие дополнительные данные мультиплексированы, созданы как единый битовый поток, данные 300 о событии также могут быть представлены как битовый поток, начинающийся со специфического бита битового потока, содержащего АВ потоковые данные, на основании заранее заданного формата. Данные 300 о событии имеют дискриминатор 302 события для выделения самих себя из АВ потоковых данных и включают в себя информацию 304 длины данных о событии, ИД 306 события и/или дополнительную информацию 308. Как описано выше, поскольку позиция битового потока, включающего в себя данные 300 о событии, является информацией, относящейся ко времени активизирования данных 300 о событии, информация о времени активизирования данных 300 о событии не должна быть включена в настоящий вариант воплощения.
Фиг.4 – таблица, иллюстрирующая данные о событии, включенные в информационный файл согласно другому воплощению настоящего изобретения. Как показано на фиг.4, к данным о событии дополнительно добавляют информационные данные (информационный файл видеоклипа). Информационные данные включают информацию атрибута видео, аудио и дополнительные данные, которые включены в АВ потоковые данные, и информацию время-в-позицию битовых потоков с заранее заданным форматом таблицы. Поэтому информационные данные могут определять информацию, требующуюся для данных о событии, и включать в себя информацию в формате таблицы. Как показано на фиг.4, “Event Mark()” (“Отметка о Событии()”) обозначает дискриминатор 402 события, “длина” обозначает информацию 404 длины данных о событии, “event_id” (“ид события”) обозначает ИД 406, “event_time” (“время события”) обозначает информацию 408 времени активизации данных о событии и “event_description” (“описание события”) обозначает дополнительную информацию 410. Данные о событии, показанные на фиг.4, приведены в качестве примера, и они могут быть изменены в случае необходимости.
До настоящего момента были описаны данные о событии, указывающие на то, что воспроизводится конкретная сцена во время воспроизведения АВ данных. Описатель события, обозначающий специфическое приложение или операцию, которая должна быть исполнена, когда активизировано событие, будет описан со ссылкой на воплощение изобретения, показанное на фиг.5.
Фиг.5 – таблица, иллюстрирующая описатель события согласно воплощению настоящего изобретения. Как показано на фиг.5, описатель события включает в себя ИД 502 события, информацию 504 о конкретном программном приложении, которое должно быть исполнено, и/или дополнительную информацию 506, такую как описание конкретного программного приложения. Описатель события может быть реализован в таблице, включающей в себя различные виды информации. Более конкретно, ИД 502 события используется для идентификации типа активизированного события. Информация 504 приложения включает имя приложения, которое должно быть задействовано, когда активизированы данные о событии, включенные в АВ данные 212. Если активизированы данные о конкретном событии, выбирается описатель события, включающий ИД события, идентичный ИД события, включенному в данные о конкретном событии, и исполняется специфическое приложение, соответствующие информации приложения, включенной в выбранный описатель события.
Дополнительная информация 506 может включать в себя параметры запуска приложения, информацию позиции приложения, информацию, потребовавшуюся для задействования приложения и/или информацию описания приложения.
Ниже описан способ воспроизведения носителя данных, в котором АВ данные, включающие в себя информацию о событии, согласно настоящему изобретению записаны, используя устройство воспроизведения, показанное на фиг.2. Как показано на фиг.2, средство 210 представления воспроизводит АВ данные 212, в которые включены данные о событии, под управлением средства 220 управления воспроизведением. Когда наступает время воспроизведения, обозначенное информацией времени активизирования события, средство 210 представления информирует средство 220 управления воспроизведением об активизации события на основе данных о событии посредством использования ИД события.
Администратор 230 приложения проводит поиск информации о программном приложении, соответствующей ИД активизированного события со ссылкой на таблицу 234 описателя события, хранящуюся в носителе данных или памяти. Администратор 230 приложения исполняет соответствующее программное приложение, используя имя приложения, информацию о позиции приложения и информацию, потребовавшуюся для исполнения приложения на основе обнаруженной информации программного приложения. Информация о позиции приложения может быть включена в таблицу 234 описателя события или в таблицу управления приложениями (ТУП), в которой управляют информацией о приложениях. Также таблица 234 описателя события может быть включена в ТУП.
Вкратце, способ воспроизведения включает: воспроизведение АВ данных, включающих в себя данные о событии, и если активизировано событие на основе данных о событии во время воспроизведения АВ данных, исполнение конкретного приложения, соответствующего активизированному событию со ссылкой на соответствующий описатель события.
Хотя этого и не требуется, воплощения настоящего изобретения могут быть написаны как компьютерные программы и могут быть реализованы в цифровых ЭВМ общего назначения, которые исполняют программы, используя читаемые компьютером носители записи. Примеры считываемого компьютером носителя записи включают в себя магнитные носители данных (например, ПЗУ, гибкие диски, жесткие диски, носители в виде флэш-ЗУ и т.д.), оптические носители записи (например, компакт-диски CD, цифровые видеодиски DVD, диски Blu-ray, усовершенствованные оптические диски и т.д.) и носители данных, такие как сигналы несущей (например, передача через сеть Интернет). Считываемый компьютером носитель записи может также быть распространен через связанные в сеть вычислительные системы, так что читаемый компьютером машинный код хранится и исполняется в распределенном виде.
Хотя было показано, что АВ данные включены в общий носитель данных, понятно, что каждое из приложений не требует присутствия на том же самом носителе данных, и к нему может быть осуществлен доступ от другого носителя данных через сеть, доступную для устройства согласно настоящему изобретению.
Как было описано выше, согласно воплощениям настоящего изобретения предложены носитель данных, в котором записаны АВ данные с информацией о событии, устройство записи и способ их воспроизведения.
Носителем данных можно так управлять, что приложение, к которому добавляют операцию программы, синхронизируют со специфическим временем воспроизведения АВ данных, используя информацию о событии во время воспроизведения всех АВ данных или части АВ данных.
Хотя были показаны и описаны несколько вариантов воплощения изобретения, понятно для специалистов в данной области техники, что могут быть внесены изменения в эти варианты воплощения без отхода от принципов и формы изобретения, объем которого определяется формулой изобретения и ее эквивалентами.
Промышленная применимость
Настоящее изобретение применяется для носителя данных, в котором записаны аудиовизуальные данные с информацией о событии, а также для устройства воспроизведения и способа их воспроизведения.
Формула изобретения
1. Носитель данных для использования с устройством записи и/или воспроизведения, содержащий аудиовизуальные (АВ) данные и информацию о событии для активизации события, когда заранее заданная конкретная сцена воспроизводится устройством при воспроизведении АВ данных, и для исполнения заранее заданного программного приложения, соответствующего активизированному событию, в соответствии с синхронизацией программного приложения с конкретной сценой.
2. Носитель данных по п.1, в котором информация о событии содержит данные о событии, указывающие на то, что воспроизводится конкретная сцена, и описатель события, в котором определено программное приложение, соответствующее данным о событии.
3. Носитель данных по п.2, в котором данные о событии включены в АВ данные.
4. Носитель данных по п.3, в котором АВ данные содержат потоковые АВ данные и информационные данные, относящиеся к потоковым АВ данным, а данные о событии включены в потоковые АВ данные или информационные данные.
5. Носитель данных по п.4, в котором данные о событии включают в себя информацию, указывающую на то, что заранее заданные данные, включенные в АВ данные, являются данными о событии, информацию, указывающую момент времени, когда должно быть активизировано событие, идентификатор события, дополнительную информацию или их комбинации.
6. Носитель данных по п.5, в котором данные о событии включены в потоковые АВ данные, а информация, указывающая момент времени, когда должно быть активизировано событие, является позицией битового потока, включающего в себя данные о событии внутри потоковых АВ данных.
7. Носитель данных по п.2, в котором описатель события включает в себя идентификатор события, информацию, касающуюся программного приложения, которое должно быть исполнено, и/или дополнительную информацию, требуемую для исполнения программного приложения.
8. Носитель данных по п.7, в котором описатель события записан отдельно от данных о событии, включенных в АВ данные.
9. Носитель данных по п.7, в котором описатель события включен в таблицу управления приложениями, в которой записана информация об операции программного приложения.
10. Носитель данных по п.1, в котором программное приложение дополнительно включает в себя операцию программы для обеспечения дополнительной операции для пользователя и реализуется языком программирования, выбранным из группы, состоящей из языка JAVA и языка разметки.
11. Устройство воспроизведения, содержащее администратор приложения и средство представления, активизирующее событие, когда воспроизводится конкретная сцена, указанная информацией о событии, во время воспроизведения аудиовизуальных (АВ) данных, включающих в себя информацию о событии, и передающее информацию об активизированном событии к администратору приложения, причем администратор приложения управляет программным приложением, указанным информацией о событии, и соответствующим активизированному событию, которое должно быть синхронизировано с конкретной сценой и исполнено.
12. Устройство по п.11, в котором средство представления активизирует событие, когда воспроизводится конкретная сцена на основе данных о событии, составляющих информацию о событии и указывающих на то, что воспроизводится конкретная сцена.
13. Устройство по п.12, в котором администратор приложения управляет программным приложением, которое должно быть исполнено, со ссылкой на описатель события, в котором определено программное приложение, соответствующее активизированному событию.
14. Устройство по п.13, в котором данные о событии включены в потоковые АВ данные или в информационные данные, составляющие АВ данные, и средство представления воспроизводит АВ данные, включающие в себя данные о событии.
15. Устройство по п.13, в котором данные о событии включают в себя информацию, указывающую на то, что заранее заданные данные, включенные в АВ данные, являются данными о событии, информацию, указывающую момент времени, когда должно быть активизировано событие, идентификатор события и/или дополнительную информацию, и средство представления активизирует событие, соответствующее идентификатору события, во время воспроизведения АВ данных, на основе информации, указывающей момент времени, когда должно быть активизировано событие, и передает активизированное событие к администратору приложения наряду с идентификатором события.
16. Устройство по п.15, в котором, если данные о событии включены в потоковые АВ данные, то средство представления использует позицию битового потока, включающего в себя данные о событии внутри потоковых АВ данных, как информацию, указывающую момент времени, когда должно быть активизировано событие.
17. Устройство по п.13, в котором описатель события включает в себя идентификатор события, информацию, касающуюся программного приложения, которое должно быть исполнено, и/или дополнительную информацию, требуемую для исполнения программного приложения, и администратор приложения принимает идентификатор активизированного события от средства представления, получает информацию, относящуюся к программному приложению, которое должно быть исполнено, соответствующему идентификатору события, со ссылкой на описатель события, и управляет исполнением программного приложения.
18. Устройство по п.17, в котором описатель события представлен в формате таблицы отдельно от данных о событии, включенных в АВ данные, или включен в таблицу управления приложениями, в которой записана информация о программном приложении, и администратор приложения управляет исполнением программного приложения со ссылкой на таблицу или на таблицу управления приложениями.
19. Способ воспроизведения, содержащий воспроизведение аудиовизуальных (АВ) данных, включающих в себя информацию о событии, и когда воспроизводят конкретную сцену, указанную информацией о событии, во время воспроизведения АВ данных, активизирование события, синхронизацию заранее заданного программного приложения, соответствующего активизированному событию, с конкретной сценой и исполнение программного приложения.
20. Носитель данных для использования с устройством записи и/или воспроизведения, содержащий аудиовизуальные (АВ) данные, включающие в себя множество видеоклипов, включающих в себя потоковые АВ данные и информационные данные, данные навигации, включающие в себя множество списков воспроизведения, чтобы определить воспроизводимые устройством блоки каждого из видеоклипов АВ данных, и данные приложения, включающие в себя объекты фильма, используемые устройством для воспроизведения АВ данных, и программные приложения, используемые устройством, для выполнения операций приложения.
21. Носитель данных по п.20, в котором потоковые АВ данные реализованы файлом, в котором закодированы видео-, аудиоданные и/или дополнительная информация согласно стандарту MPEG.
22. Носитель данных по п.21, в котором дополнительная информация содержит вспомогательное изображение для отображения субтитров.
23. Носитель данных по п.20, в котором информационные данные реализованы файлом, в который включена информация кодирования атрибута или информация для преобразования времени в байтовые адреса.
24. Носитель данных по п.20, в котором каждый список воспроизведения включает в себя множество элементов воспроизведения, каждый из элементов воспроизведения включает в себя информацию, относящуюся к воспроизведению соответствующего видеоклипа.
25. Носитель данных по п.24, в котором, когда воспроизводят АВ данные, получают порядок воспроизведения и время посредством устройства, считывающего списки воспроизведения, используя команду навигации, и время преобразуют в байтовые адреса посредством считывания файла, соответствующего времени воспроизведения, на основе порядка воспроизведения.
26. Носитель данных по п.25, в котором АВ данные воспроизводят считыванием файлов потоковых АВ данных, соответствующих преобразованным байтовым адресам.
27. Носитель данных по п.26, в котором основной режим является режимом, в котором воспроизводят АВ данные, на основании времени, и полный режим является режимом, в котором воспроизводят программные приложения, выполняя операции программы.
28. Носитель данных по п.27, в котором каждое программное приложение выдает команду устройству доставить дополнительную операцию пользователю во время воспроизведения всех АВ данных или части АВ данных, используя интерфейс прикладных программ (ИПП) с объектом фильма.
29. Носитель данных по п.28, в котором устройство синхронизирует данные о событии с конкретной сценой фильма таким образом, что обеспечивается конкретная информация и/или работает заранее заданное программное приложение.
30. Устройство воспроизведения аудиовизуальных (АВ) данных, в которые включена информация о событии, содержащее средство представления для воспроизведения аудиовизуальных (АВ) данных и данных о событии, средство управления воспроизведением для считывания данных навигации, считанных из АВ данных, и управления средством представления для воспроизведения АВ данных на основе данных навигации, и администратор приложения для управления исполнением и завершением приложений посредством считывания данных приложения, хранящихся с АВ данными, и соответственно посредством выдачи команд средству управления воспроизведением.
31. Устройство по п.30, в котором администратор приложения принимает операцию пользователя и управляет соответственно средством управления воспроизведением.
32. Способ воспроизведения аудиовизуальных (АВ) данных, содержащий исполнение команды навигации, которая включена в сохраненные данные приложения, считывание соответствующего файла в сохраненных данных навигации, указанного командой навигации, и получение имени файла видеоклипа, который должен быть воспроизведен, и информации, относящейся к воспроизведению, считывание информации соответствующего видеоклипа, используя полученное имя файла видеоклипа, получение информации атрибута файла АВ потока данных видеоклипа, включенного в АВ данные, и воспроизведение файла АВ потока данных, используя полученную информацию атрибута.
33. Способ по п.32, в котором команда навигации является списком 1 воспроизведения (a play PL), включенным в объект фильма.
34. Способ по п.33, в котором информация, относящаяся к воспроизведению, хранится в элементе воспроизведения, включенном в файле списка воспроизведения.
35. Способ по п.34, в котором информация отметки для обнаружения конкретной позиции АВ данных включена в данные навигации.
36. Способ по п.32, дополнительно включающий добавление интерактивной операции пользователя, так что информацию о событии добавляют к АВ данным для формирования конкретной информации синхронно с частью АВ данных или для задействования заранее заданного конкретного приложения в полном режиме.
37. Способ по п.36, в котором информация о событии включает в себя данные о событии для указания того, что конкретная сцена, конкретное действующее лицо или конкретный элемент воспроизведения появляется в сценах фильма, который воспроизводится, и описатель события для обеспечения относящейся к приложению информации, когда событие активизируют данными о событии.
38. Способ по п.36, в котором данные о событии содержат информацию, указывающую событие для выделения данных о событии из АВ данных и для указания того, что данные с заранее заданной длиной следуют за дискриминатором события, идентификатор события (ИД) для идентификации события из множества событий, и информацию, указывающую время активизации события, чтобы указать время воспроизведения события.
39. Способ воспроизведения носителя данных, в котором записаны аудиовизуальные (АВ) данные, включающие в себя информацию о событии, причем способ содержит воспроизведение АВ данных, в которые включены данные о событии, определение того, что событие активизировано на основе данных о событии, посредством использования ИД события, когда наступает время воспроизведения, обозначенное информацией времени активизирования события, поиск информации о программном приложении, соответствующей ИД активизированного события, исполнение соответствующего программного приложения.
40. Способ по п.39, в котором исполнение включает использование имени приложения, информации, требуемой для исполнения приложения, на основании обнаруженной информации программного приложения.
41. Способ по п.39, в котором информация позиции приложения может быть включена в таблицу описателя события или в таблицу управления приложениями (ТУП), в которой контролируется информация, касающаяся приложений.
42. Способ воспроизведения, содержащий воспроизведение аудиовизуальных (АВ) данных, включающих в себя данные о событии, и если активизировано событие на основе данных о событии во время воспроизведения АВ данных, исполнение конкретного приложения, соответствующего активизированному событию со ссылкой на соответствующий описатель события.
43. Читаемый компьютером носитель данных, закодированный инструкциями обработки данных, предназначенными для реализации способа по п.39 посредством компьютера, считываемый компьютером при реализации способа по п.39.
44. Читаемый компьютером носитель данных, закодированный инструкциями обработки данных, предназначенными для реализации способа по п.42 посредством компьютера, считываемый компьютером при реализации способа по п.42.
РИСУНКИ
|
|