|
(21), (22) Заявка: 2004126165/28, 24.10.2003
(24) Дата начала отсчета срока действия патента:
24.10.2003
(30) Конвенционный приоритет:
16.11.2002 KR 10-2002-0071378
(43) Дата публикации заявки: 27.02.2006
(46) Опубликовано: 20.01.2008
(56) Список документов, цитированных в отчете о поиске:
JP 10-136314 А, 22.05.1998. JP 11-098467 A, 09.04.1999. US 2002/0078144 A1, 20.06.2002. KR 2001-85515 А, 07.09.2001. RU 2183360 С2, 10.06.2002. KR 2001-113441 A, 28.12.2001. KR 2000-69008 A, 25.11.2000. KR 97-703667 A, 03.07.1997. RU 2073914 C1, 20.02.1997.
(85) Дата перевода заявки PCT на национальную фазу:
16.06.2005
(86) Заявка PCT:
KR 03/02256 (24.10.2003)
(87) Публикация PCT:
WO 2004/046847 (03.06.2004)
Адрес для переписки:
115184, Москва, Средний Овчинниковский пер., 12, ЗАО “Инэврика”, пат.пов. В.К.Козырьковой, рег.№ 607
|
(72) Автор(ы):
ЛИМОНОВ Александр (KR), КИМ Тхэ Хо (KR), Ю Дже Ён (KR), Ю Ву Сон (KR)
(73) Патентообладатель(и):
Эл Джи Электроникс Инк. (KR)
|
(54) СПОСОБ ВОСПРОИЗВЕДЕНИЯ СОДЕРЖАТЕЛЬНОЙ ИНФОРМАЦИИ В УСТРОЙСТВЕ ДЛЯ ИНТЕРАКТИВНОГО ОПТИЧЕСКОГО ДИСКА И СПОСОБ ОБЕСПЕЧЕНИЯ СОДЕРЖАТЕЛЬНОЙ ИНФОРМАЦИИ НА СЕРВЕРЕ ПОСТАВЩИКА ИНФОРМАЦИИ
(57) Реферат:
Изобретение относится к способу воспроизведения содержательной информации в устройстве для интерактивного оптического диска и к способу обеспечения содержательной информации на сервере поставщика информации. Согласно изобретению устройство для интерактивного оптического диска связано с сервером поставщика информации через Интернет для получения разнообразной содержательной информации. Когда отправка содержательной информации с сервера поставщика информации на устройство для интерактивного оптического диска приостановлена или задержана из-за потери связи по Интернету или недостаточной емкости буферной памяти в устройстве для интерактивного оптического диска, содержательную информацию, повторно отправленную с сервера поставщика информации, и поток данных, считанный с интерактивного оптического диска, повторно синхронизируют и воспроизводят. Благодаря этому пользователь устройства для интерактивного оптического диска имеет улучшенную возможность просмотра разнообразной содержательной информации. 6 н. и 31 з.п. ф-лы, 7 ил.
1. Область техники, к которой относится изобретение
Настоящее изобретение относится к способу воспроизведения содержательной информации в устройстве для интерактивного оптического диска и способу обеспечения содержательной информации на сервере поставщика информации (СР сервере), в которых разнообразную содержательную информацию, относящуюся к аудиовидеоданным оптического диска, например, интерактивного многофункционального цифрового диска (I-DVD), обеспечивают с сервера поставщика информации через Интернет и затем воспроизводят в устройстве для интерактивного оптического диска.
2. Известный уровень техники
В последнее время получили широкое распространение оптические диски с высокой плотностью записи, способные хранить большие объемы цифровых данных, например, DVD. DVD широко представлены на рынке в качестве носителей информации большой емкости, способных хранить высококачественные видеоданные, а также цифровые аудиоданные.
Такой DVD включает область записи навигационных данных для записи навигационных данных, необходимых для управления воспроизведением видеоданных, и область записи потока данных для записи потока цифровых данных, например, видеоданных.
Поэтому обычный DVD проигрыватель способен, если в него загрузить DVD, считывать навигационные данные, записанные в области записи навигационных данных, хранить в своей памяти считанные навигационные данные и затем осуществлять операцию воспроизведения данных DVD с использованием сохраненных навигационных данных для считывания и воспроизведения видеоданных, записанных в области записи потока данных.
В результате пользователь DVD проигрывателя может не только просматривать высококачественные видеоданные, записанные на DVD, но также и выбирать и использовать разнообразные функции, предоставляемые c DVD.
Между тем, не так давно ассоциированными компаниями обсуждалась конкретная схема интерактивного многофункционального цифрового диска (I-DVD), по которой можно дополнительно записывать подробную информацию, относящуюся к аудиовидеоданным, подлежащим воспроизводению с него, в частности, разнообразную содержательную информацию, например, “html-файл”, и воспроизводить записанную содержательную информацию через взаимодействие с пользователем. Если такой интерактивный многофункциональный цифровой диск (I-DVD) появится в продаже, пользователь сможет легко извлекать разнообразную содержательную информацию, относящуюся к аудиовидеоданным.
Обсуждается и другая схема, по которой при воспроизведении аудиовидеоданных и содержательной информации, записанной на интерактивный многофункциональный цифровой диск (I-DVD), можно получать через Интернет другую разнообразную содержательную информацию с сервера поставщика информации и воспроизводить полученную содержательную информацию синхронно с воспроизведением аудиовидеоданных. Однако в этой схеме отправка содержательной информации с сервера поставщика информации может быть приостановлена или задержана из-за потери сетевого соединения или недостаточного объема буферной памяти в устройстве для интерактивного оптического диска. В этом случае должна быть выполнена повторная синхронизация содержательной информации и аудиовидеоданных. Однако в данное время не существует какой-либо конкретной схемы для повторной синхронизации, и необходимо срочно найти решение этой проблемы.
3. Раскрытие изобретения
Таким образом, настоящее изобретение было сделано ввиду указанных выше проблем, и целью настоящего изобретения является разработка способа воспроизведения содержательной информации в устройстве для интерактивного оптического диска и способа обеспечения содержательной информации на сервере поставщика информации, в котором устройство для интерактивного оптического диска через Интернет соединено с сервером поставщика информации для получения разнообразной содержательной информации, обеспечиваемой сервером поставщика информации, и если отправка содержательной информации с сервера поставщика информации в устройство для интерактивного оптического диска приостановлена или задержана, то содержательная информация, повторно отправленная с сервера поставщика информации, и поток данных, считанный с интерактивного DVD, повторно синхронизируются и воспроизводятся.
В соответствии с одним аспектом настоящего изобретения вышеупомянутые и другие цели могут быть достигнуты путем обеспечения способа вырабатывания содержательной информации в устройстве для интерактивного оптического диска, содержащего следующие операции: а) синхронизацию и воспроизведение данных, считанных с интерактивного оптического диска, и содержательной информации, отправленной и загруженной с сервера поставщика информации через Интернет; b) формирование команды на запрашивание повторной отправки конкретной содержательной информации с учетом конкретной информации, содержащейся в нормально воспроизведенной последней содержательной информации, если отправка содержательной информации с сервера поставщика информации приостановлена или задержана, и отправку сформированной команды на сервер поставщика информации; и с) воспроизведение конкретной содержательной информации, повторно отправленной с сервера поставщика информации в ответ на указанную команду, вместе с данными, считанными с интерактивного оптического диска, при ее повторной синхронизации с данными, считанными с интерактивного оптического диска.
В соответствии с другим аспектом настоящего изобретения обеспечивается способ вырабатывания содержательной информации в устройстве для интерактивного оптического диска, содержащий операции: а) загрузки и управления информацией, представляющей собой таблицу смещений, с сервера поставщика информации, подключенного через Интернет; b) синхронизации и воспроизведения содержательной информации, отправленной и загруженной с сервера поставщика информации, и данных, считанных с интерактивного оптического диска; с) формирования команды на запрашивание повторной отправки конкретной содержательной информации с учетом информации, представляющей собой таблицу смещений, если отправка содержательной информации с сервера поставщика информации приостановлена или задержана, и отправки сформированной команды на сервер поставщика информации; и d) воспроизведения конкретной содержательной информации, повторно отправленной с сервера поставщика информации в ответ на указанную команду, вместе сданными, считанными с интерактивного оптического диска при ее повторной синхронизации с данными, считанными с интерактивного оптического диска.
В соответствии с еще одним аспектом настоящего изобретения предложен способ вырабатывания содержательной информации в устройстве для интерактивного оптического диска, содержащий операции: а) синхронизации и воспроизведения данных, считанных с интерактивного оптического диска, и содержательной информации, отправленной и загруженной с сервера поставщика информации, подключенного через Интернет; и b) отправки команды на запрашивание регулирования скорости передачи содержательной информации на сервер поставщика информации, если объем содержательной информации, загруженной в буферную память устройства для интерактивного оптического диска и еще не воспроизведенной, меньше или равен первому заданному опорному значению или больше или равен второму заданному опорному значению.
В соответствии с еще одним аспектом настоящего изобретения предложен способ обеспечения содержательной информации на сервере поставщика информации, содержащий операции: а) последовательной отправки пакетов данных, включающих содержательную информацию, отправка которой запрашивается устройством для интерактивного оптического диска, подключенным через Интернет, и конкретной информации, касающейся содержательной информации, отправка которой запрашивается; b) получение от устройства для интерактивного оптического диска команды на запрашивание повторной отправки конкретной содержательной информации, если отправка запрошенной содержательной информации приостановлена или задержана; и с) повторной отправки в устройство для интерактивного оптического диска пакета данных, включающего конкретную содержательную информацию, и касающейся ее конкретной информации в ответ на указанную команду.
В соответствии с еще одним аспектом настоящего изобретения предложен способ обеспечения содержательной информации на сервере поставщика информации, содержащий операции: а) отправки информации, представляющей собой таблицу смещений, касающейся содержательной информации, отправка которой запрашивается устройством для интерактивного оптического диска, подключенным через Интернет; b) последовательной отправки содержательной информации, отправка которой запрашивается устройством для интерактивного оптического диска, если отправка информации, представляющей собой таблицу смещений, завершена; с) получение команды на запрашивание повторной отправки конкретной содержательной информации от устройства для интерактивного оптического диска, если отправка запрошенной содержательной информации приостановлена или задержана; и d) повторной отправки конкретной содержательной информации в устройство для интерактивного оптического диска в ответ на указанную команду.
В соответствии с еще одним аспектом настоящего изобретения предложен способ обеспечения содержательной информации на сервере поставщика информации, заключающийся в том, что: а) последовательно отправляют содержательную информацию, отправка которой запрашивается устройством для интерактивного оптического диска, подключенным через Интернет; и б) если получена команда от устройства для интерактивного оптического диска на запрашивание регулирования скорости передачи содержательной информации, регулируют скорость передачи данных в ответ на указанную команду и отправляют запрошенную содержательную информацию при отрегулированной скорости передачи данных.
4. Краткое описание чертежей
Сопроводительные чертежи, включенные для обеспечения лучшего понимания изобретения, иллюстрируют предпочтительные примеры осуществления настоящего изобретения и вместе с описанием служат для пояснения принципов настоящего изобретения.
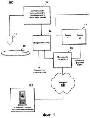
На фиг.1 представлена блок-схема, показывающая связь между устройством для интерактивного оптического диска и сервером поставщика информации, к которым применимо настоящее изобретение.
На фиг.2 приведена концептуальная схема, иллюстрирующая работу устройства для интерактивного оптического диска, к которому применимо настоящее изобретение, по воспроизведению данных.
На фиг.3 представлена последовательность операций, иллюстрирующая процедуру отправки и получения данных между устройством для интерактивного оптического диска и сервером поставщика информации в соответствии с первым примером осуществления настоящего изобретения;
На фиг.4 представлена последовательность операций, иллюстрирующая процедуру отправки и получения данных между устройством для интерактивного оптического диска и сервером поставщика информации в соответствии со вторым примером осуществления настоящего изобретения;
На фиг.5 представлена последовательность операций, иллюстрирующая процедуру отправки и получения данных между устройством для интерактивного оптического диска и сервером поставщика информации в соответствии с третьим примером осуществления настоящего изобретения;
На фиг.6 представлена последовательность операций, иллюстрирующая процедуру отправки и получения данных между устройством для интерактивного оптического диска и сервером поставщика информации в соответствии с четвертым примером осуществления настоящего изобретения;
На фиг.7 показана таблица смещений видеоаудиоданных в соответствии с настоящим изобретением.
Признаки, элементы и аспекты изобретения, обозначенные на разных чертежах одинаковыми номерами, отражают одинаковые, эквивалентные или сходные признаки, элементы и аспекты одного или более примеров осуществления настоящего изобретения.
5. Примеры осуществления изобретения
На фиг.1 показана связь между устройством для интерактивного оптического диска и сервером поставщика информации, к которым применимо настоящее изобретение. Как показано на данном чертеже, устройство для интерактивного оптического диска, например интерактивный DVD (I-DVD) проигрыватель 100, содержит оптическую головку 11, I-DVD систему 12, микрокомпьютер 13, буферную память 14 и интерфейс Интернета 15.
I-DVD-система 12 предназначена для синхронизации и воспроизведения аудиовидеоданных и содержательной информации, считанных с интерактивного многофункционального цифрового диска (I-DVD) 10, причем интерфейс Интернета 15 соединен с сервером поставщика информации (СР), обозначенным позицией 300, через Интернет 200 путем обеспечения взаимодействия между микрокомпьютером 13 и расширенным навигатором (не показан) в I-DVD системе 12, как показано на фиг.1.
Буферная память 14 предназначена для загрузки и временного хранения различной содержательной информации, в частности различных данных содержательной информации в формате ENAV (ENAV-сокращение от английского Enhanced Navigation – расширенная навигация), например, аудиоданных, относящихся к видеоданным, считанным с интерактивного многофункционального цифрового диска (I-DVD) 10, и переданных с сервера поставщика информации 300. Буферная память 14 может быть логически разделена на первый буфер (Буфер 1) и второй буфер (Буфер 2).
Расширенный навигатор в I-DVD системе 12 предназначен для того, чтобы при воспроизведении аудиовидеопотока и содержательной информации в формате ENAV, считанной с интерактивного многофункционального цифрового диска (I-DVD) 10, воспроизводить другую содержательную информацию в формате ENAV, переданную с сервера поставщика информации 300 синхронно с аудиовидеопотоком, как показано на фиг.2.
Следовательно, пользователь I-DVD проигрывателя 100 может просматривать содержательную информацию в формате ENAV, например, аудиоданные, передаваемые с сервера поставщика информации 300, вместе с потоком аудиовидеоданных и/или содержательной информацией в формате ENAV, считанной с интерактивного многофункционального цифрового диска (I-DVD) 10.
Однако передача содержательной информации в формате ENAV с сервера поставщика информации 300, например, аудиоданных, может быть приостановлена или задержана из-за потери подключения к Интернету или недостаточного объема буферной памяти в I-DVD проигрывателе. В этом случае расширенный навигатор в I-DVD системе 12 выполняет ряд операций по повторной синхронизации потока данных, считанных с интерактивного многофункционального цифрового диска (I-DVD) 10, и аудиоданных, переданных с сервера поставщика информации 300, что подробнее будет описано ниже.
На фиг.3 представлена последовательность операций, иллюстрирующая процедуру отправки и получения данных между устройством для интерактивного оптического диска и сервером поставщика содержательной информации в соответствии с первым примером осуществления настоящего изобретения. Например, когда происходит событие, обусловленное программой или запросом пользователя при воспроизведении аудиовидеопотока с интерактивного многофункционального цифрового диска (I-DVD) 10, загруженного в устройство, как указано ранее, I-DVD проигрыватель 100 инициализирует соединение с сервером поставщика информации 300 по Интернету (S10), а сервер поставщика информации 300 выполняет соответствующую операцию (S11).
После этого I-DVD проигрыватель 100 формирует команду на запрашивание отправки содержательной информации в формате ENAV, например, аудиоданных, соответствующих аудиовидеопотоку, воспроизводимому в данный момент, и отправляет сформированную команду на сервер поставщика информации 300 (S12).
В ответ на команду от I-DVD проигрывателя 100 сервер поставщика информации 300 считывает запрошенные аудиоданные из базы данных (не показана) и затем отправляет их в виде содержательной информации в формате ENAV в I-DVD проигрыватель 100 (S13). I-DVD проигрыватель 100 загружает и временно сохраняет аудиоданные, переданные в виде содержательной информации в формате ENAV от сервера поставщика информации 300 в буферную память 14, а затем воспроизводит сохраненные аудиоданные вместе с видеоданными, считанными с интерактивного многофункционального цифрового диска (I-DVD) 10, синхронизируя их с видеоданными.
В то же время, I-DVD-проигрыватель 100 постоянно обновляет объем аудиоданных или содержательной информации в формате ENAV, загруженной в буферную память 14 (S14). Кроме того, сервер поставщика информации 300 имеет функцию обработки ошибок, направленную против пропаданий соединения с сетью, например таких, как сбои доступа клиентов к Интернету и блокировка из-за превышения лимита времени, а также следит за доступом клиентов к сети.
Если пропадает соединение с сетью, сервер поставщика информации 300 завершает отправку содержательной информации в формате ENAV (S15). Если отправка содержательной информации в формате ENAV завершается, I-DVD проигрыватель 100 проверяет последнюю позицию загрузки буферной памяти 14, например информацию “TotalNumDownloadAudio”, указывающую на смещение аудиоданных, загруженных с сервера поставщика информации 300 и сохраненных в буферной памяти 14, и затем отправляет результат проверки на сервер поставщика информации 300 (S16).
После этого I-DVD проигрыватель 100 формирует команду на запрашивание повторной отправки содержательной информации в формате ENAV, например, команду “Restore” для запрашивания повторной отправки содержательной информации в формате ENAV, являющейся следствием смещения аудиоданных, загруженных в буферную память 14, и затем отправляет сформированную команду на сервер поставщика информации 300 (S17).
Кроме того, сервер поставщика информации 300 распознает позицию записи аудиоданных в момент времени, когда завершается отправка содержательной информации в формате ENAV, с учетом информации “TotalNumDownloadAudio”, полученной по вышеприведенной процедуре, и при получении команды “Restore” отправляет соответствующую команду “ReSynchACK” в I-DVD проигрыватель 100 (S18), считывает содержательную информацию в формате ENAV на распознанной позиции записи и повторно отправляет считанную содержательную информацию в формате ENAV в I-DVD проигрыватель 100 (S19). I-DVD проигрыватель 100 сразу после отправки команды “ReSynchACK” распознает только содержательную информацию в формате ENAV как обычные данные, таким образом, он может выполнить точную повторную синхронизацию данных, считанных с интерактивного многофункционального цифрового диска (I-DVD) 10, и содержательной информации. Эту последовательность операций S15-S19 повторяют каждый раз, когда пропадает соединение с сетью.
Таким образом, даже в случае, когда отправка содержательной информации в формате ENAV с сервера поставщика информации приостановлена или задержана из-за потери подключения к Интернету или из-за недостаточного объема буферной памяти в I-DVD проигрывателе, содержательную информацию в формате ENAV можно обычным образом повторно отправлять/получать через взаимодействие между I-DVD проигрывателем и сервером поставщика информации, как указано выше, так что она может нормально воспроизводиться наряду с данными, считанными с интерактивного многофункционального цифрового диска (I-DVD), при повторной синхронизации со считанными данными.
На фиг.4 представлена последовательность операций, иллюстрирующая процедуру отправки и получения данных между устройством для интерактивного оптического диска и сервером поставщика информации в соответствии со вторым примером осуществления настоящего изобретения. Как уже указывалось выше, I-DVD проигрыватель 100 инициализирует соединение с сервером поставщика информации 300 по Интернету, а сервер поставщика информации 300 осуществляет соответствующее функционирование.
После этого I-DVD проигрыватель 100 формирует команду на запрашивание отправки содержательной информации в формате ENAV, например аудиоданных, соответствующих аудиовидеопотоку, воспроизводимому в данный момент, и выдает сформированную команду на сервер поставщика информации 300.
В ответ на команду от I-DVD проигрывателя 100 сервер поставщика информации 300 извлекает запрошенные аудиоданные из базы данных и затем отправляет их как содержательную информацию в формате ENAV в I-DVD проигрыватель 100. В то же время аудиоданные отправляют как содержательную информацию в формате ENAV в виде пакета данных в формате ENAV, состоящего из информации о смещении видеоданных “V_Offset” и данных в формате ENAV “ENAV Data”, как показано на фиг.4.
Затем I-DVD проигрыватель 100 синхронизирует и воспроизводит аудиовидеопоток, считанный с интерактивного многофункционального цифрового диска (I-DVD) 10, и содержательную информацию в формате ENAV или аудиоданные, загруженные с сервера поставщика информации 300 и временно сохраненные в буферной памяти 14, с учетом информации о смещении видеоданных “V_Offset” в пакете данных в формате ENAV.
С другой стороны, когда отправка аудиоданных через Интернет приостановлена или задержана из-за потери подключения к Интернету, как указано выше, или когда объем аудиоданных, временно хранящихся в буферной памяти 14 и еще не воспроизведенных, равен нулю или меньше заданного опорного значения, I-DVD проигрыватель 100 вычисляет повторно синхронизируемое прогнозируемое значение смещения видеоданных с учетом пропускной способности сети, определяемой скоростью передачи в битах.
Например, если нормально полученное значение смещения видеоданных имеет величину “V_Offset 15”, и синхронизируемое прогнозируемое значение смещения видеоданных имеет величину “V_Offset 20”, то I-DVD проигрыватель 100 формирует команду на запрашивание отправки аудиоданных, соответствующих величине смещения “V_Offset 20”, например, команду “InformVideoOffset” и затем отправляет сформированную команду на сервер поставщика информации 300.
В ответ на команду “InformVideoOffset” сервер поставщика информации 300 ищет позицию записи аудиоданных, соответствующих значению смещения “V_Offset 20”, считывает аудиоданные на найденной позиции записи и отправляет их в I-DVD проигрыватель 100. В то же время аудиоданные отправляют в виде пакета данных в формате ENAV с информацией о смещении видеоданных, указывающей величину смещения “V_Offset 20”.
Таким образом, I-DVD проигрыватель 100 проверяет информацию о смещении видеоданных в пакете данных в формате ENAV, полученном по вышеуказанной процедуре, и повторно синхронизирует и воспроизводит аудиоданные пакета данных в формате ENAV и данные, считанные с интерактивного многофункционального цифрового диска (I-DVD) 10, если значение смещения видеоданных равно значению смещения видеоданных, считываемых и воспроизводимых в данный момент с интерактивного многофункционального цифрового диска (I-DVD) 10.
На фиг.5 представлена последовательность операций, иллюстрирующая процедуру отправки и получения данных между устройством для интерактивного оптического диска и сервером поставщика информации в соответствии с третьим примером осуществления настоящего изобретения. Как утверждалось ранее, I-DVD проигрыватель 100 инициализирует соединение с сервером поставщика информации 300 по Интернету, а сервер поставщика информации 300 осуществляет соответствующее функционирование.
После этого I-DVD проигрыватель 100 формирует команду на запрашивание отправки содержательной информации в формате ENAV, например, аудиоданных, соответствующих аудиовидеопотоку, воспроизводимому в данный момент, и выдает сформированную команду на сервер поставщика информации 300.
В ответ на команду от I-DVD проигрывателя 100 сервер поставщика информации 300 извлекает запрошенные аудиоданные из базы данных и затем отправляет их как содержательную информацию в формате ENAV в I-DVD проигрыватель 100. В то же время аудиоданные отправляют как содержательную информацию в формате ENAV в виде пакета данных в формате ENAV, состоящего из информации о смещении видеоданных “V_Offset” и данных в формате ENAV “ENAV Data”, как показано на фиг.5.
Затем I-DVD проигрыватель 100 синхронизирует и воспроизводит аудиовидеопоток, считанный с интерактивного многофункционального цифрового диска (I-DVD) 10, и содержательную информацию в формате ENAV или аудиоданные, загруженные с сервера поставщика информации 300 и временно сохраненные в буферной памяти 14, с учетом информации о смещении видеоданных “V_Offset” в пакете данных в формате ENAV.
С другой стороны, когда отправка аудиоданных через Интернет приостановлена или задержана из-за потери подключения к Интернету, как указано выше, или когда объем аудиоданных, временно хранящихся в буферной памяти 14 и еще не воспроизведенных, равен нулю или меньше заданного опорного значения, I-DVD проигрыватель 100 автоматически изменяет текущий режим проигрывания на режим включения паузы (Pause On).
Затем I-DVD проигрыватель 100 проверяет нормально полученное значение смещения видеоданных. Например, если нормально полученное значение смещения видеоданных имеет величину “V_Offset 15”, I-DVD проигрыватель 100 формирует команду на запрашивание отправки аудиоданных, соответствующих следующему значению смещения видеоданных “V_Offset 16”, например, команду “InformVideoOffset”, и затем отправляет сформированную команду на сервер поставщика информации 300.
Далее, в ответ на команду “InformVideoOffset” сервер поставщика информации 300 ищет позицию записи аудиоданных, соответствующих значению смещения “V_Offset 16”, считывает аудиоданные на найденной позиции записи и отправляет их в I-DVD проигрыватель 100. В то же время сервер поставщика информации 300 сначала отправляет команду на уведомление о повторной отправке содержательной информации, например команду “ReSynchACK”, а затем отправляет пакет данных в формате ENAV с аудиоданными, содержащий значение смещения “V_Offset 16”.
I-DVD проигрыватель 100 проверяет информацию о смещении видеоданных в пакете данных в формате ENAV, полученном с помощью указанной выше процедуры после получения команды “ReSynchACK”, и автоматически изменяет режим “Pause On” (“Пауза включена”) на режим “Pause Off” (“Пауза отключена”), если значение смещения видеоданных является значением “V_Offset 16” запрошенных аудиоданных.
Кроме того, если значение смещения видеоданных равно значению смещения видеоданных, считанных с интерактивного многофункционального цифрового диска (I-DVD) 10, I-DVD проигрыватель 100 повторно синхронизирует и воспроизводит аудиоданные пакета данных в формате ENAV и данные, считанные с интерактивного многофункционального цифрового диска (I-DVD) 10.
Для справки: информация о смещении видеоданных, отправленная в составе пакета данных в формате ENAV, может быть заменена информацией о времени проигрывания или информацией о смещении аудиоданных. В этом случае, с учетом информации о времени проигрывания или информации о смещении аудиоданных, вместо информации о смещении видеоданных I-DVD проигрыватель и сервер поставщика информации отправляют/получают соответствующие данные в формате ENAV.
На фиг.6 представлена последовательность операций, иллюстрирующая процедуру отправки и получения данных между устройством для интерактивного оптического диска и сервером поставщика информации в соответствии с четвертым примером осуществления настоящего изобретения. Как указывалось ранее, I-DVD-плеер 100 инициализирует подключение к серверу поставщика информации 300 по Интернету, и сервер поставщика информации 300 осуществляет соответствующее функционирование.
После этого I-DVD проигрыватель 100 формирует команду на запрашивание отправки содержательной информации в формате ENAV, например, аудиоданных, соответствующих аудиовидеопотоку, воспроизводимому в данный момент, и выдает сформированную команду на сервер поставщика информации 300.
В то же время, сервер поставщика информации 300 отправляет информацию, представляющую собой таблицу смещений, в I-DVD проигрыватель 100, который сохраняет, например, информацию о времени проигрывания, информацию о смещении видеоданных и информацию о смещении аудиоданных, связанные между собой, как показано на фиг.7.
Кроме того, в ответ на команду от I-DVD проигрывателя 100 сервер поставщика информации 300 извлекает запрошенные аудиоданные из базы данных и затем отправляет их в виде содержательной информации в формате ENAV в I-DVD проигрыватель 100. I-DVD проигрыватель 100 синхронизирует и воспроизводит аудиовидеопоток, считанный с интерактивного многофункционального цифрового диска (I-DVD) 10, а также содержательную информацию в формате ENAV или аудиоданные, загруженные с сервера поставщика информации 300, и временно сохраняет их в буферной памяти 14.
С другой стороны, когда отправка аудиоданных через Интернет приостановлена или задержана из-за потери подключения к Интернету, как указано выше, или когда объем видеоданных, временно хранящихся в буферной памяти 14 и еще не воспроизведенных, равен нулю или меньше заданного опорного значения, I-DVD проигрыватель 100 вычисляет повторно синхронизируемое прогнозируемое значение смещения аудиоданных с учетом пропускной способности сети, определяемой скоростью передачи в битах.
I-DVD проигрыватель 100 проверяет также величину смещения аудиоданных, соответствующую нормально полученным аудиоданным с учетом информации, представляющей собой таблицу смещений, ранее отправленной с сервера поставщика информации 300. Например, если значение смещения аудиоданных, соответствующее нормально полученным аудиоданным, является “A_Offset 15”, а синхронизируемым прогнозируемым значением смещения аудиоданных является “A_Offset 20”, I-DVD проигрыватель 100 формирует команду на запрашивание отправки аудиоданных, соответствующих значению смещения “A_Offset 20”, например, команду “InformAudioOffset”, и затем отправляет сформированную команду на сервер поставщика информации 300.
В ответ на команду “InformAudioOffset” сервер поставщика информации 300 ищет позицию записи аудиоданных, соответствующих значению смещения “A_Offset 20” с учетом информации, представляющей собой таблицу смещений, считывает аудиоданные на найденной позиции записи и отправляет их в I-DVD проигрыватель 100. В то же время сервер поставщика информации 300 сначала отправляет команду на уведомление о повторной отправке содержательной информации, например команду “ReSynchACK”, и затем отправляет аудиоданные, соответствующие значению смещения “A_Offset 20”.
Таким образом, после получения команды “ReSynchACK” I-DVD проигрыватель 100 воспроизводит аудиоданные, отправленные с помощью указанной выше процедуры, при выполнении повторной их синхронизации с данными, считываемыми в данный момент с интерактивного многофункционального цифрового диска (I-DVD) 10.
Для справки: учитывая информацию о времени проигрывания или информацию о смещении видеоданных, вместо информации о смещении аудиоданных I-DVD проигрыватель 100 и сервер поставщика информации 300 могут отправлять/получать соответствующие данные в формате ENAV.
Кроме того, I-DVD проигрыватель 100 может отправлять информацию, касающуюся емкости памяти для содержательной информации в формате ENAV, например, аудиоданных, загруженных в буферную память 14 сервера поставщика информации 300, а сервер поставщика информации 300 может проверять емкость памяти для аудиоданных и регулировать скорость передачи аудиоданных, отправляемых в I-DVD проигрыватель в соответствии с результатами проверки.
Например, в процессе инициализации соединения по Интернету между сервером поставщика информации 300 и I-DVD проигрывателем 100 сервер поставщика информации 300 назначает и отправляет IP-адрес (адрес в соответствии с Протоколом Интернета) и номер порта, необходимые для подключения к I-DVD проигрывателю 100, а I-DVD проигрыватель 100 проверяет текущий доступный объем буфера буферной памяти 14 и отправляет полученную в результате информацию на сервер поставщика информации 300.
Сервер поставщика информации 300 управляет скоростью передачи в битах аудиоданных, отправляемых в I-DVD проигрыватель 100 в соответствии с информацией об объеме буфера от I-DVD проигрывателя 100 так, чтобы предотвратить недогрузку или переполнение аудиоданных, подлежащих сохранению в буферной памяти.
Для справки: IP-адрес и номер порта могут быть отправлены в форме команды “ConnToCtrlServer (char *IP, cha *port)”, а информация об объеме буфера может быть отправлена в форме команды “SendUsableBuffer”.
Кроме того, в случае, когда I-DVD проигрыватель 100 в ответ на запрос пользователя изменяет режим воспроизведения на режим “Pause On” (“Пауза включена”), он формирует команду “SendPauseOn” для уведомления о режиме ‘Pause On” (“Пауза включена”) и отправляет ее на сервер поставщика информации 300. В случае изменения режима ‘Pause On” (“Пауза включена”) на режим “Pause Off” (“Пауза отключена”), он формирует команду “SendPauseOff” для уведомления о режиме “Pause Off” (“Пауза отключена”) и отправляет ее на сервер поставщика информации 300.
Таким образом, сервер поставщика информации приостанавливает или возобновляет отправку аудиоданных в соответствии с режимом работы I-DVD проигрывателя.
Несмотря на то, что предпочтительные примеры осуществления настоящего изобретения были раскрыты в качестве иллюстрации, специалисты в данной области техники поймут, что возможны многочисленные модификации, дополнения и изменения без отступления от сущности и объема изобретения, раскрытого в прилагаемой формуле изобретения. Например, настоящее изобретение применимо к перезаписываемым многофункциональным цифровым дискам (DVD), таким, как DVD-RW и DVD-RAM, или различным носителям информации, а также к интерактивному многофункциональному цифровому диску (I-DVD).
Как очевидно из приведенного выше описания, в настоящем изобретении предложен способ воспроизведения содержательной информации в устройстве для интерактивного оптического диска и способ обеспечения содержательной информации на сервере поставщика информации, в которых устройство для интерактивного оптического диска через Интернет соединяется с сервером поставщика информации для получения различной содержательной информации, поставляемой с сервера поставщика информации, и, даже если отправка содержательной информации с сервера поставщика информации в устройство для интерактивного оптического диска приостановлена или задержана, то содержательная информация, повторно отправленная с сервера поставщика информации, и поток данных, считанный с интерактивного DVD, повторно синхронизируются и воспроизводятся, так что пользователь устройства для интерактивного оптического диска может нормально просматривать больше разнообразной содержательной информации.
Формула изобретения
1. Способ воспроизведения содержательной информации в устройстве для интерактивного оптического диска, содержащий операции
a) синхронизации и воспроизведения данных, считанных с интерактивного оптического диска, и содержательной информации, отправленной и загруженной с сервера поставщика информации, подключенного через Интернет;
b) формирования команды на запрашивание повторной отправки конкретной содержательной информации с учетом конкретной информации, содержащейся в нормально воспроизведенной последней содержательной информации, если отправка содержательной информации с сервера поставщика информации приостановлена или задержана, и отправки сформированной команды на сервер поставщика информации; и
c) воспроизведения конкретной содержательной информации, повторно отправленной с сервера поставщика информации в ответ на указанную команду, вместе с данными, считанными с интерактивного оптического диска, при повторной ее синхронизации с данными, считанными с интерактивного оптического диска.
2. Способ по п.1, в котором конкретная информация, содержащаяся в нормально воспроизведенной последней содержательной информации, включает, по меньшей мере, одно из следующего: информацию о времени проигрывания, информацию о смещении содержательной информации или информацию о смещении данных, считанных с интерактивного оптического диска.
3. Способ по п.2, в котором операция b) включает
b-1) проверку конкретной информации, содержащейся в нормально воспроизведенной последней содержательной информации, если отправка содержательной информации с сервера поставщика информации приостановлена или задержана;
b-2) вычисление информации, касающейся повторно синхронизируемой содержательной информации, на основе проверенной конкретной информации; и
b-3) формирование команды на запрашивание повторной отправки конкретной содержательной информации, соответствующей вычисленной информации, касающейся повторно синхронизируемой содержательной информации, и отправку сформированной команды на сервер поставщика информации.
4. Способ по п.3, в котором информацию, касающуюся повторно синхронизируемой содержательной информации, вычисляют с учетом текущей пропускной способности сети, определяемой скоростью передачи в битах.
5. Способ по п.3, в котором команда на запрашивание повторной отправки конкретной содержательной информации включает параметр, причем указанный параметр представляет собой информацию, касающуюся повторно синхронизируемой содержательной информации.
6. Способ по п.3, в котором операция с) включает
с-1) извлечение конкретной информации из конкретной содержательной информации, повторно отправленной с сервера поставщика информации; и
с-2) повторную синхронизацию и воспроизведение данных, считанных с интерактивного оптического диска, и повторно отправленной конкретной содержательной информации, основанной на извлеченной конкретной информации.
7. Способ по п.6, в котором операция с) дополнительно включает получение команды на уведомление о повторной отправке конкретной содержательной информации с сервера поставщика информации, перед выполнением операции с-1).
8. Способ по п.2, в котором на операции b)
b-1) определяют, является ли объем содержательной информации, загруженной в буферную память устройства для интерактивного оптического диска и еще не воспроизведенной, меньше заданного опорного значения, если отправка содержательной информации с сервера поставщика информации приостановлена или задержана;
b-2) автоматически приостанавливают работу интерактивного оптического диска по воспроизведению данных, если размер содержательной информации, загруженной в буферную память и еще не воспроизведенной, ниже заданного опорного значения; и
b-3) формируют команду на запрашивание повторной отправки конкретной содержательной информации с учетом конкретной информации, содержащейся в нормально воспроизведенной последней содержательной информации, и отправляют сформированную команду на сервер поставщика информации.
9. Способ по п.8, в котором операция b-3) включает
b-3-1) проверку конкретной информации, содержащейся в нормально воспроизведенной последней содержательной информации;
b-3-2) вычисление информации, касающейся содержательной информации, следующей после нормально воспроизведенной последней содержательной информации, на основе проверенной конкретной информации; и
b-3-3) формирование команды на запрашивание повторной отправки конкретной содержательной информации, соответствующей вычисленной информации, и отправку сформированной команды на сервер поставщика информации.
10. Способ по п.9, в котором команда на запрашивание повторной отправки конкретной содержательной информации включает параметр, причем указанный параметр представляет собой информацию, касающуюся конкретной содержательной информации, следующей за нормально воспроизведенной последней содержательной информацией.
11. Способ по п.8, в котором операция с) включает
с-1) получение команды на уведомление о повторной отправке конкретной содержательной информации с сервера поставщика информации;
с-2) извлечение конкретной информации из конкретной содержательной информации, повторно отправленной с сервера поставщика информации, после получения команды на уведомление о повторной отправке; и
с-3) повторную синхронизацию и воспроизведение данных, считываемых с интерактивного оптического диска, и повторно отправленной конкретной содержательной информации, основанной на извлеченной конкретной информации.
12. Способ обеспечения содержательной информации на сервере поставщика информации, содержащий операции
a) последовательной отправки пакетов данных, содержащих содержательную информацию, отправка которой запрашивается устройством для интерактивного оптического диска, подключенным через Интернет, и конкретную информацию, касающуюся указанной содержательной информации, отправка которой запрашивается;
b) получение команды на запрашивание повторной отправки конкретной содержательной информации от устройства для интерактивного оптического диска, если отправка запрошенной содержательной информации приостановлена или задержана; и
c) повторной отправки пакета данных, содержащего конкретную содержательную информацию и касающуюся ее конкретную информацию, в устройство для интерактивного оптического диска в ответ на указанную команду.
13. Способ по п.12, в котором отправленная содержательная информация представляет собой аудиоданные, подлежащие воспроизведению синхронно с видеоданными, считываемыми с интерактивного оптического диска в устройстве для интерактивного оптического диска.
14. Способ по п.12, в котором конкретная содержательная информация включает, по меньшей мере, одно из следующего: информацию о времени проигрывания, информацию о смещении содержательной информации или информацию о смещении данных, считываемых с интерактивного оптического диска.
15. Способ по п.12, в котором команда на запрашивание повторной отправки конкретной содержательной информации включает параметр, причем указанный параметр представляет собой информацию, касающуюся конкретной содержательной информации.
16. Способ по п.15, в котором операция с) включает
с-1) поиск позиции данных, соответствующих информации, касающейся конкретной содержательной информации;
с-2) отправку команды на уведомление о повторной отправке конкретной содержательной информации в устройство для интерактивного оптического диска; и
с-3) считывание конкретной содержательной информации на указанной позиции и повторную отправку пакета данных, содержащего конкретную содержательную информацию и конкретную информацию, касающуюся ее, в устройство для интерактивного оптического диска.
17. Способ воспроизведения содержательной информации в устройстве для интерактивного оптического диска, включающий операции
a) загрузки информации, представляющей собой таблицу смещений с сервера поставщика информации, подключенного через Интернет, и управление ею;
b) синхронизации и воспроизведения содержательной информации, отправленной и загруженной с сервера поставщика информации и данных, считанных с интерактивного оптического диска;
c) формирования команды на запрашивание повторной отправки конкретной содержательной информации с учетом информации, представляющей собой таблицу смещений, если отправка содержательной информации с сервера поставщика информации приостановлена или задержана, и отправки сформированной команды на сервер поставщика информации; и
d) воспроизведения конкретной содержательной информации, повторно отправленной с сервера поставщика информации в ответ на указанную команду, вместе с данными, считанными с интерактивного оптического диска, при повторной ее синхронизации с данными, считанными с интерактивного оптического диска.
18. Способ по п.17, в котором информация, представляющая собой таблицу смещений, включает информацию о времени проигрывания, информацию о смещении данных, считанных с интерактивного оптического диска, и информацию о смещении содержательной информации, связанные между собой.
19. Способ по п.17, в котором операция с) включает
с-1) извлечение информации, касающейся нормально воспроизведенной последней содержательной информации, из информации, представляющей собой таблицу смещений, если отправка содержательной информации с сервера поставщика информации приостановлена или задержана;
с-2) вычисление информации, касающейся повторно синхронизируемой содержательной информации, основанной на извлеченной информации; и
с-3) формирование команды на запрашивание повторной отправки конкретной содержательной информации, соответствующей вычисленной информации, касающейся повторно синхронизируемой содержательной информации, и отправку сформированной команды на сервер поставщика информации.
20. Способ по п.19, в котором информацию, касающуюся указанной повторно синхронизируемой содержательной информации, вычисляют с учетом текущей пропускной способности сети, определяемой скоростью передачи в битах.
21. Способ по п.19, в котором команда на запрашивание повторной отправки конкретной содержательной информации включает параметр, причем указанный параметр представляет собой информацию, касающуюся повторно синхронизируемой содержательной информации.
22. Способ по п.17, в котором операция d) включает
d-1) получение команды на уведомление о повторной отправке конкретной содержательной информации с сервера поставщика информации; и
d-2) воспроизведение конкретной содержательной информации, повторно отправленной с сервера поставщика информации, вместе с данными, считанными с интерактивного оптического диска, при выполнении ее повторной синхронизации с данными, считанными с интерактивного оптического диска, после получения команды на уведомление о повторной отправке.
23. Способ по п.1 или 17, в котором содержательная информация, отправленная с сервера поставщика информации, представляет собой аудиоданные, а данные, считанные с интерактивного оптического диска, включают видеоданные.
24. Способ обеспечения содержательной информации на сервере поставщика информации, включающий
a) отправку информации, представляющей собой таблицу смещений и касающейся содержательной информации, отправка которой запрашивается устройством для интерактивного оптического диска, подключенным через Интернет;
b) последовательную отправку содержательной информации, отправка которой запрашивается устройством для интерактивного оптического диска, если отправка информации, представляющей собой таблицу смещений, завершена;
c) получения от устройства для интерактивного оптического диска команды на запрашивание повторной отправки конкретной содержательной информации, если отправка запрошенной содержательной информации приостановлена или задержана; и
d) повторной отправки конкретной содержательной информации в устройство для интерактивного оптического диска в ответ на указанную команду.
25. Способ по п.24, в котором отправленная содержательная информация представляет собой аудиоданные, подлежащие воспроизведению синхронно с видеоданными, считанными с интерактивного оптического диска, в устройстве для интерактивного оптического диска.
26. Способ по п.24, в котором информация, представляющая собой таблицу смещений, включает информацию о времени проигрывания, информацию о смещении данных, считанных с интерактивного оптического диска, и информацию о смещении содержательной информации, связанные между собой.
27. Способ по п.24, в котором команда на запрашивание повторной отправки конкретной содержательной информации включает параметр, причем указанный параметр представляет собой информацию, касающуюся конкретной содержательной информации.
28. Способ по п.27, в котором операция d) включает
d-1) поиск позиции данных, соответствующих информации, касающейся конкретной содержательной информации;
d-2) отправка команды на уведомление о повторной отправке конкретной содержательной информации в интерактивное оптическое дисковое устройство; и
d-3) считывание конкретной содержательной информации на указанной позиции и повторную ее отправку в устройство для интерактивного оптического диска.
29. Способ воспроизведения содержательной информации в устройстве для интерактивного оптического диска, включающий операции
a) синхронизации и воспроизведения данных, считанных с интерактивного оптического диска, и содержательной информации, отправленной и загруженной с сервера поставщика информации, подключенного через Интернет; и
b) отправки на сервер поставщика информации команды на запрашивание регулировки скорости передачи в битах содержательной информации, если объем содержательной информации, загруженной в буферную память устройства для интерактивного оптического диска и еще не воспроизведенной, меньше или равен первому заданному опорному значению или больше или равен второму заданному опорному значению.
30. Способ по п.29, в котором операция а) включает
а-1) установление через Интернет соединения с сервером поставщика информации, на котором имеется содержательная информация, подлежащая воспроизведению синхронно с данными, считанными с интерактивного оптического диска;
а-2) формирование команды на запрашивание отправки содержательной информации на основании информации, необходимой для соединения и отправленной с сервера поставщика информации, и отправки сформированной команды на сервер поставщика информации; и
а-3) синхронизацию и воспроизведение содержательной информации, отправленной и загруженной с сервера поставщика информации в ответ на указанную команду на запрашивание отправки, и данных, считанных с интерактивного оптического диска.
31. Способ по п.30, в котором информация, необходимая для соединения и отправленная с сервера поставщика информации, включает адрес в соответствии с Протоколом Интернета (IP) и номер порта сервера поставщика информации.
32. Способ по п.29, в котором команда на запрашивание регулировки скорости передачи в битах содержательной информации включает параметр, причем указанный параметр представляет собой доступный объем буферной памяти.
33. Способ обеспечения содержательной информации на сервере поставщика информации, включающий операции
a) последовательной отправки содержательной информации, отправка которой запрашивается устройством для интерактивного оптического диска, подключенным через Интернет; и
b) регулировки скорости передачи в битах в ответ на команду на запрашивание регулировки скорости передачи в битах содержательной информации, если от устройства для интерактивного оптического диска получена указанная команда, и отправки запрошенной содержательной информации с отрегулированной скоростью передачи в битах.
34. Способ по п.33, в котором операция а) включает
а-1) отправку информации, необходимой для подключения к устройству для интерактивного оптического диска, если соединение от устройства для интерактивного оптического диска устанавливают через Интернет; и
а-2) последовательную отправку содержательной информации, отправка которой запрашивается устройством для интерактивного оптического диска, если от устройства для интерактивного оптического диска получена команда на запрашивание отправки содержательной информации.
35. Способ по п.34, в котором информация, необходимая для соединения, включает IP-адрес и номер порта сервера поставщика информации.
36. Способ по п.33, в котором команда на запрашивание регулировки скорости передачи в битах содержательной информации включает параметр, причем указанный параметр представляет собой доступный объем буферной памяти интерактивного оптического дискового устройства.
37. Способ по п.36, в котором операция b) включает
b-1) вычисление новой скорости передачи в битах с учетом указанного параметра команды, текущей скорости передачи в битах и скорости воспроизведения содержательной информации, если от устройства для интерактивного оптического диска получена команда на запрашивание регулировки указанной скорости передачи в битах содержательной информации; и
b-2) отправку содержательной информации с вычисленной скоростью передачи в битах.
РИСУНКИ
|