|
|
(21), (22) Заявка: 2005118674/12, 16.06.2005
(24) Дата начала отсчета срока действия патента:
16.06.2005
(43) Дата публикации заявки: 27.12.2006
(46) Опубликовано: 20.01.2008
(56) Список документов, цитированных в отчете о поиске:
US 4865287 А, 12.09.1989. US 2794414 А, 04.07.1957. US 1733011 А, 22.10.1929. US 1815353 А, 21.07.1931. US 1203937 А, 07.11.1916. US 1648220 А, 08.11.1927. US 4378888 A, 05.04.1983.
Адрес для переписки:
115569, Москва, ул. Шипиловская, 5, кв.182, О.И. Брик
|
(72) Автор(ы):
Кудрявцев Игорь Иванович (RU)
(73) Патентообладатель(и):
Кудрявцев Игорь Иванович (RU)
|
(54) УСТРОЙСТВО ДЛЯ КРЕПЛЕНИЯ ФЛАГОВ (ВАРИАНТЫ)
(57) Реферат:
Изобретение относится к конструкции устройств, предназначенных для крепления флагов на установочных поверхностях, например, на стенах зданий, поверхностях фонарных столбов. Устройство для крепления флагов содержит основание, выполненное в виде пластины, и присоединенные к основанию веерообразно расположенные держатели флагов. Каждый держатель выполнен в виде стакана с расположенным по его высоте гнездом для установки древка флага. Держатель охвачен обручами, два из которых размещены на его верхней и нижней концевых частях. Над каждым держателем над входом в гнездо установлен упор с выемкой. Поверхность выемки образует дополнительную опору для древка флага. Держатели и упоры выполнены заодно с пластиной с образованием единой монолитной детали. Устройство может крепиться на плоской поверхности, например, на стене здания, или на криволинейной поверхности, например, на столбе или колонне. Изобретение позволяет повысить устойчивость флагов, устанавливаемых в держателях, обеспечивает прочность и надежность конструкции. 2 н. и 15 з.п. ф-лы, 6 ил.
Изобретение относится к конструкции устройств, предназначенных для крепления флагов на установочных поверхностях, например на стенах зданий, поверхностях фонарных столбов и т.д.
Известно устройство для крепления флагов на поверхности стены, содержащее основание, служащее для размещения на установочной поверхности, и присоединенный к основанию держатель флага (см. патент US №5829731, Кл. G09F 17/00, 1998 г.).
Известное устройство обеспечивает возможность крепления в нем только одного флага, т.е. не предусматривает возможность установки сразу нескольких флагов. Конструкция устройства имеет пространственную форму, в связи с чем усложняется его транспортировка и хранение, причем устройство выполнено из нескольких соединяемых между собой деталей, что усложняет процесс его изготовления. Конструкция держателя не позволяет обеспечить надежное поддержание флага в необходимом положении особенно при сильном ветре.
Известно устройство для крепления флагов, содержащее основание, имеющее средство для установки на поверхности оконного стекла, и шарнирно присоединенный к основанию держатель флага (см. патент GB №2270185, Кл. G09F 17/00, 1994 г.).
Устройству по патенту GB №2270185 присущи те же недостатки, что и конструкции по патенту US №5829731.
Ближайшим аналогом к заявляемому устройству как по первому, так и по второму вариантам, является устройство для крепления флагов, содержащее основание, служащее для размещения на установочной поверхности, и присоединенные к основанию веерообразно расположенные держатели флагов (см. патент US №5309862, Кл. G09F 17/00, 1994 г.).
В известном устройстве держатели флагов установлены на основании посредством планки, с которой они соединены шарнирно, и дополнительно поддерживаются тягами, шарнирно присоединенными одним концом к держателю, а другим – к планке. Угол наклона держателей к оси планки в вертикальной плоскости может регулироваться.
Конструкция известного устройства обеспечивает возможность крепления в нем только двух флагов. При этом устройство имеет значительное количество собираемых друг с другом деталей, в связи с чем усложняются процесс его изготовления и условия его эксплуатации. Шарнирное крепление несущих деталей устройства к основанию – планке делает конструкцию недостаточно устойчивой и прочной особенно при сильном ветре. Конструктивное выполнение держателей таково, что установленные в них флаги очень близко прилегают к установочной поверхности, что не позволяет им занять традиционно принятое положение по отношению к этой поверхности, как это реализовано, например, в патенте US №5829731.
Технический результат, который может быть достигнут при использовании каждого из заявляемых в качестве изобретения вариантов выполнения устройства для крепления флагов, заключается в повышении устойчивости флагов, устанавливаемых в держателях, в повышении прочности и надежности конструкции, в упрощении изготовления устройства, его хранения и транспортировки, в обеспечении возможности установки флагов в традиционно принятом положении, а именно под углом к установочной поверхности. Изобретение позволяет также расширить эксплуатационные возможности устройства, поскольку его конструкция позволяет установить на лицевой поверхности основания любое требуемое количество держателей.
Для достижения указанного технического результата в соответствии с первым вариантом выполнения предлагается устройство для крепления флагов, содержащее основание, выполненное в виде пластины и служащее для размещения на установочной поверхности, и присоединенные к основанию веерообразно расположенные держатели флагов. Согласно предлагаемому изобретению держатели флагов закреплены на лицевой стороне пластины и каждый из них выполнен в виде стакана с расположенным по его высоте гнездом для установки древка флага, ось гнезда расположена под острым углом к лицевой стороне пластины, держатель охвачен, по меньшей мере, тремя обручами, два из которых размещены на его верхней и нижней концевых частях, над каждым держателем установлен упор с выемкой, поверхность которой образует дополнительную опору для древка флага, при этом поверхность тыльной стороны пластины выполнена плоской, а держатели и упоры выполнены заодно с пластиной с образованием единой монолитной детали.
В соответствии со вторым вариантом выполнения предлагается устройство для крепления флагов, содержащее основание, выполненное в виде пластины и служащее для размещения на установочной поверхности, и присоединенные к основанию веерообразно расположенные держатели флагов. Держатели флагов закреплены на лицевой стороне пластины и каждый из них выполнен в виде стакана с расположенным по его высоте гнездом для установки древка флага, ось гнезда расположена под острым углом к лицевой стороне пластины, держатель охвачен, по меньшей мере, тремя обручами, два из которых размещены на его верхней и нижней концевых частях, над каждым держателем установлен упор с выемкой, поверхность которой образует дополнительную опору для древка флага, при этом поверхность тыльной стороны пластины имеет криволинейную конфигурацию, соответствующую конфигурации установочной поверхности, а держатели и упоры выполнены заодно с пластиной с образованием единой монолитной детали.
При обоих вариантах выполнения устройства могут быть предусмотрены следующие особенности выполнения.
Каждый держатель имеет конусообразную форму и обращен большим основанием в сторону упора.
Устройство имеет четное количество держателей, которые установлены симметрично относительно продольной оси пластины.
Устройство имеет нечетное количество держателей, при этом один из них установлен по продольной оси основания, а остальные установлены симметрично относительно продольной оси основания.
Держатели установлены под одинаковыми или под разными углами по отношению друг к другу.
Оси гнезд расположены под одинаковыми или под разными углами к лицевой поверхности пластины.
Форма поперечного сечения гнезда соответствует форме поперечного сечения древка флага.
Упор выполнен заодно с держателем.
В пластине на уровне расположения донных частей гнезд держателей выполнены отверстия для стока скопившейся в гнезде влаги, сообщающиеся с донными частями гнезд.
Пластина имеет средства для крепления устройства на несущей поверхности.
На тыльной стороне пластины закреплена, как минимум, одна вакуумная присоска для крепления устройства на установочной поверхности.
По второму варианту выполнения поверхность тыльной стороны пластины может иметь дугообразную форму.
Предлагаемая конструкция держателей благодаря особенностям выполнения гнезда для установки флага, а также использованию упоров для создания дополнительной опоры для древка флага позволяет обеспечить устойчивое положение флагов в держателях и придать им традиционно принятое положении, а именно под углом к установочной поверхности. Выполнение держателей в виде стаканов с охватывающими их снаружи обручами, а также выполнение упоров и держателей заодно с пластиной с образованием единой монолитной детали повышает надежность и прочность конструкции устройства, упрощает его изготовление, хранение и транспортировку, а также дает возможность размещать на основании любое приемлемое количество держателей.
Изобретение поясняется чертежами, где:
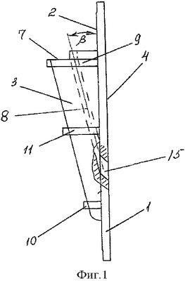
на фиг.1 изображено предлагаемое устройство, содержащее три держателя, вид сбоку;
на фиг.2 – устройство, содержащее три держателя, вид спереди;
на фиг.3 – устройство, содержащее два держателя, вид сбоку;
на фиг.4 – устройство, содержащее два держателя, вид спереди;
на фиг.5 – устройство, содержащее два держателя, вид сверху;
на фиг.6 – упор, вид сверху.
Устройство для крепления флагов содержит основание, служащее для размещения на установочной поверхности и выполненное в виде пластины 1, и закрепленные на лицевой стороне 2 пластины 1 и веерообразно расположенные держатели 3 флагов. Согласно первому варианту выполнения устройства тыльная сторона 4 пластины 1 выполняется плоской (фиг.2). Такие пластины используются в устройствах, которые размещаются на плоских поверхностях стен зданий, информационных щитов и т.д. По второму варианту выполнения поверхность тыльной стороны 4 пластины 1 имеет криволинейную конфигурацию (фиг.3, 4 и 5), соответствующую конфигурации установочной поверхности. Такие пластины используются в устройствах, которые устанавливаются на криволинейных поверхностях, например на столбах, колоннах и т.д. При установке на несущие объекты цилиндрической формы тыльной стороне 4 пластины 1 придается дугообразная форма.
На пластине может быть закреплено любое желаемое количество держателей (как четное, так и нечетное). В случае использования четного количества держателей 3 предпочтительно устанавливать их симметрично относительно продольной оси 5 пластины 1. При использовании нечетного количества держателей 3, один из них крепится по продольной оси 5 пластины 1, а остальные – симметрично относительно продольной оси пластины 1. Однако эти предпочтительные варианты крепления не исключают возможность использования и других вариантов установки держателей, например несимметрично или без размещения одного из держателей по продольной оси 5 пластины 1. Держатели 3 могут быть установлены под одинаковыми или под разными углами по отношению друг к другу, причем угол установки может иметь любую приемлемую величину.
Каждый держатель 3 выполнен в виде стакана с расположенным внутри него и по его высоте гнездом 6, в которое устанавливается древко флага. Преимущественно держатель имеет конусообразную форму и обращен большим основанием 7 вверх, т.е. гнездо 6 открыто для приема древка флага со стороны большего основания держателя. Держатель 3 может иметь и любую другую приемлемую форму, например цилиндрическую, при этом на лицевой поверхности 2 одной пластины 1 могут быть установлены держатели 3 разной формы.
Форма поперечного сечения гнезда 6 преимущественно соответствует форме поперечного сечения древка флага. Однако формы поперечного сечения гнезда 6 и древка флага могут не совпадать. Например, в гнезде, имеющем в сечении форму многоугольника, можно установить древко флага, имеющее в сечении форму круга.
Ось 8 каждого гнезда 6 расположена под острым углом к лицевой стороне 2 пластины 1, при этом вершина острого угла расположена в нижней части пластины. Угол может быть различным по величине, и его значение выбирается в зависимости от того, какой угол наклона флагов по отношению к установочной поверхности является желательным. Кроме того, оси 8 гнезд 6 могут быть расположены под одинаковыми углами к лицевой поверхности 2 пластины 1. В этом случае, все установленные в держателях флаги будут наклонены к поверхности 2 под одним углом. Оси 8 гнезд 6 могут быть расположены и под разными углами к лицевой поверхности 2 пластины 1, и тогда все установленные в держателях флаги будут наклонены к поверхности 2 под разными углами к основанию.
Каждый держатель 3 охватывает три обруча, при этом два концевых обруча 9 и 10 размещены на верхней и нижней концевых частях держателя, а промежуточный обруч 11 расположен в средней части держателя. Количество промежуточных обручей, располагаемых между концевыми обручами, может быть более одного.
Над каждым держателем 3 (со стороны входа в гнездо 6) установлен упор 12 с выемкой 13. Упор 12 может быть установлен как на некоторой высоте от верхнего основания 7 держателя, так и примыкать к этому основанию. В последнем случае упор 12 может выполняться заодно с держателем 3. Поверхность 14 выемки 13 образует опорную поверхность для древка флага. Таким образом, упор 12 служит дополнительной опорой для древка. Предпочтительно форма выемки 13 должна соответствовать форме поперечного сечения гнезда и древка. В этом случае и при условии примыкания упора 12 к основанию 7 поверхность гнезда 6 будет плавно переходить в поверхность 14 выемки. При выполнении гнезда с цилиндрической поверхностью поверхность выемки выполняется дугообразной с радиусом дуги, равным радиусу окружности поперечного сечения гнезда. Если указанное выше соответствие между формой выемки и формой поперечного сечения гнезда и древка не будет предусмотрено, то в любом случае выемка 13 должна иметь такую глубину, а ее поверхность должна иметь такую форму, которые обеспечат контакт древка флага с поверхностью 14 и создадут дополнительную опору для древка.
Держатели 3 с обручами 9, 10 и 11 и упоры 12 выполнены заодно с пластиной 1 с образованием единой монолитной детали.
В пластине на уровне расположения донных частей гнезд 6 держателей 3 выполнены отверстия 15 для стока скопившейся в гнезде 6 влаги. Каждое отверстие сообщается с гнездом 6 в той его части, которая находится непосредственно над дном гнезд, и выходит наружу с тыльной стороны пластины 1.
Пластина 1 имеет средства 16 для крепления устройства на несущей поверхности. В случае облегченного варианта выполнения устройства при использовании его для установки небольших флажков в качестве крепежного средства могут быть использованы вакуумные присоски.
Пластина 1 со своей тыльной стороны 4 может иметь окна в зоне участков гнезд 6, находящихся между обручами 9, 10 и 11. Окна сообщаются с гнездами 6 держателей 3. При чистке засорившихся гнезд такие окна используются для удаления счищаемых загрязнений из гнезда.
Устройство, тыльная сторона основания которого имеет плоскую поверхность, закрепляется на стене здания или на любой другой плоской поверхности. Для того чтобы обеспечить установку устройства на криволинейной поверхности, например на поверхности столба, колонны и т.д., тыльную сторону основания выполняют с соответствующей криволинейной поверхностью. Флаги устанавливают в держателях путем размещения древка флага в гнезде держателя. При этом за счет наклона осей гнезд держателей к лицевой поверхности основания флаги располагаются под углом к поверхности стены здания.
При попадании влаги в гнездо держателя и ее скоплении в донной части гнезда происходит удаление влаги из гнезда через предусмотренное в основании отверстие.
Формула изобретения
1. Устройство для крепления флагов, характеризующееся тем, что оно содержит основание, выполненное в виде пластины и служащее для размещения на установочной поверхности, и веерообразно установленные на лицевой стороне пластины держатели флагов, каждый из которых выполнен в виде стакана с расположенным по его высоте гнездом, имеющим цилиндрическую поверхность, для установки древка флага, ось гнезда расположена под острым углом к лицевой стороне пластины, держатель охвачен, по меньшей мере, тремя обручами, два из которых размещены на его верхней и нижней концевых частях, причем над каждым держателем над входом в гнездо установлен упор, имеющий выемку, поверхность которой образует дополнительную опору для древка флага, а каждый из держателей имеет конусообразную форму и обращен большим основанием в сторону упора, который выполнен заодно с держателем и примыкает к его большему основанию, при этом поверхность тыльной стороны пластины выполнена плоской, а держатели с обручами и упоры выполнены заодно с пластиной с образованием единой монолитной детали.
2. Устройство по п.1, характеризующееся тем, что оно имеет четное количество держателей, которые установлены симметрично относительно продольной оси пластины.
3. Устройство по п.1, характеризующееся тем, что оно имеет нечетное количество держателей, при этом один из них установлен по продольной оси пластины, а остальные установлены симметрично относительно этой оси.
4. Устройство по п.1, характеризующееся тем, что держатели установлены под одинаковыми или под разными углами по отношению друг к другу.
5. Устройство по п.1, характеризующееся тем, что оси гнезд расположены под одинаковыми или под разными углами к лицевой поверхности пластины.
6. Устройство по п.1, характеризующееся тем, что в пластине на уровне расположения донных частей гнезд держателей стаканов выполнены отверстия для стока скопившейся в гнезде влаги, сообщающиеся с донными частями гнезд.
7. Устройство по п.1, характеризующееся тем, что пластина имеет средства для крепления устройства на несущей поверхности.
8. Устройство по п.1, характеризующееся тем, что на тыльной стороне пластины закреплена как минимум одна вакуумная присоска для крепления устройства на установочной поверхности.
9. Устройство для крепления флагов, характеризующееся тем, что оно содержит основание, выполненное в виде пластины и служащее для размещения на установочной поверхности, и веерообразно установленные на лицевой стороне пластины держатели флагов, каждый из которых выполнен в виде стакана с расположенным по его высоте гнездом, имеющим цилиндрическую поверхность для установки древка флага, ось гнезда расположена под острым углом к лицевой стороне пластины, держатель охвачен, по меньшей мере, тремя обручами, два из которых размещены на его верхней и нижней концевых частях, причем над каждым держателем над входом в гнездо установлен упор, имеющий выемку, поверхность которой образует дополнительную опору для древка флага, а каждый из держателей имеет конусообразную форму и обращен большим основанием в сторону упора, который выполнен заодно с держателем и примыкает к его большему основанию, при этом поверхность тыльной стороны пластины имеет криволинейную конфигурацию, соответствующую конфигурации установочной поверхности, держатели с обручами и упоры выполнены заодно с пластиной с образованием единой монолитной детали.
10. Устройство по п.9, характеризующееся тем, что оно имеет четное количество держателей, которые установлены симметрично относительно продольной оси пластины.
11. Устройство по п.9, характеризующееся тем, что оно имеет нечетное количество держателей, при этом один из них установлен по продольной оси пластины, а остальные установлены симметрично относительно этой оси.
12. Устройство по п.9, характеризующееся тем, что держатели установлены под одинаковыми или под разными углами по отношению друг к другу.
13. Устройство по п.9, характеризующееся тем, что оси гнезд расположены под одинаковыми или под разными углами к лицевой поверхности пластины.
14. Устройство по п.9, характеризующееся тем, что в пластине на уровне расположения донных частей гнезд держателей стаканов выполнены отверстия для стока скопившейся в гнезде влаги, сообщающиеся с донными частями гнезд.
15. Устройство по п.9, характеризующееся тем, что пластина имеет средства для крепления устройства на несущей поверхности.
16. Устройство по п.9, характеризующееся тем, что на тыльной стороне пластины закреплена как минимум одна вакуумная присоска для крепления устройства на установочной поверхности.
17. Устройство по п.9, характеризующееся тем, что поверхность тыльной стороны пластины имеет дугообразную форму.
РИСУНКИ
MM4A – Досрочное прекращение действия патента СССР или патента Российской Федерации на изобретение из-за неуплаты в установленный срок пошлины за поддержание патента в силе
Дата прекращения действия патента: 17.06.2008
Извещение опубликовано: 20.06.2010 БИ: 17/2010
|
|