|
|
(21), (22) Заявка: 2005139578/28, 23.04.2004
(24) Дата начала отсчета срока действия патента:
23.04.2004
(30) Конвенционный приоритет:
26.05.2003 NO 20032347
(43) Дата публикации заявки: 10.06.2006
(46) Опубликовано: 20.01.2008
(56) Список документов, цитированных в отчете о поиске:
WO 0105476 A, 25.01.2001. WO 9300647 А, 07.01.1993. US 4510496 А, 09.04.1985. SU 1808136 A3, 07.04.1993.
(85) Дата перевода заявки PCT на национальную фазу:
26.12.2005
(86) Заявка PCT:
NO 2004/000111 (23.04.2004)
(87) Публикация PCT:
WO 2004/104969 (02.12.2004)
Адрес для переписки:
191186, Санкт-Петербург, а/я 230, “АРС-ПАТЕНТ”, пат.пов. М.В.Хмаре, рег. № 771
|
(72) Автор(ы):
АЛМАС Гейр Арне (NO), ХЕЛЬГЕЙ Кьелл Эгил (NO)
(73) Патентообладатель(и):
ТЕЕКАЙ НОРВЕЙ АС (NO)
|
(54) СПОСОБ И МОДЕЛИРУЮЩЕЕ УСТРОЙСТВО ДЛЯ ТРЕНИРОВКИ ЛОЦМАНА СУДНА
(57) Реферат:
Изобретение относится к тренажерным средствам и направлено на обеспечение возможности тренировки лоцмана на борту судна, снабженного средствами для динамического позиционирования. Этот результат обеспечивается за счет того, что при реализации способа сигнал, представляющий расстояние от судна до утяжеленного буя или другого объекта, передают на управляющую систему, предназначенную для удержания судна в определенном положении относительно объекта, при этом согласно изобретению – способу – величину указанного сигнала изменяют на другую величину и передают сигнал, имеющий измененную величину, на управляющую систему. В измерительной системе изобретения – моделирующего устройства – предусмотрен преобразователь, выполненный с возможностью приема представляющего расстояние сигнала, генерирования нового сигнала, имеющего измененную величину, и подачи измененного сигнала на управляющую систему. 2 н.п. ф-лы, 3 ил.
Область техники, к которой относится изобретение
Изобретение относится к способу и моделирующему (имитирующему) устройству, более конкретно к тренажеру для тренировки лоцмана судна в использовании так называемого динамического позиционирования.
Уровень техники
Динамическое позиционирование (в дальнейшем сокращенно именуемое ДП) корабля или иного судна включает в себя текущий контроль за положением судна с привязкой к системе отсчета, а также приведение в действие движительного машинного оборудования и механизмов управления судном таким образом, чтобы судно оставалось в требуемом положении. Для осуществления ДП были разработаны определенные системы, которые применяются на судах, используемых в связи с разработкой морских месторождений нефти.
Система отсчета для определения положения может включать в себя передатчики, расположенные на морском дне, на буях, судах или на берегу, а также передатчики на спутниках, совершающих полет по орбите земли.
ДП интенсивно используется применительно к танкерам, которые соединены с утяжеленным буем или другим судном в открытом море с целью транспортировки нефти. Такое позиционирование осуществляется в сравнительно малом промежутке между судном и утяжеленным буем или между двумя судами и требует специальных знаний и опыта лоцмана.
Известен способ тренировки лоцманов или стажеров на тренажере, например тренировки штурманов по заходу и выходу из порта. Тренировка на тренажере также известна в других областях, например в области пилотирования летательными аппаратами.
Очевидна возможность конструирования тренажерного устройства, на котором лоцман судна или стажер смог бы практиковаться в маневрировании и удержании большого танкера утяжеленным буем или другим судном при помощи ДП. Преимущество такой тренировки во многом зависит от того, воспринимает ли лоцман тренажер как реальное оборудование. На практике это означает, что тренажер должен содержать область, оборудованную как судовой мостик, в которой лоцман может ощущать реалистическое движение судна. Однако такие тренажеры чрезвычайно дороги в производстве и обслуживании. Кроме того, для прохождения практики на тренажерах необходимо, чтобы лоцман оставил судно.
Раскрытие изобретения
Задача изобретения заключается в создании способа и моделирующего устройства, используемого на борту судна, снабженного средствами для динамического позиционирования, которые могли бы быть использованы лоцманом или стажером для практики в использовании динамического позиционирования.
Поставленная задача решается за счет признаков, отраженных в последующем описании и формуле изобретения.
Моделирующее устройство или тренажер согласно изобретению предусматривает использование самого судна и оборудования ДП, уже установленного на борту судна. В соответствии с изобретением оборудование ДП может быть подразделено на два основных блока: измерительную систему и управляющую систему.
Измерительная система собирает измеренные данные и вычисляет положение судна в системе отсчета, а также подает на управляющую систему сигнал, представляющий расстояние между судном и объектом, например, утяжеленным буем или другим судном. Положение объекта измерительной системе известно, даже в случае перемещения объекта.
Согласно изобретению указанный сигнал изменяют до его передачи на управляющую систему таким образом, что измененный сигнал представляет иное, обычно меньшее расстояние, чем расстояние, вычисленное измерительной системой.
Тем самым система ДП может представлять такие изображения и данные на экране, как если бы судно находилось ближе к объекту, даже когда судно расположено на большом расстоянии от объекта. Лоцман судна способен позиционировать и ориентировать судно и регулировать параметры системы ДП, немедленно видя результат на экранных изображениях системы ДП. При позиционировании судна на расстоянии тысячи метров от объекта и изменении упомянутого сигнала, представляющего расстояние, таким образом, что он будет представлять расстояние в сотню метров, лоцман судна может практиковаться в условиях, как если бы расстояние до объекта составляло только сотню метров. Экранные изображения системы ДП покажут, что судно находится ближе к объекту, а сигналы предупреждения, тревоги и другие пользовательские данные будут поступать от системы ДП, как если бы расстояние составляло только сотню метров.
Таким образом обеспечивается возможность тренировки лоцмана судна в реалистической среде, в реальных погодных условиях и в точности на том же оборудовании, которое лоцман будет иметь в своем распоряжении в реальной ситуации. Тренировка может проводиться, например, во время ожидания судном свободного места около утяжеленного буя.
Краткое описание чертежей
В дальнейшем изобретение описывается более подробно посредством предпочтительного примера осуществления со ссылками на сопроводительные чертежи, на которых:
фиг.1 изображает стоящее на якоре накопительное судно и танкер, находящийся на расстоянии от накопительного судна;
фиг.2 представляет в упрощенном виде изображение экрана;
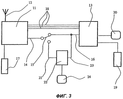
фиг.3 представляет в упрощенном виде блок-схему системы динамического позиционирования с дополнительной обработкой представляющего расстояние сигнала.
Осуществление изобретения
На фиг.1 позицией 1 обозначено накопительное судно, прикрепленное к опорной точке 2 якорным канатом 3. Положение накопительного судна 1 относительно опорной точки 2 изменяется в зависимости от ветра и текущих условий. Датчик 4 выдает сигналы, которые могут быть уловлены приемником 5 на танкере 6, оборудованном системой ДП. Танкер 6 временно соединен с накопительным судном 1 для перекачки нефти через систему гибких трубопроводов (не показана). Во время перекачки нефти танкер 6 расположен относительно близко к накопительному судну 1, как показано пунктирными линиями на фиг.1.
Установленная на танкере 6 система ДП может управляться с пульта управления, содержащего по меньшей мере один дисплейный экран, на котором система ДП отображает положение танкера 6 относительно накопительного судна 1 наподобие того, как это показано на фиг.2. В круговой области 7 линий румба 8 показаны накопительное судно 1 и танкер 6, а также часть градуированной сетки 9, относящейся к накопительному судну 1, на которой лоцман может прочитать курсовой угол и расстояние между судном 1 и танкером 6.
Информационные окна 10 предоставляют информацию, соответствующую информации градуированной сетки 9, а также данные о ветре, течениях, запуске двигателя и другую необходимую лоцману информацию.
Система ДП схематически изображена на фиг.3, где измерительная система 11 включает приемник (не показан), связанный с антенной 12 для приема сигналов от датчика 4 на накопительном судне 1 (фиг.1), вычисляет расстояние от накопительного судна 1 до танкера 6 и генерирует представляющий расстояние сигнал, который передается на управляющую систему 13 через первое соединение 14, переключатель 15 и второе соединение 16.
Измерительная система 11 далее соединена с датчиками 17 на танкере 6 и выполнена с возможностью вычисления и передачи сигналов измерений для сообщения данных об азимутальном угле, скорости, запуске двигателя управляющей системе 13 через соединения 18. Управляющая система 13 соединена с исполнительными механизмами 19 для обеспечения запуска движительного машинного оборудования, а также с управляющими механизмами танкера 6. Управляющая система 13 связана с пультом управления 20.
Переключатель 15 предназначен для избирательного направления представляющего расстояние сигнала, выводимого измерительной системой 11 на первое соединение 14, на второе соединение 16, связанное со входом управляющей системы 13, или направления указанного сигнала от измерительной системы 11 на третье соединение 21, связанное с входом преобразователя 22.
Преобразователь 22 выполнен с возможностью приема первого представляющего расстояние сигнала, преобразования его во второй представляющий расстояние сигнал, который представляет величину расстояния, отличную от величины расстояния, представляемого первым сигналом. Преобразователь 22 выводит указанный второй сигнал на четвертое соединение 23, связанное со вторым соединением 16, как показано на фиг.3. Преобразователь 22 связан с пультом управления 24, с которого может быть задано преобразование сигнала.
При установке переключателя 15 для направления первого представляющего расстояние сигнала от измерительной системы 11 на преобразователь 22, а также при дополнительной установке преобразователя 22 для генерирования второго представляющего расстояние выходного сигнала, который представляет меньшее расстояние, чем указанный первый сигнал, пульт управления 20 системы ДП отобразит, что танкер 6 находится ближе к накопительному судну 1, как показано на фиг.2, даже если расстояние между судном 1 и танкером 6 будет значительно больше.
Возвращаясь к фиг.1, пульт управления системы ДП может отображать ситуацию, соответствующую нахождению танкера 6 в положении, показанном пунктирными линиями, вместо действительного положения, в котором танкер изображен сплошной линией. Лоцман танкера 6 или стажер могут таким образом на безопасном расстоянии практиковаться в маневрировании танкером 6 относительно накопительного судна при помощи системы ДП.
Формула изобретения
1. Способ тренировки лоцмана судна (6) в использовании динамического позиционирования, в котором сигнал, представляющий расстояние от судна (6) до утяжеленного буя или другого объекта (1), передают на управляющую систему (13), предназначенную для удержания судна (6) в определенном положении относительно объекта (1), отличающийся тем, что величину указанного сигнала изменяют на другую величину и передают сигнал, имеющий измененную величину, на управляющую систему (13).
2. Моделирующее устройство для тренировки лоцмана судна (6) в использовании динамического позиционирования, в котором измерительная система (11) выдает сигнал, представляющий расстояние от судна (6) до утяжеленного буя или другого объекта (1), а управляющая система (13), принимающая сигнал, выполнена с возможностью приведения в действие движительного машинного оборудования и управляющих механизмов судна (6) для удержания судна (6) в определенном положении относительно объекта (1), отличающееся тем, что предусмотрен преобразователь (22), выполненный с возможностью приема представляющего расстояние сигнала, генерирования нового сигнала, имеющего измененную величину, и подачи измененного сигнала на управляющую систему (13).
РИСУНКИ
|
|