|
|
(21), (22) Заявка: 2006116884/09, 19.04.2004
(24) Дата начала отсчета срока действия патента:
19.04.2004
(30) Конвенционный приоритет:
17.10.2003 (пп.1, 5-17, 23-24) US 10/688,670 17.10.2003 (пп.35, 41-58, 60-61) US 10/688,725 09.01.2004 (01.36-40, 59) US 60/535,359 09.01.2004 (пп.2-4, 18-22) US 60/535,366
(46) Опубликовано: 20.01.2008
(56) Список документов, цитированных в отчете о поиске:
RU 2189283 C1, 20.09.2002. RU 2175633 C1, 10.11.2001. US 4552350 A, 12.11.1985. US 4822018 А, 18.04.1989. US 6315194 A, 13.11.2001. US 6331000 A, 18.12.2001.
(85) Дата перевода заявки PCT на национальную фазу:
17.05.2006
(86) Заявка PCT:
US 2004/012271 (19.04.2004)
(87) Публикация PCT:
WO 2005/041135 (06.05.2005)
Адрес для переписки:
129010, Москва, ул. Б. Спасская, 25, стр.3, ООО “Юридическая фирма Городисский и Партнеры”, пат.пов. Ю.Д.Кузнецову, рег.№ 595
|
(72) Автор(ы):
ГРАФ Томас Х. (US), УТЦ Захарий (US), ШЕФФЛЕР Дэниел П. (US), ГРИГГИ Шон (US), РАМАЧАНДРАН Натараджан (US)
(73) Патентообладатель(и):
ДАЙБОЛД, ИНКОРПОРЕЙТЕД (US)
|
(54) АВТОМАТИЗИРОВАННЫЙ БАНКОВСКИЙ АППАРАТ ВЫДАЧИ НАЛИЧНЫХ ДЕНЕГ С РАЗБОРКОЙ СТОПОК И ПОДТВЕРЖДЕНИЕМ ПОДЛИННОСТИ БАНКНОТ
(57) Реферат:
Изобретение относится к банковским аппаратам, выдающим листы финансовых инструментов пользователям аппаратов. Техническим результатом является обеспечение возможности обработки листов финансовых инструментов в банковском аппарате и обеспечение повышенной защиты. Аппарат включает в себя пользовательский интерфейс, содержащий устройство считывания кредитных карточек, отверстие принтера квитанций, отверстие для выдачи наличности и отверстие для приема вкладов, захватывающий элемент предназначен для отделения по одной банкноте от стопки банкнот, вводимых в аппарат, бесконтактные и контактные ролики листоотделительного элемента обеспечивают перемещение в основном одной банкноты. Листоотделительные элементы могут приводиться в действие так, чтобы перемещать совместно захваченные банкноты, относительно банкноты, взаимодействующей с листоотделительным элементом, чтобы изменить положение банкнот и облегчить отделение банкноты в последующих попытках захвата. 6 н. и 55 з.п. ф-лы, 30 ил.
Область техники, к которой относится изобретение
Настоящее изобретение относится к автоматизированным банковским аппаратам. В частности, настоящее изобретение относится к автоматизированным банковским аппаратам, которые могут принимать от пользователя листы финансовых инструментов, как-то банкноты, чеки и другие документы. Настоящее изобретение также относится к автоматизированным банковским аппаратам, которые выдают листы финансовых инструментов пользователям аппаратов. Настоящее изобретение также относится к улучшенным пользовательским интерфейсам таких автоматизированных банковских аппаратов.
Уровень техники
Общим типом автоматизированного банковского аппарата, используемого потребителями, является банкомат (ATM). Банкоматы позволяют клиентам проводить банковские операции. Банковские операции, проводимые с использованием банкоматов, могут включать в себя выдачу наличных денег, осуществление вкладов, перевод денежных средств между счетами и запросы состояния счета. Типы банковских операций, которые может проводить пользователь, определяются возможностями конкретного банковского аппарата и программированием, осуществляемым учреждением, управляющим аппаратом.
Другие типы автоматизированных банковских аппаратов могут управляться торговыми фирмами для проведения коммерческих операций. Такие операции могут включать в себя, например, получение депозитных пакетов, прием чеков или других финансовых инструментов, выдачу позолоченной монеты или другие операции, требуемые торговыми фирмами. Другие типы автоматизированных банковских аппаратов могут использоваться поставщиками услуг в среде банковских операций, например в банке для проведения финансовых операций. Такие операции могут включать в себя, например, подсчет и хранение денежных банкнот или других листов финансовых инструментов, формирование изображения чеков или других финансовых инструментов, и другие типы операций поставщика услуг. Для целей настоящего описания подразумевается, что автоматизированный банковский аппарат включает в себя любой аппарат, который может быть использован для проведения операций, связанных с переводом ценностей.
Чтобы обрабатывать листы финансовых инструментов, требуются различные типы автоматизированных банковских аппаратов. Такие листы могут включать в себя, например, банкноты, чеки или другие документы, которые представляют стоимостное выражение. В некоторых случаях листы финансовых инструментов могут иметь свойства, варьирующиеся от листа к листу. Например, некоторые листы могут быть новыми и хрустящими, тогда как другие, которые являются равно действительными, могут быть использованными и потертыми. Альтернативно, листы финансовых инструментов могут быть различных типов и иметь различные свойства. Они могут включать в себя, например, комбинации документов, как, например, банкноты и чеки, которые могут состоять из различных типов бумаги или пластика. Механизмы, которые могут быстро и надежно отделять каждый отдельный лист от стопки, особенно в ситуациях, когда листы имеют разнообразные свойства, оказываются сложными.
Автоматизированные банковские аппараты часто располагаются в местоположениях, которые иногда не обслуживаются банковскими служащими или представителями других организаций, владеющих аппаратами. В таких случаях желательны возможности защиты, чтобы затруднить злоумышленникам доступ к аппарату для получения доступа к ценным листам финансовых инструментов, которые могут в нем находиться.
Некоторые автоматизированные банковские аппараты работают в условиях, когда они открыты для воздействия тех или иных факторов. В таких ситуациях дождь или снег могут попадать в отверстия аппарата и вызывать проблемы. Сказанное особенно относится к чувствительным механизмам внутри аппарата, который обрабатывает листы финансовых инструментов.
Автоматизированные банковские аппараты полезны, потому что они выполняют банковские функции в основном быстро и надежно. Однако существуют ситуации, в которых аппараты должны прекратить работу для профилактического обслуживания или ремонтного обслуживания. В таких случаях желательно позволить уполномоченному обслуживающему персоналу завершить деятельность по обслуживанию как можно быстрее. Это желательно делать путем обеспечения возможности легкого доступа внутрь аппарата для уполномоченного обслуживающего персонала, при этом минимизируя риск неразрешенного доступа для злоумышленников.
Таким образом, существует необходимость в автоматизированных банковских аппаратах с улучшенными свойствами, относящимися к обработке листов финансовых инструментов, включая устойчивость к погодным условиям, безопасность и возможности технического обслуживания.
Сущность изобретения
Задача приведенного для примера варианта осуществления настоящего изобретения заключается в создании автоматизированного банковского аппарата.
Другая задача приведенного для примера варианта осуществления настоящего изобретения заключается в создании автоматизированного банковского аппарата, имеющего улучшенные возможности для обработки листов финансовых инструментов.
Следующая задача приведенного для примера варианта осуществления настоящего изобретения заключается в создании автоматизированного банковского аппарата, который обеспечивает повышенную защиту.
Другая задача приведенного для примера варианта осуществления настоящего изобретения заключается в создании автоматизированного банковского аппарата, облегчающего работу пользователя.
Следующая задача приведенного для примера варианта осуществления настоящего изобретения заключается в создании автоматизированного банковского аппарата, имеющего повышенную устойчивость к погодным воздействиям.
Другая задача приведенного для примера варианта осуществления настоящего изобретения заключается в создании автоматизированного банковского аппарата, который обеспечивает улучшенный доступ к услугам.
Другие задачи приведенных для примера вариантов осуществления настоящего изобретения поясняются в последующих предпочтительных вариантах осуществления изобретения и прилагаемой формулы изобретения.
Некоторые из вышеупомянутых задач выполняются в приведенном для примера варианте осуществления изобретения посредством автоматизированного банковского аппарата, который представляет собой банкомат (“ATM”). Банкомат включает в себя пользовательский интерфейс, который включает в себя устройства ввода для приема идентификационных входных данных, которые идентифицируют пользовательские счета, а также входных данных от пользователей, которые вызывают выполнение аппаратом функций транзакций. Пользовательский интерфейс дополнительно включает в себя одно или несколько устройств ввода, которые выводят знаки, такие как инструкции для пользователя в процессе работы аппарата.
Пример осуществления включает в себя механизм приемника наличности, который может принимать стопку документов от пользователя. В примере осуществления, стопка документов может включать в себя стопку банкнот различных достоинств или стопку, содержащую смешанные типы листов финансовых инструментов, таких как банкноты и чеки. Чтобы идентифицировать и обрабатывать указанные листы финансовых инструментов, пример осуществления включает в себя механизм, который действует так, чтобы отделять каждый лист отдельно от стопки. В примере осуществления это совершается посредством перемещения захватывающего элемента, который включает в себя множество участков зацепления листов, которые зацепляют первый лист, ограничивающий стопку, и вызывают перемещение листа в первом направлении. В примере осуществления, участки зацепления листов отделяются посредством канавок, которые проходят вдоль первого направления. Чтобы снизить риск того, что какие-либо листы, отличные от первого листа, могут отделиться от стопки, первый листоотделительный участок, по существу, выравнивается, по меньшей мере, с одной канавкой. Первый листоотделительный участок зацепляет первый лист на его лицевой стороне, противоположной лицевой стороне листа, зацепленного участками зацепления листов. Первый листооделительный участок в основном не находится в контакте зацепления для листоотделения с захватывающим элементом и остается расположенным на достаточном расстоянии от него, позволяя первому листу проходить в промежуточном положении между захватывающим элементом и первым листоотделительным участком.
В примере осуществления, зацепление первого листа с захватывающим элементом и первым листоотделительным участком действует так, чтобы придать листу волнообразную форму поперечного сечения. Придание указанной волнообразной формы поперечного сечения и силы, прикладываемые захватывающим элементом и первым листоотделительным участком, действуют в основном для отделения первого листа, ограничивающего стопку, от других листов в стопке.
В примере осуществления, предусмотрен второй листоотделительный участок, взаимодействующий с первым листом при его перемещении в первом направлении после того, как лист был зацеплен первым листоотделительным участком. Второй листоотделительный участок в основном зацепляется в контакте зацепления для листоотделения с захватывающим элементом. Второй листоотделительный участок смещается в сторону захватывающего элемента с силой, препятствующей листам, отличным от первого листа, перемещающегося в первом направлении, перемещаться мимо второго листоотделительного участка, тогда как первый лист может проходить между захватывающим элементом и вторым листоотделительным участком. В примере осуществления, относительное перемещение захватывающего элемента в зацеплении листоотделения со вторым листоотделительным участком действует в большинстве случаев так, чтобы отделять от первого листа дополнительные листы, которые не были отделены первым листоотделительным участком. Например, листы финансовых инструментов могут иметь различные фрикционные свойства и свойства жесткости от листа к листу. По этой причине листы, которые не отделяются действием захватывающего элемента и первого листоотделительного участка, будут часто отделяться действием захватывающего элемента и второго листоотделительного участка.
В варианте воплощения, захватывающий элемент содержит, по существу, цилиндрический элемент с расположенными на нем дугообразными высокофрикционнными сегментами для зацепления листа. Высокофрикционные сегменты в примере осуществления отделяются кольцевыми канавками. В примере осуществления, первый листоотделительный участок включает в себя поверхность из множества роликов, которые располагаются в основном противоположно, но не в контакте зацепления с кольцевыми канавками. Ролики первого листоотделительного элемента служат в качестве бесконтактного листоотделительного элемента, и в первом примере осуществления каждый из них находится в оперативном соединении с односторонней муфтой сцепления, которая сопротивляется движению роликов во вращательном направлении, в котором ролики вынуждаются перемещаться, когда первый лист отделяется от стопки. Однако односторонние муфты сцепления обеспечивают возможность легкого перемещения листа в противоположном направлении так, чтобы вернуть лист в стопку. Указанная операция может быть выполнена в некоторых вариантах осуществления, когда обнаруживается, что были захвачены перекрывающиеся двойные листы и желательно перевернуть листы в попытке отделить все, кроме одного листа. В первом варианте осуществления второй листоотделительный участок служит в качестве контактного листоотделительного элемента и включает в себя поверхность, по меньшей мере, из одного контактного листоотделительного ролика, который смещается в зацеплении листоотделения с участком зацепления листа захватывающего элемента. Аналогично, контактный листоотделительный ролик первого варианта осуществления находится в оперативном соединении с односторонней муфтой сцепления так, чтобы сопротивляться перемещению листа, удаляемого из стопки для отделения листа, при обеспечении возможности перемещения листа для возврата его в стопку.
В некоторых альтернативных вариантах осуществления, один или оба листооделительных элемента могут приводиться в движение одним или несколькими приводами в координированной зависимости с захватывающим элементом. В таких примерах осуществления указанные листоотделительные элементы могут приводиться в движение так, чтобы изменять форму листов для облегчения их отделения. Например, в некоторых примерах осуществления, листы могут быть ориентированы в стопке, так что листы располагаются относительно друг друга таким образом, чтобы затруднить отделение листов. Например, если лист, расположенный на дне стопки, должен быть отделен посредством перемещения в первом направлении захватывающим элементом, и такой нижний лист примыкает к вышележащему листу, который значительно выдвинут в первом направлении относительно нижележащего листа, то можно столкнуться с трудностью при разделении двух листов, если только они не будут переориентированы так, чтобы вышележащий лист был расположен наравне с первым листом или сдвинут назад по сравнению с первым листом относительно направления захвата.
Это можно выполнить в некоторых вариантах осуществления посредством селективного приведения в действие одного или более листоотделительных элементов, когда множество счетов воспринимаются как имеющие возможность проходить через листоотдельные элементы. В таких случаях, направление захватывающих элементов и одного или более листоотделительных элементов может реверсироваться, но при этом один или оба листоотделительных элемента приводятся в действие так, что листоотделительный элемент перемещает вышележащий лист в направлении, противоположном направлению захвата, дальше, чем захватывающий элемент перемещает нижележащий лист. Это может быть сделано несколькими способами, включая, например, то, что листоотделяющий элемент или элементы вызывают перемещение к стопке, когда лист, ограничивающий стопку, удерживается в неподвижном состоянии захватывающим элементом. Альтернативно, как захватывающий элемент, так и один или оба листоотделительных элемента могут перемещать множество перекрывающихся листов обратно к стопке, но при этом листоотделительные элементы перемещаются так, чтобы приводить в действие вышележащие листы с более высокой скоростью и, таким образом, на большее расстояние. Альтернативно или дополнительно, листоотделительные элементы могут перемещать вышележащий лист к стопке за более длительный период времени, таким образом перемещая лист, лежащий поверх нижнего листа, который должен быть отделен, на большее расстояние. Конечно, могут использоваться другие подходы для перемещения вышележащего листа относительно листа, который должен быть захвачен так, чтобы облегчить отделение листа, когда захватывающий элемент снова вызывает перемещение листа, ограничивающего стопку, в направлении захвата. Однако должно быть понятно, что указанные компоновки являются иллюстративными и в других вариантах осуществления могут использоваться другие подходы.
Вариант осуществления банкомата дополнительно включает в себя корпус. Корпус включает в себя приборную панель, включающую в себя элементы пользовательского интерфейса и проходящую через наружную стену конструкции. Корпус банкомата внутри конструкции включает в себя защищенную камеру в нижней части корпуса. В варианте осуществления, камера представляет и имеет в основном L-образную форму поперечного сечения. В примере осуществления, L-образная камера имеет механизм приема листов, такой как устройство приема наличности, расположенное в поддерживающем соединении с камерой. Механизм приема наличности анализирует листы, которые уже отделены от стопки в результате действия захватывающего элемента и листоотделительных элементов, для направления листов так, чтобы они складывались на хранение в аппарате в камере через отверстие в верхней поверхности камеры. В примере осуществления, механизм приема наличности подвижным образом монтируется в поддерживающем соединении с камерой так, чтобы при открытии предусмотренной для обслуживания дверцы корпуса механизм приема наличности мог бы выдвигаться назад для целей технического обслуживания.
В примере осуществления, вследствие того что механизм приема наличности располагается снаружи защищенной камеры и может быть сдвинут для открытия отверстия, принимаются меры предосторожности для минимизации риска того, что злоумышленники получат доступ к листам финансовых инструментов в камере через отверстие приема наличности. Это выполняется в примере осуществления путем обеспечения средства транспортировки, которое перемещает листы финансовых инструментов, транспортированные в камеру из устройства приема наличности, в направлении, поперечном отверстию для приема наличности в камере. После перемещения в поперечном направлении относительно отверстия для приема наличности листы транспортируются в механизм хранения банкнот, который может состоять из отсеков хранения, или в другие механизмы для обработки листов. В примере осуществления, в промежуточном положении между средством транспортировки, которое перемещает листы поперечно от отверстия камеры, и механизмом хранения банкнот предусмотрена защитная пластина. Защитная пластина снижает возможность доступа злоумышленнику к хранимым листам через отверстие для приема наличности. Далее, в примере осуществления, движущая сила для средства транспортировки обеспечивается посредством зацепления ведущего элемента приема наличности с ведомым элементом через отверстие для приема наличности. Присутствие этих элементов внутри отверстия дополнительно загораживает отверстие и снижает риск того, что злоумышленник сможет получить доступ к хранимым листам финансовых инструментов.
В примере осуществления механизм приема наличности снабжен желобом для приема стопок документов от пользователя. В рабочем положении механизма приема наличности доступ к желобу контролируется посредством заслонки. Вместе с тем должно быть понятно, что необходимо, чтобы аппарат открывал заслонку, чтобы позволить пользователю класть листы в желоб или забирать их из него. В некоторых условиях, дождь, снег или влага могут попадать в желоб, когда заслонка открыта. Наличие дождя, снега или влаги в желобе может создавать помехи работе аппарата. Чтобы минимизировать указанный риск, в нижней поверхности внутренности желоба предусмотрено водосборное отверстие. Водосборное отверстие обеспечивает сбор влаги, которая может попасть в желоб, и собранная влага направляется в водосток, который сообщается с внешней средой корпуса аппарата. В рассматриваемом примере осуществления, водосток обеспечивается через нижнюю поверхность приборной панели. Также, поскольку механизм приема наличности является подвижным, предусмотрена упругая прокладка вокруг желоба и приборной панели. В рабочем положении механизма приема наличности упругая прокладка обеспечивает герметичное уплотнение, так что вода, снег или другие компоненты не могут проникать внутрь корпуса через отверстие в приборной панели, через которое желоб проходит в его рабочем положении.
Механизм приема наличности обеспечивает сохранение неприемлемых листов как предположительно поддельных банкнот в зоне хранения подозрительных банкнот вне защищенной камеры. Санкционированные служащие, имеющие доступ к зоне корпуса вне защищенной камеры, могут удалять эти неприемлемые листы. Чтобы облегчить удаление таких подозрительных листов санкционированными служащими, обеспечивается легко доступное запирающее устройство. В некоторых вариантах осуществления могут быть обеспечены блокирующие механизмы не только для зоны корпуса вне защищенной камеры, но также может быть обеспечен отдельный блокирующий механизм для отдельного отсека, в котором хранятся неприемлемые листы. Тем самым гарантируется, что к неприемлемым листам имеют доступ только санкционированные служащие, при этом, по-прежнему гарантируя, что другие санкционированные служащие могут иметь доступ к соответствующим компонентам аппарата без доступа к хранимым неприемлемым листам.
Механизм приема наличности дополнительно включает в себя закрывающие панели, которые в основном окружают компоненты с механизмом. Указанные закрывающие панели, находясь в рабочем положении, снижают риск проникновения грязи или других загрязняющих веществ в механизм, они также снижают риск повреждения механизма вследствие неосторожного обращения при обслуживании компонентов. В примере осуществления такие закрывающие панели выполнены легко открывающимися посредством шарнирных или скользящих приспособлений, которые позволяют панелям открываться, когда механизм находится в положении технического обслуживания. В примере осуществления используется такой способ установки закрывающих панелей, чтобы облегчить доступ к компонентам модуля приема наличности, гарантируя при этом, что панели будут вновь установлены после завершения операций по ремонту. Тем самым гарантируется, что выгоды, обеспеченные закрывающими панелями, не теряются нечаянным образом, вследствие сбоя в повторной установке указанных панелей после завершения ремонта.
В некоторых примерах осуществления, денежные листы, принятые механизмом приема наличности, сохраняются в выбранных отсеках. Тем самым обеспечивается возможность хранения каждого типа листов в отдельном отсеке. В некоторых вариантах осуществления, обеспечиваются механизмы для повторной выдачи таких листов из отсека так, чтобы обеспечить оборот действительных листов. В альтернативных вариантах осуществления, листы, которые были проверены механизмом приема наличности, сохраняются в одном или нескольких контейнерах хранения. В альтернативных вариантах осуществления, листы, которые признаны действительными механизмом приема наличности, сохраняются в одном или нескольких контейнерах для хранения. В некоторых примерах осуществления, контейнеры для хранения включают в себя внутреннюю зону, которая ограничивается на нижнем конце подвижным встряхивающим элементом. Встряхивающий элемент поддерживает вложенные листы во внутренней зоне. Приводной механизм оперативно соединен с встряхивающим элементом для встряхивания вложенных предметов внутри контейнера. Это облегчает рассредоточение и осадку предметов, с тем, чтобы способствовать сохранению максимального числа предметов в контейнере. В некоторых примерах осуществления, контейнер может удаляться из аппарата. В других примерах осуществления, контейнер включает в себя опоры качения и выдвижную рукоятку, установленную для облегчения перемещения контейнера из аппарата, когда он заполнен вложенными предметами. Хотя пример осуществления описан в отношении хранения листов, эти принципы могут применяться к хранению других предметов, таких как билеты и конверты депозитов.
В некоторых примерах осуществления аппарата, пользовательский интерфейс включает в себя цветные светоизлучающие приборы, чтобы облегчить работу пользователя с аппаратом. В некоторых примерах осуществления, светоизлучающие приборы селективно управляются, по меньшей мере, одним контроллером в аппарате для излучения света нужного цвета в ответ на состояние ассоциированных устройств функции операции. Например, контроллер может действовать, указывая пользователю местоположение на пользовательском интерфейсе, где от пользователя требуется выполнить некоторое действие, относящееся к операции. В некоторых примерах осуществления, светоизлучающие приборы селективно испускают зеленый, желтый и красный свет и могут действовать для указания статуса или состояния конкретного устройства. Альтернативно, светоизлучающие приборы могут излучать мигающий свет того же или различных цветов с варьируемыми скоростями для передачи информации или облегчения пользования аппаратом.
В некоторых примерах осуществления, пользовательский интерфейс аппарата обеспечивается горизонтально размещенными выпуклыми зеркалами, расположенными вертикально над пользовательским интерфейсом. Указанные зеркала располагаются для облегчения возможности пользователю аппарата обозревать область сзади себя или рядом. Тем самым снижается вероятность того, что люди, находящиеся вблизи пользователя, не будут замечены пользователем, проводящим операции на аппарате. Горизонтально размещенные выпуклые зеркала расположены внешним образом относительно источника света, который освещает пользовательский интерфейс, облегчая работу пользователя. Это снижает риск ослепления и содействует наблюдению пользователем области, обозримой в зеркалах. В некоторых примерах осуществления могут быть обеспечены средства, определяющие необходимость очистки одного или нескольких зеркал, и предусмотрены чистящие механизмы.
Другие новые аспекты раскрытых примеров осуществления поясняются в последующем подробном описании. Понятно, что описанные признаки являются иллюстративными, и в других вариантах осуществления могут использоваться другие подходы, которые, однако, используют заявленные признаки и взаимосвязи.
Краткое описание чертежей
Фиг.1 – вид спереди приборной панели примера осуществления автоматизированного банковского аппарата.
Фиг.2 – схематичный вид сбоку компонентов внутри корпуса банкомата, показанного на фиг.1.
Фиг.3 – еще один схематичный вид сбоку компонентов внутри корпуса банкомата, показанного на фиг.1.
Фиг.4 – вид механизма укладки листов в стопку, который может быть использован в примере осуществления банкомата.
Фиг.5 – еще один вид иллюстративного механизма укладки листов в стопку, который может быть использован для удержания множества типов листов.
Фиг.6 – вид сзади корпуса банкомата, соответствующего примеру осуществления.
Фиг.7 – схематичный вид примера осуществления механизма для отделения листов от стопки листов финансовых инструментов, помещенной в банкомат.
Фиг.8 – вид спереди в плане иллюстративного захватывающего элемента в комбинации с множеством неконтактных роликов листоотделительного элемента и контактным роликом листоотделительного элемента, используемым для отделения единичных листов от стопки.
Фиг.9 – схематичный вид, показывающий отделение первого листа от стопки листов посредством работы механизма, показанного на фиг.7.
Фиг.10 – вид, показывающий волнообразную форму поперечного сечения, придаваемую листу посредством действия захватывающего элемента и неконтактных роликов листоотделительного элемента.
Фиг.11 – схематичный вид, показывающий механизм приема наличности, перемещаемый в положение технического обслуживания и открывающий отверстие для приема наличности в верхней части камеры банкомата.
Фиг.12 – схематичный вид механизма приема наличности, выдвинутого для технического обслуживания, подобно фиг.11, с первым вариантом осуществления дверцы для доступа в открытом положении для обеспечения доступа к неприемлемым листам, которые были идентифицированы посредством работы механизма приема наличности.
Фиг.13 – вид банкомата, подобного фиг.12, но с альтернативным механизмом доступа для обеспечения доступа к неприемлемым листам.
Фиг.14 – еще один вид банкомата, подобного фиг.12, показывающий еще один альтернативный механизм для обеспечения доступа к неприемлемым листам.
Фиг.15 – схематичный вид механизма приема наличности с первой формой панели обслуживания, показанной в открытом положении для целей технического обслуживания.
Фиг.16 – вид механизма приема наличности, подобного фиг.15, но с альтернативной формой панели обслуживания, показанной в положении доступа.
Фиг.17 – схематичный вид в поперечном сечении желоба для приема и удаления стопки листов через приборную панель, включающего в себя устройства для сбора и стока воды, которая может попадать в желоб.
Фиг.18 – внешний вид в изометрии механизма приема наличности, представленного на фиг.17, включающий в себя пространственное представление водостока, используемого для отвода воды, собранной в желобе, наружу относительно аппарата.
Фиг.19 – схематичный вид уплотнительной системы, используемой в примере осуществления для минимизации риска загрязнений, проникающих в аппарат через отверстие в приборной панели аппарата, через которое желоб проходит в рабочем положении механизма приема наличности.
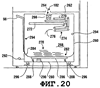
Фиг.20 – прозрачное представление сбоку альтернативной формы механизма для приема и хранения листов финансовых инструментов, которые уже обработаны механизмом приема наличности.
Фиг.21 – пространственные представления контейнера для размещения финансовых инструментов, показанного на фиг.20, выдвинутого за пределы аппарата.
Фиг.22 – схематичный вид светоизлучающего устройства, предназначенного для облегчения использования аппарата пользователями.
Фиг.23 – увеличенный вид светоизлучающего устройства, показанного на фиг.22.
Фиг.24 – схематичный вид светоизлучающих диодов, входящих в состав светоизлучающего устройства.
Фиг.25 – вид в поперечном сечении гибкого полотна, включающего в себя диоды в светоизлучающем устройстве.
Фиг.26 – пространственное представление приборной панели, показанной на фиг.1, в частности рассмотренных на ней зеркал, позволяющих пользователю обозревать область, смежную с ним, при работе на аппарате.
Фиг.27 – схематичный вид сверху, показывающий область, наблюдаемую пользователем, работающим на аппарате.
Фиг.28-30 – схематичные виды альтернативного варианта осуществления механизма для отделения листов от стопки, в котором один или несколько листоотделительных элементов действуют для изменения ориентации листов друг относительно друга для облегчения захвата и отделения листов.
Подробное описание предпочтительных вариантов осуществления
Ниже со ссылкой на чертежи и, в частности, на фиг.1, где показан вид спереди автоматизированного банковского аппарата, описан аппарат, который в рассматриваемом примере осуществления представляет собой автоматическую кассовую машину (“ATM”, банкомат) 10. Банкомат 10 представляет собой аппарат встраиваемого в стенку типа, который включает в себя приборную панель 12. Приборная панель 12 доступна для пользователей аппарата, которые находятся с внешней стороны от стены 14. В некоторых вариантах осуществления стена 14 может быть внешней стеной здания, и банкомат 10 может быть использован в пешеходной зоне или на проезжей части улицы. В других вариантах осуществления банкомат может быть использован в помещении. Конечно, указанная конфигурация является иллюстративной, и в других вариантах осуществления могут быть использованы другие типы конфигураций банкомата.
Банкомат включает в себя пользовательский интерфейс 15. Пользовательский интерфейс включает в себя устройства ввода для приема входных данных от пользователей. Упомянутые устройства ввода включают в себя устройство 16 считывания кредитных карт, клавиатуру 18, функциональные клавиши 20 и устройство 22 формирования изображения. Устройства ввода могут быть использованы для ввода входных данных идентификации, таких как, например, индексы, считываемые с кредитных карт, численные данные или биометрические данные, которые могут быть использованы для идентификации конкретного пользователя аппарата и/или его счетов. Кроме того, устройства ввода также обеспечивают прием входных данных операций для проведения на банкомате выбранных функций операций. Понятно, что указанные устройства ввода являются иллюстративными, и в других вариантах осуществления могут быть использованы другие типы устройств ввода. Пользовательский интерфейс 15 дополнительно включает в себя устройства вывода. Устройства вывода в показанном примере осуществления включают в себя дисплей 24, громкоговоритель 26 и гнездо 28 для подключения наушников. Устройства вывода действуют для визуального и/или прослушиваемого вывода указателей, соответствующих работе банкомата. Устройства вывода, показанные в пользовательском интерфейсе 15, являются иллюстративными, и в других вариантах осуществления могут быть использованы другие или дополнительные устройства вывода.
Банкомат 10 дополнительно включает в себя другие устройства осуществления транзакционных функций. Эти устройства транзакционных функций включают в себя принтер 30 квитанций для распечатки квитанции пользователям аппарата. Как показано более подробно на виде изнутри аппарата, приведенном на фиг.2, принтер квитанций включает в себя источник 32 бумаги, который подает бумагу для распечатки квитанций механизмом 34 принтера. Затем напечатанные квитанции транспортируются в отверстие для квитанций в панели 12 приборов с помощью транспортного средства 36. В рассматриваемых примерах осуществления, используемый принтер квитанций может быть таким, как раскрыто в патенте США № 5850075, включенном в настоящее описание посредством ссылки. В других вариантах осуществления могут быть использованы другие типы принтеров квитанций.
Банкомат 10 имеет на приборной панели, показанной на фиг.1, отверстие 38 для выдачи наличности и отверстие 40 для приема наличности. Каждое из указанных отверстий сопряжено с соответствующим устройством транзакционных функций, как описано ниже, и имеет соответствующий механизм заслонки для блокирования доступа через отверстие, за исключением соответствующих периодов времени во время операций, выполняемых санкционированными пользователями. В рассматриваемом примере осуществления, отверстие для выдачи наличности снабжено заслонкой 42, а отверстие для приема наличности заслонкой 44. Понятно, что приборная панель и устройства, связанные с банкоматом 10, являются иллюстративными, и в других вариантах осуществления могут быть использованы другие или различные конфигурации панели приборов и устройств.
Пользовательский интерфейс аппарата включает в себя множество цветных светоизлучающих устройств 17, 31, 41, 43 и 45. Каждый из светоизлучающих приборов расположен в местоположении, смежном местоположению на пользовательском интерфейсе, ассоциированном с конкретным устройством транзакционных функций. Например, светоизлучающее устройство 17 расположено смежно с отверстием устройства 16 считывания кредитных карт. Аналогично, светоизлучающее устройство 31 расположено смежно с щелью для выдачи квитанций. Аналогично, светоизлучающее устройство 41 связано с отверстием 40 для приема наличности, и светоизлучающее устройство 43 связано с отверстием 38 для выдачи наличности. Как объясняется ниже, в данном примере осуществления цветные светоизлучающие устройства селективно управляются для получения света конкретного цвета соответственно состоянию ассоциированных устройств транзакционных функций. Такие особенности могут быть использованы для оказания помощи пользователю в работе с аппаратом, обеспечивать показания, касающиеся статуса устройств, предупреждать пользователя об особенных условиях или улучшать внешний вид аппарата.
Как показано на фиг.2, 3 и 6, банкомат 10 имеет корпус 46, который проходит в основном по внутренней стороне стены 14. Корпус включает в себя камеру 48. В данном примере осуществления, камера 48 является защищенной камерой с дверцей 50 доступа, как у сейфа. Доступ к внутренней области камеры ограничивается доступом для санкционированного персонала посредством соответствующего блокирующего механизма 52 (см. фиг.3). В данном примере осуществления камера имеет в основном L-образную форму поперечного сечения.
Корпус 46 дополнительно включает в себя верхнюю секцию 54. Верхняя секция 54 корпуса, связанная с приборной панелью, находится в опорном соединении с камерой 48. В примере осуществления, верхняя секция 54 корпуса связана с дверцами 56 и 58 доступа. Доступ к верхней секции корпуса управляется одним или несколькими блокирующими механизмами в оперативном соединении с дверцами 56 и 58 доступа, как показано кодовыми замками 60 и 62. В примере осуществления, защищенная камера 48 используется для размещения листов финансовых инструментов, такие как денежные банкноты, чеки или другие ценные листы. Верхняя секция 54 корпуса используется в основном для размещения компонентов аппарата, которые не предназначаются для длительного хранения банкнот или других документов финансовых инструментов, стоимостное выражение которых может быть восстановлено. Понятно, что конструкция банкомата 10 является иллюстративной, и в других вариантах осуществления могут быть использованы другие подходы.
Как схематично показано на фиг.2, банкомат 10 содержит, по меньшей мере, один контроллер 64. В примере осуществления, контроллер 64 содержит, по меньшей мере, один процессор и оперативно связан, по меньшей мере, с одним устройством хранения данных 66. Устройство хранения данных обеспечивает хранение данных, представляющих инструкции, таких как компьютерные программы, параметры конфигурации, данные о проводимых операциях и другую информацию, которая может быть полезна при работе банкомата 10. Компьютерные команды, выполняемые одним или более контроллерами, могут постоянно находиться в устройствах и/или загружаться с устройств, подходящих для сохранения таких компьютерных команд. Такие устройства могут включать в себя накопители на жестких дисках, дискеты, компакт-диски (CD ROM), программируемые постоянные запоминающие устройства (PROM, ППЗУ) или другие устройства, с которых компьютер может считывать и выполнять команды.
Контроллер 64 оперативно связан с множеством устройств транзакционных функций в банкомате и обеспечивает управление их работой согласно его программированию. Контроллер 64 показан оперативно связанным с устройствами 68, 70 и 72. Понятно, что указанное представление предназначено для представления множества компонентов в аппарате, оперативно связанных с контроллером. Например, устройства транзакционных функций могут включать в себя подвижные устройства, которые могут упоминаться как приводы, такие как двигатели, соленоиды и другие устройства, которые придают движение компонентам. Подобным образом, устройства транзакционных функций могут включать в себя датчики, такие как датчики излучения, датчики сближения, переключатели и другие типы датчиков, которые воспринимают предметы, пользователей, условия, свойства, характеристики или компоненты внутри банкомата, и обеспечивают контроллеру возможность выполнять функции согласно его программированию. Устройства транзакционных функций включают в себя устройства вывода, такие как акустические излучатели и светоизлучающие устройства. Например, и без ограничения указанным, устройства транзакционных функций могут включать в себя устройство считывания кредитных карт, дисплей, клавиатуру, функциональные клавиши, принтер, устройство выдачи наличности, устройство приема наличности, механизмы хранения и другие устройства, описанные выше, а также другие устройства в аппарате, которые действуют в ответ на сигналы контроллера.
Контроллер также оперативно связан с устройством связи 74. Устройство связи передает электронным способом сообщения между банкоматом 10 и другими компьютерами в системе обработки финансовых транзакций. Это может включать в себя обмен информацией с системами, работающими под управлением банков, сетей кредитных карт, автоматизированных расчетных палат и других объектов. На фиг.2, устройство 74 связи в банкомате 10 схематично показано как осуществляющее связь с финансовым учреждением 76 через сеть 78. Понятно, что указанная конфигурация связи является иллюстративной, и в других вариантах осуществления могут быть использованы другие схемы связи. Патент США № 6505177 также показывает иллюстративную систему связи для банкомата, и его раскрытие включено в настоящее описание посредством ссылки. Варианты осуществления могут включать в себя признаки, представленные в патентах США №№ 6705517, 6672505 и/или 6598023, которые включены в настоящее описание посредством ссылки.
Как представлено на фиг.2 и 6, в рабочем положении банкомата 10, корпус 46 содержит механизм 80 приема листов, который также упоминается как механизм приема наличности. Механизм 80 обеспечивает прием листов от пользователя аппарата через отверстие 40, анализ каждого листа относительно, по меньшей мере, одного свойства или характеристики и селективное направление листов для хранения в корпусе аппарата на основе проанализированных характеристик. В различных вариантах осуществления указанные листы могут включать в себя денежные банкноты, чеки или другие листы финансовых инструментов. Листы финансовых инструментов могут состоять из различных типов материала, например бумаги, пластика или их комбинации. Также должно быть понятно, что ссылка на механизм приема наличности охватывает механизмы, которые действуют не только с денежными купюрами, но также и с другими листами финансовых инструментов, такими как чеки, денежные переводы, дарственные, ваучеры и т.д.
Как представлено на фиг.2, механизм 80 приема наличности включает в себя желоб 82, проходящий через отверстие 40 в приборной панели 15, в его рабочем положении. Как описано выше, доступное пользователю отверстие в желоб 82 управляется подвижной заслонкой 44. Заслонка 44 перемещается по сигналам контроллера 64 и позволяет санкционированным пользователям получать доступ к желобу в соответствующие моменты времени в течение последовательности операций.
При работе аппарата пользователи получают возможность помещать в желоб стопку 84 листов финансовых инструментов. Стопка 84 может содержать денежные банкноты, чеки или другие листы финансовых инструментов.
При работе механизма приема наличности листы по одному отделяются от стопки посредством захватывающего механизма 86, описанного ниже. Каждый захваченный лист транспортируется по отдельности из захватывающего механизма мимо устройства подтверждения подлинности 88. Устройство 88 подтверждения подлинности определяет, по меньшей мере, одну характеристику листа. Она может включать в себя, например, определение того, является ли лист банкнотой или чеком, и если – банкнотой, то определение того, является ли она действительной. Если документ является чеком, то может быть выполнено определение подлинности чека, а также знаки, связанные с изготовителем чека, и его сумма. Например, в некоторых примерах осуществления, устройство подтверждения подлинности может быть выполнено, как раскрытое в патенте США № 5923415, включенном в настоящее описание посредством ссылки. Альтернативно или дополнительно может быть использовано устройство подтверждения подлинности, раскрытое в патенте США № 6554185, включенном в настоящее описание посредством ссылки. В других вариантах осуществления могут быть использованы другие типы устройств подтверждения подлинности, такие как устройства формирования изображения, устройства считывания, датчики и их комбинации. Например, в некоторых вариантах осуществления, устройство приема листов может представлять изображения инструментов, таких как чеки, и обеспечивать данные, которые могут храниться и передаваться как электронная копия чека. При некоторых обстоятельствах электронная копия чека может передаваться в удаленные местоположения для проверки и подтверждения подлинности чека. Альтернативно или дополнительно электронное представление чека может служить как заменитель для физического бумажного чека, что впоследствии позволяет отменить и по существу аннулировать бумажный чек.
В примере осуществления механизма 80 приема наличности, листы, проанализированные устройством 88 подтверждения подлинности, перемещаются с помощью средства 90 транспортировки в направляющее устройство 92. Направляющее устройство в ответ на команды котроллера 64 избирательно направляет листы либо в устройство 94 депонирования, либо на средство 96 транспортировки. Устройство 94 депонирования в основном временно удерживает листы в устройстве хранения. Такое устройство депонирования может быть выполнено, как описано в патенте США № 6371368, включенном в настоящее описание посредством ссылки. Устройство 94 депонирования может принимать листы и хранить их. После этого, в ответ на сигналы контроллера 64, устройство условного депонирования может доставлять указанные листы в направляющее устройство 92, которое направляет их по маршрутам прохождения листов в аппарате для выполнения транзакций. Понятно, что описанное устройство депонирования является иллюстративным, и в других вариантах осуществления могут быть использованы другие типы устройств депонирования.
Средство 96 транспортировки используется для приема неприемлемых листов с характеристиками, не удовлетворяющими параметрам, заданным аппаратом. Они могут включать в себя, например, банкноты, одна или более характеристик которых позволяют предположить, что они являются поддельными. В других вариантах осуществления, упомянутые листы могут включать в себя чеки со свойствами, позволяющими предположить, что они являются копиями или фальшивыми, или еще неприемлемыми по какой-либо причине. В других вариантах осуществления неприемлемыми могут считаться другие листы.
Как схематично представлено на фиг.2, механизм 80 приема наличности обеспечивает то, что средство 96 транспортировки помещает подозрительные листы 98 в область 100 хранения. Подозрительные листы хранятся в механизме приема наличности вне защищенной камеры, так что они могут быть извлечены обслуживающим персоналом, как описано ниже. Такой подход является иллюстративным, и в других вариантах осуществления могут быть использованы другие подходы.
Механизм 80 приема наличности действует по сигналам контроллера 64 для направления листов финансовых инструментов, определенных как действительные или приемлемые по другим признакам, через отверстие 102 для приема наличности верхней поверхности 104 камеры. В рабочем положении механизма приема наличности, показанного на фиг.2, средство транспортировки в механизме приема наличности выравнивается с отверстием для приема наличности и средством транспортировки, которое проходит в защищенную камеру. Как схематично представлено на фиг.2, в рабочем положении механизма 80 приема наличности, по меньшей мере, один ведущий элемент 110 средства 106 транспортировки оперативно связан с ведомым элементом 112 средства 108 транспортировки, что позволяет механизму приема наличности приводить в движение механизмы обработки листов внутри защищенной камеры и гарантировать там координированные перемещения обрабатываемых листов. Далее ведущий и ведомый элементы проходят в отверстие для приема наличности для блокирования доступа несанкционированным лицам, как описано ниже.
Когда механизм приема наличности выдвинут из рабочего положения, показанного на фиг.2, в положение технического обслуживания, как показано на фиг.12, 13 и 14, ведущий элемент 110 и ведомый элемент 112 расцепляются. В некоторых примерах осуществления, выдвижение механизма приема наличности из рабочего положения в положение технического обслуживания может предусматривать подвижную установку механизма приема наличности такой, чтобы механизм перемещался вверх от защищенной камеры для расцепления ведущего и ведомого элементов и наружу для целей технического обслуживания. Чтобы вернуть механизм приема наличности в рабочее положение, выполняется его перемещение внутрь и вниз, чтобы снова привести в зацепление ведущий и ведомый элементы. Указанная операция может выполняться посредством комбинации ползунов, роликов и других подходящих механизмов. Описанный подход обеспечения зацепления между механизмом приема наличности и механизмом обработки листов внутри камеры является иллюстративным, и в других вариантах осуществления могут быть использованы другие подходы, или средство транспортировки внутри камеры может иметь отдельный двигатель или другое движущее устройство. Как показано на фиг.2, средство 108 транспортировки, которое перемещает листы в основном в вертикальном направлении через отверстие для приема наличности, оперативно соединено с горизонтальным средством транспортировки 114. Горизонтальное средство транспортировки зацепляет листы, перемещаемые внутрь камеры, и перемещает их поперечно от отверстия для приема наличности. Горизонтально расположенное средство 114 транспортировки оперативно связано с вертикально проходящим средством 116 транспортировки, которое расположено поперечно отверстию приема наличности в защищенной камере.
Вертикальное средство 116 транспортировки селективно перемещает листы в зацепление с механизмами 118, 120, 122 и 124 обработки листов. В некоторых примерах осуществления, механизмами 118, 120, 122 и 124 обработки листов могут являться механизмы укладки в стопку, которые схематично показаны на фиг.5 и 6. Альтернативно или дополнительно, в других вариантах осуществления один или несколько механизмов обработки листов могут включать в себя механизмы приема и выдачи листов, которые селективно принимают листы для хранения, а также выдают листы. Примеры механизмов приема и укладки в стопку листов, а также механизмов приема и выдачи листов, которые могут быть использованы в примерах осуществления, описаны подробно в патентах США №№ 6302393 и 6290070, включенных в настоящее описание посредством ссылки.
Как схематично показано на фиг.4, иллюстративный механизм 118 приема и укладки в стопку листов селективно принимает лист 126, движущийся в вертикальном транспортном средстве 116. Лист 126 направляется для зацепления механизмом 118 обработки листов посредством перемещения элемента 128 заслонки. Элемент заслонки перемещается в ответ на сигнал контроллера 64 для направления переднего края листа в выемку 130 поворотного элемента 132. Когда передний край листа 126 входит в выемку 130, поворотный элемент 132 поворачивается в направлении стрелки R. Это приводит к перемещению участка зажима, ограничивающего выемку 130, внутрь, захватывая туда лист 126. Поворотный элемент 132 поворачивается до взаимодействия переднего края листа 126 с упорной поверхностью 136. К этому моменту участок 134 зажима передвинулся радиально наружу, так что лист отцепляется от поворотного элемента 132 и встраивается в стопку 138 листов. Стопкой может быть, например, стопка денежных банкнот, которые могут быть банкнотами одного номинала. В других вариантах осуществления, стопка 138 может быть набором других типов листов.
В данном примере осуществления, стопка поддерживается с опорой на поворотный элемент посредством смещающей пластины 140, которая воздействует на заднюю сторону стопки. Смещающая пластина 140 под действием смещающего механизма 142, позволяющего стопке увеличиваться или уменьшаться, при этом поддерживая листы в соответственно выровненном положении. Дополнительные детали, относящиеся к примеру осуществления механизма обработки листов, описаны в патенте США № 6302393.
Фиг.5 иллюстрирует работу механизмов 118 и 120 обработки листов. В данном случае лист 142, перемещающийся в средстве 116 транспортировки, проходит поворотный элемент 132, когда элемент 128 заслонки остается отклоненным при прохождении листа. Это позволяет листу перемещаться к другим механизмам обработки листов, таким как механизм 120 обработки листов. Такое выполнение позволяет хранить вместе листы с конкретными характеристиками, например, действительные денежные банкноты различных номиналов, собираемые в стопку в выбранных зонах хранения листов. Альтернативно, в других вариантах осуществления, листы одинаковых типов, такие как чеки, могут отделяться от других листов финансовых инструментов, таких как банкноты или аккредитивы. В других вариантах осуществления, листы, которые должны находиться в обороте, такие как соответственно подобранные денежные банкноты, могут отделяться от действительных, но потертых или грязных денежных банкнот, которые не подходят для выдачи потребителям. Должно быть понятно, что упомянутые подходы являются иллюстративными и в других вариантах осуществления могут быть использованы другие подходы.
В примере осуществления, показанном на фиг.2, защитная пластина 144 проходит внутри защищенной камеры в промежуточном положении между горизонтальным средством 114 транспортировки и механизмом хранения банкнот, таким как зона 146 хранения, связанная с механизмом 118 обработки листов. Защитная пластина 144 закреплена внутри защищенной камеры и предназначена для предотвращения несанкционированного доступа через отверстие 102 для приема наличности в камере. Это может быть обеспечено за счет прикрепления защитной пластины к стенкам, ограничивающим внутреннюю область защищенной камеры, или к другим подходящим структурам. Понятно, что поскольку верхняя секция 54 корпуса содержит механизм 80 приема наличности, в общем случае, легче получить доступ к области, содержащей механизм приема наличности, чем к защищенной камере. В случаях, когда злоумышленники могут напасть на банкомат 10 и попытаться снять механизм приема листов, легкий доступ через отверстие для приема наличности сначала блокируется ведущим и ведомым элементами и другими компонентами средств 106 и 108 транспортировки. Однако, в случае, когда злоумышленники пытаются убрать компоненты механизма транспортировки, доступ к хранимым листам в механизме хранения банкнот по-прежнему остается заблокированным защитной пластиной. Фиг.11 более подробно показывает механизм 180 приема наличности, отведенный в положение технического обслуживания для открытия отверстия для приема наличности. Механизм приема наличности подвижным образом монтируется в поддерживающем соединении с камерой на подходящих ползунах или других деталях. Понятно, что в данном примере осуществления защитная пластина 144 отделяет отверстие 102 для приема наличности от банкнот или других листов ценных финансовых инструментов, которые хранятся под защитной пластиной внутри защищенной камеры. Конечно, показанная защитная пластина является иллюстративной, и в других конструкциях могут быть использованы другие формы защитных пластин.
В альтернативном варианте осуществления, банкомат имеет объемный контейнер 260 хранения, показанный на фиг.20, для сохранения векселей, банкнот, чеков и других предметов, которые были помещены в аппарат. Контейнер 260 имеет верхнюю стенку 262 с отверстием 264, которое соответствует отверстию 102 в камере, когда контейнер 260 находится в рабочем положении. Контейнер 260 содержит средство 266 транспортировки, транспортирующее предметы, которые проходят через отверстие 264, во внутреннюю область контейнера. Горизонтальное средство 270 транспортировки перемещает вложенные предметы поперечно от отверстия 264. Чтобы снизить риск несанкционированного доступа к внутренней области 268, введена защитная пластина 272. Дополнительное средство 274 транспортировки перемещает вложенные предметы, такие как денежные банкноты 276, в подходящее местоположение для помещения во внутреннюю область 268 под защитной пластиной. Вложенные предметы 278 сохраняются во внутренней области контейнера 260.
Контейнер 260 имеет нижнюю стенку 280. Внутренняя область 268 ограничена встряхивающим элементом 282, который расположен по вертикали над нижней стенкой. Встряхивающий элемент содержит эластичную гибкую мембрану 284. Жесткая пластина 284 проходит под центральным участком мембраны. Гибкие опоры 288 поддерживают жесткую пластину 286 над нижней стенкой 280. Гибкие опоры дополнительно обеспечивают возможность перемещения жесткой пластины и мембраны относительно нижней стенки. Опоры 288 могут включать в себя пружины или другие элементы, которые обеспечивают возможность относительного вертикального и горизонтального перемещения нижней стенки и жесткой пластины.
Приводной механизм 290 проходит в промежуточном положении между нижней стенкой и жесткой пластиной. Приводной механизм представляет собой электрическое вибрационное устройство, которое встряхивает жесткую пластину и вышележащую мембрану. Встряхивающее действие приводного механизма 290 придает встряхивающее движение вложенным предметам 278, которые находятся в поддерживающем соединении с мембраной. Это облегчает рассредоточение и осадку вложенных предметов и позволяет собирать относительно большое количество таких предметов во внутренней области 268, прежде чем эти предметы нужно будет удалить. Приводной механизм 290 электрически соединен со схемой в аппарате через разъемный соединитель 292. Это облегчает удаление контейнера, как описано ниже. Кроме того, в некоторых вариантах осуществления, движущие устройства для средств транспортировки внутри контейнера могут снабжаться сигналами и/или электрической энергией через разъемный соединитель.
При работе аппарата внутренняя область 268 контейнера 260 оперативно связана с отверстием 38 в корпусе аппарата, через которое принимаются вложенные предметы. Вложенные предметы проходят через механизм приема наличности или другие механизмы для обработки таких предметов. Предметы, предназначенные для вкладывания в контейнер, проходят через отверстие 102 наверху камеры. Такие предметы транспортируются средствами 266, 270 и 274 транспортировки в область под защитной пластиной 272 и накапливаются во внутренней области 268. Периодически в ответ на сигналы контроллера приводной механизм 290 придает встряхивающее движение вложенным предметам 278 во внутренней области. Последнее облегчает осадку предметов в целях их плотной упаковки. Во внутреннюю область могут быть включены датчики 294 для восприятия вложенных предметов. Контроллер обеспечивает встряхивание посредством приводного механизма вложенных предметов в ответ на восприятие некоторого уровня таких предметов датчиками. Альтернативно, контроллер может встряхивать вложенные предметы в соответствии с истекшим временем, числом предметов или другими программируемыми параметрами. Датчики 294 могут находиться в оперативном соединении с контроллером через разъемный соединитель 292.
Контейнер 260 съемным образом монтируется внутри защищенной камеры. Контейнер поддерживается на опорах 296 качения. Опоры 296 качения могут представлять собой самоориентирующие ролики, колеса, шаровые ролики или элементы других типов, которые обеспечивают возможность более легкого перемещения контейнера в нагруженном состоянии. В примере осуществления, после открывания защищенной камеры контейнер 260 получает возможность выдвигаться из камеры. Это облегчается тем, что обслуживающий оператор может ухватиться за ручку 298, которая прикреплена к контейнеру. Разъемный соединитель 292 может быть отсоединен, и контейнер 260 можно вытащить из защищенной камеры. Как показано более подробно на фиг.21, ручка 298 представляет собой телескопическую ручку, которая может перемещаться вверх, после того как ручка освободила защищенную камеру. Тем самым облегчается выдвижение контейнера из банкомата. После этого контейнер может выдвигаться относительно банкомата в подходящее местоположение с помощью ручки для целей изъятия содержимого. Это может быть, например, область внутри хранилища или другого защищенного помещения, в котором могут обрабатываться предметы, находящиеся внутри контейнера.
Как представлено на фиг.21, контейнер 260 содержит дверцу 300. Доступ к дверце 300 контролируется одним или более замками 302. Дверца 300 шарнирно закреплена на стороне в направлении дверцы камеры так, чтобы снизить риск получения несанкционированного доступа внутрь контейнера, когда контейнер находится внутри аппарата. После перемещения контейнера в соответствующее местоположение замок 302 может быть разблокирован, дверца открывается и вложенные предметы изымаются. После того как предметы изъяты, дверца 300 может быть возращена в закрытое положение. После этого контейнер может быть заново установлен в аппарат, причем рукоятка 298 убирается для обеспечения выравнивания контейнера с отверстием 102. Далее разъемный соединитель 292 может быть повторно подсоединен для обеспечения возможности работы контейнера внутри аппарата.
Контейнер 260 имеет возможность вмещать значительное количество вложенных предметов. Далее, конструкция, включающая в себя опоры качения и телескопическую рукоятку, способствует перемещению нагруженного контейнера из банкомата и в банкомат. Понятно, что контейнер является иллюстративным, и в других вариантах осуществления могут быть использованы другие подходы. Они могут включать в себя, например, и без ограничения, контейнеры с множеством внутренних областей, в которых вложенные предметы поддерживаются на встряхивающих элементах. Такие варианты осуществления могут обеспечить возможность, например, разделения вложенных банкнот, чеков и/или конвертов по номиналу или типу вклада и достичь более плотно упакованного хранения в конкретном внутреннем отсеке в контейнере. Дополнительно или альтернативно, в других вариантах осуществления могут быть обеспечены встряхивающие элементы на боковых стенках или верхних стенках, ограничивающих контейнер так, чтобы облегчить встряхивание вложенных предметов, их упаковку и хранение. Дополнительно или альтернативно, контейнеры могут быть использованы в некоторых вариантах осуществления в сочетании с механизмами обработки листов так, чтобы некоторые листы хранились при точном позиционировании в контейнерах для целей укладки в стопку и/или оборота, тогда как другие листы хранятся в большом объеме внутри контейнера или отсека контейнера. Указанные альтернативные варианты осуществления охватываются идеей настоящего изобретения.
Фиг.7-10 схематично описывают первый пример осуществления захватывающего механизма 86, используемого в механизме 80 приема наличности. Стопка листов 84 размещена в желобе 82 и находится в поддерживающем соединении с нижней поверхностью 148, в основном наклоненной под углом. Подвижные элементы 150 и 152 зацепляют стопку и селективно поворачивают в соответствии с работой двигателя или другого приводного механизма в направлении стрелки P так, чтобы перемещать стопку в основном в опорном положении с зацепляющей поверхностью 154. Смежно с зацепляющей поверхностью 154, вблизи нижней поверхности, расположен направляющий ролик 156, который в данном варианте осуществления представляет собой в основном свободно вращающийся ролик. Зацепление стопки 84 зацепляющей поверхности 154 и лицевой поверхности ролика 156 в основном действует так, чтобы скашивать листы, как показано.
Захватывающий механизм 86 дополнительно включает в себя в основном цилиндрическую захватывающую деталь 158. Захватывающий элемент 158 может селективно вращаться двигателем или другим приводным механизмом в ответ на сигналы контроллера 64. Захватывающий элемент во время действия захвата вращается, как показано, в направлении стрелки P. Захватывающий элемент 158 дополнительно включает в себя высокофрикционные дугообразные сегменты 160, которые служат участками зацепления листа и проходят по части окружности захватывающего элемента.
Захватывающий механизм 86 дополнительно включает в себя множество роликов 162, которые служат в качестве бесконтактных роликов листоотделительного элемента, как описано ниже. Захватывающий механизм дополнительно включает в себя контактный ролик 164 листоотделительного элемента, который со смещением зацепляет высокофрикционные сегменты 160 захватывающего элемента.
Как представлено на фиг.8, захватывающий элемент является в основном цилиндрическим элементом, который включает в себя множество кольцевых выемок 166. Наружная поверхность бесконтактных роликов 162 листоотделительного элемента продолжается в соответствующую кольцевую выемку 166, но в основном не находится в зацеплении с ней для отделения листов. Как представлено в примере осуществления на фиг.8, наружная поверхность бесконтактных роликов 162 листоотделительного элемента несколько смещена от основания кольцевой выемки. Как следствие, наружная поверхность бесконтактных роликов листоотделительного элемента, служащих в качестве первого участка листоотделительного элемента, не располагается в прямом контакте зацепления с захватывающим элементом для отделения листа. Однако, вследствие того, что поверхность указанных роликов расположена в непосредственной близости к нему и в основном позволяет только одному листу проходить между захватывающим элементом и бесконтактными роликами листоотделительного элемента, по существу реализуется отделение одного листа от других листов. Понятно, что хотя в рассматриваемом примере осуществления бесконтактные ролики листоотделительного элемента незначительно смещены от захватывающего элемента, в других примерах осуществления такие ролики или другие детали листоотделительного элемента могут действительно контактировать с захватывающим элементом, но могут обладать упругостью или другими свойствами, чтобы ролики не находились в смещенном контакте зацепления для отделения листа, как в случае с контактным роликом 164 листоотделительного элемента.
Как показан на фиг.8, контактный ролик листоотделительного элемента смещен для зацепления центрального участка 168 зацепления листов захватывающего элемента. Этот центральный участок зацепления листов в основном центрирован относительно листов, которые перемещаются захватывающим механизмом 86. Это снижает тенденцию листов скручиваться или перекашиваться при перемещении захватывающим механизмом. Понятно, что указанная компоновка является иллюстративной и в других вариантах осуществления могут быть использованы другие подходы.
Работа захватывающего механизма 86 представлена на фиг.9 и 10. Захватывающий механизм 86 предназначен для отделения листов от стопки 84. Это выполняется посредством последовательного захвата первого листа 170, который ограничивает нижний конец стопки, и перемещения первого листа в первом направлении F для удаления листа от стопки. Для этого контроллер 64 приводит в действие один или несколько приводов, таких как двигатели или другие движущие механизмы, для приведения во вращение подвижных элементов 150 и 152, тогда как захватывающий механизм 168 аналогичным образом вращается в направлении против часовой стрелки, как показано. Вращение захватывающего элемента заставляет высокофрикционные дугообразные сегменты 160, служащие участками захвата листов, зацеплять нижнюю поверхность первого листа и вытаскивать лист в промежуточном положении между захватывающим элементом и бесконтактными роликами 162 листоотделительного элемента. Когда первый лист перемещается, направляющий ролик 156 вращается, облегчая движение первого листа между захватывающим элементом и бесконтактными роликами листоотделительного элемента.
Бесконтактные ролики 162 листоотделительного элемента оперативно связаны с односторонней муфтой 172 сцепления так, что первый ролик листоотделительного элемента остается неподвижным, когда первый лист зацепляется с ним и движется в направлении стрелки F. Вследствие того что сила сопротивления, обеспеченная бесконтактными роликами листоотделительного элемента, действующая на поверхность зацепленного ими листа, меньше, чем движущая сила, приложенная к противоположной поверхности листа, первый лист 170 перемещается в промежуточное положение между захватывающим элементом и бесконтактными роликами листоотделительного элемента. Это заставляет лист принимать волнообразную форму поперечного сечения, показанную на фиг.10. Это вызывается тем, что лист деформируется посредством бесконтактных роликов листоотделительного элемента и кольцевых выемок 166 захватывающего элемента. Указанная волнообразная форма поперечного сечения действует по существу в комбинации с противоположно направленной силой, приложенной бесконтактными роликами листоотделительного элемента, для отделения первого листа от других листов, которые могут перемещаться вместе с ним из стопки.
Когда первый лист 170 движется дальше в направлении стрелки F, как показано на фиг.9, то передний край листа взаимодействует с контактным роликом 164 листоотделительного элемента, который смещен для взаимодействия с зацепляющими участками захватывающего элемента. Контактный ролик листоотделительного элемента также оперативно связан с односторонней муфтой 174 сцепления, так что, когда первый лист движется в направлении стрелки F, контактный ролик листоотделительного элемента остается неподвижным. Взаимодействие контактного ролика листоотделительного элемента и первого листа смещает контактный ролик листоотделительного элемента, позволяя листу 170 двигаться в промежуточном положении между контактным роликом листоотделительного элемента и центральным участком 168 зацепления листов. Сила сопротивления бесконтактного ролика листоотделительного элемента действует, по существу, так, чтобы препятствовать любым листам, кроме первого листа 170, перемещаться в направлении стрелки F.
Как показано на фиг.9, датчик 176 располагается смежно с контактным роликом листоотделительного элемента. Датчик 176 воспринимает наличие перекрывающихся сдвоенных листов рядом с датчиком, которые могут пройти через бесконтактные и контактные ролики листоотделительного элемента. Подходящие датчики в некоторых вариантах осуществления могут быть такими, как описано в патентах США № 6241244 и 6242733. После восприятия сдвоенных или других множественных листов контроллер аппарата может делать дополнительные попытки отделить лист, как описано ниже. Однако, если воспринимается только один лист, захватывающий элемент 158 продолжает двигаться в направлении против часовой стрелки до тех пор, пока передний край листа не достигнет отводных роликов 178. Отводные ролики взаимодействуют с листом для перемещения листа в механизме приема наличности по направлению к устройству 88 подтверждения подлинности. За один оборот захватывающего элемента в основном один лист отделяется от стопки.
Когда датчик 176 определяет, что перекрывающиеся сдвоенные листы или другие множественные листы могли пройти через контактные и бесконтактные ролики листоотделительного элемента, контроллер останавливает движение захватывающего элемента 158 в направлении против часовой стрелки, как показано, перед тем как первый лист 170 отсоединился от них. После этого контроллер реверсирует направление захватывающего элемента 158 и перемещающих элементов 150 и 152 для перемещения первого листа обратно в стопку. За счет действия односторонних муфт 172 и 174 контактный ролик 164 листоотделительного элемента и бесконтактный ролик 162 листоотделительного элемента получают возможность вращаться в направлении против часовой стрелки, как показано, так, чтобы обеспечить возвращение листов в стопку. После этого контроллер может приводить в действие захватывающий механизм 86, чтобы снова попытаться захватить один документ. Могут делаться повторные попытки до тех пор, пока один лист не отделится от стопки так, чтобы он мог быть обработан механизмом приема наличных денег.
Было обнаружено, что данный пример осуществления захватывающего механизма 86 хорошо адаптируется для разделения различных типов листов финансовых инструментов, имеющих различные свойства. В основном листы, такие как денежные банкноты, которые являются новыми, или другие типы листов, которые имеют соответствующие свойства жесткости и трения для каждого листа, разделяются посредством действия захватывающего механизма и бесконтактных роликов листоотделительного элемента. Однако в ситуациях, когда жесткость и фрикционные свойства существенно варьируются от листа к листу, контактный ролик листоотделительного элемента, который по существу зацепляет листы после их взаимодействия с бесконтактными роликами листоотделительного элемента, обеспечивают отделение листов, которые по-другому не могли бы быть отделены. Это может быть особенно полезным, например, при обработке листов, включающих пластиковые или бумажные денежные банкноты, чеки и другие документы с варьирующимися свойствами и перемешанные в стопке, из которой листы должны захватываться по-отдельности.
В некоторых альтернативных вариантах осуществления, чтобы облегчить захват листов, могут быть использованы дополнительные особенности. Они могут включать, например, обеспечение селективного приведения в действие роликов листоотделительного элемента или других элементов так, чтобы сдвигать, друг относительно друга, перекрывающиеся множественные листы, которые первоначально смогли пройти через компоненты листоотделительного элемента. Такое изменение ориентации может облегчить отделение листов в последующих попытках захвата.
Фиг.28-30 схематично показывают альтернативный захватывающий механизм 350. Захватывающий механизм 350 может включать в себя один или несколько бесконтактных роликов и контактных роликов листоотделительного элемента или выполняться иным образом. Для простоты механизм 350 схематично показан как включающий себя захватывающий элемент 352 и листоотделительный элемент 354. В примере осуществления, захватывающий элемент и листоотделительный элемент выполнены цилиндрическими, но в других вариантах осуществления могут быть использованы другие типы и конфигурации элементов.
Чтобы проиллюстрировать проблему, которая может иметь место для захватывающего механизма, множество листов 356 показано в зацеплении с захватывающим элементом. Как следует из предыдущего описания, листы 356 могут быть частью стопки листов, введенных пользователем в банкомат. Схематично представленный на фиг.28 лист 358, который ограничивает нижний край стопки и который обычно захватывается из нее, имеет свою переднюю кромку, вытягиваемую относительно направления перемещения листов, когда они захватываются относительно вышележащего листа 360. Когда листы достигают захватывающего элемента и листоотделительного элемента в указанной ориентации, становится более трудным захватить лист отдельно, вследствие того, что его передний край вытягивается относительно других листов. В результате, когда захватывающий элемент 352 приводится в действие в направлении захвата, показанном стрелкой J в результате действия одного или нескольких соединенных приводных механизмов 352, листоотделительный элемент 354 остается неподвижным. Однако высокофрикционный сегмент 364 может зацеплять область вышележащего листа 360, так как он продвинут за пределы листа 358 в прямом направлении, представленном стрелкой K, в котором перемещаются листы, при захвате из стопки. В результате оба листа 358 и 360 перемещаются из стопки вместе.
Когда листы 358 и 360 перемещаются вместе, их передние края, в конечном счете, подходят рядом к датчику 366, как показано на фиг.29. Датчик 366 может воспринимать толщину листа и в сочетании с одним или более контроллерами воспринимает условия, в которых определялось наличие множества перекрывающихся листов. Как с предыдущим вариантом осуществления, когда воспринимает перемещение из стопки множества листов, захватывающий элемент 352 больше не двигается для перемещения листов в направлении захвата.
После восприятия множества листов рядом с датчиком 366 котроллер включает привод 362 для реверсирования направления движения захватывающего элемента 352, относительно направления, когда листы захватывались из стопки. Как показано на фиг.30, согласно ранее описанному варианту осуществления, реверсирование направления захватывающего элемента перемещает захваченные листы в направлении обратно в стопку. Это показано стрелкой L на фиг.30. Однако, в указанном альтернативном варианте осуществления, листоотделительный элемент 354 приводится в действие в ответ на действие привода 368 в направлении вращения для перемещения листов 360 и 358 обратно в стопку. Один или более контроллеров управляют приводами 368 и/или 362 так, чтобы лист 360 в непосредственном взаимодействии с листоотделительным элементом 354 перемещался относительно листа 358. В данном примере осуществления, лист 360 предпочтительно перемещается так, что его передняя кромка больше не выдвигается вперед в направлении захвата от передней кромки листа 358, который ограничивает нижний край стопки. Таким образом, как только оба листа вытянуты за пределы листоотделительных элементов, одна или более последующих попыток перемещение листов в направлении отделения листа приведут к отделению листа от других листов.
Для перемещения листа 360 в зацеплении с листоотделительным элементом, относительно листа 358, находящегося в зацеплении с захватывающим элементом, могут быть приняты несколько подходов. В основном такие подходы требуют, чтобы лист 358 под действием листоотделительного элемента перемещался на расстояние большее, чем расстояние, которое лист 358 проходит обратно к стопке. Указанная операция может быть выполнена, например, контроллером, заставляющим привод 368 начать вращение ролика 354 листоотделительного элемента в направлении против часовой стрелки, тогда как захватывающий элемент 352 и зацепленный им лист 358 остаются неподвижными. Это может обеспечить перемещение листа 360 в направлении стрелки L без движения листа 358. В некоторых вариантах осуществления, контроллер в оперативном соединении с датчиком 366 может воспринимать, что лист 360 переместился. Это может быть выполнено восприятием того, что, когда ролик 354 листоотделительного элемента начал двигаться, толщина листа, воспринимаемая в непосредственной близости от датчика, изменяется от толщины множества листов до толщины одного листа. Это может служить для подтверждения того, что лист 360 переместился относительно листа 358. После этого контроллер может начать управлять захватывающим элементом 352 для перемещения листа 358 обратно к стопке.
В некоторых вариантах осуществления, ролик листоотделительного элемента может начать перемещение вышележащего листа, зацепленного им, до начала перемещения для вытягивания нижележащего листа в зацеплении с захватывающим элементом. Альтернативно, в некоторых вариантах осуществления, листоотделительный элемент и захватывающий элемент могут останавливаться один раз или много раз в процессе вытягивания так, чтобы облегчить вытягивание вышележащего листа 360. Такие периодические остановки и запуски могут облегчить относительное движение листов. Такое движение заставит вышележащий лист 360 двигаться в направлении обратно к стопке на расстояние большее, чем нижележащий лист 358, таким образом изменяя относительное положение листов.
В альтернативных вариантах осуществления, из позиции, показанной на фиг.29, захватывающий элемент и листоотделительный элемент могут двигаться одновременно для втягивания листов. Однако листоотделительные элементы могут двигаться так, чтобы перемещать лист 360 с более высокой скоростью, чем нижележащий лист 358. В таких вариантах осуществления, вышележащий лист 360 будет двигаться на большее расстояние благодаря относительно более высокой скорости листоотделительного элемента 354. Такое движение с более высокой скоростью в основном заставляет лист 360 переместиться на большее расстояние, чем лист 358, таким образом изменяя положение передней кромки листа 360 так, чтобы он больше не продвигался вперед в направлении снятия относительно листа 358. Альтернативно или дополнительно в некоторых вариантах осуществления, захватывающий элемент и листоотделительный элемент могут двигаться, чтобы вытягивать листы относительно стопки, но листоотделительный элемент может перемещать листы обратно к стопке за более длительное время. Указанное действие стремится перемещать вышележащий лист или листы относительно нижележащего листа в стопке и таким образом изменять положение листов.
В некоторых примерах осуществления движущиеся детали, такие как ролики 150, 152, описанные в связи с предыдущим вариантом осуществления, также могут приводиться в действие в ответ на действие одного или нескольких приводов в оперативном соединении с контроллером. Контроллер может управлять такими движущимися деталями, когда листы втягиваются в стопку, чтобы координировать их скорость так, чтобы она соответствовала скорости захватывающего элемента. В результате, посредством движения движущих элементов с такой же или несколько меньшей скоростью, чем скорость захватывающего элемента, снижается риск того, что лист 358, ограничивающий стопку, будет двигаться так, что его передняя кромка будет запаздывать относительно вышележащего листа. Подобным образом, когда делаются дополнительные попытки отделить листы посредством движения захватывающего элемента в направлении захвата, движущие элементы, находящиеся под листом 358, могут перемещать лист с такой же или с несколько большей скоростью, чем захватывающий элемент, чтобы изменить положение листа 358, чтобы вышележащие листы не выдвигались из стопки вместе с ограничивающим стопку листом.
Понятно, что описанные подходы являются иллюстративными, и в других вариантах осуществления могут быть использованы другие подходы, направленные на изменение относительных положений листов так, чтобы облегчить их захват по отдельности из стопки, чтобы отдельные листы могли перемещаться и обрабатываться аппаратом. Хотя в иллюстративном альтернативном захватывающем механизме 350 показан только один листоотделительный элемент, изложенные принципы могут применяться к множеству таких элементов. Листоотделительные элементы могут включать в себя как контактные, так и бесконтактные элементы, описанные выше. В некоторых альтернативных вариантах осуществления, где используется множество листоотделительных элементов, движение этих элементов, управляемое для придания относительного движения листам, может применяться как к контактным, так и бесконтактным листоотделительным элементам или только к выбранным роликам. Например, в некоторых вариантах осуществления, контактные ролики листоотделительного элемента могут использовать одностороннюю муфту, а бесконтактные ролики могут изменять относительные положения листов. Далее, в некоторых альтернативных вариантах осуществления, относительное движение может придаваться посредством изменения положения ролика, такого как ролик 156, который может быть использован в некоторых вариантах осуществления для выполнения, по меньшей мере, части функции листоотделительного элемента. Для определения того, было ли реализовано относительное перемещение перекрывающихся листов, в некоторых вариантах осуществления также могут быть предусмотрены дополнительные датчики. Указанные подходы являются иллюстративными, и в других вариантах осуществления, могут быть использованы другие подходы.
Понятно, что хотя в примере осуществления используются захватывающие ролики, в других вариантах осуществления могут быть использованы другие захватывающие конструкции и конструкции отделения листов, такие как ремни, подушечки, штифты и другие детали.
Пример осуществления банкомата 10 содержит встраиваемый в стену аппарат, в котором приборная панель открыта для воздействия внешней среды. В результате дождь и снег могут воздействовать на приборную панель и при отсутствии соответствующих мер могут попадать в аппарат. Понятно, отверстие 40 приема наличных денег в приборной панели должно быть достаточно большим, чтобы вместить желоб 40, который поддерживает стопку документов 84. Во время операций, когда санкционированному пользователю необходимо вставить стопку листов в желоб, заслонка 44 должна открыться, что приводит к открытию желоба для воздействия внешних факторов.
Чтобы минимизировать риск воздействия дождя и снега на механизм 80 приема наличности, рассматриваемый пример осуществления включает в себя средства сбора и удаления из аппарата влаги, которая может попасть в желоб, как показано на фиг.17-19. Согласно фиг.17, нижняя поверхность желоба 148 включает в себя, по меньшей мере, одно водосборное отверстие 180. В примере осуществления, водосборное отверстие содержит один или несколько лотков, проходящих поперек нижней поверхности листа. В других вариантах осуществления могут быть использованы другие подходы. Отверстия приема жидкости сообщены с трубопроводом 182, сообщенным со стоком 184 для отведения воды из банкомата. Как представлено на фиг.18 и 19, водосборное отверстие 180 сообщается со стоком 184, соединенным с гибким трубопроводом 182, таким как трубка. Трубопровод 182 соединяется со стоком 184, который имеет полость на нижней стороне приборной панели и отверстия, через которые вода может стекать наружу корпуса аппарата.
Опора 186 трубки позиционирована для управления направлением трубки и обеспечения дренажа, когда механизм приема наличности находится в рабочем положении, а также когда механизм приема наличности находится в положении технического обслуживания, как показано на фиг.12. Опора трубки минимизирует риск закручивания трубопровода для жидкости или другого предполагаемого положения, которое препятствует дренажу воды из внутренности желоба наружу аппарата. Понятно, что показанный подход является иллюстративным, и в других вариантах осуществления могут быть использованы другие подходы.
В рассматриваемом примере осуществления, принимается мера предосторожности, чтобы минимизировать риск попадания влаги в банкомат в области отверстия для приема наличности, через которое желоб 82 проходит в рабочем положении механизма 80 приема наличности. Как показано на фиг.18 и 19, в области, смежной с приборной панелью, вокруг желоба проходит упругая прокладка 188. Упругая прокладка поддерживается на передней стороне механизма приема наличности. Как показано на фиг.19, когда механизм 80 приема наличности расположен так, что желоб проходит через отверстие 40 для приема наличности в приборной панели, упругая прокладка располагается в виде уплотнения между передней стороной механизма приема наличности и внутренней стороной приборной панели. Поскольку уплотнение, обеспечиваемое прокладкой, окружает вокруг желоб, риск попадания влаги или других загрязнений в банкомат через отверстие для приема наличности минимизируется. Понятно, что указанный подход является иллюстративным, и в других вариантах осуществления могут быть использованы другие подходы.
Как описано со ссылкой на фиг.2, механизм 80 приема наличности в ответ на действие устройства 88 подтверждения подлинности и контроллера 64 определяет, по меньшей мере, одну характеристику, показывающую, являются ли листы финансовых инструментов приемлемыми для аппарата. Неприемлемыми листами могут быть подозрительные листы, такие как потенциально фальшивые банкноты, недействительные чеки или другие неприемлемые документы. При обнаружении таких документов они направляются в область 100 хранения, которая в данном примере осуществления находится внутри механизма приема наличности и вне защищенной камеры. Периодически, такие неприемлемые листы должны извлекаться обслуживающим персоналом для целей либо подтверждения недействительности листов, либо для целей отслеживания по листам пользователя, который поместил их в аппарат. Указанные листы могут извлекаться санкционированными служащими, которые имеют доступ к камере 48, в которой хранятся документы, определенные как действительные.
В рассматриваемом примере осуществления, доступ к области 100 хранения контролируется подходящим устройством доступа. В устройстве доступа, показанном на фиг.12, предусмотрено отверстие 190 в область 100 хранения. Доступ к отверстию контролируется откидной дверцей 192 доступа. В некоторых вариантах осуществления, откидная дверца 192 доступа может открываться только тогда, когда механизм 80 приема наличности переместился назад, проходя в сторону от корпуса после открытия дверцы 58 доступа. В некоторых вариантах осуществления, откидная дверца доступа может быть снабжена блокирующим механизмом 194, таким как кодовый замок или другой подходящий блокирующий механизм. В результате в данном примере осуществления, чтобы получить доступ к листам в области 100 хранения, пользователю может потребоваться использование ключей, комбинаций или чего-то другого, чтобы отпереть как замок 62 на дверце 58 доступа, так и замок 194 и откидную дверцу 192 доступа, чтобы получить доступ к листам. Понятно, что хотя в варианте осуществления, механизм 180 приема наличности показан выдвинутым из аппарата, чтобы облегчить открывание откидной дверцы и извлечение листов, в других вариантах осуществления откидная дверца может быть выполнена с соответствующими размерами, сегментирована или по-другому адаптирована для получения доступа к листам в области 100 хранения, без необходимости выдвигания механизм приема наличности из его рабочего положения.
Фиг.13 показывает еще одну альтернативу для получения доступа к листам в области 100 хранения. В указанном примере осуществления, предусмотрено отверстие 196 через область хранения так, чтобы обеспечить доступ к листам. Доступ через отверстие 196 обеспечивается к раздвижной дверце 198. Дверца 198 скользит по направлению стрелки S во встречных дорожках, щелях или других подходящих механизмах для удерживания и направления дверцы в поддерживающем соединении с механизмом приема наличности. В некоторых вариантах осуществления, дверца 198 может включать в себя блокирующий механизм 200. Блокирующий механизм 200 может представлять собой подходящий ключ, комбинацию или другой блокирующий механизм, чтобы гарантировать доступ только санкционированным служащим к документам в области хранения. Согласно фиг.13 дверца 198 может быть разблокирована и открыта без перемещения механизма приема наличности назад. В некоторых вариантах осуществления, такая конструкция может служить для ускорения обслуживания и удаления недействительных листов из аппарата.
В некоторых вариантах осуществления, подозрительные банкноты или другие документы сопоставляются с конкретными транзакциями, проводимыми на аппарате, и/или с конкретными пользователями аппарата. Это может обеспечиваться устройством подтверждения подлинности и контроллером согласно способу, описанному в патенте США № 09/993070. В некоторых примерах осуществления, подозрительные документы в хранилище могут быть расположены в определенном порядке, и контроллер обеспечивает один или несколько выводов, как, например, на экран или на принтер, указывающих транзакции и/или пользователей, которые соответствуют подозрительным листам. Альтернативно или дополнительно, могут быть приняты меры, чтобы механизм приема наличности находился в оперативном соединении с принтером, который печатает информацию, идентифицирующую транзакцию и/или пользователя, для каждого из подозрительных листов. Это может включать в себя, например, видимые или невидимые знаки. В некоторых вариантах осуществления, знаки могут быть устраняемыми, как, например, устраняемые метки или знаки, которые могут смываться или по-другому удаляться или нейтрализоваться. В других вариантах осуществления, характеристики, определенные устройством подтверждения подлинности, могут быть такими, что данные являются достаточно подробными и обеспечивают создание уникального электронного профиля каждого подозрительного листа. Указанные данные могут запоминаться в аппарате в некотором устройстве хранения данных под управлением контроллера или в другом месте в подсоединенном устройстве хранения данных. Затем упомянутые данные идентификации листов могут быть использованы позже обслуживающим персоналом или другими лицами, извлекающими или анализирующими подозрительные листы, для сопоставления каждого листа с транзакцией и/или пользователем, который ввел лист в аппарат. Указанная процедура может быть выполнена в некоторых вариантах осуществления посредством перевода контроллера аппарата в режим для такого анализа и посредством подачи каждого подозрительного листа через механизм приема наличности. Далее контроллер сопоставляет сохраненные данные, относящиеся к транзакции и/или пользователю, с сохраненными данными, которые уникально идентифицируют лист. Затем такая информация представляется пользователю аппарата, извлекающему листы. Альтернативно, упомянутый анализ может проводиться посредством переноса данных из аппарата наряду с подозрительными листами и проведения анализа на другом устройстве подтверждения подлинности. Такие подходы являются иллюстративными подходами для уникальной идентификации подозрительного листа и сопоставления его с неким пользователем и/или некой транзакцией.
В примере осуществления механизма 80 приема наличности желательно поддерживать внутренние компоненты механизма приема наличности в изолированном и герметичном состоянии, за исключением случаев, когда требуется доступ для технического обслуживания. Понятно, что хотя в примере осуществления механизм приема наличности расположен в промежуточном положении между вертикально проходящей стенкой камеры, в основном L-образной формы, и стенкой корпуса для обеспечения улучшенной защиты, это также представляет проблемы для обслуживания. Хотя вариант с перемещением механизма приема наличности назад через отверстие банкомата облегчает техническое обслуживание, проблемы по-прежнему потенциально присутствуют из-за необходимости съема панелей крышки и т.д. Кроме того, всегда есть риск того, что снятые панели крышки не будут помещены на место, что может приводить к проникновению загрязнений в механизм приема наличности, к ненадлежащей работе или отказам.
Чтобы снизить риск того, что обслуживающий персонал не вернет на место панели обслуживания, примеры осуществления изобретения выполняются для минимизации риска того, что панели обслуживания после их снятия не будут возвращены на место. Как показано на фиг.15, боковая панель 210 обслуживания монтируется в шарнирном поддерживающем соединении с механизмом приема наличности. Это позволяет открывать панель 210 обслуживания после выдвижения механизма приема наличности назад из аппарата. Это обеспечивает возможность легкого доступа к компонентам в аппарате. Передняя панель 212 обслуживания монтируется в шарнирном соединении смежно с передней стороной механизма приема наличности. Передняя панель обслуживания обеспечивает возможность доступа к компонентам через переднее отверстие механизма приема наличности.
В результате шарнирной установки панелей 210 и 212 обслуживания они могут легко открываться. Однако шарнирная установка затрудняет техникам полное удаление панелей от аппарата. Далее, механизм приема наличности не может быть возвращен для работы без закрывания панелей обслуживания. Понятно, что могут быть использованы подходящие блокирующие механизмы или другие удерживающие устройства так, чтобы гарантировать, что как только панели обслуживания возвращаются в их закрытое положение, они остаются там до того времени, пока не возникнет необходимость снова открыть панели обслуживания для технического обслуживания.
Фиг.16 иллюстрирует альтернативный подход для обеспечения панелей обслуживания на механизме 80 приема наличности, которые обеспечивают защиту для внутренних компонентов и могут легко удаляться для технического обслуживания. В варианте осуществления, показанном на фиг.16, панели 214 и 216 обслуживания могут перемещаться в направлении, показанном стрелками. Панели 214 и 216 обслуживания в примере осуществления устанавливаются в каналах, щелях или других подходящих устройствах на механизме приема наличности для направления и удерживания панелей в нужном положении. Полезный аспект панелей обслуживания, показанных на фиг.16, состоит в том, что механизм 80 приема наличности не должен смещаться из рабочего положения, чтобы открыть внутренность механизма посредством перемещения панели обслуживания. Панель 214 обслуживания может быть полностью удалена, открывая компоненты механизма приема наличности без смещения механизма приема наличности из рабочего положения. Панель 216 обслуживания, которая может включать в себя переднюю сторону, поддерживающую упругую прокладку, может быть выполнена легко удаляемой посредством перемещения прокладки относительно желоба. Эта особенность панели обслуживания может быть особенно полезна в ситуациях, когда обслуживающий персонал должен наблюдать механизм приема наличности в работе, чтобы диагностировать и устранять некоторые проблемы.
В некоторых вариантах осуществления, может оказаться желательным использовать устройства, которые обеспечивают повторную установку панелей 214 и 216 обслуживания на механизме приема наличности после завершения процедур технического обслуживания. Это может быть выполнено с использованием контактных переключателей, таких как контактный переключатель 218, воспринимающих повторную установку панелей обслуживания на место. Такие контактные переключатели могут ограничить действие механизма приема наличности, пока панели не будут поставлены обратно. Альтернативно, схемы в банкомате могут инициировать сигнал тревоги или другую индикацию, если дверцы доступа в верхний корпус закрыты и панели обслуживания не возвращены в их рабочее положение. Могут быть использованы и другие подходы.
Компоновки панелей обслуживания, показанные на фиг.15 и 16 для механизма приема наличности, являются иллюстративными, и в других вариантах осуществления могут быть использованы другие подходы.
В банкомате 10 также имеется механизм выдачи наличности через отверстие 38 для выдачи наличности в приборной панели. Указанный механизм выдачи наличности 220 схематично представлен на фиг.3. Механизм выдачи наличности размещен на более высокой стороне камеры L-образной формы и включает в себя зоны 222, 224, 226, 228, 230 и 232 хранения банкнот. В некоторых примерах осуществления, зоны хранения банкнот могут находиться в объемных кассетах для банкнот, которые обеспечивают хранение банкнот и могут легко удаляться из аппарата.
В примере осуществления, каждая из таких зон хранения банкнот оперативно связана с захватывающим механизмом 234, 236, 238, 240, 242 и 244. Каждый из захватывающих механизмов селективно действует в ответ на сигналы контроллера 64, чтобы селективно выдавать банкноты или другие листы из соответствующей зоны хранения в ответ на соответствующие вводы данных в устройства ввода пользовательского интерфейса. В некоторых вариантах осуществления, используемые захватывающие механизмы могут быть подобны захватывающему механизму 86, используемому для отделения листов от стопки в механизме 80 приема наличности.
Вертикально проходящее средство 246 транспортировки оперативно связано с захватывающими механизмами и механизмом 248 представления. При работе аппарата механизм представления принимает листы, выдаваемые захватывающими механизмами, для перемещения листов вверх посредством средства 246 транспортировки, чтобы складывать листы в стопку 250. После того как желательные листы сложены, механизм представления перемещает стопку к отверстию 38 для выдачи наличности, при этом контроллер открывает заслонку 42 для выдачи наличности. Это позволяет выдавать стопку листов пользователю аппарата.
Хотя в примере осуществления механизм 220 выдачи наличности описан как выдающий различные номиналы денежных банкнот, в других вариантах осуществления, механизм выдачи наличности может выдавать другие типы листов. Они могут включать в себя, например, аккредитивы, марки, ваучеры, дарственные или другие документы. Далее, в некоторых вариантах осуществления, банкомат может выдавать комбинации банкнот и других документов, когда они будут запрошены пользователем. Показанные механизмы являются иллюстративными, и в других вариантах осуществления, могут быть использованы другие подходы.
При работе банкомата 10 пользователь, работающий на аппарате, вводит данные, достаточные, чтобы идентифицировать пользовательский счет через устройства ввода аппарата. Это может включать, например, ввод через устройства ввода данных кредитной карточки и/или буквенно-цифровых данных, которые могут идентифицироваться контроллером в аппарате и/или посредством взаимодействия с удаленным компьютером, чтобы определить финансовый счет пользователя. После этого контроллер управляет устройствами вывода аппарата для вывода подсказок пользователю относительно ввода данных и выбора конкретного типа транзакции или других вводов данных. В ситуациях, где пользователь желает проводить транзакцию приема наличности, банкомат действует в ответ на сигналы контроллера 64 для открывания заслонки 44 в желоб 82, что позволяет пользователю вводить стопку банкнот или других документов в аппарат.
В ответ на помещение пользователем стопки документов 84 и/или в ответ на ввод данных от пользователя, механизм 80 приема наличности разбирает стопку документов с помощью захватывающего механизма 86 и определяет, по меньшей мере, одну характеристику каждого документа устройством 88 подтверждения подлинности. В результате определения характеристик документов действительные или приемлемые документы направляются с помощью направляющего устройства 92 в устройство 94 депонирования, где они могут временно храниться. Также контроллер может управлять направляющим устройством 92, чтобы направлять подозрительные документы, такие как недействительные документы или, вероятно, фальшивые банкноты, в средство 86 транспортировки и зону 100 хранения.
После перемещения документов мимо устройства подтверждения подлинности контроллер уведомляет пользователя о принятом аппаратом решении относительно документов посредством вывода данных через одно или несколько устройств вывода. В некоторых примерах осуществления пользователю может быть предложен альтернативный выбор извлечь действительные или недействительные документы или и то и другое. Это может быть выполнено посредством устройства депонирования, подающего документы в одно и то же или разные средства транспортировки, так что документы могут быть возвращены в желоб или другую зону аппарата, которая доступна пользователю. Подобным образом, если предлагается альтернативный выбор, недействительные документы могут быть подобным образом направлены обратно к пользователю. Могут быть использованы различные подходы в зависимости от конкретной конфигурации аппарата и программирования контроллера.
Если документы, определенные как действительные, должны храниться внутри аппарата, то контроллер действует в ответ на ввод данных от пользователя и/или в соответствии с его программированием, для доставки документов из устройства 94 депонирования.
Документы направляются направляющим устройством 92 через отверстие 102 для приема наличности в камере, в которой они транспортируются и хранятся в соответствующих механизмах обработки листов или в соответствующем объемном контейнере хранения. Пользовательский счет пополняется на стоимость вложенных действительных листов. Собирается информация, касающаяся любых недействительных листов, введенных пользователем, так что, если листы позже определяются как действительные, счет пользователя может быть пополнен, или альтернативно, с пользователем может быть установлен контакт, чтобы определить источник недействительных листов. Понятно, что указанная транзакция является иллюстративной, и в других вариантах осуществления могут быть использованы другие подходы.
Используя банкомат 10, пользователь также может проводить транзакции выдачи наличности. Это может быть сделано либо во время такого же сеанса, как транзакция приема наличности, либо как часть отдельного сеанса. При такой транзакции пользователь банкомата осуществляет ввод данных в устройства ввода для идентификации одного или более счетов пользователя и/или ввод других идентификационных данных. В ответ на подсказки, выводимые на устройства вывода, пользователь осуществляет вводы данных, показывающие, что ему желательно провести транзакцию, включающую выдачу банкнот или других типов листов, и количество, свойства или характер листов, которые запрашивает пользователь.
В ответ на ввод данных пользователем контроллер 64 управляет механизмом 220 выдачи наличности и захватывающим механизмом, расположенным в нем, для доставки требуемых листов в механизм 248 представления, который укладывает запрошенные листы в стопку 250. Как только листы сложены, листы перемещаются наружу к пользователю, когда открывается механизм заслонки. Затем контроллер обеспечивает вычет значения выданных наличных денег или других финансовых документов с пользовательского счета.
Понятно, что описанные транзакции являются иллюстративными, и в различных вариантах осуществления могут быть проведены дополнительные типы транзакций. Кроме того, как описано выше, механизмы приема и выдачи наличности, описанные в вышеупомянутых ссылках, могут быть использованы для замены или дополнения описанных механизмов для выполнения транзакций. В некоторые варианты осуществления могут быть включены другие типы устройств транзакционных функций. Например, как описано выше, в вариантах осуществления может обеспечиваться формирование изображений и подтверждение подлинности чеков. В таких случаях может быть желательным, чтобы автомат имел возможность аннулировать или уничтожать чек, чтобы не было риска, что чек позже будет украден и использован мошенническим путем. В некоторых вариантах осуществления, для выполнения таких функций могут быть обеспечены подходящие механизмы. Кроме того, в некоторых вариантах осуществления может оказаться желательным создание аппаратом банковских чеков, аккредитивов, билетов или других документов, и для создания таких документов в выбранном количестве могут быть предусмотрены подходящие механизмы. Далее, в альтернативных вариантах осуществления, в банкомат или в другой автоматизированный банковский аппарат, имеющий описанные особенности, могут быть введены средства, используемые торговцами, как, например, устройства приема депозитных пакетов, выдачи завернутых монет или другие устройства. Как должно быть понятно, свойства раскрытого банкомата также могут быть использованы во многих других типах автоматизированных банковских аппаратов.
Примеры осуществления изобретения включают в себя светоизлучающие приборы 17, 31, 41, 43 и 45. В примере осуществления, светоизлучающие приборы располагаются в областях на пользовательском интерфейсе в местоположениях, связанных с конкретными устройствами транзакционных функций. Например, светоизлучающий прибор 31 связан с принтером 30 квитанций, светоизлучающий прибор 17 связан с устройством 16 считывания кредитных карт. Светоизлучающие приборы оперативно связаны с одним или более контроллерами в аппарате. Кроме того, такие приборы могут излучать свет выбранных цветов в определенные моменты времени в процессе транзакции в ответ на рабочее состояние устройства транзакционных функций банкомата, с которым связан светоизлучающий прибор.
В примере осуществления, светоизлучающий прибор включает в себя матрицу светодиодов (LED) различных цветов, встроенных в гибкую схему. Например, фиг.22 представляет светоизлучающий прибор 31. В рассматриваемом примере осуществления все светоизлучающие приборы, по существу, сходны. Светоизлучающий прибор 31 содержит матрицу светодиодов 304, соединенных через схему на гибкой подложке, такой как полиимидная пленка, например материал DuPont Kapton®, и участок 306 гибкого соединителя. Гибкий соединитель завершается в электрическом разъеме 308. Электрический разъем 308 разъемным образом соединяется со схемой возбуждения или другой электрической схемой в аппарате, которая оперативно связана с одним или более контроллерами для управления излучением светоизлучающего прибора.
В показанном на фиг.23 в примере осуществления, светоизлучающий прибор включает в себя три типа различных цветных светодиодов. Указанные светодиоды являются красными, зелеными и желтыми и представлены на фигурах обозначениями “R”, “G” и “Y”. Как показано на фиг.23, светодиоды образуют матрицу таким образом, что светодиоды только одного цвета выровнены по вертикали вдоль одной линии светоизлучающего прибора. Например, как показано на фиг.23, линия 310 содержит линию вертикально выровненных красных светодиодов, линия 312 представляет собой линию только зеленых светодиодов, и линия 314 – только желтых светодиодов. Как показано на фиг.23, линии повторяются так, что имеется по пять вертикальных линий каждого типа светодиодов. Понятно, что хотя в данном примере осуществления светодиоды каждого цвета расположены в вертикальной компоновке, в других вариантах осуществления могут быть использованы другие компоновки, как, например, упорядочение по горизонтали или другие матрицы. Также должно быть понятно, что хотя светодиоды соединены последовательно, как показано на фиг.24, электрические соединения на гибкой схеме обеспечивают разнесенные выровненные по вертикали пары светодиодов только одного цвета.
Как показано на фиг.25, светоизлучающие приборы поддерживаются на гибком полотне. Полотно, в предпочтительном варианте осуществления, является тонким и имеет толщину приблизительно 1,2 миллиметра. Это облегчает расположение светоизлучающих приборов на пользовательском интерфейсе. В примере осуществления, светодиоды 316 и 318 установлены на базовом слое 320, включающем в себя схему на гибкой подложке. Наружный слой 322, который в примере осуществления содержит полиэфирный слой, лежит поверх светодиодов. Проставка 324 размещена между базовым слоем и наружным слоем. Как лучше видно на фиг.23, может быть использовано множество проставок. В примере осуществления, проставки расположены вне светодиодов и имеют отверстия 326 для облегчения позиционирования светоизлучающих приборов на аппарате. Они могут включать в себя стержни, штифты или крепежные элементы, проходящие через отверстия, чтобы поддерживать светоизлучающие приборы в надлежащем положении. Далее, в примере осуществления, удаляемый слой включает в себя вышележащий адгезионный слой 328. Адгезионный слой обеспечивает возможность прикрепления светоизлучающего прибора к выбранной области внутри аппарата. Для прикрепления светоизлучающего прибора адгезионный слой сначала открывается посредством удаления блокирующего слоя 330, как показано на фиг.25.
В примере осуществления, светоизлучающие приборы прикрепляются к компонентам аппарата, с которым они связаны. Это можно сделать, например, посредством использования модульной конструкции устройств транзакционных функций в аппарате и посредством прикрепления определенного светоизлучающего прибора к соответствующему модулю. Например, фиг.18 показывает устройство 80 приема наличности, которое скомпоновано как модульное устройство, предназначенное для обработки листов, которые могут приниматься в аппарате. Светоизлучающий прибор 41 установлен в поддерживающем соединении с модулем. Смежная область приборной панели аппарата имеет отверстие, через которое можно видеть светоизлучающий прибор, когда он находится в рабочем положении. В некоторых вариантах осуществления, приборные панели аппарата могут включать в себя прозрачный или полупрозрачный материал, отделяющий светоизлучающий прибор от внешней стороны аппарата. Однако, в других вариантах осуществления, светоизлучающие приборы могут быть открыты к внешней стороне аппарата. Прикрепление светоизлучающих приборов непосредственно к модульным компонентам аппарата может облегчить сборку и техническое обслуживание аппарата. Помещение светоизлучающего прибора непосредственно на модуле устройства транзакционных функций, с которым он связан, может снизить количество проводов и разъемов, необходимых для сборки и технического обслуживания.
В примере осуществления, многоцветные светоизлучающие приборы работают под управлением одного или более контроллеров аппарата. Каждый светоизлучающий прибор испускает свет выбранного цвета и/или в выбранном режиме в ответ на рабочее состояние соответствующего устройства транзакционных функций. Например, аппараты могут селективно программироваться, чтобы излучать свет определенного цвета в ответ на заданное рабочее состояние. Например, светоизлучающий прибор рядом с устройством считывания кредитных карт может излучать зеленый свет, когда он готов принять кредитную карту от пользователя, а затем излучение меняется на желтый свет после того, как кредитная карта была им принята. Альтернативно или дополнительно, свет различных цветов может вспыхивать или изменяться, чтобы отражать условия конкретного устройства. Далее, в случае неправильного действия, например, когда пользователь пытается неправильно вставить карту в устройство считывания кредитных карт, контроллер может быть запрограммирован для включения соответствующего светоизлучающего прибора, испускающего красный свет, или формирующего вспышки света определенного цвета, чтобы показать пользователю, что он выполнил неправильное действие. Аналогично, если конкретное устройство транзакционных функций не срабатывает или недоступно, может выдаваться красный цвет.
В некоторых примерах осуществления контроллер может быть запрограммирован для управления светоизлучающими приборами для оказания помощи пользователю при работе на аппарате. Это может включать, например, свечение или мигание излучения определенного цвета, чтобы указать пользователю на требуемое действие в конкретном местоположении на аппарате. Например, в конкретный момент времени при выполнении транзакции контроллер может обеспечивать вывод на дисплей индикации для клиента, что он должен забрать свою квитанцию. Когда аппарат выдал квитанцию, контроллер может управлять светоизлучающим прибором 31, связанным с доставкой квитанций, чтобы светиться, вспыхивать или каким-либо другим способом показывать пользователю, какое действие требуется от пользователя в зоне щели доставки квитанций.
В некоторых примерах осуществления, контроллер может быть запрограммирован для управления светоизлучающими приборами, чтобы селективно светиться периодически, с различной длительностью в зависимости от рабочего состояния связанного устройства. Например, если пользователь обеспечивает ввод данных для запроса транзакции выдачи наличности, то светоизлучающий прибор 43, рядом с отверстием для выдачи наличности, может светиться желтым светом, когда аппарат работает внутренним образом, перемещая банкноты к отверстию для выдачи наличности. После этого, когда банкноты вытолкнуты через отверстие и представлены пользователю, контроллер может выдать команду на изменение цвета светоизлучающего прибора на зеленый. В дополнение, контроллер может вызвать мерцание зеленого света, чтобы привлечь внимание пользователя к тому факту, что деньги готовы и можно их взять. Далее, в примере осуществления, если пользователь не взял свои наличные деньги спустя некоторое время и автомат запрограммирован для возврата их внутрь, то контроллер может управлять светоизлучающим прибором для формирования вспышек, изменения частоты и/или длительности вспышек или изменения цвета вспышек в чередующемся порядке, чтобы привлечь внимание пользователя, прежде чем деньги будут втянуты в аппарат.
В других вариантах осуществления, цвета, излучаемые светоизлучающими приборами, могут селективно программироваться на основе эстетических принципов. Например, если организация, которая использует аппарат, имеет особенное оформление, включающее некоторые цвета, то контроллер может быть запрограммирован для использования светоизлучающих приборов, соответствующих указанному оформлению. Таким образом, например, если цвет особенного оформления, принятый в организации, зеленый, то аппарат может быть запрограммирован, чтобы использовать зеленые светодиоды в качестве направляющих индикаторов при подсказке пользователю, как работать на аппарате. Аналогично, если другая организация, использующая подобный аппарат, применяет желтый цвет в качестве части схемы своего оформления, то контроллер может быть запрограммирован на использование в качестве направляющих индикаторов желтых светодиодов в светоизлучающих приборах.
Хотя показано использование трех цветов светоизлучающих приборов, в других вариантах осуществления могут быть обеспечены дополнительные типы светоизлучающих приборов. Кроме того, хотя в рассматриваемом примере осуществления светоизлучающие приборы расположены так, что из данного светоизлучающего прибора может выводиться только один цвет в заданный момент времени, в других вариантах осуществления может быть обеспечено одновременное возбуждение многоцветных светодиодов. В таких компоновках светодиоды основных цветов могут быть упорядочены так, чтобы реализовать диапазоны оттенков цвета посредством комбинаций цветов. Последнее можно осуществить посредством возбуждения множества светоизлучающих приборов одновременно и/или посредством варьирования интенсивности таких источников под управлением контроллера так, чтобы реализовать различные цвета. Это может включать в себя, например, обеспечение плавного изменения оттенков цвета светоизлучающего прибора согласно статусу соответствующего устройства транзакционных функций. Это может включать в себя, например, обеспечение индикации пользователю статуса завершения определенного задания. Так же могут вырабатываться комбинации двух или более цветов. Должно быть понятно, что описано использование светодиодов в качестве источников света, в других вариантах осуществления изобретения могут быть использованы другие подходы. Понятно, что описанные структуры и действия являются иллюстративными и что в объем настоящего изобретения входят многочисленные другие структуры и способы.
В примере осуществления банкомата 10 принимаются меры предосторожности, чтобы облегчить работу пользователя на банкомате и минимизировать риск наблюдения за пользователем или за его действиями со стороны посторонних лиц. Такие нежелательные действия могут включать в себя, например, случаи, когда несанкционированные лица наблюдают, как пользователь вводит свой личный идентификационный номер или другие данные. Как показано на фиг.26, приборные панели 12 включают в себя углубленную область 332, в которой располагаются дисплей, функциональные клавиши, устройство считывания кредитных карт и выпускное отверстие для квитанций. Углубленная область 332 освещается источником 334 света. Источник 334 света обеспечивает освещение в основном в нисходящем направлении, чтобы пользователь мог легко видеть местоположения устройств ввода и вывода на приборной панели аппарата.
Панели 12 приборов включают в себя верхний участок 336 панели, который располагается в основном над источником 334 света, и пользовательский интерфейс аппарата. Как представлено на фиг.26, верхний участок панели включает в себя пару выпуклых зеркал 338, 340. Выпуклые зеркала 338, 340 располагаются в основном горизонтально и на противоположных сторонах пользовательского интерфейса.
Как показано на фиг.27, пользователь 342, работающий с банкоматом 10, в основном будет располагаться по центру относительно пользовательского интерфейса аппарата. В результате пользователь имеет возможность видеть в выпуклых зеркалах область 343 позади себя. Пользователь имеет возможность просматривать эту область через зеркала 338 и 340, находящиеся слева и справа от него. При этом пользователь может видеть, что происходит сзади него, а также сбоку от области непосредственно сзади него. Это позволяет определить, находится ли кто-либо близко от него, а также пытается ли кто-то наблюдать за пользователем или за его вводом данных в банкомат. В некоторых вариантах осуществления, где банкомат работает во внешней среде, источники освещения могут быть предусмотрены в области 343, чтобы облегчить наблюдение пользователя за лицами, которые могут присутствовать там.
Понятно, что показанная компоновка является иллюстративной, и в других вариантах осуществления могут быть использованы другие зеркала или системы наблюдения. Кроме того, в некоторых вариантах осуществления могут быть приняты меры, чтобы поддерживать чистоту зеркал, с целью снизить риск ухудшения возможности наблюдения пользователем окружающей обстановки. Указанные меры могут включать в себя, например, автоматизированные устройства, которые периодически очищают поверхность зеркал. Это могут быть внешние очищающие устройства или внутренние очищающие устройства. Очистка может выполняться, например, с использованием связанных с выпуклыми зеркалами одного или более поворотных элементов, которые могут периодически поворачиваться внутри приборной панели посредством двигателя или другого движущего устройства, которое по сигналам контроллера банкомата выводит на обозрение новую внешнюю поверхность. Очищающие устройства на внутренней части приборной панели могут обеспечивать стирание загрязнений с поверхности зеркал, когда оно проходит внутри, так что последующий поворот выставляет пользователю поверхность чистого зеркала. Они могут включать в себя, например, контактные скребки стеклоочистителя, которые взаимодействуют с поверхностью зеркала. Движение поверхности зеркала, такое как его поворот во взаимодействии со скребками стеклоочистителя, может служить для удаления скоплений грязи на отражающей поверхности. В некоторых вариантах осуществления поверхность зеркала может быть частью цилиндрического тела, и вращение этого тела вокруг центральной продольной оси может обеспечить действие стирания по мере того, как поверхность зеркала движется мимо неподвижных очищающих устройств, взаимодействующих с ними. В некоторых вариантах осуществления, неподвижные очищающие устройства могут содержать упругий материал и/или могут включать в себя подвижно закрепленные механизмы для приведения очищающего устройства во взаимодействие с подвижной поверхностью зеркала. В альтернативных вариантах осуществления, внутри аппарата или рядом с ним может быть предусмотрен резервуар с чистящим раствором. Для нанесения чистящего раствора на поверхность зеркал при ее перемещении относительно очищающих устройств может быть использован насос или другое устройство, обеспечивающее удаление грязи. Указанные решения являются иллюстративными, и в других вариантах осуществления, могут быть использованы другие подходы.
В некоторых вариантах осуществления, может определяться накопление материала на поверхности зеркала для определения того, когда возникает необходимость в очистке. Это может выполняться, например, с помощью зеркала, которое имеет свойства светопропускания и светоотражения, подобно полупрозрачному посеребренному зеркалу. Например, позади зеркала может быть расположен источник излучения и датчик. В некоторых вариантах осуществления, излучение, испускаемое источником, частично отражается от внутренней части поверхности зеркала, и величина отраженного излучения воспринимается датчиком. Накопление грязи на внешней поверхности зеркала изменяет величину излучения, отраженного от внутреннего источника излучения к датчику. В некоторых вариантах осуществления, накопление грязи на внешней поверхности зеркала увеличивает величину излучения, отраженного от внутренней поверхности зеркала. Такое изменение величины отраженного излучения детектируется и используется при определении необходимости очистки зеркала. Например, сразу после очистки зеркала под управлением контроллера банкомата или другого процессора излучатель испускает излучение, а датчик воспринимает величину отраженного излучения от внутренней поверхности зеркала. Это исходное значение сохраняется контроллером в одном или более устройствах хранения данных. После этого, периодически, например, синхронизированно по времени или же после заданного числа операций, излучатель снова испускает излучение и воспринимается уровень отраженного излучения. Затем контроллер может сравнивать текущий уровень отраженного излучения с исходным значением.
В ответ на определение разности, превышающей заданную величину и соответствующей неприемлемому уровню грязи, накопившейся на внешней поверхности зеркала, контроллер вырабатывает один или более сигналов, обеспечивающих выполнение процедуры очистки зеркал. Такие сигналы могут управлять работой устройства, например двигателя или другого механизма для инициирования движения зеркала для его очистки. Альтернативно, в некоторых вариантах осуществления, контроллер посылает в удаленный узел обслуживания сообщение о необходимости очистки поверхностей зеркал на приборной панели. В других вариантах осуществления, контроллер управляет работой банкомата для обеспечения очистки зеркал посредством внутреннего чистящего механизма повторной проверки отражательной способности после выполнения автономной очистки. Если проведенная автономная очистка не привела к восстановлению отражательной способности до прежнего исходного значения или значения в заданном диапазоне (что указывает на то, что зеркало, возможно, было окрашено распылением), то контроллер обеспечивает отправку сообщения в удаленный узел обслуживания. Указанные подходы являются иллюстративными, и в других вариантах осуществления могут быть использованы другие подходы.
В некоторых вариантах осуществления, контроллер может определять наличие грязи на зеркале посредством использования зеркал или других отражательных устройств, которые пропускают некоторое количество света снаружи внутрь. Один или более датчиков света, оперативно связанных с контроллером аппарата, располагаются позади поверхности зеркала. На внешней стороне банкомата расположен внешний источник света для восприятия уровня внешнего освещения. Контроллер программируется для определения неприемлемого уровня скопления грязи на зеркале, на основе уровня внешнего освещения, воспринимаемого как проходящий через зеркало. Это может выполняться, например, посредством восприятия величины сигнала от датчика внешнего освещения и сравнения величины внешнего освещения с уровнем света, воспринимаемым датчиком, расположенным позади зеркала. Понятно, что если поверхность зеркала является чистой или несущественно загрязнена, то датчик, находящийся позади зеркала, воспринимает наибольший уровень света. По мере скопления грязи уровень прошедшего света будет уменьшаться. Если величина света, воспринятого как прошедшего через зеркало и достигшего датчика, относительно уровня внешнего освещения, уменьшается до заданного отношения или другого значения, то контроллер может работать согласно его запрограммированным инструкциям, чтобы управлять необходимым устройством для автономной очистки зеркала, генерирования сигналов, чтобы контактировать с узлом обслуживания, или предпринимать другие подходящие действия.
В других альтернативных вариантах осуществления, один или более источников общего освещения могут быть оперативно связаны с контроллером, а также может использоваться внутренний излучатель и датчик за зеркальной поверхностью, позволяющей свету проходить через нее. В указанных вариантах осуществления контроллер может быть запрограммирован для анализа уровня внешнего освещения, которое должно проходить через зеркало и достигать датчика, на основе уровня внешнего освещения. При данных обстоятельствах контроллер может компенсировать внешнее освещение при определении уровня отраженного света от внутреннего излучателя. Такая компенсация может дополнительно способствовать более точному определению того, когда имеется необходимость в очистке зеркала. Конкретные соотношения и уровни компенсации будут зависеть от конкретной конфигурации зеркала. Альтернативно или дополнительно, в некоторых вариантах осуществления контроллер может воспринимать уровень внешнего света и его величину, проходящую через зеркало, достигая датчика в момент времени, отличающийся от того, когда контроллер использует внутренний излучатель и воспринимает отраженное излучение. Контроллер может сравнивать эти два отдельных значения и их соотношение и/или изменения коэффициента отражения и коэффициента пропускания света во времени, чтобы определить, когда имеется необходимость в чистке зеркала. Указанные подходы являются иллюстративными, и в других вариантах осуществления могут быть использованы другие подходы.
В других вариантах осуществления, зеркала могут функционировать только при проведении транзакций или их частей. Это может быть сделано, например, посредством обеспечения зеркал, которые функционируют только, когда воспринимается присутствие пользователя рядом с аппаратом или когда аппарат участвует в проведение конкретной части транзакции. Например, датчик, такой как акустический датчик, датчик излучения, датчик веса или другое подходящее устройство, может обнаруживать присутствие пользователя вблизи аппарата. После восприятия пользователя, находящегося рядом с аппаратом, контроллер может обеспечить открытие одного или более зеркал, обращенных наружу на приборной панели аппарата. Это может быть выполнено, например, с помощью подвижных элементов, связанных с поверхностями зеркал, приводимыми в движение двигателями или другими подходящими движущими устройствами, оперативно связанными с контроллерами. После восприятия присутствия пользователя рядом с аппаратом контроллер управляет двигателями или другими движущими устройствами для перемещения зеркал в рабочее положение, чтобы пользователь мог видеть область сзади него.
Например, в некоторых вариантах осуществления, отражающие поверхности, которые содержат зеркало, могут быть связаны с поворотным элементом. Поворотный элемент может поворачиваться, когда потребитель находится рядом с аппаратом, для размещения отражающей поверхности так, чтобы обеспечить пользователю возможность видеть область позади него. Далее, когда определяется, что пользователь выходит из области рядом с банкоматом, то контроллер в ответ на это управляет элементами, содержащими отражающие поверхности таким образом, чтобы переместить отражающие поверхности в скрытое положение. Указанный подход имеет преимущество, состоящее в том, что зеркальные поверхности открываются только при проведении транзакций и, следовательно, в меньшей степени подвергаются загрязнению. В дополнение, в некоторых вариантах осуществления, очищающие устройства могут быть предусмотрены рядом с отражающими поверхностями, так что при перемещении отражающих поверхностей происходит их вытирание и очистка от грязи.
Хотя в некоторых вариантах осуществления отражающие поверхности могут перемещаться в рабочее положение для потребителя в ответ на восприятие присутствия пользователя рядом с аппаратом, в других вариантах осуществления могут быть использованы другие подходы. Они могут включать, например, перемещение зеркальных поверхностей в рабочее положение только в ответ на некоторые действия или некоторые типы транзакций, проводимых пользователем на аппарате. Альтернативно или дополнительно, зеркала могут перемещаться в рабочее положение только в ответ на другие условия, такие как условия внешнего освещения, время суток и/или восприятие присутствия людей или объектов в области позади пользователя. Альтернативно или дополнительно, контроллер может быть запрограммирован, и могут быть обеспечены подходящие датчики, чтобы перемещать зеркала в рабочее положение на основе характера действий пользователя банкомата. Например, в банкомате, который предназначен как для водителей, так и для пешеходов, соответствующие датчики могут располагаться таким образом, чтобы воспринимать, находится ли пользователь в транспорте или подходит к аппарату. Это может быть сделано, например, посредством датчиков приближения, магнитных датчиков, датчиков веса или других подходящих датчиков. Контроллер может быть запрограммирован, чтобы определять на основе входных данных одного или более датчиков, находится ли пользователь в транспортном средстве или перемещается пешим образом. Если определено, что пользователь находится в транспортном средстве, то перемещение зеркал в рабочее положение может быть необязательным, так как транспортное средство может служить для блокировки доступа несанкционированных пользователей к наблюдению данных ввода, осуществляемого пользователем на аппарате. Альтернативно, если определятся, что пользователь приблизился к аппарату пешком, то контроллер может обеспечить перемещение зеркал в рабочее положение, чтобы гарантировать пользователю возможность обозревать область позади него, из которой несанкционированные лица могут попытаться увидеть ввод данных в аппарат.
В других вариантах осуществления, могут быть приняты альтернативные или дополнительные меры предотвращения возможности наблюдения ввода данных пользователями на аппарате. Например, в некоторых вариантах осуществления, приборная панель может быть обеспечена освещением, которое направлено назад от приборной панели в сторону от линии зрения пользователя. Такое направленное назад освещение может затенять обзор несанкционированным лицам или устройствам, пытающимся наблюдать ввод данных пользователем в аппарат. Указанное направленное назад освещение может действовать селективно, когда пользователь воспринимается, как стоящий рядом с аппаратом так, чтобы снизить риск перехвата пользовательского ввода данных и/или обеспечить освещение в области позади пользователя. В других вариантах осуществления, контроллер может быть запрограммирован так, чтобы инициировать направленное назад освещение только во время некоторых элементов транзакции, на которых пользователь выполняет некоторые действия. Например, контроллер может быть запрограммирован так, чтобы активизировать освещение, когда пользователь осуществляет ввод личного идентификационного номера, который пытаются перехватить несанкционированные лица. Далее, в некоторых вариантах осуществления, направленное назад освещение может активизироваться только в те моменты, когда зеркала перемещаются в рабочее положение. Альтернативно или дополнительно, осветительные приборы могут монтироваться в поддерживающем соединении с механизмами, связанными с конструкциями зеркал. В некоторых случаях могут быть приняты меры, чтобы обеспечить механизмы для очистки осветительных приборов, когда они перемещаются в рабочее положение. Указанные подходы являются иллюстративными, и в других вариантах осуществления могут быть использованы другие подходы. Описанные принципы могут быть использованы с другими типами автоматизированных банковских аппаратов и при других обстоятельствах, отличных от описанных в связи с примером осуществления.
Таким образом, автоматизированный банковский аппарат и система раскрытых вариантов осуществления могут обеспечить достижение одной или более целей, исключить недостатки, имеющие место при использовании устройств и систем, известных из уровня техники, решить проблемы и добиться желательных результатов, как описано выше.
В предшествующем описании некоторые термины использовались для краткости, ясности и понимания, однако из этого не следуют никакие излишние ограничения, поскольку такие термины предназначены для целей пояснения и должны толковаться в широком смысле. Более того, описания и иллюстрации приведены в качестве примеров, и изобретение не ограничивается показанными и описанными деталями.
В последующей формуле изобретения любой признак, описанный как средство для выполнения некоторой функции, должен толковаться как охватывающий любое средство, способное выполнять указанную функцию, и не должен считаться ограниченным конкретным средством, раскрытым в описании, или его простыми эквивалентами.
На основе описания признаков, раскрытий и принципов изобретения, способа, которым они построены и действуют, а также преимуществ и полезных достигнутых результатов, в прилагаемой формуле изобретения формулируются новые и полезные структуры, устройства, элементы, компоновки, действия, способы, процессы и взаимосвязи.
Формула изобретения
1. Устройство автоматизированного банковского аппарата, содержащее
пользовательский интерфейс, включающий в себя, по меньшей мере, одно устройство ввода для приема входных данных, идентифицирующих, по меньшей мере, одного из пользователей и его счета, и, по меньшей мере, одно устройство вывода;
по меньшей мере, один механизм обработки листов, включающий в себя
по меньшей мере, один захватывающий элемент, имеющий возможность перемещения в зацеплении с первым листом, ограничивающим стопку листов, причем перемещение, по меньшей мере, одного захватывающего элемента в направлении захвата приводит к перемещению первого листа в первом направлении от стопки, и
по меньшей мере, один листоотделительный элемент, расположенный в основном, напротив, по меньшей мере, одного захватывающего элемента, причем когда, по меньшей мере, один захватывающий элемент перемещается в первом направлении, то, по меньшей мере, один листоотделительный элемент в основном действует на первый лист, чтобы противодействовать перемещению первого листа в первом направлении и в основном предотвратить перемещение листов, отличных от первого листа, в первом направлении из стопки;
по меньшей мере, один датчик, расположенный в первом направлении, по меньшей мере, одного листоотделительного элемента, причем, по меньшей мере, один датчик предназначен для восприятия толщины листа;
по меньшей мере, один привод, оперативно связанный с, по меньшей мере, одним захватывающим элементом и, по меньшей мере, с одним листоотделительным элементом;
по меньшей мере, один контроллер, оперативно связанный, по меньшей мере, с одним датчиком и, по меньшей мере, одним приводом;
при этом в ответ на сигнал, по меньшей мере, одного датчика, воспринимающего перекрывающиеся множественные листы рядом, по меньшей мере, с одним датчиком, по меньшей мере, один контроллер управляет, по меньшей мере, одним приводом для перемещения, по меньшей мере, одного из, по меньшей мере, одного листоотделительного элемента и, по меньшей мере, одного захватывающего элемента, чтобы один из множественных листов, взаимодействующих, по меньшей мере, с одним листоотделительным элементом, перемещался во втором направлении, противоположном первому направлению, на некоторое расстояние, большее того, на которое другой лист из множественных листов, взаимодействующий, по меньшей мере, с одним захватывающим элементом, перемещается во втором направлении.
2. Устройство по п.1, в котором, по меньшей мере, один контроллер управляет, по меньшей мере, одним листоотделительным элементом так, чтобы перемещать один из множественных листов, взаимодействующих с ним во втором направлении быстрее, чем другие из множественных листов, взаимодействующих с, по меньшей мере, одним захватывающим элементом.
3. Устройство по п.1, в котором, по меньшей мере, один контроллер управляет, по меньшей мере, одним листоотделительным элементом для перемещения одного из множественных листов, взаимодействующих с ним, во втором направлении в течение более длительного периода времени, чем другие листы из множественных листов, взаимодействующих, по меньшей мере, с одним захватывающим элементом.
4. Устройство по п.1, в котором, по меньшей мере, один контроллер управляет, по меньшей мере, одним листоотделительным элементом для перемещения одного из множественных листов, взаимодействующих с ним, во втором направлении, при этом другие из множественных листов, взаимодействующие, по меньшей мере, с одним захватывающим элементом, удерживаются относительно неподвижными.
5. Устройство по п.1, в котором, по меньшей мере, один листоотделительный элемент содержит, по меньшей мере, один контактный ролик листоотделительного элемента.
6. Устройство по п.1, в котором, по меньшей мере, один листоотделительный элемент содержит, по меньшей мере, один бесконтактный ролик листоотделительного элемента.
7. Устройство по п.1, в котором, по меньшей мере, один листоотделительный элемент содержит, по меньшей мере, один контактный ролик листоотделительного элемента и, по меньшей мере, один бесконтактный ролик листоотделительного элемента.
8. Устройство по п.1, в котором механизм обработки листов обеспечивает отделение денежных банкнот от стопки.
9. Устройство по п.1, которое дополнительно содержит желоб, предназначенный для приема стопки листов от пользователя, причем механизм обработки листов обеспечивает отделение листов в стопке, помещенной в желоб.
10. Устройство по п.9, дополнительно содержащее, по меньшей мере, одно устройство подтверждения подлинности, предназначенное для определения, по меньшей мере, одной характеристики подлинности банкнот, отделенных от стопки.
11. Устройство по п.10, дополнительно содержащее корпус, включающий в себя камеру, и, по меньшей мере, одно средство транспортировки, оперативно связанное, по меньшей мере, с одним контроллером, причем в ответ на сигнал, по меньшей мере, одного контроллера, по меньшей мере, одно средство транспортировки действует для перемещения банкнот, определенных, по меньшей мере, одним устройством подтверждения подлинности, как имеющих, по меньшей мере, одну характеристику подлинности, в камеру.
12. Устройство по п.11, дополнительно содержащее зону хранения снаружи камеры, причем, по меньшей мере, один контроллер управляет, по меньшей мере, одним средством транспортировки для перемещения банкнот, определенных, по меньшей мере, одним устройством подтверждения подлинности, как не имеющих, по меньшей мере, одной характеристики подлинности, в зону хранения.
13. Устройство по п.11, в котором камера имеет в основном L-образную форму.
14. Устройство по п.9, дополнительно содержащее, по меньшей мере, один подвижный элемент, поддерживающий стопку посредством взаимодействия с первым листом в желобе, причем, по меньшей мере, один подвижный элемент оперативно связан, по меньшей мере, с одним приводом, и, по меньшей мере, один контроллер управляет, по меньшей мере, одним подвижным элементом для перемещения первого листа во втором направлении, когда, по меньшей мере, один захватывающий элемент приводит к перемещению листа, взаимодействующего с захватывающим элементом, во втором направлении.
15. Устройство по п.14, в котором, по меньшей мере, один подвижный элемент приводит к перемещению первого листа во втором направлении на расстояние, меньшее, чем то, на которое листоотделительный элемент перемещает один из множественных листов, взаимодействующий с ним, во втором направлении.
16. Устройство по п.15, в котором, по меньшей мере, один подвижный элемент содержит множество роликов, ограничивающих нижнюю область желоба.
17. Устройство автоматизированного банковского аппарата, содержащее
по меньшей мере, одно устройство ввода, предназначенное для приема данных ввода, идентифицирующих, по меньшей мере, одного из пользователей аппарата и финансовые счета;
по меньшей мере, одно устройство вывода, предназначенное для взаимодействия с пользователями аппарата;
по меньшей мере, один механизм обработки банкнот;
по меньшей мере, один контроллер, оперативно связанный, по меньшей мере, с одним устройством ввода по меньшей мере, с одним устройством вывода и, по меньшей мере, одним механизмом обработки банкнот;
при этом, по меньшей мере, один механизм обработки банкнот включает в себя, по меньшей мере, один захватывающий элемент, по меньшей мере, один листоотделительный элемент и, по меньшей мере, один датчик, причем, по меньшей мере, один механизм обработки банкнот действует в ответ на сигнал, по меньшей мере, одного контроллера, захватывая банкноты из стопки, в основном по одной за один раз, посредством перемещения захватывающего элемента в первом направлении, причем в ответ на восприятие, по меньшей мере, одним датчиком, множественных банкнот, захваченных из стопки, по меньшей мере, один контроллер управляет, по меньшей мере, одним захватывающим элементом и, по меньшей мере, одним листоотделительным элементом для перемещения множественных банкнот во втором направлении, противоположном первому направлению, причем первая банкнота из множественных банкнот, взаимодействующих, по меньшей мере, с одним листоотделительным элементом, перемещается во втором направлении на расстояние, большее, чем вторая банкнота из множественных банкнот, взаимодействующих с захватывающим элементом.
18. Устройство по п.17, дополнительно содержащее, по меньшей мере, один подвижный элемент в поддерживающем соединении со стопкой, причем, по меньшей мере, один подвижный элемент действует для зацепления второй банкноты из множественных банкнот, причем множественные банкноты перемещаются во втором направлении.
19. Устройство по п.18, в котором, по меньшей мере, один подвижный элемент перемещает вторую банкноту во втором направлении на расстояние, меньшее, чем первую банкноту.
20. Устройство по п.17, в котором вторая банкнота перемещается во втором направлении относительно быстрее, чем первая банкнота.
21. Устройство по п.20, в котором первая и вторая банкноты перемещаются во втором направлении одновременно.
22. Устройство по п.20, в котором вторая банкнота удерживается неподвижной при перемещении первой банкноты во втором направлении.
23. Устройство по п.18, дополнительно содержащее заслонку и желоб, причем заслонка действует в ответ на сигнал, по меньшей мере, одного контроллера, чтобы управлять доступом к желобу, причем, по меньшей мере, один подвижный элемент позиционируется смежно с нижним концом желоба, а стопка банкнот помещается в желобе.
24. Устройство по п.23, дополнительно содержащее, по меньшей мере, одно устройство подтверждения подлинности, причем банкноты из стопки перемещаются рядом, по меньшей мере, с одним устройством подтверждения подлинности, и дополнительно содержащее первую зону хранения в аппарате, причем банкноты, определенные как действительные, с помощью, по меньшей мере, одного устройства подтверждения подлинности, сохраняются в первой зоне хранения.
25. Устройство по п.24, дополнительно содержащее устройство выдачи банкнот, действующее в ответ на сигнал, по меньшей мере, одного контроллера, для выдачи банкнот.
26. Устройство по п.25, в котором банкноты, выдаваемые устройством выдачи банкнот, выдаются из первой зоне хранения.
27. Устройство автоматизированного банковского аппарата, содержащее
по меньшей мере, один захватывающий элемент, по меньшей мере, один листоотделительный элемент, по меньшей мере, один датчик и, по меньшей мере, один контроллер, причем, по меньшей мере, один захватывающий элемент и, по меньшей мере, один листоотделительный элемент действуют для перемещения листов из стопки в основном по одному за один раз, причем первая банкнота, ограничивающая стопку, в основном перемещается из стопки в первом направлении, и в ответ на восприятие, по меньшей мере, одним датчиком множественных банкнот, захваченных из стопки, по меньшей мере, один контроллер управляет, по меньшей мере, одним захватывающим элементом и, по меньшей мере, одним листоотделительным элементом для перемещения множественных банкнот во втором направлении, противоположном первому направлению, и перемещения, по меньшей мере, одной из множественных банкнот во втором направлении относительно первой банкноты.
28. Устройство по п.27, в котором, по меньшей мере, один листоотделительный элемент содержит, по меньшей мере, один контактный ролик листоотделительного элемента и, по меньшей мере, один бесконтактный ролик листоотделительного элемента.
29. Устройство по п.27, дополнительно содержащее, по меньшей мере, один желоб, предназначенный для приема, по меньшей мере, одной стопки банкнот от пользователей устройства, причем банкноты захватываются из стопки.
30. Устройство по п.29, дополнительно содержащее, по меньшей мере, одно устройство подтверждения подлинности, по меньшей мере, одну первую зону и, по меньшей мере, одну вторую зону, причем, по меньшей мере, один контроллер действует для направления банкнот, определенных устройством подтверждения подлинности как действительных, в первую зону, и направления других банкнот, не определенных устройством подтверждения подлинности как действительных, во вторую зону.
31. Устройство по п.29, дополнительно содержащее, по меньшей мере, один подвижный элемент, позиционированный в желобе, причем, по меньшей мере, один подвижный элемент способствует перемещению первого листа в первом направлении, когда первый лист перемещается в первом направлении в ответ на перемещение захватывающего элемента.
32. Устройство по п.31, в котором, по меньшей мере, один подвижный элемент способствует перемещению первого листа во втором направлении, когда первый лист перемещается во втором направлении посредством, по меньшей мере, одного захватывающего элемента.
33. Устройство по п.32, в котором, по меньшей мере, один листоотделительный элемент обеспечивает перемещение, по меньшей мере, одной из множественных банкнот во втором направлении с большей скоростью, чем захватывающий элемент перемещает первую банкноту во втором направлении.
34. Устройство по п.32, в котором, по меньшей мере, один листоотделительный элемент обеспечивает перемещение, по меньшей мере, одного из множественных листов во втором направлении в течение более длительного периода времени, чем захватывающий элемент перемещает первый лист во втором направлении.
35. Способ работы автоматизированного банковского аппарата, содержащий этапы:
(a) перемещение первой банкноты, ограничивающей стопку банкнот, в первом направлении из стопки во взаимодействии, по меньшей мере, с одним захватывающим элементом;
(b) взаимодействие первой банкноты и банкнот, отличных от первой банкноты, по меньшей мере, с одним листоотделительным элементом, при этом, в основе, предотвращается движение из стопки банкнот, отличающихся от первой банкноты;
(c) восприятие, по меньшей мере, одним датчиком, перед отделением первой банкноты от стопки, того, что, по меньшей мере, одна дополнительная банкнота переместилась вместе с первой банкнотой из стопки мимо, по меньшей мере, одного листоотделительного элемента;
(d) в ответ на (с), перемещение, по меньшей мере, одной дополнительной банкноты во втором направлении, противоположном первому направлению относительно первой банкноты.
36. Способ по п.35, в котором этап (d) включает в себя перемещение, по меньшей мере, одной дополнительной банкноты во втором направлении более быстро, чем первой банкноты.
37. Способ по п.35, в котором этап (d) включает в себя перемещение, по меньшей мере, одной дополнительной банкноты во втором направлении, в то время как первая банкнота удерживается неподвижной.
38. Способ по п.35, в котором этап (d) включает в себя перемещение, по меньшей мере, одной дополнительной банкноты во втором направлении в течение более длительного периода времени, чем первая банкнота перемещается во втором направлении.
39. Способ по п.35, в котором этап (а) включает в себя обеспечение перемещения первой банкноты в первом направлении посредством перемещения, по меньшей мере, одного подвижного элемента, который находится в поддерживающем соединении со стопкой.
40. Способ по п.39, в котором этап (d) включает в себя обеспечение перемещения первой банкноты во втором направлении посредством перемещения, по меньшей мере, одного подвижного элемента во втором направлении.
41. Способ по п.35, дополнительно содержащий
(e) определение того, имеет ли каждая первая банкнота, перемещаемая из стопки, по меньшей мере, одну характеристику, ассоциированную с действительной банкнотой, посредством, по меньшей мере, одного устройства подтверждения подлинности.
42. Способ по п.41, дополнительно содержащий
(f) перемещение банкнот, определенных на этапе (е), как имеющих, по меньшей мере, одну характеристику подлинности, по меньшей мере, в одно первое местоположение хранения.
43. Способ по п.42, дополнительно содержащий
(g) перемещение банкнот, определенных на этапе (е), как не имеющих, по меньшей мере, одной характеристики подлинности, по меньшей мере, в одно второе местоположение хранения.
44. Способ по п.43, в котором на этапе (g), по меньшей мере, одно второе местоположение хранения включено в модуль, по меньшей мере, с одним устройством подтверждения подлинности.
45. Способ по п.44, в котором в на этапе (f), по меньшей мере, одно первое местоположение хранения находится в камере автоматизированного банковского аппарата.
46. Способ по п.45, дополнительно содержащий
(h) выдачу банкнот из автоматизированного банковского аппарата, причем выдаваемые банкноты удаляются, по меньшей мере, из одного местоположения хранения в камере.
47. Способ по п.46, в котором банкноты, выдаваемые на этапе (h), включают в себя банкноты, предварительно определенные как имеющие, по меньшей мере, одну характеристику подлинности на этапе (е).
48. Способ по п.43, в котором этап (b) включает в себя взаимодействие банкнот, отличающихся от первой банкноты, по меньшей мере, с одним контактным элементом листоотделительного элемента, и, по меньшей мере, с одним бесконтактным элементом листоотделительного элемента.
49. Способ по п.48, в котором на этапе (b), по меньшей мере, один контактный элемент листоотделительного элемента со смещением взаимодействует, по меньшей мере, с одним захватывающим элементом, когда банкнота не протягивается между ними.
50. Способ по п.49, в котором на этапе (b), по меньшей мере, один бесконтактный элемент листоотделительного элемента расположен на расстоянии, по меньшей мере, от одного захватывающего элемента.
51. Способ по п.50, в котором захватывающий элемент включает в себя, по меньшей мере, одну кольцевую выемку, и, по меньшей мере, один бесконтактный элемент листоотделительного элемента протягивается, по меньшей мере, в одной кольцевой выемке, при этом на этапе (b) первой банкноте придается волнообразная форма поперечного сечения.
52. Способ по п.44, дополнительно содержащий перед этапом (а) прием стопки банкнот в желобе, причем желоб включен в упомянутый модуль.
53. Способ по п.52, дополнительно содержащий, до приема стопки банкнот в желобе, открывание заслонки, ограничивающей желоб, причем открывание заслонки позволяет желобу принимать стопку банкнот.
54. Способ по п.43, дополнительно содержащий перед этапом (а)
прием, по меньшей мере, одного ввода данных от пользователя, посредством, по меньшей мере, одного устройства ввода автоматизированного банковского аппарата, при этом, по меньшей мере, один ввод данных обеспечивает идентификацию, по меньшей мере, одного пользователя и его счет;
прием стопки банкнот в аппарат от пользователя;
при этом на этапе (а) первая банкнота перемещается из стопки в аппарате.
55. Способ по п.54, дополнительно содержащий после этапа (g)
кредитование, по меньшей мере, одного пользователя и его счета на некоторую сумму, ассоциированную с банкнотами, определенными как имеющие, по меньшей мере, одну характеристику подлинности на этапе (е).
56. Способ по п.55, дополнительно содержащий
сохранение данных, по меньшей мере, в одном устройстве хранения данных, соотносящих пользователя с банкнотами, определенными как не имеющие, по меньшей мере, одну характеристику подлинности на этапе (е).
57. Способ по п.54, дополнительно содержащий после этапа (d)
(е) перемещение первой банкноты в первом направлении отдельно от другой банкноты.
58. Способ работы автоматизированного банковского аппарата, включающего в себя, по меньшей мере, одно устройство выдачи денежных банкнот, содержащий
(a) перемещение первой банкноты, ограничивающей стопку банкнот, вводимую в аппарат пользователем в первом направлении, посредством зацепления, по меньшей мере, с одним захватывающим элементом;
(b) взаимодействие первой банкноты и, по меньшей мере, одной из других банкнот в стопке, по меньшей мере, с одним листоотделительным элементом, когда первая банкнота перемещается в первом направлении, причем в основном только первая банкнота двигается в первом направлении мимо, по меньшей мере, одного листоотделительного элемента;
(c) восприятие, по меньшей мере, одним датчиком, банкнот, перемещающихся мимо, по меньшей мере, одного листоотделительного элемента в первом направлении;
(d) в ответ на восприятие более одной банкноты, перемещающейся в первом направлении мимо, по меньшей мере, одного листоотделительного элемента, по меньшей мере, одним датчиком, перемещение, по меньшей мере, одной банкноты во втором направлении, противоположном первому направлению, относительно первой банкноты.
59. Способ по п.58, в котором этап (d) включает в себя перемещение первой банкноты и, по меньшей мере, одной банкноты, отличающейся от первой банкноты, во втором направлении, причем, по меньшей мере, одна банкнота, отличающаяся от первой банкноты, перемещается во втором направлении на расстояние большее, чем первая банкнота перемещается во втором направлении.
60. Способ работы автоматизированного банковского аппарата, содержащий
(a) перемещение, по меньшей мере, двух банкнот в первом направлении из стопки, вводимой пользователем в автоматизированный банковский аппарат, мимо, по меньшей мере, одного листоотделительного элемента;
(b) в ответ на этап (а), перемещение вышележащей банкноты из, по меньшей мере, двух банкнот, взаимодействующих, по меньшей мере, с одним листоотделительным элементом, во втором направлении, противоположном первому направлению, так что вышележащая банкнота перемещается во втором направлении относительно захваченной банкноты, по меньшей мере, из двух банкнот, причем захваченная банкнота не взаимодействует, по меньшей мере, с одним листоотделительным элементом.
61. Способ по п.60, дополнительно содержащий
(с) перемещение захваченной банкноты в первом направлении, так что захваченная банкнота отделяется от вышележащей банкноты, по меньшей мере, одним листоотделительным элементом.
РИСУНКИ
MM4A – Досрочное прекращение действия патента СССР или патента Российской Федерации на изобретение из-за неуплаты в установленный срок пошлины за поддержание патента в силе
Дата прекращения действия патента: 20.04.2009
Извещение опубликовано: 27.07.2010 БИ: 21/2010
|
|