|
|
(21), (22) Заявка: 2005132998/28, 29.03.2004
(24) Дата начала отсчета срока действия патента:
29.03.2004
(30) Конвенционный приоритет:
27.03.2003 US 10/400,704
(43) Дата публикации заявки: 10.03.2006
(46) Опубликовано: 20.01.2008
(56) Список документов, цитированных в отчете о поиске:
СА 2199521, 06.06.1996. SU 595711 А1, 28.02.1978. SU 972482 A1, 07.11.1982. SU 1758635 A1, 30.08.1992. GB 759728, 24.10.1956.
(85) Дата перевода заявки PCT на национальную фазу:
27.10.2005
(86) Заявка PCT:
US 2004/009459 (29.03.2004)
(87) Публикация PCT:
WO 2004/088444 (14.10.2004)
Адрес для переписки:
129010, Москва, ул. Б.Спасская, 25, стр.3, ООО “Юридическая фирма Городисский и Партнеры”, пат.пов. С.А.Дорофееву
|
(72) Автор(ы):
ХОКИНЗ Джеймс К. (US), ВУЛЛАМС Дэвид Э. (US), АКЕРМАН Нил Артур (US), ЛИНЬ Чунь (US), МАККИННИ Гарольд Джо (US), КВИДЖАНО Эрик Мэттью (US)
(73) Патентообладатель(и):
ФИШЕР КОНТРОЛЗ ИНТЕРНЭШНЛ ЛЛС (US)
|
(54) ПОНИЖАЮЩИЙ ДАВЛЕНИЕ ТЕКУЧЕЙ СРЕДЫ РЕГУЛЯТОР
(57) Реферат:
Изобретение применяется в управлении передачей текучих сред в промышленных процессах, таких как, например, трубопроводные распределительные системы для нефти и газа, химические процессы и т.д. Техническим результатом изобретения является уменьшение износа и повреждений уплотнительных поверхностей клапана регулятора в сборе. Регулятор имеет корпус с фланцем, содержащим множество выступов в форме ушек. Каждый из выступов содержит, по меньшей мере, одно отверстие, выполненное для размещения крепежной детали. Регулятор содержит клапан, имеющий седло клапана, тарелку клапана, шток клапана, соединенный с тарелкой клапана, и направляющую клапана, которая удерживает шток клапана. Со стороны рычага, имеющего первый конец, соединенный со штоком клапана, и второй конец, соединенный с мембраной, к штоку клапана прикладывается сила в направлении, которое по существу перпендикулярно продольной оси штока клапана, чтобы обеспечить сцепление штока клапана силами трения с направляющей клапана. Шток клапана содержит стопор, который ограничивает перемещение штока клапана и тарелки к седлу клапана. 5 н. и 16 з.п. ф-лы, 8 ил.
Настоящее изобретение в основном относится к регуляторам, а более конкретно – к понижающему давление текучей среды регулятору.
В управлении передачей текучих сред в промышленных процессах, таких как, например, трубопроводные распределительные системы для нефти и газа, химические процессы и т.д., часто необходимо передавать технологическую текучую среду под относительно высоким давлением через участки распределительной системы или в процесс, требующий большого объема или высокой скорости потока технологической текучей среды. Так как технологические текучие среды под высоким давлением перемещаются посредством распределительной системы или процесса, давление технологической текучей среды может быть снижено в одной или более точках, чтобы подавать меньший объем технологической текучей среды под более низким давлением в подсистему, в которой используется или потребляется технологическая текучая среда.
Понижающие давление текучей среды регуляторы обычно используются для понижения и контроля давления технологической текучей среды. В основном, понижающий давление текучей среды регулятор обеспечивает ограничения через клапан, который последовательно расположен в канале для потока текучей среды. Таким образом, понижающий давление текучей среды регулятор может контролировать скорость потока текучей среды и/или давление, обеспечиваемое в нижнем по потоку выпускном канале регулятора. Понижающие давление текучей среды регуляторы обычно выполнены с использованием вспомогательного механизма регулирования прямого действия.
Регуляторы с вспомогательным механизмом регулирования обычно содержат мембрану вспомогательной ступени, имеющую относительно малую площадь поверхности. Мембрана вспомогательной ступени обычно отвечает на выходное давление регулятора, направляя вторую, или главную, ступень регулирования, в которой задействована мембрана, имеющая относительно большую площадь поверхности. Большая мембрана главной ступени обеспечивает большие силы, необходимые для приведения в действие распределителя регулятора.
В регуляторах прямого действия исключена вспомогательная ступень, так что выходное давление текучей среды обычно действует на единственную, относительно большую мембрану, которая напрямую соединена с клапаном регулятора. В результате регулятор прямого действия может быть размещен в относительно компактном корпусе, имеющем относительно малую монтажную зону.
Обычно доступен широкий ассортимент понижающих давление текучей среды регуляторов, каждый из которых может иметь другие особенности, подходящие для другого применения. Например, понижающий давление регулятор, предназначенный для использования в регулировании давления природного газа в потребительском объекте (например, жилое или коммерческое здание) или другом охраняемом передаточном пункте, обычно должен быть относительно точным. Высокая точность регулятора обычно достигается такой конфигурацией регулятора, чтобы он имел высокий коэффициент усиления зоны пропорциональности (т.е. высокий механический коэффициент усиления). Для получения высокого коэффициента усиления зоны пропорциональности можно изменять несколько факторов. Например, отношение площади мембраны регулятора к рычагу (т.е. единичная величина перемещения мембраны, деленная на величину перемещения штока и тарелки клапана, вызываемого единичным перемещением мембраны) по существу управляет коэффициентом усиления зоны пропорциональности регулятора. Вообще говоря, большая площадь мембраны обеспечивает создание больших сил при любом заданном падении давления через регулятор и, таким образом, обеспечивает возможность соответствующего уменьшения отношения рычага. Уменьшение отношения рычага имеет своим результатом более высокий коэффициент усиления зоны пропорциональности регулятора, что увеличивает точность, с которой регулятор может регулировать выходное давление.
С другой стороны, понижающие давление текучей среды регуляторы, предназначенные для использования в регулировании распределения сжиженного нефтяного (LP) газа, относительно компактны, что облегчает монтаж этих регуляторов в ограниченных пространствах (например, в резервуарных колпаках). Точность не так важна для применений, связанных с сжиженным нефтяным газом, как для применений, связанных с природным газом. Таким образом, для минимизации монтажной зоны регуляторов сжиженного нефтяного газа можно использовать относительно меньшую мембрану. Кроме того, так как от понижающих давление регуляторов, используемых в применениях, связанных со сжиженным нефтяным газом, часто требуется регулирование относительно больших падений давления, более низкий коэффициент усиления зоны пропорциональности этих регуляторов имеет тенденцию уменьшать проблемы нестабильности, которые обычны для этих применений.
Таким образом, разные эксплуатационные требования, связанные с разными применениями понижающих давление регуляторов, исторически находятся в конфликте. Результатом компромиссов в требуемых конструкциях являются разные конструкции регуляторов для разных применений. Например, использование регулятора давления, предназначенного для использования в системе с природным газом, обычно непригодно для использования внутри системы с сжиженным нефтяным газом из-за относительно большой монтажной зоны регулятора природного газа. Кроме того, относительно больший коэффициент усиления зоны пропорциональности регулятора природного газа усугубляет проблемы нестабильности, обычно связанные с большими падениями давления, которые часто встречаются в применениях с сжиженным нефтяным газом. Также из-за своих относительно низких коэффициентов усиления зоны пропорциональности понижающие давление регуляторы для использования с системами с сжиженным нефтяным газом обычно недостаточно точны для использования в системах с природным газом.
Задачей изобретения является создание регулятора текучей среды, обеспечивающего улучшенное регулирование перемещения штока и тарелки клапана относительно седла клапана. Такое улучшенное регулирование перемещения штока и тарелки клапана можно использовать для значительного уменьшения износа и/или повреждений уплотнительных поверхностей клапана регулятора в сборе.
Согласно одному из вариантов осуществления изобретения понижающий давление текучей среды регулятор содержит корпус, мембрану, расположенную внутри корпуса, клапан, расположенный внутри корпуса и имеющий седло клапана, тарелку клапана и шток клапана, направляющую клапана, выполненную для удерживания штока клапана таким образом, что уплотнительная поверхность тарелки клапана по существу копланарна седлу клапана, рычаг, имеющий первый конец, присоединенный к штоку клапана, и второй конец, присоединенный к мембране, причем рычаг присоединен к штоку таким образом, чтобы прикладывать силу к штоку в направлении, которое по существу перпендикулярно продольной оси штока, фланец с первым радиусом, образующим внутренний участок фланца, и вторым радиусом, большим, чем первый радиус, который образует монтажную зону регулятора текучей среды,
при этом фланец содержит множество выступов, которые разнесены по окружности таким образом, что первый и второй из множества выступов разделены первым круговым промежутком, а второй и третий из множества выступов разделены вторым круговым промежутком, большим, чем первый круговой промежуток, и каждый из множества выступов содержит, по меньшей мере, одно отверстие, выполненное для размещения крепежной детали таким образом, чтобы во фланце было выполнено более четырех отверстий. Причем каждый из выступов содержит, по меньшей мере, два отверстия. По меньшей мере два отверстия, связанных с каждым из выступов, разнесены по окружности на первом круговом промежутке. Выступы могут иметь форму ушек.
Предпочтительно шток дополнительно содержит стопор, выполненный для ограничения перемещения тарелки клапана к седлу, и выступ, а первый конец рычага содержит выемку, которая выполнена для размещения выступа.
Согласно другому одному из вариантов осуществления изобретения регулятор текучей среды содержит корпус, мембрану, расположенную внутри корпуса, клапан, расположенный внутри корпуса и имеющий седло клапана, тарелку клапана и шток клапана, направляющую клапана, выполненную для удерживания штока клапана таким образом, что уплотнительная поверхность тарелки клапана по существу копланарна седлу клапана, и рычаг, имеющий первый конец, присоединенный к штоку клапана, и второй конец, присоединенный к мембране, причем первый конец присоединен к штоку клапана таким образом, чтобы прикладывать силу к штоку в направлении, которое по существу перпендикулярно продольной оси штока.
Рычаг выполнен с возможностью зацепления со штоком клапана посредством выемки, имеющей стенку, которая может быть расположена под углом, не перпендикулярно к продольной оси штока клапана.
Предпочтительно, стопор выполнен за одно целое со штоком клапана.
Согласно еще одному из вариантов осуществления изобретения регулятор текучей среды содержит корпус, мембрану, расположенную внутри корпуса, и клапан, расположенный внутри корпуса и имеющий седло клапана, тарелку клапана и шток клапана, в котором шток клапана содержит стопор, выполненный для ограничения перемещения тарелки клапана к седлу клапана, рычаг, имеющий первый конец, присоединенный к штоку клапана, и второй конец, присоединенный к мембране, причем первый конец присоединен к штоку клапана таким образом, чтобы прикладывать силу к штоку в направлении, которое по существу перпендикулярно продольной оси штока.
Согласно еще другому из вариантов осуществления изобретения регулятор текучей среды содержит фланец с первым радиусом, образующим внутренний участок фланца, и вторым радиусом, большим, чем первый радиус, который образует монтажную зону регулятора текучей среды, при этом фланец содержит множество выступов, которые разнесены по окружности, так что первый и второй из множества выступов разделены первым круговым промежутком, а второй и третий из множества выступов разделены вторым круговым промежутком, большим, чем первый круговой промежуток, причем каждый из множества промежутков содержит, по меньшей мере, одно отверстие, выполненное для размещения крепежной детали таким образом, чтобы во фланце было выполнено более четырех отверстий, клапан, имеющий седло, тарелку клапана и шток, соединенный с тарелкой клапана, направляющую клапана, которая держит шток для удержания уплотнительной поверхности тарелки клапана по существу в копланарном отношении к седлу, рычаг, имеющий первый конец, соединенный со штоком, и второй конец, соединенный с мембраной, расположенной внутри регулятора, причем рычаг присоединен к штоку таким образом, чтобы прикладывать силу к штоку в направлении, которое по существу перпендикулярно продольной оси штока, и стопор, выполненный за одно целое со штоком и для ограничения перемещения тарелки клапана к седлу.
Согласно еще одному из вариантов осуществления изобретения регулятор текучей среды содержит клапан в сборе, имеющий шток клапана и направляющую, и рычаг, сцепленный со штоком клапана для приложения к штоку клапана боковой нагрузки в сторону направляющей, чтобы управлять трением между ними.
Регулятор содержит фланец, выполненный для размещения, по меньшей мере, пяти крепежных деталей таким образом, чтобы, по меньшей мере, два круговых промежутка были связаны, по меньшей мере, с пятью крепежными деталями.
Предпочтительно, стопор, выполненный за одно целое со штоком, обеспечивает регулирование предела, до которого тарелка клапана перемещается к седлу клапана.
Регулятор дополнительно содержит мембрану, имеющую размеры, при которых регулятор выполнен для регулирования давления, по меньшей мере, двух разных типов текучих сред. При этом, по меньшей мере, два разных типа текучих сред включают природный газ и сжиженный нефтяной газ.
Фиг.1 – вид в разрезе известного понижающего давление текучей среды регулятора прямого действия.
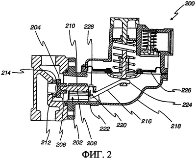
Фиг.2 – вид в разрезе варианта понижающего давление текучей среды регулятора прямого действия, в котором используется стопор, выполненный за одно целое со штоком клапана регулятора текучей среды.
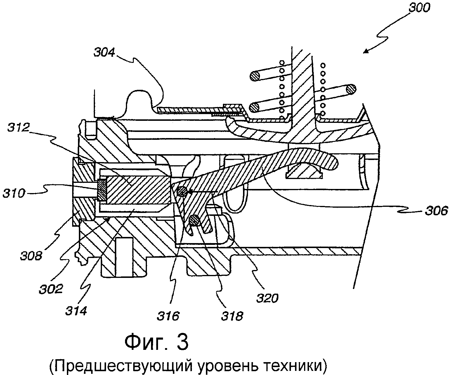
Фиг.3 – частичный вид в разрезе еще одного известного понижающего давление текучей среды регулятора прямого действия.
Фиг.4 – частичный вид в разрезе варианта регулятора текучей среды, в котором используется конфигурация рычага, которая обеспечивает боковую нагрузку на шток клапана регулятора текучей среды.
Фиг.5 – вид в плане известной конфигурации фланца регулятора текучей среды.
Фиг.6 – вид в плане еще одной известной конфигурации фланца регулятора текучей среды.
Фиг.7 – более подробный вид в разрезе, на котором изображена конфигурация фланца регулятора текучей среды, показанная на фиг.6, в которой используется мембрана с буртиком.
Фиг.8 – пример конфигурации фланца регулятора текучей среды, которая обеспечивает уменьшенную монтажную зону и которая может быть использована с плоской прокладкой.
На фиг.1 показан вид в разрезе известного понижающего давление текучей среды регулятора 100 прямого действия. Понижающий давление текучей среды регулятор 100 прямого действия, показанный на фиг.1, может, например, быть использован для регулирования потока и/или давления природного газа. Как показано на фиг.1, регулятор 100 имеет впускное отверстие 102 для текучей среды, в котором представлена технологическая текучая среда под относительно высоким давлением, и выпускное отверстие 104 для технологической текучей среды, которое регулятор 100 текучей среды обеспечивает технологической текучей средой под более низким регулируемым давлением. Регулятор 100 текучей среды содержит верхнюю часть 106 корпуса и нижнюю часть 108 корпуса, которые соединены в соответствующих фланцевых участках 110 и 112.
Мембрана 114 заключена между фланцевыми участками 110 и 112. Мембрана 114 образует полость или камеру 116 регулирования выходного давления, которая герметизирована относительно окружающей среды (например, атмосферного давления), окружающей регулятор 100 текучей среды, и которая в нормальных условиях работы герметизирована относительно верхней полости или камеры 118. Мембрана 114 может содержать круговой рулонный участок 120, как показано на фиг.1, чтобы обеспечить возможность по существу линейного перемещения мембраны 114 в ответ на изменения давления на мембрану 114.
Регулятор 100 текучей среды содержит клапан 122 в сборе, имеющий седло 124 клапана с каналом 126, проходящим через него, который сообщает по текучей среде впускное отверстие 102 для текучей среды с выпускным отверстием 104 для текучей среды. Клапан 122 в сборе также содержит тарелку 128 клапана, которая соединена со штоком 130 клапана. Направляющая 132 клапана удерживает шток 130 клапана таким образом, что уплотняющая поверхность 133 тарелки 128 клапана остается по существу в копланарном отношении к седлу клапана 124, в то время как шток 130 и тарелка 128 клапана выполнены с возможностью скольжения вдоль продольной оси штока 130 клапана.
Рычаг 134 прикреплен к нижней части 108 корпуса посредством осевого стержня 136. Первый конец 138 рычага 134 соединен со штоком 130 клапана, а второй конец 140 рычага 134 соединен с мембраной 114, как показано и более подробно описано ниже. Рычаг 134 также содержит стопор 142, который контактирует с концом 144 штока 130 клапана. Как более подробно описано ниже, стопор 142 ограничивает вращение рычага 134 против часовой стрелки вокруг поворотного стержня 136 и, таким образом, перемещение штока 130 и тарелки 128 клапана к седлу 124 клапана.
Во время работы пружина 146 смещает мембрану 114 к нижней части 108 корпуса, таким образом толкая второй конец 140 рычага 134 вниз и поворачивая рычаг 134 по часовой стрелке вокруг поворотного стержня 136. Поворот рычага 134 по часовой стрелке вокруг поворотного стержня 136 обеспечивает удаление первого конца 138 рычага 134 от седла 124 клапана, таким образом отодвигая шток 130 и тарелку 128 клапана от седла 124 клапана. Кроме того, стопор 142 не контактирует с концом 144 штока 130 клапана. Когда тарелка 128 отделена или отнесена от седла 124 клапана, канал 126 сообщает по текучей среде впускное отверстие 102 для текучей среды с выходной камерой 116 управления давлением и выпускным отверстием 104 для текучей среды. Таким образом, клапан 122 в сборе выполнен так, чтобы находиться в нормально открытом состоянии.
В то время как текучая среда входит во впускное отверстие 102, проходит через канал 126 и в камеру 116 регулирования выходного давления, давление в камере 116 регулирования выходного давления и у выпускного отверстия 104 возрастает. С возрастанием давления в камере 116 регулирования выходного давления мембрана 114 будет перемещаться вверх против пружины 146, а второй конец 140 рычага 134 проходить к верхней части 106 корпуса. Такое перемещение вверх второго конца 140 рычага 134 обеспечивает поворот рычага 134 против часовой стрелки вокруг осевого стержня 136 и заставляет первый конец 138 рычага 134 перемещаться вдоль продольной оси штока 130 клапана к седлу 124 клапана. Таким образом, первый конец 138 рычага 134 толкает тарелку 128 клапана к седлу 124 клапана, чтобы увеличить ограничение потока текучей среды клапана 122 в сборе. Клапан 122 выполнен так, чтобы обеспечить относительно большое изменение скорости потока текучей среды при относительно малом изменении промежутка или разделения между тарелкой 128 клапана и седлом 124 клапана. В результате давление в выходной камере 116 будет стремиться достичь точки равновесия (для заданного выходного давления управления), в которой мембрана 114 перемещается против пружины 146, чтобы заставить второй конец 140 рычага 134 прийти в соответствующую фиксированную точку или позицию внутри камеры 116 выходного давления.
Чтобы предотвратить повреждение (например, вдавливание или другую деформацию) уплотнительной поверхности 133 тарелки 128 клапана в результате избыточных давлений (например, условия сверхсжатия) в камере 116 выходного давления, стопор 142 выполнен для контакта с концом 144 штока 130 клапана, чтобы ограничивать вращение рычага 134 против часовой стрелки вокруг осевого стержня 136. Это ограничение вращения служит для ограничения перемещения штока 130 и тарелки 128 клапана вдоль продольной оси штока 130 клапана, ограничивая таким образом величину усилия, с которым тарелка 128 клапана может быть направлена к седлу 124 клапана. Стопор 142 также обеспечивает возможность функционирования редукционного клапана 150 в случае, если выходное давление в камере 116 превысит заданный максимальный предел.
Как показано на фиг.1, в контрольной точке (т.е. в точке равновесия, в которой тарелка 128 находится вблизи седла 124 клапана) силы, приложенные первым концом 138 рычага 134 к штоку 130 клапана по существу параллельны (например, соосны) продольной оси штока 130 клапана. Другими словами, со стороны первого конца 138 рычага 134 не прикладывается никакой значительной силы, перпендикулярной продольной оси штока 130 клапана (т.е. к штоку 130 клапана не прикладывается боковой нагрузки против направляющей 132). В результате шток 130 клапана и тарелка 128 клапана могут относительно свободно перемещаться вдоль продольной оси штока 130 клапана благодаря очень ограниченному трению между штоком 130 и направляющей 132 клапана. Такая свобода продольного перемещения может быть усугублена любым люфтом или зазором, который может существовать между сцеплением первого конца 138 рычага 134 и штоком 130. При работе эта свобода перемещения вдоль продольной оси штока 130 может привести к колебанию штока 130 и тарелки 128 клапана (и, таким образом, выходного давления) в контрольной точке, особенно в применениях, требующих высокого падения давления через регулятор 100 (например, применения в управлении сжиженным нефтяным газом). Такие колебания могут привести к плохому регулированию выходного давления и преждевременному износу и/или отказу элементов регулятора, таких как, например, тарелка 128 и седло 124 клапана.
Дополнительной трудностью, связанной с регулятором 100, показанным на фиг.1, является то, что стопор 142 выполнен за одно целое с рычагом 134. К сожалению, допуски, связанные с размещением осевого стержня 136 (который прикреплен к нижней части 108 корпуса), размерами рычага 134 и штока 130 клапана, могут накладываться. Это наложение допусков может вызвать относительно широкие колебания в величине силы, с которой тарелка 128 клапана направляется против седла 124 клапана, когда стопор 142 контактирует с концом 144 штока 130.
Сложение допусков также может пагубно отразиться на эксплуатационных характеристиках (например, разгрузочном давлении) редукционного клапана 150. В частности, с изменением точки, в которой верхнее перемещение мембраны 114 ограничивается стопором 142, меняется сила предварительной нагрузки, приложенная пружиной 146 к редукционному клапану 150. Например, если наложение допусков таково, что перемещение вверх мембраны 114 останавливается ближе к верхней части 106 корпуса, сила предварительной нагрузки, приложенная пружиной 146 к мембране 114 и, таким образом, к редукционному клапану 150, возрастает. В результате давление, при котором редукционный клапан 150 начинает открываться, возрастает. Конечно, если наложение допусков таково, что перемещение вверх мембраны 114 останавливается дальше от верхней части 106 корпуса, давление, при котором редукционный клапан начинает открываться, уменьшается.
На фиг.2 показан вид в разрезе варианта понижающего давление текучей среды регулятора 200 прямого действия. Регулятор 200 текучей среды по конструкции и работе в общем подобен регулятору 100 текучей среды, показанному на фиг.1. Однако ниже подробно описано несколько различий между регулятором 200 и известным регулятором 100.
Регулятор 200 содержит клапан 202 в сборе, имеющий седло 204 клапана, тарелку 206 клапана, шток 208 клапана, который соединен с тарелкой 206 клапана, и направляющую 210 клапана, которая удерживает шток 208 клапана таким образом, что уплотнительная поверхность 212 тарелки 206 клапана сохраняет по существу копланарное отношение с уплотнительной поверхностью 214 седла 204 клапана. Рычаг 216 прикреплен к нижней части 218 корпуса регулятора 200 посредством поворотного стержня 220. Рычаг 216 имеет первый конец 222, который присоединен к штоку 208 клапана, и второй конец 224, который присоединен к мембране 226.
В противоположность известному регулятору 100, показанному на фиг.1, шток 208 клапана содержит стопор 228. Стопор 228 может быть выполнен за одно целое со штоком 208 клапана или может быть отдельным элементом, который подходящим образом прикреплен к штоку 208. В любом из этих случаев стопор 228 ограничивает линейное перемещение штока 208 клапана (т.е. перемещение штока 208 по его продольной оси внутри направляющей 210 клапана) и, таким образом, тарелки 206 клапана к седлу 204 клапана, чтобы предотвратить повреждения (например, вдавливание, порезы и т.д.) уплотнительной поверхности 212 тарелки 206 клапана. Прикрепление стопора 228 к штоку 208 клапана существенно уменьшает влияние наложения допусков, так что силами, приложенными к уплотнительной поверхности 212 в точке остановки, можно регулировать более точно. Кроме того, это улучшение регулирования точки остановки улучшает предохранительные характеристики редукционного клапана регулятора 200.
На фиг.3 показан частичный вид в разрезе еще одного варианта известного регулятора 300 текучей среды. Регулятор 300 текучей среды является типичным понижающим давление регулятором, которые часто используются в системах со сжиженным нефтяным газом. Как показано на фиг.3, регулятор 300 содержит клапан 302 в сборе, который оперативно соединен с мембраной 304 посредством рычага 306. Клапан 302 в сборе содержит седло клапана 308 и тарелку 310 клапана. Тарелка 310 клапана прикреплена к штоку 312, который поддерживается направляющей 314 клапана. Рычаг 306 соединен со штоком 312 посредством штифта или опоры 316 и поворачивается вокруг поворотного стержня 318, чтобы перемещать шток 312 и тарелку 310 клапана по продольной оси штока 312 и направляющей 314 к седлу 308 или от него.
С известной конфигурацией рычага 306 и штифта 316, показанной на фиг.3, сила, приложенная со стороны рычага 306 к штифту 316 и, таким образом, штоку 312 по существу параллельна (например, соосна) продольной оси штока 312, как представлено стрелкой ссылочной позицией 320. В результате шток 312 не подвергается боковой нагрузке в направлении направляющей 314, что минимизирует трение между штоком 312 и направляющей 314. Как результат этого минимального трения, люфт или зазор между, например, сцеплением штифта 316 с рычагом 306 может позволить штоку 312 и тарелке 310 (а также и выходному давлению управления) колебаться в контрольной точке, особенно если регулятор 300 управляет большим падением давления.
На фиг.4 показан частичный вид в разрезе варианта конфигурации 400 рычага, которую можно использовать внутри регулятора давления, такого как, например, регуляторы 200 и 300, показанные на фиг.2 и 3, соответственно. Как показано на фиг.4, рычаг 402 соединен с корпусом 404 регулятора посредством поворотного стержня 406. Клапан 408 в сборе содержит седло 410 клапана, тарелку 411 клапана и шток 412 клапана. Шток 412 клапана содержит выступ 414, который расположен внутри выемки 416 рычага 402. Выступ 414 может быть штифтом цилиндрической формы или иметь любую другую подходящую форму, чтобы поддерживать зацепление с рычагом 402 посредством выемки 416.
Как изображено на фиг.4, выемка 416 имеет такую форму, что результирующая сила, приложенная со стороны рычага 402 к выступу 414, не является параллельной или соосной продольной оси штока 412. Пример одного такого вектора результирующей силы обозначен ссылочной позицией 420. Форма выемки 416, изображенной на фиг.4, выполнена под углом таким образом, что стенка выемки 416, контактирующая с выступом 414, не перпендикулярна продольной оси штока 412. В результате точка контакта между стенкой выемки 416 и выступом находится у конца стрелки, представляющей вектор результирующей силы, показанный ссылочной позицией 420. Таким образом, со стороны рычага 402 к штоку 412 клапана приложена существенная сила, которая перпендикулярна продольной оси штока 412 клапана (т.е. составляющая результирующей силы 420, которая перпендикулярна продольной оси штока 412 клапана).
Сила, приложенная перпендикулярно продольной оси штока 412 клапана, обеспечивает боковую нагрузку на шток 412 в сторону направляющей 418, таким образом увеличивая силу трения между штоком 412 и направляющей 418. Эта увеличенная сила трения служит для существенной минимизации или устранения колебаний штока 412 и тарелки 411 клапана в контрольной точке, чтобы обеспечить высокостабильное выходное давление регулятора в условиях высокого падения давления.
Конечно, выемка 416, показанная на фиг.4, является лишь одним примером геометрической формы выемки, которую можно использовать, чтобы обеспечить возможность приложения со стороны рычага 402 к штоку 412 силы, которая не соосна и не параллельна продольной оси штока 412. В общем, любое механическое сцепление между рычагом 402 и выступом 414, со стороны которого к штоку 412 клапана прикладывается результирующая сила, имеющая существенную составляющую, которая перпендикулярна продольной оси штока 412, может быть использовано для создания существенной силы трения между направляющей 418 и штоком 412 клапана.
Кроме того, может быть включен стопор 422, схожий со стопором 228, показанным на фиг.2, или идентичный ему. Как и в случае стопора 228, стопор 422 ограничивает линейное перемещение штока 412 и тарелки 411, чтобы предотвратить повреждение и/или избыточный износ седла 410 и тарелки 411.
На фиг.5 показан вид в плане известной конфигурации фланца 500 корпуса регулятора, которая обычно используется для выполнения фланцев регулятора давления, таких как, например, фланцевые участки 110 и 112 регулятора 100, показанного на фиг.1. Как показано на фиг.5, фланец 500 имеет внутреннюю поверхность 502, имеющую первый радиус, и наружную поверхность 504, имеющую второй радиус, больший, чем первый радиус. Таким образом, фланец 500 образует кольцо постоянной ширины (т.е. разности между вторым радиусом и первым радиусом). Фланец 500 также содержит множество отверстий (одно из которых показано позицией 506), которые разнесены по окружности на одинаковое расстояние. Другими словами, расстояния по окружности или радиальные углы между каждым из отверстий по существу равны. Отверстия выполнены для размещения крепежных деталей, таких как, например, болты, самонарезающие винты или любые другие подходящие крепежные детали.
Сопрягающиеся фланцы, в которых использована известная фланцевая конфигурация 500, изображенная на фиг.5, обычно уплотняются посредством недорогой плоской прокладки. К сожалению, равные крепежные промежутки конфигурации фланца 500, показанной на фиг.5, имеют своим результатом относительно большую монтажную зону регулятора.
на фиг.6 показан вид в плане другой известной конфигурации 600 фланца регулятора, которая обычно используется для уменьшения монтажной зоны регулятора давления. Как показано на фиг.6, конфигурация 600 фланца содержит четыре ушка, или выступа 602, 604, 606 и 608. Каждое из ушек 602-608 имеет соответствующее отверстие 610, 612, 614 и 616, которое выполнено для размещения крепежной детали, такой как, например, самонарезающий болт или винт. Расстояние между отверстиями 610 и 612 и расстояние между отверстиями 614 и 616 равно расстоянию между отверстиями 610 и 616 и расстоянию между отверстиями 612 и 614.
В то время как известная конфигурация 600 фланца, изображенная на фиг.6, может использоваться для уменьшения монтажной зоны регулятора, относительно малое количество крепежных деталей, используемое в конфигурации 600, и относительно большое расстояние между ними приводит к большой величине смещения фланца. Чтобы компенсировать относительно большие смещения фланца для предотвращения утечек давления, конфигурация 600 фланца обычно содержит канавку или канал 620 для буртика мембраны, чтобы обеспечить использование мембраны с буртиком.
На фиг.7 показан частичный вид в разрезе, на котором изображена мембрана 702 с буртиком, которая может быть использована для уплотнения противоположных фланцев 704 и 706, которые выполнены на основе конфигурации 600, изображенной на фиг.6. Как показано на фиг.7, мембрана 702 с буртиком имеет участок 708 буртика, который расположен внутри канавки, или канала, 710 для буртика фланца 704. Смещение дополнительного материала, связанное с буртиком 708, фланцами 704 и 706, обеспечивает фланцам 704 и 706 возможность изгибаться (например, отделяться) без риска для уплотнения, обеспеченного буртиком 708 мембраны, сопряженным с каналом 710 для буртика.
Однако мембраны с буртиком относительно дороги в изготовлении из-за высокого процента брака и дорогих стадий технологического процесса. Кроме того, инструментальная оснастка, требуемая для выполнения канавки или канала для буртика (например, каналов 620 и 710 для буртиков, показанных на фиг.6 и 7, соответственно) внутри фланца, приводит к сравнительно дорогому техническому обслуживанию инструмента. В частности, области инструмента со сжатым радиусом, которые формируют канавку или канал для буртика, подвержены растрескиванию под действием теплового напряжения.
На фиг.8 показан вид в плане варианта конфигурации 800 фланца, которую можно использовать с регулятором текучей среды, таким, например, как вариант регулятора 200 текучей среды, показанный на фиг.2. Конфигурация 800 фланца имеет первый радиус 802, образующий внутренний участок 804 фланца 800, и второй радиус 806, больший, чем первый радиус 802, который образует монтажную зону 808. Фланец 800 содержит множество разнесенных по окружности выступов в форме ушка или ушек 810, 812, 814 и 816. Ушки 810-816 имеют соответствующие наружные участки 818, 820, 822 и 824, которые образуют третий радиус 826, который больше, чем второй радиус 806.
Ушки 810-816 содержат соответствующие пары отверстий 828 и 830, 832 и 834, 836 и 838, 840 и 842. Отверстия 828-842 выполнены для размещения крепежных деталей, таких, например, как болты, самонарезающие винты и т.д. Как показано в варианте на фиг.8, круговой промежуток между отверстиями 828 и 830 по существу такой же, как и круговой промежуток между отверстиями 832 и 834, 836 и 838 и 840 и 842. Кроме того, промежуток между парными отверстиями (например, 828 и 830) меньше, чем круговой промежуток между, например, отверстиями 830 и 832. В противоположность известной конфигурации 500 фланца, изображенной на фиг.5, пример конфигурации 800 фланца обеспечивает то же количество крепежный деталей для прочности, но существенно уменьшает монтажную зону. Кроме того, в отличие от известной конфигурации 600 фланца, изображенной на фиг.6, пример конфигурации 800 фланца на фиг.8 обеспечивает уменьшенную монтажную зону, не требуя использования мембраны с буртиком. Вместо этого пример конфигурации 800 фланца, изображенный на фиг.8, может быть использован с относительно недорогой плоской прокладкой, так как максимальный промежуток между крепежными деталями уменьшен (при сохранении минимальной монтажной зоны) по сравнению с известными конструкциями фланцев с четырьмя болтами, которая показана на фиг.6, уменьшая таким образом изгибание фланца.
Здесь были описаны несколько признаков предпочтительного регулятора текучей среды. В частности, описан стопор, выполненный за одно целое со штоком клапана регулятора. Такой встроенный стопор уменьшает эффект наложения допусков, чтобы сделать возможным более точный контроль за степенью того, насколько тарелку клапана можно привести к седлу клапана. Это улучшенное регулирование перемещения штока и тарелки клапана в отношении седла клапана можно использовать для значительного уменьшения износа и/или повреждений, которые могут быть причинены уплотнительным поверхностям клапана регулятора в сборе, особенно в результате условий сверхсжатия. Кроме того, улучшенное регулирование перемещения штока и тарелки клапана также может обеспечить более точное управление работой редукционного клапана регулятора.
Также описана конфигурация рычага, который обеспечивает боковую нагрузку на шток клапана в сторону направляющей клапана, чтобы увеличить трение между ними. А именно регулированием вектора результирующей силы, которой рычаг приводит в движение шток клапана, направленного на то, чтобы получить значительную составляющую силы, перпендикулярную продольной оси штока клапана, к штоку клапана можно приложить боковую нагрузку внутри направляющей. Такая боковая нагрузка создает регулируемое трение между штоком и направляющей, значительно уменьшая или устраняя колебание штока и тарелки в контрольной точке, особенно там, где регулятор регулирует относительно большие падения давления.
Кроме того, описана конфигурация фланца, которая обеспечивает уменьшенную монтажную зону, и которую можно использовать с относительно недорогой плоской прокладкой (в противоположность мембране с буртиком). В описанной конфигурации фланца используется множество крепежных деталей для каждого фланцевого ушка или выступа, чтобы устранить проблемы изгибания фланца, обычно испытываемые в случае известных конструкций фланца с уменьшенной монтажной зоной.
Любой из признаков стопора штока клапана, конфигурации рычага и конфигурации фланца, описанный здесь, может быть использован отдельно или в любом желаемом сочетании для достижения конкретной задачи или удовлетворения конкретному применению. Например, все эти признаки могут быть объединены внутри единственного устройства, чтобы обеспечить регулятор, пригодный для использования как в применениях с природным газом, так и в применениях со сжиженным нефтяным газом. В частности, признаки конфигурации фланца с уменьшенной монтажной зоной и подвергаемого боковой нагрузке штока клапана особенно предпочтительны для применений со сжиженным нефтяным газом из-за пространственных ограничений и высоких падений давления (которые имеют тенденцию создавать колебания выходного давления), которые обычно обнаруживаются в этих применениях. Кроме того, регулятор, обладающий такими признаками, также может быть изготовлен с требованиями к точности регулирования, необходимого для удовлетворения применениям с природным газом. А именно, описанная конфигурация фланца обеспечивает использование относительно большой мембраны, которая обеспечивает использование относительно низкого отношения рычага. Как обсуждалось выше, низкое отношение рычага улучшает коэффициент усиления зоны пропорциональности и, таким образом, точность регулирования выходного давления.
Хотя здесь были описаны определенные варианты, объем охвата данного патента этим не ограничивается. Напротив, этот патент охватывает все варианты осуществления, объективно попадающие в объем приложенной формулы изобретения как буквально, так и в рамках доктрины эквивалентов.
Формула изобретения
1. Понижающий давление текучей среды регулятор, содержащий
корпус,
мембрану, расположенную внутри корпуса,
клапан, расположенный внутри корпуса и имеющий седло клапана, тарелку клапана и шток клапана,
направляющую клапана, выполненную для удерживания штока клапана таким образом, что уплотнительная поверхность тарелки клапана по существу копланарна седлу клапана,
рычаг, имеющий первый конец, присоединенный к штоку клапана, и второй конец, присоединенный к мембране, причем рычаг присоединен к штоку таким образом, чтобы прикладывать силу к штоку в направлении, которое по существу перпендикулярно продольной оси штока,
фланец с первым радиусом, образующим внутренний участок фланца, и вторым радиусом, большим, чем первый радиус, который образует монтажную зону регулятора текучей среды,
при этом фланец содержит множество выступов, которые разнесены по окружности таким образом, что первый и второй из множества выступов разделены первым круговым промежутком, а второй и третий из множества выступов разделены вторым круговым промежутком, большим, чем первый круговой промежуток, и
каждый из множества выступов содержит, по меньшей мере, одно отверстие, выполненное для размещения крепежной детали таким образом, чтобы во фланце было выполнено более четырех отверстий.
2. Регулятор по п.1, в котором каждый из выступов содержит, по меньшей мере, два отверстия.
3. Регулятор по п.2, в котором по меньшей мере два отверстия, связанные с каждым из выступов, разнесены по окружности на первом круговом промежутке.
4. Регулятор по п.1, в котором выступы имеют форму ушек.
5. Регулятор по п.1, в котором шток дополнительно содержит стопор, выполненный для ограничения перемещения тарелки клапана к седлу.
6. Регулятор по п.5, в котором шток содержит выступ, а первый конец рычага содержит выемку, которая выполнена для размещения выступа.
7. Регулятор текучей среды, содержащий
корпус,
мембрану, расположенную внутри корпуса,
клапан, расположенный внутри корпуса и имеющий седло клапана, тарелку клапана и шток клапана,
направляющую клапана, выполненную для удерживания штока клапана таким образом, что уплотнительная поверхность тарелки клапана по существу копланарна седлу клапана, и
рычаг, имеющий первый конец, присоединенный к штоку клапана, и второй конец, присоединенный к мембране, причем первый конец присоединен к штоку клапана таким образом, чтобы прикладывать силу к штоку в направлении, которое по существу перпендикулярно продольной оси штока.
8. Регулятор по п.7, в котором рычаг выполнен с возможностью зацепления со штоком клапана посредством выемки.
9. Регулятор по п.8, в котором выемка имеет стенку, которая расположена под углом, не перпендикулярно к продольной оси штока клапана.
10. Регулятор по п.7, в котором шток клапана содержит выступ, и первый конец рычага содержит выемку, которая вмещает выступ.
11. Регулятор по п.7, в котором шток клапана содержит стопор, который ограничивает перемещение тарелки клапана к седлу клапана.
12. Регулятор по п.11, в котором стопор выполнен за одно целое со штоком клапана.
13. Регулятор текучей среды, содержащий
корпус,
мембрану, расположенную внутри корпуса, и
клапан, расположенный внутри корпуса и имеющий седло клапана, тарелку клапана и шток клапана, в котором шток клапана содержит стопор, выполненный для ограничения перемещения тарелки клапана к седлу клапана,
рычаг, имеющий первый конец, присоединенный к штоку клапана, и второй конец, присоединенный к мембране, причем первый конец присоединен к штоку клапана таким образом, чтобы прикладывать силу к штоку в направлении, которое, по существу, перпендикулярно продольной оси штока.
14. Регулятор по п.13, в котором стопор выполнен за одно целое со штоком клапана.
15. Регулятор по п.14, в котором первый конец рычага зацепляется со штоком клапана посредством выступа, выполненного за одно целое со штоком клапана,
рычаг, имеющий первый конец, соединенный со штоком клапана, и второй конец, соединенный с мембраной, в котором первый конец рычага соединен со штоком клапана, чтобы толкать шток клапана в направлении, которое не параллельно продольной оси штока клапана.
16. Регулятор текучей среды, содержащий
фланец с первым радиусом, образующим внутренний участок фланца, и вторым радиусом, большим, чем первый радиус, который образует монтажную зону регулятора текучей среды, при этом фланец содержит множество выступов, которые разнесены по окружности так, что первый и второй из множества выступов разделены первым круговым промежутком, а второй и третий из множества выступов разделены вторым круговым промежутком, большим, чем первый круговой промежуток, причем каждый из множества промежутков содержит, по меньшей мере, одно отверстие, выполненное для размещения крепежной детали таким образом, чтобы во фланце было выполнено более четырех отверстий,
клапан, имеющий седло, тарелку клапана и шток, соединенный с тарелкой клапана,
направляющую клапана, которая держит шток для удержания уплотнительной поверхности тарелки клапана, по существу, в копланарном отношении к седлу,
рычаг, имеющий первый конец, соединенный со штоком, и второй конец, соединенный с мембраной, расположенной внутри регулятора, причем рычаг присоединен к штоку таким образом, чтобы прикладывать силу к штоку в направлении, которое, по существу, перпендикулярно продольной оси штока, и
стопор, выполненный за одно целое со штоком и для ограничения перемещения тарелки клапана к седлу.
17. Регулятор текучей среды, содержащий
клапан в сборе, имеющий шток клапана и направляющую, и
рычаг, сцепленный со штоком клапана для приложения к штоку клапана боковой нагрузки в сторону направляющей, чтобы управлять трением между ними.
18. Регулятор по п.17, содержащий фланец, выполненный для размещения, по меньшей мере, пяти крепежных деталей таким образом, чтобы, по меньшей мере, два круговых промежутка были связаны, по меньшей мере, с пятью крепежными деталями.
19. Регулятор по п.17, дополнительно содержащий стопор, выполненный за одно целое со штоком, причем стопор обеспечивает регулирование предела, до которого тарелка клапана перемещается к седлу клапана.
20. Регулятор по п.18, дополнительно содержащий мембрану, имеющую размеры, при которых регулятор выполнен для регулирования давления, по меньшей мере, двух разных типов текучих сред.
21. Регулятор по п.20, в котором, по меньшей мере, два разных типа текучих сред включают природный газ и сжиженный нефтяной газ.
РИСУНКИ
TZ4A – Поправки к описаниям изобретений
Часть описания, где обнаружена ошибка: Текст опис., страница 15, фигура 3
Напечатано: Фиг. 3 была опубликована идентичной фигуре 4
Следует читать: Публикуется верное изображение фигуры 3 
Номер и год публикации бюллетеня: 2-2008
Извещение опубликовано: 10.01.2009 БИ: 01/2009
|
|