|
|
(21), (22) Заявка: 2006118187/28, 29.05.2006
(24) Дата начала отсчета срока действия патента:
29.05.2006
(46) Опубликовано: 20.01.2008
(56) Список документов, цитированных в отчете о поиске:
US 6719430 В2, 13.04.2004. RU 2104617 C1, 10.02.1998. JP 2002221710 A, 09.08.2002. US 2005195490 A, 08.09.2005. EP 1498749 A, 19.01.2005. US 5555479 A, 10.09.1996.
Адрес для переписки:
117393, Москва, ул. Профсоюзная, 78, оф.3323, пат.пов. В.Н.Рослову, рег.№ 18
|
(72) Автор(ы):
ГРЕЙСУХ Григорий Исаевич (RU), ЕЖОВ Евгений Григорьевич (RU), СТЕПАНОВ Сергей Алексеевич (RU), БРАТИЩЕВ Алексей Владимирович (RU)
(73) Патентообладатель(и):
Самсунг Электроникс Ко., Лтд. (KR)
|
(54) ПРОЕКЦИОННАЯ ОПТИЧЕСКАЯ СИСТЕМА
(57) Реферат:
Проекционная оптическая система, содержащая: предмет, в виде пространственного модулятора света, смещенный относительно оптической оси системы на расстояние, не меньшее половины размера самого предмета; набор вращательно-симметричных оптических элементов, имеющих общую ось симметрии, совпадающую с оптической осью системы, включающий: положительную линзу; группу оптических элементов, по меньшей мере, один из которых выполнен в виде дифракционной линзы; линзу, с двумя асферическими поверхностями; асферическое зеркало; причем воздушные промежутки между элементами проекционной системы таковы, что позволяют разместить, по меньшей мере, две плоские зеркальные поверхности, ломающие оптическую ось с целью уменьшения толщины дисплея или телевизора. 2 з.п. ф-лы, 5 ил., 2 табл.
Изобретение относится к области оптики, а именно к проекционным оптическим системам, и может использоваться в тонких дисплеях и телевизорах, для проекции на экран, с внутренней стороны прибора, изображения матричных объектов, таких как DMD-чип, отражающие или пропускающие LCD-матрицы или им подобных.
В современных дисплеях и телевизорах такого типа проекционная система должна обеспечивать высокое качество полихроматического изображения, проецируемого на экран. При этом толщина прибора минимизируется за счет излома оптической оси проекционной системы с помощью плоских дополнительных зеркал и благодаря большому углу падения пучка лучей на экран. В результате проекционная система должна обеспечивать телецентрический ход лучей и иметь низкий уровень как монохроматических, так и хроматических аберраций. Телецентрический ход лучей в пространствах предметов и изображений является одним из необходимых условий достижения равномерной яркости экрана. Коррекция дисторсии необходима, поскольку эта аберрация приводит к монотонному возрастанию асимметрии изображения относительно оси, проходящей через центр экрана. Коррекция остальных монохроматических аберраций и хроматизма необходима для достижения высокого разрешения в изображении.
В патенте США №5625495 [1], например, для коррекции хроматических аберраций используются дорогие и редкие стекла с аномальной дисперсией, а в патенте США №6853493 [2] для этих же целей используются линзы с большой отрицательной оптической силой, что ограничивает апертуру и качество изображения из-за высокого уровня монохроматических аберраций. В ряде других решений (см. авторское свидетельство СССР №1151905 [3], патенты РФ №2244330 [4] и №2258247 [5]) для коррекции хроматизма объективов используются дифракционные оптические элементы, однако их параметры и взаимосвязи с параметрами других элементов объектива неприемлемы в случае проекционных систем, использующихся в тонких дисплеях и телевизорах, для проекции изображения на экран с внутренней стороны прибора.
В патенте США №6805447 [6] приводится оптическая система, осуществляющая проекцию изображения на экран под большим углом и состоящая только из отражающих оптических элементов, расположенных под различными углами друг к другу. Недостатками данного аналога является то, что используемые зеркальные поверхности – анаморфотные, имеющие к тому же значительные размеры, что не позволяет уменьшить габариты проекционной системы и увеличить размер изображения, проецируемого на экран.
Наиболее близкой к заявленному изобретению является проекционная оптическая система, описанная в патенте США №6719430 [7]. В одном из вариантов система состоит только из преломляющих оптических элементов, а в другом – наряду с преломляющими элементами она включает асферическое зеркало, проецирующее изображение непосредственно на экран. Данная система выбрана в качестве прототипа заявленного изобретения.
Недостатком системы-прототипа является то, что в ней требуемый угол падения пучка лучей на экран достигается наклоном экрана к оптической оси проекционной системы, а возникающие по этой причине дополнительные аберрации компенсируются децентрировкой всех элементов относительно оптической оси и использованием в системе преломляющего элемента с анаморфотными асферическими поверхностями.
В основу настоящего изобретения положено решение задачи улучшения коррекции аберраций и, соответственно, повышения качества изображения с одновременным упрощением конструкции и снижением стоимости проекционной оптической системы.
Поставленная задача решена за счет создания проекционной оптической системы, которая при телецентрическом ходе лучей в пространствах предметов и изображений содержит:
– предмет, т.е. пространственный модулятор света, такой, например, как DMD-чип, отражающая или пропускающая LCD-матрица, или им подобный, смещенный относительно оптической оси системы на расстояние, не меньшее половины размера самого предмета;
– набор вращательно-симметричных оптических элементов, имеющих общую ось симметрии, совпадающую с оптической осью системы, включающий:
– положительную линзу;
– группу оптических элементов, по меньшей мере, один из которых – дифракционная линза;
– линзу с двумя асферическими поверхностями;
– асферическое зеркало;
причем воздушные промежутки между элементами проекционной системы таковы, что позволяют разместить, по меньшей мере, две плоские зеркальные поверхности, ломающие оптическую ось с целью уменьшения толщины дисплея или телевизора.
Для функционирования проекционной системы важно, чтобы вышеупомянутая группа оптических элементов включала:
– первую склеенную линзу, состоящую из мениска, приклеенного к двояковыпуклой линзе со стороны предмета;
– вторую положительную дифракционную линзу, имеющую оптическую силу, равную 0,01…0,04 оптической силы склеенной линзы, и образующую вместе со склеенной линзой корректор хроматизма с оптической силой, составляющей 0,03…0,05 оптической силы проекционной системы в целом;
– третью линзу с асферическими поверхностями;
– апертурную диафрагму;
– четвертую положительную линзу.
Для функционирования проекционной системы существенно, чтобы вышеупомянутая группа оптических элементов включала:
– первую линзу с асферическими поверхностями;
– вторую положительную дифракционную линзу;
– третью склеенную линзу, состоящую из мениска, приклеенного к двояковыпуклой линзе со стороны предмета, и образующую вместе с дифракционной линзой, имеющей оптическую силу, равную 0,01…0,05 оптической силы склеенной линзы, корректор хроматизма с оптической силой, составляющей 0,02…0,06 оптической силы проекционной системы в целом;
– апертурную диафрагму;
– четвертую положительную линзу.
Техническим результатом заявленного изобретения является:
– упрощение конструкции, увеличение допусков и снижение стоимости оптической системы за счет использования вращательно-симметричных оптических элементов, имеющих общую ось симметрии, совпадающую с оптической осью системы;
– повышение качества изображения благодаря использованию специального рефракционно-дифракционного корректора;
– снижение стоимости рефракционных компонентов за счет использования недорогих оптических стекол и полимерных материалов;
– возможность изготовления более чем одного рефлектора из одного вращательно-симметричного зеркала, благодаря использованию его внеосевого фрагмента.
Для лучшего понимания настоящего изобретения далее приводится его подробное описание с соответствующими чертежами.
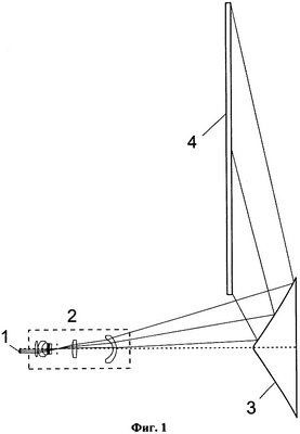
Фиг.1 – Схема проекционной оптической системы, выполненная согласно изобретению.
Фиг.2 – Гибридная часть проекционной оптической системы.
Фиг.3 – Пример оптической схемы телевизора, в котором проекция изображения на 56“ экран осуществляется с внутренней стороны прибора.
Фиг.4 – Пример гибридной части проекционной оптической системы, включающей одно плоское зеркало, ломающей оптическую ось (вид сбоку).
Фиг.5 – Полихроматическая дифракционная частотно-контрастная характеристика рассчитанной проекционной оптической системы, выполненной согласно изобретению.
Фиг.6 – таблица 1 “Prescription Data” of ZEMAX-optical design program.
Фиг.7 – таблица 2 “Prescription Data” of ZEMAX-optical design program.
Рассмотрим вариант выполнения проекционной оптической системы, в котором первым элементом в вышеупомянутой группе оптических элементов является склеенная линза (фиг.1). Проекционная оптическая система состоит из предмета 1, гибридной части 2, включающей оптические элементы различных типов, асферического зеркала 3 и проекционного экрана 4. Гибридная часть (фиг.2) включает расположенные последовательно по ходу распространения света положительную линзу 5, склеенную линзу 6, состоящую из мениска, приклеенного к двояковыпуклой линзе, дифракционной линзы 7, линзы 8 с асферическими поверхностями, апертурной диафрагмы 9, положительной линзы 10 и линзы 11 с двумя асферическими поверхностями. Воздушные промежутки между гибридной частью 2 и асферическим зеркалом 3 и между линзами 10 и 11 гибридной части 2 таковы, что позволяют разместить, по меньшей мере, две плоские зеркальные поверхности (элемент 12 на фиг.3 и элемент 13 на фиг.4), ломающие оптическую ось с целью уменьшения толщины дисплея или телевизора.
В заявленной проекционной оптической системе свет от предмета 1, пройдя через набор преломляющих (5, 6, 8, 10, 11) и отражающих (3, 12, 13) элементов, а также дифракционную линзу 7, падает на экран 4 под углом, обеспечивающим возможность уменьшения толщины дисплея или телевизора. Все элементы проекционной оптической системы вращательно-симметричны и имеют общую ось симметрии, совпадающую с оптической осью системы. Заданный угол падения пучка лучей на экран достигнут за счет сдвига предмета 1 от оптической оси (фиг.1 и 2). Это сопровождается увеличением полевого угла, но благодаря дифракционной линзе 7, асферическим поверхностям двух рефракционных линз 8 и 11 и асферическому зеркалу 3, уровень дисторсии и других монохроматических аберраций низок. Кроме того, рефракционно-дифракционный корректор, состоящий из склеенной 6 и дифракционной 7, линз минимизирует хроматические аберрации, включая вторичный спектр. Одновременное исправление этих аберраций достигнуто, прежде всего, за счет различия в диспергирующих свойствах дифракционных и рефракционных оптических элементов.
Действительно, приращение оптической силы тонкой рефракционной линзы, вызванное изменением длины волны, определяется выражением

где и – коэффициент дисперсии и показатели преломления материала линзы на центральной и крайних длинах волн используемого спектрального диапазона.
Если в такой же форме представить приращение оптической силы дифракционной линзы, то ее коэффициент дисперсии будет иметь вид

Коэффициенты дисперсии для большинства стекол в видимом спектральном диапазоне равны =16…85, а у дифракционной линзы для этого же диапазона – LD -4,5.
Это открывает возможность устранить все вышеупомянутые хроматические аберрации, используя в качестве материалов рефракционных линз проекционной системы недорогие оптические стекла и полимеры. Указанное устранение достигается при правильном выборе соотношений между оптическими силами элементов рефракционно-дифракционного корректора. Использование рефракционно-дифракционного корректора в проекционной оптической системе позволяет также отказаться от отрицательных линз с большой оптической силой. В результате положительные оптические элементы имеют небольшую кривизну, что, помимо ряда положительных эффектов, приводит к увеличению допусков на изготовление и юстировку проекционной системы за счет меньших углов излома световых лучей в ней.
Конструктивные параметры одной из рассчитанных проекционных систем, построенной по вышерассмотренному варианту, представлены в таблицах 1 и 2 “Prescription Data” of ZEMAX-optical design program. Стекла для линз взяты из каталога HOYA, но могут быть использованы и аналогичные стекла из SCOTT, OHARA или других зарубежных или отечественных каталогов. Полихроматическая дифракционная частотно-контрастная характеристика проекционной системы, также рассчитанная с помощью ZEMAX-optical design program и демонстрирующая высокую степень коррекции аберраций, представлена на фиг.5.
Следует учитывать, что указанный выше вариант выполнения изобретения изложен лишь с целью иллюстрации настоящего изобретения, и специалистам должно быть ясно, что возможны разные модификации, добавления и замены, не выходящие из объема и смысла настоящего изобретения, заявленного в формуле изобретения.
Формула изобретения
1. Проекционная оптическая система, содержащая
предмет, в виде пространственного модулятора света, смещенный относительно оптической оси системы на расстояние, не меньшее половины размера самого предмета;
набор вращательно-симметричных оптических элементов, имеющих общую ось симметрии, совпадающую с оптической осью системы, включающий
положительную линзу;
группу оптических элементов, по меньшей мере, один из которых выполнен в виде дифракционной линзы;
линзу, с двумя асферическими поверхностями;
асферическое зеркало;
причем воздушные промежутки между элементами проекционной системы таковы, что позволяют разместить, по меньшей мере, две плоские зеркальные поверхности, ломающие оптическую ось с целью уменьшения толщины дисплея или телевизора.
2. Система по п.1, отличающаяся тем, что группа оптических элементов включает
первую склеенную линзу, состоящую из мениска, приклеенного к двояковыпуклой линзе со стороны предмета;
вторую положительную дифракционную линзу, имеющую оптическую силу, равную 0,01…0,04 оптической силы склеенной линзы и образующую вместе со склеенной линзой корректор хроматизма с оптической силой, составляющей 0,03…0,05 оптической силы проекционной системы в целом;
третью линзу с асферическими поверхностями;
апертурную диафрагму;
четвертую положительную линзу.
3. Система по п.1, отличающаяся тем, что группа оптических элементов включает
первую линзу с асферическими поверхностями;
вторую положительную дифракционную линзу;
третью склеенную линзу, состоящую из мениска, приклеенного к двояковыпуклой линзе со стороны предмета, и образующую вместе с дифракционной линзой, имеющей оптическую силу, равную 0,01…0,05 оптической силы склеенной линзы, корректор хроматизма с оптической силой, составляющей 0,02…0,06 оптической силы проекционной системы в целом;
апертурную диафрагму;
четвертую положительную линзу.
РИСУНКИ
|
|