|
|
(21), (22) Заявка: 2006122126/28, 20.06.2006
(24) Дата начала отсчета срока действия патента:
20.06.2006
(46) Опубликовано: 20.01.2008
(56) Список документов, цитированных в отчете о поиске:
RU 2089931 C1, 10.09.1997. US 4892399 A, 09.10.1990. US 5138487 A, 11.08.1992. WO 03062581 A, 31.07.2003. US 5786935 A, 28.07.1998.
Адрес для переписки:
220023, г.Минск, ул. Макаенка, 23, УП “ММЗ им. С.И. Вавилова”, Н.М. Грищенко
|
(72) Автор(ы):
Санников Петр Алексеевич (BY), Малов Сергей Александрович (BY), Лапицкий Владимир Борисович (BY)
(73) Патентообладатель(и):
Производственное республиканское унитарное предприятие “Минский механический завод им. С.И. Вавилова” (BY)
|
(54) ДВЕРНОЙ ГЛАЗОК (ВАРИАНТЫ)
(57) Реферат:
Дверной глазок относится к устройствам наблюдения, которые предназначении для крепления в непрозрачных перегородках. Дверной глазок содержит оборачивающий блок из двух отражательных призм АР-90°, горизонтально совмещенных гипотенузными отражающими гранями в оправе прямоугольной формы, положительную линзу, плосковыпуклую линзу, плоская поверхность которой выполнена матовой, корпус и гайку. Технический результат – упрощение конструкции дверного глазка. 2 н. и 5 з.п. ф-лы, 5 ил.
Изобретение относится к устройствам наблюдения, предназначенным для крепления в непрозрачных перегородках, например во входных дверях, и позволяет вести наблюдение за находящимися за закрытой дверью лицами или объектами.
Известен дверной глазок, содержащий оборачивающий блок из двух отражательных призм АР-90°, горизонтально совмещенных отражающими гранями в оправе, закрепленный в корпусе оборачивающего блока с фланцем на одном торце и наружной резьбовой частью со стороны другого торца, последовательно установленные за оборачивающим блоком первую положительную линзу, первое межлинзовое кольцо, вторую положительную линзу, второе межлинзовое кольцо и плосковыпуклую линзу, плоская поверхность которой выполнена матовой, закрепленные в тубусе, навинченном на резьбовую часть корпуса оборачивающего блока, и гайку, перемещающуюся по резьбе, выполненной на части наружной поверхности тубуса [1]. Для установки глазка в двери выполняется сквозное отверстие по размеру наружной поверхности корпуса оборачивающего блока и глухое отверстие по наружному диаметру тубуса. Затем с наружной стороны двери в сквозное отверстие устанавливается корпус с оборачивающим блоком, а с внутренней стороны двери – тубус с гайкой и остальными компонентами глазка, свинчивается корпус с тубусом и навинчиванием гайки закрепляется глазок в двери. Призменный блок оборачивает изображение в вертикальной плоскости, первая и вторая положительные линзы строят прямое действительное изображение на плоской матовой поверхности плосковыпуклой линзы, которое может рассматриваться на значительном расстоянии от двери. При этом вторая положительная линза расширяет угол поля зрения глазка, а сферическая поверхность плосковыпуклой линзы выравнивает освещенность изображения на матовой поверхности.
Недостатком известного дверного глазка [1] является сравнительно большой диаметр глазка, определяемый световыми диаметрами второй положительной и плосковыпуклой линз, значительно превышающими световые диаметры блока призм и первой положительной линзы, что увеличивает трудоемкость изготовления и установки глазка в дверь.
Наиболее близким техническим решением к заявляемому является дверной глазок, содержащий оборачивающий блок из двух отражательных призм АР-90°, горизонтально совмещенных гипотенузными отражающими гранями в оправе прямоугольной формы, две грани которой опираются на катетные грани отражательных призм, закрепленный в корпусе оборачивающего блока с фланцем на одном торце и наружной резьбовой частью со стороны другого торца, последовательно установленные за оборачивающим блоком первую положительную линзу, первое межлинзовое кольцо, вторую положительную линзу, второе межлинзовое кольцо и плосковыпуклую линзу, плоская поверхность которой выполнена матовой, закрепленные в тубусе, навинченном на резьбовую часть корпуса оборачивающего блока, и гайку, перемещающуюся по резьбе, выполненной на части наружной поверхности тубуса [2]. Призменный блок оборачивает изображение в вертикальной плоскости, первая и вторая положительные линзы строят прямое действительное изображение на плоской матовой поверхности плосковыпуклой линзы, которое может рассматриваться на значительном расстоянии от двери. При этом вторая положительная линза расширяет угол поля зрения глазка, а сферическая поверхность плосковыпуклой линзы выравнивает освещенность изображения на матовой поверхности.
Недостатком дверного глазка [2] является относительно высокая себестоимость его изготовления.
Задачей изобретения является уменьшение себестоимости изготовления дверного глазка.
Сущность изобретения по первому варианту заключается в том, что в дверном глазке, содержащем оборачивающий блок из двух отражательных призм АР-90°, горизонтально совмещенных гипотенузными отражающими гранями в оправе прямоугольной формы, две грани которой опираются на катетные грани отражательных призм, корпус оборачивающего блока с фланцем на одном торце и наружной резьбовой частью со стороны другого торца, последовательно установленные за оборачивающим блоком положительную линзу, межлинзовое кольцо и плосковыпуклую линзу, плоская поверхность которой выполнена матовой, и гайку, в отличие от прототипа корпус оборачивающего блока выполнен удлиненным, в оправе отражательных призм выполнено посадочное место цилиндрической формы для положительной линзы, в корпусе оборачивающего блока со стороны резьбовой части закреплена плосковыпуклая линза, матовая поверхность которой совмещена с плоскостью изображений положительной линзы, а внутренняя резьба гайки сопряжена с резьбовой частью корпуса оборачивающего блока.
В глазке на матовую поверхность плосковыпуклой линзы нанесено просветляющее покрытие.
В глазке посадочное место положительной линзы в оправе отражающих призм выполнено с возможностью осевого упругого смещения относительно отражающих призм, а плосковыпуклая линза закреплена разрезным пружинным кольцом.
В глазке две грани оправы прямоугольной формы, опирающиеся на катетные грани отражательных призм, выполнены с возможностью упругого изгиба.
Сущность изобретения по второму варианту заключается в том, что в дверном глазке, содержащем оборачивающий блок из двух отражательных призм АР-90°, горизонтально совмещенных отражающими гранями в оправе, закрепленный в корпусе оборачивающего блока с фланцем на одном торце и наружной резьбовой частью со стороны другого торца, последовательно установленные за оборачивающим блоком положительную линзу, межлинзовое кольцо и плосковыпуклую линзу, плоская поверхность которой выполнена матовой, и гайку, в отличие от прототипа гайка выполнена удлиненной с фланцем на одном торце и внутренней резьбовой частью со стороны другого торца, сопряженной с резьбовой частью корпуса оборачивающего блока, в гайке со стороны резьбовой части закреплена положительная линза, а со стороны фланца – плосковыпуклая линза, матовая поверхность которой совмещена с плоскостью изображений положительной линзы.
В глазке по второму варианту на матовую поверхность плосковыпуклой линзы нанесено просветляющее покрытие.
В глазке по второму варианту межлинзовое кольцо выполнено в виде ребер на внутренней цилиндрической поверхности гайки.
Выполнение в дверном глазке по первому варианту корпуса оборачивающего блока удлиненным, выполнение в оправе отражательных призм посадочного места цилиндрической формы для положительной линзы, закрепление в корпусе оборачивающего блока со стороны резьбовой части плосковыпуклой линзы, матовая поверхность которой совмещена с плоскостью изображений положительной линзы, и сопряжение внутренней резьбы гайки с резьбовой частью корпуса оборачивающего блока, позволяет по сравнению с прототипом в два раза уменьшить количество деталей и трудоемких операций при изготовлении глазка, что обеспечивает решение поставленной задачи.
Выполнение в глазке по первому варианту просветляющего покрытия на матовой поверхности плосковыпуклой линзы позволяет дополнительно к решению поставленной задачи устранить возможность нанесения жировых пятен на матовую поверхность при прикосновении к ней пальцами рук.
Выполнение в глазке по первому варианту посадочного места положительной линзы в оправе отражающих призм с возможностью осевого упругого смещения относительно отражающих призм и закрепление плосковыпуклой линзы разрезным пружинным кольцом позволяет дополнительно к решению поставленной задачи упростить сборку глазка, при этом осевое упругое смещение посадочного места обеспечивает силовое замыкание всех элементов глазка.
Выполнение в глазке по первому варианту двух граней оправы прямоугольной формы, опирающихся на катетные грани отражательных призм с возможностью упругого изгиба, дополнительно к решению поставленной задачи упрощает выполнение силового замыкания элементов глазка.
Выполнение гайки в дверном глазке по второму варианту в отличие от первого варианта удлиненной с фланцем на одном торце и внутренней резьбовой частью со стороны другого торца, сопряженной с резьбовой частью корпуса оборачивающего блока, закрепление положительной линзы в гайке со стороны резьбовой части, а плосковыпуклой линзы – со стороны фланца, позволяет дополнительно к решению поставленной задачи повысить технологичность изготовления и сборки глазков предназначенных для дверей с большей толщиной.
Выполнение межлинзового кольца в глазке по второму варианту в виде ребер на внутренней цилиндрической поверхности гайки дополнительно к решению поставленной задачи позволяет упростить изготовление и сборку глазка за счет использования прогрессивной технологии литья под давлением.
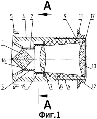
Сущность изобретения поясняется схемами, приведенными на фиг.1 и 5. На фиг.1-2 изображены функциональные схемы примеров исполнения дверного глазка по первому и второму вариантам. На фиг.3-5 – поперечные сечения глазка.
Дверной глазок содержит оборачивающий блок из двух отражательных призм 1 АР-90°, горизонтально совмещенных гипотенузными отражающими гранями в оправе 2 прямоугольной формы, две грани 3 которой опираются на катетные грани отражательных призм 1. Корпус 4 оборачивающего блока 1 с фланцем 5 на одном торце и наружной резьбовой частью 6 со стороны другого торца. Корпус 4 в примере исполнения на фиг.1 выполнен удлиненным. За оборачивающим блоком 1 последовательно установлены положительная линза 7, межлинзовое кольцо 8 и плосковыпуклая линза 9, плоская поверхность 10 которой выполнена матовой и расположена в плоскости изображений положительной линзы 7. Глазок содержит также гайку 11, резьбовая часть 12 которой сопряжена с резьбовой частью 6 корпуса 4. В примере исполнения на фиг.2 гайка 11 выполнена удлиненной с фланцем 13 на одном торце и внутренней резьбовой частью 12 со стороны другого торца, а оборачивающий блок 1 с оправой 2 закреплены в корпусе 4 винтами 14 (фиг.5).
В примере исполнения на фиг.1 в оправе 2 прямоугольной формы выполнено посадочное место 15 цилиндрической формы для положительной линзы 7, две грани 3 выполнены с возможностью упругого изгиба за счет выполнения пазов 16 в углах оправы 2, благодаря чему посадочное место 15 положительной линзы 7 имеет возможность осевого упругого смещения относительно отражающих призм 1. Плосковыпуклая линза 10 закреплена в корпусе 4 разрезным пружинным кольцом 17, при этом за счет упругого изгиба двух граней 3 оправы 2 обеспечивается силовое замыкание всех элементов глазка.
В примере исполнения на фиг.2 межлинзовое кольцо 8 выполнено в виде ребер 18 (фиг.4) на внутренней цилиндрической поверхности гайки 11, положительная линза 7 закреплена в гайке 11 со стороны резьбовой части 12 разрезным пружинным кольцом 19, а плосковыпуклая линза 9 закреплена в гайке 11 со стороны фланца 13 разрезным пружинным кольцом 17.
Корпус 4 глазка устанавливается с наружной стороны двери, от поворота фиксируется двумя выступами, расположенными на фланце 5, которые входят в пазы двери. С внутренней стороны двери с помощью гайки 11 глазок прочно крепится на двери.
Лучи, освещающие объект, находящийся перед глазком, попадают на призменный блок 1, оборачивающий изображение в вертикальной плоскости, и направляются на положительную линзу 7. Линза 7 вторично переворачивает изображение и строит его прямым действительным на матовой поверхности 10 плосковыпуклой линзы 9. Выпуклая поверхность линзы 9 пригибает полевые лучи к матовой поверхности 10, уменьшает их виньетирование и выравнивает освещенность изображения. Изображение получается ярким и четким по всему полю и может рассматриваться как с близкого расстояния, так и с расстояния 1,2 м от двери.
Источники информации
1. Патент США №4892399, МПК G02В 25/04, 1990.
2. Патент РФ №2089931, МПК 6 G02В 25/04, 1997.
Формула изобретения
1. Дверной глазок, содержащий оборачивающий блок из двух отражательных призм АР-90°, горизонтально совмещенных гипотенузным отражающими гранями в оправе прямоугольной формы, две грани которой опираются на катетные грани отражательных призм, корпус оборачивающего блока с фланцем на одном торце и наружной резьбовой частью со стороны другого торца, последовательно установленные за оборачивающим блоком положительную линзу, межлинзовое кольцо и плосковыпуклую линзу, плоская поверхность которой выполнена матовой, и гайку, отличающийся тем, что корпус оборачивающего блока выполнен удлиненным, в оправе прямоугольной формы выполнено посадочное место цилиндрической формы для положительной линзы, в корпусе оборачивающего блока со стороны резьбовой части закреплена плосковыпуклая линза, матовая поверхность которой совмещена с плоскостью изображений положительной линзы, а внутренняя резьба гайки сопряжена с резьбовой частью корпуса оборачивающего блока.
2. Глазок по п.1, отличающийся тем, что на матовую поверхность плосковыпуклой линзы нанесено просветляющее покрытие.
3. Глазок по п.1 или 2, отличающийся тем, что посадочное место положительной линзы в оправе прямоугольной формы выполнено с возможностью осевого упругого смещения относительно отражающих призм, а плосковыпуклая линза закреплена разрезным пружинным кольцом.
4. Глазок по п.3, отличающийся тем, что две грани оправы прямоугольной формы, опирающиеся на катетные грани отражательных призм, выполнены с возможностью упругого изгиба.
5. Дверной глазок, содержащий оборачивающий блок из двух отражательных призм АР-90°, горизонтально совмещенных отражающими гранями в оправе, закрепленный в корпусе оборачивающего блока с фланцем на одном торце и наружной резьбовой частью со стороны другого торца, последовательно установленные за оборачивающим блоком положительную линзу, межлинзовое кольцо и плосковыпуклую линзу, плоская поверхность которой выполнена матовой, и гайку, отличающийся тем, что гайка выполнена удлиненной с фланцем на одном торце и внутренней резьбовой частью со стороны другого торца, сопряженной с резьбовой частью корпуса оборачивающего блока, в гайке со стороны резьбовой части закреплена положительная линза, а со стороны фланца – плосковыпуклая линза, матовая поверхность которой совмещена с плоскостью изображений положительной линзы.
6. Глазок по п.5, отличающийся тем, что на матовую поверхность плосковыпуклой линзы нанесено просветляющее покрытие.
7. Глазок по п.5 или 6, отличающийся тем, что межлинзовое кольцо выполнено в виде ребер на внутренней цилиндрической поверхности гайки.
РИСУНКИ
Прежний патентообладатель:
Производственное республиканское унитарное предприятие “Минский механический завод им. С.И. Вавилова”
(73) Патентообладатель:
Открытое акционерное общество “БелОМО-Минский механический завод имени С.И. Вавилова”
Договор № РП0000759 зарегистрирован 18.05.2010
Извещение опубликовано: 27.06.2010 БИ: 18/2010
|
|