|
(21), (22) Заявка: 2005105541/28, 28.02.2005
(24) Дата начала отсчета срока действия патента:
28.02.2005
(43) Дата публикации заявки: 10.08.2006
(46) Опубликовано: 20.01.2008
(56) Список документов, цитированных в отчете о поиске:
SU 773498, 23.10.1980. SU 866479, 23.09.1981. EP 1441206, 28.07.2004. JP 63172968, 16.07.1988.
Адрес для переписки:
350063, г.Краснодар, ул. Мира, 32, филиал ООО “Кубаньгазпром”-Научно-технический центр, начальнику В.Г.Гераськину
|
(72) Автор(ы):
Баканов Юрий Иванович (RU), Колесниченко Владимир Петрович (RU), Гераськин Вадим Георгиевич (RU), Кравцов Игорь Николаевич (RU), Климов Вячеслав Васильевич (RU), Захаров Андрей Александрович (RU), Енгибарян Аркадий Арменович (RU), Мищенко Любовь Ивановна (RU), Шостак Андрей Валерьевич (RU)
(73) Патентообладатель(и):
ОБЩЕСТВО С ОГРАНИЧЕННОЙ ОТВЕТСТВЕННОСТЬЮ “КУБАНЬГАЗПРОМ” (RU)
|
(54) ТЕРМОАНЕМОМЕТРИЧЕСКИЙ ДАТЧИК СКОРОСТИ ДВИЖЕНИЯ ФЛЮИДОВ
(57) Реферат:
Изобретение относится к нефтегазодобывающей промышленности и предназначено для измерения скорости движения жидкости или газа по стволу действующей скважины. Сущность изобретения состоит в том, что термоанемометрический датчик скорости движения флюидов состоит из герметичного трубчатого охранного кожуха и нагревательного элемента, установленных в его внутренней части, при этом охранный кожух и нагревательный элемент выполнены из разнородных металлов, функционально совмещены в одном узле и имеют, по крайней мере, один общий термочувствительный спай. Техническим результатом является повышение достоверности показаний и точности измерений при быстрых изменениях скорости потока флюида за счет снижения тепловой инерции, снижения теплового сопротивления, а также снижение потребляемой мощности. 1 ил.
Изобретение относится к нефтегазодобывающей промышленности и предназначено для измерения скорости движения жидкости или газа по стволу действующей скважины.
Известен термоанемометрический датчик скорости движения флюидов, применяемый в скважинной аппаратуре газогидродинамического каротажа типа АГДК, содержащий трубчатый охранный кожух, нагревательный элемент и диодный датчик температуры, установленные внутри охранного кожуха (1) (Проспект ОАО «Газпромгеофизика» «Комплексная аппаратура газодинамического каротажа АГДК-42-8»).
Недостатками известного термоанемометрического датчика являются:
– значительная тепловая инерция нагревательного элемента и тепловое сопротивление между нагревательным элементом и корпусом, что приводит к низкой достоверности показаний при быстрых изменениях скорости движения флюидов;
– частые выходы из строя диодных датчиков температуры из-за их перегрева при переходе из жидкой среды в газообразную.
Известен термоанемометрический датчик скорости движения флюидов, применяемый в скважинных приборах (датчик притока или расхода жидкости или газа в скважинах), содержащий герметичный трубчатый кожух, состоящий их двух полостей, в которых расположены нагревательный и термочувствительный элементы (2) (А.с. SU №440484, кл. Е21В 47/10, 1974).
Недостатками данного скважинного термоанемометра являются низкая достоверность показаний при быстрых изменениях скорости движения флюидов из-за большой тепловой инерции нагревателя и термочувствительного элемента (ввиду расположения их внутри трубчатого охранного кожуха, имеющего значительную толщину и массу), а также значительного теплового сопротивления между нагревателем, термочувствительным элементом и наружной стенкой кожуха датчика.
Из-за отмеченных недостатков получение корректных результатов измерений оказывается возможно лишь при медленных изменениях скорости движения флюидов, что ограничивает область применения скважинного термоанемометра.
Кроме того, для его работы требуется большая электрическая мощность (на нагрев термоанемометрического датчика выше температуры окружающей среды), поскольку он имеет значительную массу, габариты и рабочую поверхность.
Задачей настоящего изобретения является повышение достоверности показаний и точности измерений при быстрых изменениях скорости потока флюида за счет снижения тепловой инерции, снижения теплового сопротивления, а также снижение потребляемой мощности.
Сущность настоящего изобретения заключается в том что, в известном термоанемометрическом датчике скорости движения флюидов, состоящем из герметичного трубчатого охранного кожуха и нагревательного элемента, установленных в его внутренней части, согласно изобретению охранный кожух и нагревательный элемент выполнены из разнородных металлов, функционально совмещены в одном узле и имеют, по крайней мере, один общий термочувствительный спай.
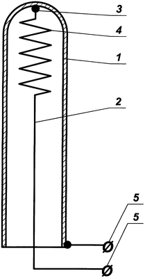
На чертеже показано схематическое изображение предлагаемого устройства в разрезе.
Заявляемый термоанемометрический датчик содержит трубчатый охранный кожух 1, внутренний проводник 2, термочувствительный спай внутреннего проводника с охранным кожухом 3, нагреватель 4, выполненный из провода внутреннего проводника 2, электровыводы 5.
Такое конструктивное решение позволяет:
– образовать термочувствительный элемент (спай) – термопару из металла охранного кожуха (с одной стороны) и внутреннего проводника (с другой стороны);
– обеспечить непосредственный контакт точки спая с потоком флюида, т.е. резко снизить тепловое сопротивление;
– резко снизить тепловую инерцию за счет снижения массы датчика;
– резко снизить потребляемую мощность на его нагрев, а в некоторых случаях – исключить вообще (например, при определении мест поступления флюидов, имеющих температуру отличную от температуры окружающей среды или работающих участков в интервалах перфорации эксплуатационных колонн).
Каждый из указанных признаков необходим, а все в совокупности достаточны для повышения достоверности показаний и точности термоанемометрического датчика.
Термоанемометрический датчик работает следующим образом.
При подключении электровыводов 5 к источнику тока происходит разогрев нагревателя 4 выше температуры окружающей среды в ближней от термочувствительного спая 3 зоне. При этом образуется термоэдс, пропорциональная (при прочих равных условиях) разнице температур холодных и горячих концов термопары.
Набегающий поток флюида уносит тепло с горячего спая 3 и охлаждает его. При этом значение термоэдс изменяется пропорционально уменьшению температуры и характеризует наличие движения или скорость течения флюида.
Измеряя значения термоэдс (температуры нагрева) в момент отключения источника питания нагревателя и через фиксированный промежуток времени, по падению термоэдс (температуры) судят о скорости течения флюида в точке спая.
Формула изобретения
Термоанемометрический датчик скорости движения флюидов, состоящий из герметичного трубчатого охранного кожуха и нагревательного элемента, установленного в его внутренней части, отличающийся тем, что охранный кожух и нагревательный элемент выполнены из разнородных металлов, функционально совмещены в одном узле и имеют, по крайней мере, один общий термочувствительный спай.
РИСУНКИ
|