|
(21), (22) Заявка: 2006122446/28, 26.06.2006
(24) Дата начала отсчета срока действия патента:
26.06.2006
(46) Опубликовано: 20.01.2008
(56) Список документов, цитированных в отчете о поиске:
JP 63210646 А, 01.09.1988. ИОФФЕ Б.Ф. Рефрактометрические методы химии. – Л.: Химия, 1983, с.152-156. RU 2251678 C1, 10.05.2005. RU 23986 U1, 20.07.2002.
Адрес для переписки:
141007, Московская обл., г. Мытищи, 7, а/я 301, ООО Научно-Производственная Фирма “Специальные технологии”
|
(72) Автор(ы):
Зайцев Дмитрий Сергеевич (RU), Солдатов Владимир Степанович (RU), Буюкян Сурен Петросович (RU), Рязанцев Геннадий Евгеньевич (RU)
(73) Патентообладатель(и):
Общество с ограниченной ответственностью Научно-Производственная Фирма “Специальные технологии” (RU)
|
(54) ВИДЕОРЕФРАКТОМЕТР
(57) Реферат:
Изобретение относится к измерительной технике, а именно к измерению показателя преломления жидкостей, газов, стекол и других прозрачных сред. Видеорефрактометр состоит из фотоприемника, выполненного в виде телекамеры, на корпусе которой установлены светодиоды 5, расположенные на окружности, центр которой находится на оптической оси телекамеры, регистрирующего устройства 7 и зеркала 6. Телекамера содержит корпус 1, плату электроники 2, ПЗС-матрицу 3 и объектив 4. Зеркало 6 установлено перед телекамерой перпендикулярно ее оптической оси на расстоянии, определяемом по формуле , где nmax – максимальный показатель преломления исследуемой среды, помещаемой между телекамерой и зеркалом; f – фокусное расстояние объектива телекамеры; D – диаметр окружности, на которой установлены светодиоды; d – диаметры светодиодов; М – минимальный размер фоточувствительной области ПЗС-матрицы. Техническим результатом является повышение точности измерений, а также возможность выполнения измерения путем его погружения непосредственно в исследуемые жидкость или газ. 1 ил.
Изобретение относится к области измерительной техники и, в частности, для измерения показателя преломления жидкостей, газов, стекол и других оптически прозрачных сред.
Показатель преломления характеризует свойства сред, через границу раздела которых проходит свет, его значение зависит от длины волны света и вычисляется по формуле /1/:

где i и r – соответственно углы падения и преломления света на границе двух сред.
Известен рефрактометр Аббе, содержащий источник света, направляемый на границу двух сред, и зрительную трубу, устанавливаемую под определенным углов к границе сред /2/. Показатель преломления отсчитывается по шкале, связанной с углом поворота зрительной трубы, погрешность измерений не превышает 0,1%.
Наиболее близким к заявленному изобретению по совокупности признаков (прототипом) служит рефрактометр ИРФ-454Б2М, содержащий источник света, направляемый к границе сред, и приемник света в виде зрительной трубы, устанавливаемой под отсчитываемым углом к границе сред /3/. Он служит для определения показателя преломления жидкости, в частности нефти. Капля исследуемой жидкости вводится в оптическую схему рефрактометра, а показатель преломления определяется по угловому положению зрительной трубы.
Прототип обладает следующими недостатками:
– показатель преломления определяется для небольшого количества жидкости (капля жидкости) и он может отличаться от основной массы жидкости, что служит источником погрешности измерений;
– за время измерений легкие фракции нефти испаряются, что служит дополнительным источником погрешности измерений;
– измерения связаны с перемещением зрительной трубы и визуальным считыванием показаний прибора, что ограничивает точность измерений;
– прототип, ввиду его конструктивных особенностей, не позволяет измерять показатель преломления газов и стекол.
Задача, решаемая настоящим изобретением, состоит в устранении указанных недостатков путем:
– исключения из конструкции прибора перемещаемых узлов;
– выполнения измерений в автоматизированном режиме;
– выполнения измерений, помимо жидкости, также для газов и стекол.
Для решения этой задачи в предлагаемом видеорефрактометре, содержащем источник света, фотоприемник и регистрирующее устройство, в соответствии с изобретением и в отличие от прототипа фотоприемник выполнен в виде телекамеры с ПЗС-матрицей, источник света содержит не менее трех светодиодов, размещенных на корпусе телекамеры по окружности, центр которой находится на оптической оси телекамеры, кроме того, видеорефрактометр снабжен зеркалом, установленным перед телекамерой перпендикулярно ее оптической оси на расстоянии, определяемом по формуле

где nmax – максимальный показатель преломления исследуемой среды, помещаемой между телекамерой и зеркалом;
f – фокусное расстояние объектива телекамеры;
D – диаметр окружности, на которой установлены светодиоды;
d – диаметры светодиодов;
М – минимальный размер фоточувствительной области ПЗС-матрицы.
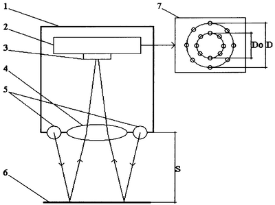
Изобретение поясняется чертежом, на котором в качестве примера изображена схема видеорефрактометра, содержащего 8 светодиодов.
На чертеже изображены: корпус телекамеры 1, плата электроники 2, ПЗС-матрица 3, объектив 4, светодиоды 5, зеркало 6 и видеокадр 7.
Собственно телекамера содержит корпус 1, плату электроники 2 и объектив 4. На корпусе 1 установлены светодиоды 5, расположенные на окружности, центр которой находится на оптической оси телекамеры.
Перед телекамерой перпендикулярно ее оптической оси на расстоянии S, определяемой по приведенной формуле, установлено зеркало 6.
Исследуемая среда (газ, жидкость, стекло) помещается между зеркалом и телекамерой.
Видеорефрактометр работает следующим образом. Свет от светодиодов 5 проходит через исследуемую среду, отражается от зеркала 6 и с помощью объектива 4 фокусируется на ПЗС-матрице 3. В результате в плате электроники 2 на основе сигналов ПЗС-матрицы 3 формируется видеосигнал, содержащий изображения светодиодов 5 в видеокадре 7.
Если между телекамерой и зеркалом 6 будет вакуум, то изображения светодиодов в видеокадре 7, расположатся на окружности минимального диаметра D0. Если же между телекамерой и зеркалом 6 поместить исследуемую среду, то они расположатся на окружности с большим диаметром D.
Отношение D/D0 пропорционально искомому показателю преломления исследуемой среды, что и служит основанием для измерений.
Измерения выполняются путем обработки упомянутого видеосигнала в регистрирующем устройстве, не показанном на чертеже, в качестве которого служит компьютер с соответствующей компьютерной программой.
Измерения выполняются в следующей последовательности:
– Видеорефрактометр помещают в среду с известным показателем преломления (например, вакуум с n=1). Определяют и запоминают в компьютере значение D0.
– Видеорефрактометр погружают в исследуемую среду и определяют искомый показатель преломления этой среды относительно эталонного путем вычислений по формуле:

где k – метрологическая постоянная, определяемая на основе калибровочных измерений.
Результаты экспериментальных исследований макета видеорефрактометра показали возможность выполнения измерений с относительной погрешностью 0,01% и менее.
На основе видеорефрактометра может быть создан ряд приборов для экспресс-анализа нефтепродуктов и иных технологических жидкостей в нефтеперерабатывающей, химической и других отраслях промышленности.
Формула изобретения
Видеорефрактометр, содержащий источник света, фотоприемник и регистрирующее устройство, отличающийся тем, что фотоприемник выполнен в виде телекамеры с ПЗС-матрицей, источник света содержит не менее трех светодиодов, размещенных на корпусе телекамеры по окружности, центр которой находится на оптической оси телекамеры, кроме того, видеорефрактометр снабжен зеркалом, установленным перед телекамерой перпендикулярно ее оптической оси на расстоянии, определяемом по формуле

где nmax – максимальный показатель преломления исследуемой среды, помещаемой между телекамерой и зеркалом;
f – фокусное расстояние объектива телекамеры;
D – диаметр окружности, на которой установлены светодиоды;
d – диаметры светодиодов;
М – минимальный размер фоточувствительной области ПЗС-матрицы.
РИСУНКИ
|